|
|
(21), (22) Заявка: 2005109589/06, 04.04.2005
(24) Дата начала отсчета срока действия патента:
04.04.2005
(43) Дата публикации заявки: 10.09.2006
(46) Опубликовано: 20.03.2007
(56) Список документов, цитированных в отчете о поиске:
RU 2084769 C1, 20.07.1997. SU 775533 A1, 30.10.1980. RU 2075699 C1, 20.03.1997. FR 2437580 A1, 25.04.1980. US 3694222 A, 26.09.1972.
Адрес для переписки:
196620, Санкт-Петербург, Павловск, п/о Тярлево, Фильтровское ш., 3, СЗНИИМЭСХ, патентный сектор
|
(72) Автор(ы):
Вторый Валерий Федорович (RU), Козлова Наталья Павловна (RU), Максимов Николай Васильевич (RU)
(73) Патентообладатель(и):
ГНУ Северо-Западный научно-исследовательский институт механизации и электрификации сельского хозяйства (RU)
|
(54) ВЕНТИЛЯЦИОННОЕ УСТРОЙСТВО ДЛЯ ЖИВОТНОВОДЧЕСКИХ ПОМЕЩЕНИЙ
(57) Реферат:
Устройство предназначено для вентиляции животноводческих помещений, имеющих тепло- и влаговыделения в виде водяных паров. Устройство содержит вытяжную утепленную шахту, коаксиально размещенный в ней приточный воздуховод с регулирующим клапаном, соединенный с воздухозаборным устройством, имеющим направляющее крыло и воздуховод, последний входит внутрь приточного воздуховода и опирается на поворотную в горизонтальной плоскости опору, закрепленную на приточном воздуховоде, при этом нижняя часть приточного воздуховода равна по высоте вытяжной шахте и выполнена из эластичного, гидрофобного материала, смонтированного на каркасе, а верхняя часть выполнена из твердого материала, при этом поворотная опора размещена выше выходного отверстия вытяжной шахты, а под приточным воздуховодом на расстоянии, равном его диаметру, расположен воздухораспределительный щит в виде конуса, вершина которого обращена вниз, имеет тупой угол и отверстие в центре. Технический результат – повышение эффективности вентиляционного устройства для естественной вентиляции животноводческих помещений. 3 ил.
Изобретение относится к сельскому хозяйству, а именно – животноводству, в частности к вентиляции животноводческих помещений, имеющих тепло и влаговыделения в виде водяных паров.
Известно приточно-вытяжное устройство по а.с. СССР №775533, кл. F 24 F 7/02, содержащее вертикальную шахту, концентрично размещенный в ней трубчатый теплообменник, дефлектор, расположенный над шахтой, причем в нижней части шахты установлен с образованием кольцевого канала стакан и трубки теплообменника закреплены в его днище, подогреватель расположен в кольцевом канале, а между дефлектором и теплообменником установлен диффузор с закрепленными на нем с наружной стороны разделительными щитами, в верхней части межтрубного пространства теплообменника установлен дополнительный подогреватель, а под теплообменником – поддон.
Основным недостатком известного устройства является то, что для обеспечения его работы требуется электроэнергия.
Известно также вентиляционное устройство для животноводческих помещений по патенту РФ №2084769, кл. F 24 F 7/02. Вентиляционное устройство для животноводческих помещений содержит вертикальную шахту, размещенный в ней трубчатый теплообменник, переходящий в приточные воздуховоды и закрепленный в полости шахты стойками дефлектор, при этом дефлектор выполнен в виде флюгера и опирается на шарикоподшипники, установленные на трубчатом теплообменнике с возможностью свободного поворота дефлектора по горизонтальной плоскости теплообменника, в верхней части снабжен горизонтально расположенной горловиной, а в нижней части вертикальный трубчатый конец свободно размещен в трубчатом теплообменнике большего диаметра, причем в полости теплообменника вмонтирована поворотная диафрагма.
Известное устройство обладает недостатками.
Основным недостатком данного устройства является отсутствие гидро- и теплоизоляции на месте установки опорных шарикоподшипников. При отрицательных температурах наружного воздуха отсутствие в месте установки опорных шарикоподшипников гидро- и теплоизоляции обусловит процесс тепломассообмена между теплым и влажным удаляемым воздухом, движущемся в канале удаляемого воздуха и омывающего шарикоподшипники с одной стороны, и холодным воздухом, движущемся в канале приточного воздуха с другой стороны шарикоподшипников. В результате тепломассообмена на охлаждающихся поверхностях шарикоподшипников будет выделяться конденсат из удаляемого воздуха. Выделившейся конденсат будет замерзать, образуя лед в деталях шарикоподшипников, что остановит вращение флюгерного дефлектора и тем самым нарушит технологический процесс работы устройства.
Подача наружного воздуха по воздуховодам в любую часть животноводческого помещения возможна только при достаточно сильном ветре, в остальное время подача приточного воздуха по воздуховодам в любую часть животноводческого помещения осуществляться не будет из-за наличия аэродинамического сопротивления воздуховодов.
На поверхностях стен трубчатого теплообменника будет осуществляться тепломассообмен между потоком холодного наружного воздуха, движущегося внутри трубчатого теплообменника, и потоком теплого влажного внутреннего воздуха, движущегося в канале удаляемого воздуха. В результате тепломассообмена на стенках трубчатого теплообменника будет образовываться конденсат и затем лед. При продолжительном стоянии отрицательных температур наружного воздуха образуется льдоснеговая шуба значительной толщины, которая предотвратит дальнейший процесс тепломассообмена, а следовательно, и функционирование теплообменника как средства нагрева приточного воздуха, одновременно уменьшится объем вентиляции из-за уменьшения живого сечения канала удаляемого воздуха образовавшейся льдоснеговой шубой. В целом известное устройство в холодный период года может значительно снизить эффективность вентилирования животноводческого помещения, что ухудшит зоогигиенические условия содержания животных.
Задачей изобретения является повышение эффективности вентиляционного устройства для естественной вентиляции животноводческих помещений.
Поставленная задача решается тем, что вентиляционное устройство для животноводческих помещений, содержащее вытяжную утепленную шахту, коаксиально размещенный в ней приточный воздуховод с регулирующим клапаном, соединенный с воздухозаборным устройством, имеющим направляющее крыло и воздуховод, последний входит внутрь приточного воздуховода и опирается на поворотную в горизонтальной плоскости опору, закрепленную на приточном воздуховоде, нижняя часть приточного воздуховода выполнена из эластичного гидрофобного материала, смонтированного на каркасе, а верхняя часть выполнена из твердого материала, при этом поворотная опора размещена выше выходного отверстия вытяжной шахты, под приточным воздуховодом, на расстоянии, равном его диаметру, расположен воздухораспределительный щит в виде конуса, вершина которого обращена вниз, имеет тупой угол и отверстие в центре.
Новые существенные признаки:
1. Нижняя часть приточного воздуховода выполнена из эластичного гидрофобного материала, смонтированного на каркасе, а верхняя часть выполнена из твердого материала.
2. Поворотная опора размещена выше выходного отверстия вытяжной шахты.
3. Под приточным воздуховодом на расстоянии, равном его диаметру, расположен воздухораспределительный щит в виде конуса, вершина которого обращена вниз, имеет тупой угол и отверстие в центре.
Перечисленные новые существенные признаки в совокупности с известными позволяют получить технический результат во всех случаях, на которые распространяется испрашиваемый объем правовой охраны.
Расположение нижней части приточного воздуховода ниже входного отверстия вытяжной шахты позволяет разделить поток теплого уходящего воздуха, движущегося вдоль перекрытия к входному отверстию вытяжной шахты, и компактный поток приточного холодного воздуха, истекающего из приточного воздуховода и транспортирующегося на воздухораспределительном щите в веерную струю, толщина которой определяется формулой:

где b – толщина струи, м;
Lo – количество приточного воздуха, м3/с;
dщ – диаметр щита, м;
np – скорость воздуха в приточном воздуховоде, м/с.
Гидрофобные свойства материала нижней части приточного воздуховода обеспечат сброс капель конденсата с поверхностей стенок приточного канала без образования наледи. Сбросу капель конденсата со стенок приточного воздуховода способствует и эластичность материала их стенок, поскольку в каналах удаляемого воздуха и канале приточного воздуха всегда будет динамическая разность аэродинамического давления, обусловленная как динамичностью наружного ветра, так и динамичностью внутренней атмосферы помещения, обусловленная многими возмущающими воздействиями. Динамичность разности аэродинамического давления в приточных и вытяжных каналах вызовет колебания эластичной разделительной стенки приточного воздуховода и, соответственно, усиление сброса конденсата с поверхности его стенок со стороны потока удаляемого воздуха в вытяжном канале. Таким образом, гидрофобность и эластичность материала нижней части стенки приточного канала в сочетании с динамической разностью аэродинамического давления в приточном и вытяжном каналах исключает образование льда на их разделительной стенке и соответственно обеспечивается стабильность процесса тепломассообмена. Расположение поворотной опоры выше выпускного отверстия верхних кромок вытяжной шахты предотвращает обмерзание поворотной опоры льдом из сконденсировавшейся влаги удаляемого воздуха и, следовательно, обеспечивается вращение воздухозаборного устройства под воздействием ветра при любых температурах наружного воздуха.
Изготовление верхней части приточного воздуховода из твердого материала в сочетании с каркасом обеспечивает надежную основу для крепления поворотной опоры с воздухозаборным устройством и поддержания формы воздуховода нижней части приточного воздуховода, выполненного из эластичного материала.
Распределение приточного воздуха посредством щита, поставленного навстречу потоку приточного воздуха, на расстоянии, равном диаметру приточного воздуховода, обеспечивает подачу воздуха внутрь помещения без аэродинамического сопротивления, что обеспечивает процесс подачи наружного воздуха при минимальном ветре.
Применение воздухораспределительного щита в виде конуса, обращенного вниз, вершина которого имеет тупой угол и отверстие в центре, обеспечивает сбор падающего конденсата со стенок и отвод его через отверстие в центре.
В животноводческих помещениях, оборудованных системой естественной вентиляции с приточно-вытяжными устройствами по данному техническому решению, улучшаются зоогигиенические условия содержания животных и снижаются эксплуатационные затраты на поддержание работоспособности системы вентиляции, что обусловлено стабильностью работы данного устройства.
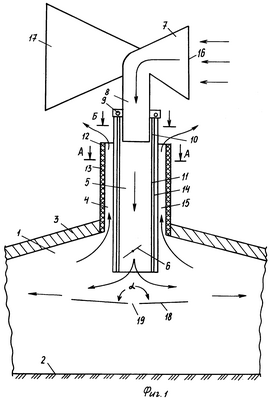
На фиг.1 изображен поперечный разрез устройства, на фиг.2 – поперечное сечение ниже выходного отверстия вытяжной шахты по АА, на фиг.3 – поперечное сечение выше выходного отверстия вытяжной шахты по Б-Б.
Вентиляционное устройство для животноводческого помещения 1 с полом 2 и крышей 3 содержит вытяжную утепленную шахту 4 с коаксиально размещенным в ней приточным воздуховодом 5 с регулирующим клапаном 6. Приточный воздуховод 5 соединен с воздухозаборным устройством 7 посредством воздуховода 8, который входит внутрь приточного воздуховода 5 и опирается на поворотную в горизонтальной плоскости опору 9, закрепленную на верхней части стенок 10 приточного воздуховода 5. Нижняя часть стенок 11 приточного воздуховода 5 начинается от верхних кромок 12 стенок 13 вытяжной шахты 4, оканчивается внутри помещения 1 и изготовлена из эластичного материала, обладающего гидрофобными свойствами, и поддерживается твердым каркасом 14. Верхняя часть 10 приточного воздуховода 5 выше кромок 12 вытяжной шахты 4 изготовлена из твердого материала.
Внутренняя поверхность стенок 13 вытяжной шахты 4 и стенки 11 приточного воздуховода 5 образуют канал вытяжного воздуха 15.
Воздухозаборное устройство 7 имеет отверстие 16 и с противоположной стороны направляющее крыло 17.
Внутри помещения 1 под приточным воздуховодом 5 расположен воздухораспределительный щит 18 с отверстием 19 в центре. Воздухораспределительный щит 18 выполнен в виде конуса, вершина которого обращена вниз, имеет тупой угол .
Приточно-вытяжное устройство системы естественной вентиляции животноводческого помещения работает следующим образом.
Под напором наружного ветра на направляющее крыло 17 воздухозаборное устройство 7 поворачивается воздухозаборным отверстием 16 навстречу ветровому потоку наружного воздуха, захватывает наружный воздух, который затем проходит по воздуховодам 8 и 5, и компактной струей подается на воздухораспределительный щит 18. На воздухораспределительном щите 18 происходит трансформация компактной струи приточного воздуха в веерную струю, которая затем поступает в атмосферу животноводческого помещения 1, где быстро ассимилируется внутренним воздухом помещения 1. Теплый внутренний воздух помещения 1 поднимается в верхнюю зону помещения, “налипает” на внутреннюю поверхность крыши 3 и под воздействием давления, обусловленного подачей наружного воздуха ветром, и разности плотностей внутреннего и наружного воздуха поступает в канал вытяжного воздуха 15 и удаляется в наружную атмосферу.
В холодный период года между потоком приточного наружного холодного воздуха, движущегося в приточном канале 5, и потоком удаляемого теплого и влажного воздуха в канале 15 происходит тепломассообмен через разделительную стенку 11, выполненную из эластичного материала с гидрофобным свойством. В результате тепломассообмена поток удаляемого воздуха охлаждается и на разделительной стенке 11 со стороны потока удаляемого воздуха выпадает конденсат. Поток приточного воздуха в приточном канале 5 нагревается за счет теплопередачи явной теплоты в силу разности температур потоков воздуха и за счет ассимиляции теплоты конденсации паров влаги, выделившейся на разделительной стенке 11.
Подогретый поток наружного воздуха из приточного воздуховода 5 направляется вниз, ударяется о воздухораспределительный щит 18, трансформируется на нем в веерную струю, сходит с него, быстро ассимилируется с внутренним воздухом и опускается в зону содержания животных с приемлемой температурой. Конденсат, образующийся на стенках 11, не смачивает их поверхность, а в силу гидрофобных свойств материала стенок канала сбрасывается вниз на воздухораспределительный щит 18. Затем по наклонной поверхности щита 18 конденсат стекает к отверстию в центре 19 и попадает в дренажную систему.
Формула изобретения
Вентиляционное устройство для животноводческих помещений, содержащее вытяжную утепленную шахту, коаксиально размещенный в ней приточный воздуховод с регулирующим клапаном, соединенный с воздухозаборным устройством, имеющим направляющее крыло и воздуховод, последний входит внутрь приточного воздуховода и опирается на поворотную в горизонтальной плоскости опору, закрепленную на приточном воздуховоде, отличающееся тем, что нижняя часть приточного воздуховода выполнена из эластичного, гидрофобного материала, смонтированного на каркасе, а верхняя часть выполнена из твердого материала, при этом поворотная опора размещена выше выходного отверстия вытяжной шахты, а под приточным воздуховодом на расстоянии, равном его диаметру, расположен воздухораспределительный щит в виде конуса, вершина которого обращена вниз, имеет тупой угол и отверстие в центре.
РИСУНКИ
|
|