|
|
(21), (22) Заявка: 2005112347/06, 25.04.2005
(24) Дата начала отсчета срока действия патента:
25.04.2005
(43) Дата публикации заявки: 27.10.2006
(46) Опубликовано: 20.03.2007
(56) Список документов, цитированных в отчете о поиске:
СЕНЬ Л.И. Оптимизация технико-экономических решений при проектировании и эксплуатации котельных установок. – Владивосток, морской государственный университет, 2004, с.80-83. RU 2088841 C1, 27.08.1997. RU 2078047 C1, 27.04.1997. SU 1084556 A, 07.04.1984. SU 613167 A, 23.06.1978.
Адрес для переписки:
690059, г.Владивосток, ул. Верхнепортовая, 50а, МГУ им. Невельского, зав. кафедрой СВЭОС Л.И. Сень
|
(72) Автор(ы):
Сень Леонид Илларионович (RU), Симоненко Андрей Макарович (RU)
(73) Патентообладатель(и):
Сень Леонид Илларионович (RU), Симоненко Андрей Макарович (RU)
|
(54) ТЕПЛЫЙ ЯЩИК ДЛЯ ДОКОТЛОВОЙ ОЧИСТКИ ПИТАТЕЛЬНОЙ ВОДЫ
(57) Реферат:
Изобретение предназначено для докотловой очистки питательной воды и может быть использовано в теплоэнергетике. Теплый ящик содержит аккумуляторную полость, полость грязных конденсатов, полость очищенных конденсатов, снабженную переливной кромкой в верхней части и сообщающуюся с аккумуляторной полостью, полость сбора нефтепродуктов, полость отстоя нефтепродуктов, снабженную переливной трубой нефтепродуктов, верхняя оконечность которой размещена выше поверхности раздела сред полости очищенных конденсатов, а нижняя сообщена с полостью сбора нефтепродуктов, механические и коалесцирующие фильтры, приемную полость добавочной воды и примыкающие к внутренней стенке приемной полости добавочной воды две буферные выгородки добавочной воды. Над приемной полостью добавочной воды установлен корпус гидрозатвора, к которому присоединен патрубок подвода добавочной воды и вентиляционное приспособление. Горизонтальный участок днища корпуса выполнен с шириной и длиной в плане менее 0,1 ширины корпуса теплого ящика и сопряжен со своими боковыми стенками подъемными участками днища с углом наклона более 15°. Переливная труба гидрозатвора верхней оконечностью размещена в днище корпуса гидрозатвора на уровне не ниже 100 мм от горизонтального участка днища, а нижней оконечностью – в приемной полости добавочной воды на уровне ниже середины высоты корпуса теплого ящика. Подъемный участок колена гидрозатвора выполнен с высотой не менее половины высоты корпуса теплого ящика, своей нижней оконечностью сообщен с внутренней полостью корпуса гидрозатвора на уровне ниже 50 мм от верхней оконечности переливной трубы гидрозатвора, а опускной участок колена гидрозатвора сообщен с аккумуляторной полостью. Полость очищенных конденсатов размещена между аккумуляторной полостью и полостью отстоя нефтепродуктов. Нижняя оконечность переливной трубы нефтепродуктов полости отстоя нефтепродуктов расположена над днищем полости сбора нефтепродуктов, а верхняя оконечность свободного среза переливной трубы нефтепродуктов расположена выше уровня вогнутого участка переливной кромки разделительной стенки и оснащена установленным снаружи нее протяженным цилиндрическим патрубком с внутренним диаметром более 2-3 диаметров переливной трубы нефтепродуктов. Отстояние верхней оконечности среза этого патрубка от вогнутого участка переливной кромки разделительной стенки превышает в 2,5-3 раза отстояние от последнего верхней оконечности свободного среза переливной трубы нефтепродуктов, а нижняя оконечность этого патрубка оснащена фланцем, боковые поверхности которого с наклоном вниз составляют относительно горизонта угол, превышающий 15°. Изобретение обеспечивает повышение надежности котельной установки. 2 з.п.ф-лы, 5 ил.
Изобретение относится к теплоэнергетике, а именно к сборникам грязных и чистых конденсатов отработанного пара и добавочной воды, и может быть использовано в судовых и стационарных котельных установках с паровыми котлами.
Известен теплый ящик котельной установки, содержащий аккумуляторную полость, ограниченную корпусом, патрубки подвода чистого и грязного конденсатов и добавочной воды и отвода питательной воды и нефтепродуктов, механические и коалесцирующие фильтры, подогреватель добавочной воды, полости отстоя и отвода нефтепродуктов (см. Сень Л.И., Тихомиров Г.И. Способ докотловой обработки вод в теплом ящике котельной установки и устройство для его осуществления. Патент RU №2088841, Бюл. №24 от 27.08.97).
Недостатками известного теплого ящика являются: отвод нефтепродуктов вручную по результатам наблюдения уровня раздела сред через смотровое стекло; конструктивная сложность подогревателя добавочной воды; “залповый” отвод питательной воды приводит к заполнению освобождающегося пространства аккумуляторной полости теплого ящика атмосферным воздухом, что способствует его растворению в воде с усилением коррозионных процессов оборудования с водяной стороны.
Известен теплый ящик для докотловой очистки питательной воды, являющийся прототипом (см. Сень Л.И. Оптимизация технико-экономических решений при проектировании и эксплуатации котельных установок малой мощности. Владивосток: Мор. гос. ун-т, 2004, 146 с., стр.80-83), включающий корпус с боковыми стенками, передней и задней торцевыми стенками корпуса, днищем и крышкой, содержащий аккумуляторную полость; патрубки подвода добавочной воды (поз.3), чистого и грязного конденсатов (поз.2) и отвода питательной воды и нефтепродуктов; полость грязных конденсатов (поз.3) (в описании она поименована приемной полостью); полость очищенных конденсатов (ограничена перегородками 8 и 11), снабженную переливной кромкой в верхней части и сообщающуюся с аккумуляторной полостью; полость сбора нефтепродуктов (поз.14); полость отстоя нефтепродуктов (поз.9), снабженную переливной трубой нефтепродуктов, верхняя оконечность которой размещена выше поверхности раздела сред полости очищенных конденсатов, а нижняя сообщена с полостью сбора нефтепродуктов; а также встроенные в полости механические и коалесцирующие фильтры и подогреватель добавочной воды (поз.4).
Недостатками известного теплого ящика-прототипа являются:
– подогреватель добавочной воды обеспечивает недостаточный подогрев ее вследствие размещения его вне аккумуляторной полости, особенно при “залповом” подводе добавочной воды, что снижает эффективность деаэрации добавочной воды;
– “залповый” отвод питательной воды приводит к заполнению освобождающегося пространства аккумуляторной полости атмосферным воздухом, что способствует его растворению в воде с усилением коррозионных процессов оборудования с водяной стороны;
– качка судна с установленным теплым ящиком или негоризонтальная установка теплого ящика в стационарных условиях затрудняет отвод углеводородов через переливную трубу нефтепродуктов в полость сбора нефтепродуктов и может приводить к переливу нефтепродуктов из полости отстоя в полость очищенных конденсатов через верхнюю кромку полости отстоя нефтепродуктов или через нижнюю кромку сообщающихся полостей отстоя нефтепродуктов и очищенных конденсатов с дальнейшим поступлением нефтепродуктов в аккумуляторную полость и питательную воду.
Таким образом, в теплом ящике-прототипе не обеспечивается высокая эффективность нагрева и деаэрации добавочной воды, особенно при “залповых подводах добавочной воды и отводах питательной воды, и недостаточная надежность отвода углеводородов из питательной воды, что в конечном итоге снижает надежность работы котельной установки.
Технической задачей предлагаемого теплого ящика для докотловой очистки питательной воды является устранение указанных недостатков, а именно получение питательной воды высокого качества независимо от качки судна или негоризонтальной установки теплого ящика, что обеспечивает повышение надежности работы котельной установки.
Это достигается тем, что в известном теплом ящике для докотловой очистки питательной воды, включающем корпус с боковыми стенками, передней и задней торцевыми стенками корпуса, днищем и крышкой; содержащий аккумуляторную полость; патрубки подвода добавочной воды, чистого и грязного конденсатов и отвода питательной воды и нефтепродуктов; полость грязных конденсатов; полость очищенных конденсатов, снабженную переливной кромкой в верхней части и сообщающуюся с аккумуляторной полостью; полость сбора нефтепродуктов; полость отстоя нефтепродуктов, снабженную переливной трубой нефтепродуктов, верхняя оконечность которой размещена выше поверхности раздела сред полости очищенных конденсатов, а нижняя сообщена с полостью сбора нефтепродуктов; а также встроенные в полости механические и коалесцирующие фильтры, в отличие от него, заявляемый дополнительно оборудован приемной полостью добавочной воды, размещенной вдоль задней торцевой стенки корпуса и ограниченной внутренней стенкой этой полости, сообщающейся с патрубком подвода добавочной воды и имеющей поверхность раздела сред, воздушное пространство которой сообщено с атмосферой; а также примыкающими к внутренней стенке приемной полости добавочной воды двумя буферными выгородками добавочной воды, встроенными в корпус теплого ящика вдоль его боковых стенок, вертикально ориентированными, ограниченными соответственно этими боковыми стенками и противоположными им внутренними стенками каждой из выгородок добавочной воды, которые в нижней части посредством поддона сопряжены с боковыми стенками корпуса над днищем корпуса, а в верхней части имеют переливную кромку, расположенную ниже уровня переливной кромки полости очищенных конденсатов. Полость грязных конденсатов ограничена передней торцевой стенкой корпуса, противоположной ей внутренней стенкой этой полости, нижний торец которой отстоит от днища корпуса на уровне упомянутого поддона, одной из боковых стенок корпуса и противоположной, относительно этой боковой стенки корпуса, перегородкой, нижний торец которой также отстоит от днища корпуса на уровне поддона, отделяющей полость грязных конденсатов от смежной, симметрично расположенной, относительно нее, в корпусе теплого ящика полости чистых конденсатов, соответственно ограниченной этой перегородкой, противоположной, относительно перегородки, другой боковой стенкой корпуса, передней торцевой стенкой корпуса и противоположной, относительно передней торцевой стенки корпуса, внутренней стенкой этой полости, нижний торец которой также отстоит от днища корпуса на уровне поддона; при этом к полостям соответственно грязных и чистых конденсатов подведены патрубки подвода грязного и чистого конденсатов, а общее днище обеих полостей расположено на уровне упомянутого поддона. Внутренняя стенка приемной полости добавочной воды в нижней части сопряжена посредством упомянутого поддона с задней торцевой стенкой корпуса над днищем корпуса, имеет вблизи ее примыкания к боковым стенкам корпуса отверстия, сообщающие приемную полость добавочной воды с буферными выгородками добавочной воды, а в верхней части эта внутренняя стенка полости примыкает к крышке корпуса. Над приемной полостью добавочной воды дополнительно установлен корпус гидрозатвора, включающий днище, имеющее форму опрокинутой усеченной пирамиды, боковые стенки и крышку, к которому присоединены колено гидрозатвора, переливная труба гидрозатвора, патрубок подвода добавочной воды и вентиляционное приспособление, при этом горизонтальный участок днища корпуса выполнен с шириной и длиной в плане менее 0,1 ширины корпуса теплого ящика и сопряжен со своими боковыми стенками подъемными участками днища с углом наклона более 15°. Переливная труба гидрозатвора верхней оконечностью размещена в днище корпуса гидрозатвора на уровне не ниже 100 мм от горизонтального участка днища, а нижней оконечностью – в приемной полости добавочной воды на уровне ниже середины высоты корпуса теплого ящика, подъемный участок колена гидрозатвора выполнен с высотой не менее половины высоты корпуса теплого ящика, своей нижней оконечностью сообщен с внутренней полостью корпуса гидрозатвора на уровне ниже 50 мм от верхней оконечности переливной трубы гидрозатвора, а опускной участок колена гидрозатвора сообщен с аккумуляторной полостью, при этом патрубок подвода добавочной воды подведен к верхней части корпуса гидрозатвора. Полость очищенных конденсатов размещена между аккумуляторной полостью и полостью отстоя нефтепродуктов, ограничена от первой разделительной стенкой, сопряженной с боковыми стенками корпуса и днищем корпуса и имеющей в верху переливную кромку криволинейного профиля с вогнутым к оси корпуса участком, а от второй ограничена перегородкой, также сопряженной с боковыми стенками корпуса, нижняя оконечность которой расположена на уровне упомянутого поддона, а верхняя – на уровне, превышающем высоту переливной кромки разделительной стенки в месте ее примыкания к боковой стенке корпуса. Полость отстоя нефтепродуктов ограничена упомянутой перегородкой, боковыми стенками корпуса и внутренними стенками соответственно полости грязных конденсатов и полости чистых конденсатов. Нижняя оконечность переливной трубы нефтепродуктов этой полости расположена над самым днищем полости сбора нефтепродуктов, а верхняя оконечность свободного среза переливной трубы нефтепродуктов расположена выше уровня вогнутого участка переливной кромки разделительной стенки и оснащена установленным снаружи нее протяженным цилиндрическим патрубком с внутренним диаметром более 2-3 диаметров переливной трубы нефтепродуктов, при этом отстояние верхней оконечности среза этого патрубка от вогнутого участка переливной кромки разделительной стенки превышает в 2,5-3 раза отстояние от последнего верхней оконечности свободного среза переливной трубы нефтепродуктов, а нижняя оконечность этого патрубка оснащена фланцем, боковые поверхности которого с наклоном вниз составляют относительно горизонта угол, превышающий 15°, и примыкают к боковым стенкам корпуса, внутренним стенкам полостей грязных и чистых конденсатов и перегородке полости отстоя нефтепродуктов. Коалесцирующий фильтр встроен в полость грязных конденсатов. Конструктивно оправдано такое выполнение теплого ящика, при котором полость сбора нефтепродуктов размещена под днищем корпуса и оснащена вентиляционным приспособлением, верхняя оконечность которого расположена на уровне выше середины корпуса теплого ящика. Технологически целесообразна такая форма переливной кромки криволинейного профиля полости очищенных конденсатов, при которой эта переливная кромка выполнена с горизонтальным участком по оси корпуса шириной менее 0,1 ширины торцевой стенки корпуса и подъемными участками с углом наклона более 15° и протяженностью от концов горизонтального участка до боковых стенок корпуса.
Предложенный теплый ящик котельной установки и совокупность элементов корпуса обеспечивают достаточный подогрев добавочной воды в буферных выгородках, ее глубокую деаэрацию от коррозионно-активных газов, исключают пропуск углеводородов в питательную воду даже при качке судна или при негоризонтальной установке теплого ящика, что повышает надежность работы котельной установки.
Так, в частности:
1. Наличие двух буферных выгородок и приемной полости добавочной воды, имеющих каждая внутреннюю стенку в контакте с аккумуляторной полостью, позволяет иметь запас добавочной воды внутри теплого ящика и обеспечить ее нагрев за счет теплообмена между питательной водой аккумуляторной полости и добавочной водой буферных выгородок и приемной полости. При этом коррозионно-активные газы выделяются из добавочной воды в пространство над поверхностью раздела сред аккумуляторной полости и в атмосферу.
2. При “залповом” отборе питательной воды со снижением ее уровня в аккумуляторной полости давление в ней снижается и создается вакуум, при этом относительно холодная добавочная вода из приемной полости под действием атмосферного давления через отверстия в задней стенке вытесняется в буферные выгородки, из которых она через переливные кромки стекает в аккумуляторную полость. При этом перетекание добавочной воды происходит с поверхности буферных выгородок, где она наиболее нагрета, а холодная вода приемной полости стекает в нижнюю часть буферных выгородок, где происходит ее нагрев в течение данного промежутка времени. При вакууме в аккумуляторной полости происходит также подъем уровня воды в переливной трубе гидрозатвора и подъем уровня нефтепродуктов в переливной трубе нефтепродуктов без подсоса воздуха в аккумуляторную полость.
3. При “залповом” подводе добавочной воды она вначале заполняет приемную полость, где несколько подогревается, наиболее холодная часть воды на нижнем уровне буферных выгородок и приемной полости перетекает в буферные выгородки с последующим нагревом ее и переливом в аккумуляторную полость. Выделяющиеся из добавочной воды газы вследствие ее нагрева и подъема уровня воды в аккумуляторной полости вытесняются через опускной и подъемный патрубки колена гидрозатвора во внутреннее пространство корпуса гидрозатвора и далее в атмосферу.
4. При изменении угла наклона боковых стенок корпуса теплого ящика до 15° в отношении к горизонту, за счет малой длины приосевого горизонтального участка переливной кромки разделительной стенки полости очищенных конденсатов и увеличения высоты ее подъемного участка по направлению к одной из боковых стенок и за счет еще большей по сравнению с ней высотой перегородки полости отстоя нефтепродуктов, уровень конденсата в полости очищенных конденсатов и нижний уровень столба нефтепродуктов в полости отстоя нефтепродуктов уменьшаются несущественно, что предотвращает поступление нефтепродуктов из полости отстоя нефтепродуктов в полость очищенных конденсатов.
5. При колебаниях уровней сред в полостях теплого ящика, вызванных качкой судна, снабжение верхней оконечности переливной трубы нефтепродуктов наружным протяженным патрубком с внутренним диаметром более 2-3 диаметра переливной трубы в совокупности с отстоянием верхней оконечности среза патрубка от уровня горизонтального участка переливной кромки разделительной стенки полости очищенных конденсатов, в 2,5-3 раза превышающим отстояние от него верхней оконечности свободного среза переливной трубы нефтепродуктов, и конусообразным фланцем в нижней части, закрывающим за счет примыкания к стенкам корпуса полости отстоя нефтепродуктов сверху, позволяет уменьшить и предотвратить динамический выброс нефтепродуктов из полости отстоя в полость очищенных конденсатов.
6. Кроме того, снабжение нижней оконечности этого патрубка наклонными поверхностями, установленными под углом более 15° к горизонту в нижнем направлении и сопряженными с боковыми стенками корпуса теплого ящика, перегородкой и стенками полости отстоя нефтепродуктов, уменьшает площадь поперечного сечения столба нефтепродуктов в полости отстоя нефтепродуктов и уменьшает инерционную силу верхней части столба нефтепродуктов при качке судна, что снижает самоколебание верхнего уровня нефтепродуктов в полости отстоя нефтепродуктов и вероятность его пропуска в полость очищенных конденсатов.
7. Размещение нижней оконечности переливной трубы нефтепродуктов над самым днищем полости сбора нефтепродуктов в совокупности с вентиляционным приспособлением позволяет использовать “залповые” отборы питательной воды и подвода добавочной воды без опасности всасывания нефтепродуктов из полости сбора в полость отстоя под действием вакуума и предотвратить поступление пара из аккумуляторной полости через переливную трубу в полость сбора нефтепродуктов.
Таким образом, обеспечивается достижение поставленной задачи – получение питательной воды высокого качества независимо от качки судна или негоризонтальной установки теплого ящика с повышением надежности работы котельной установки.
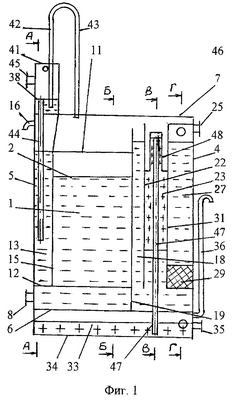
Предлагаемый теплый ящик для докотловой очистки питательной воды поясняется иллюстрациями: на фиг.1 представлена схема теплого ящика с продольным сечением; фиг.2 – то же, с поперечным сечением А-А (фиг.1); на фиг.3, 4 и 5 – то же, с поперечными сечениями соответственно Б-Б, В-В и Г-Г(фиг.1).
Теплый ящик для докотловой очистки питательной воды содержит аккумуляторную полость 1 с поверхностью раздела сред 2 и ограничен корпусом с боковыми 3, передней 4 и задней 5 торцевыми стенками корпуса, днищем 6 и крышкой 7 и снабжен патрубком отвода питательной воды 8.
В корпус теплого ящика встроены две буферные выгородки 9 (фиг.3) добавочной воды, которые ограничены соответственно боковыми 3 и противоположными внутренними 10 стенками выгородки, снабженными в верхней части переливными кромками 11, а в нижней части посредством поддона 12 сопряженными со стенками 3 на уровне 50-100 мм выше днища 6 корпуса.
Теплый ящик содержит приемную полость 13 добавочной воды с поверхностью раздела сред 14 (фиг.2), которая ограничена задней торцевой стенкой корпуса 5 и ее внутренней стенкой 15, а в нижней части – поддоном 12. Стенка 15 в верхней части примыкает к крышке 7, а воздушное пространство над поверхностью раздела сред 14 сообщено с атмосферой посредством гусака 16. В нижней части полости 13 вблизи поддона 12 на внутренней ее стенке 15 вблизи ее стыков с боковыми стенками 3 размещены отверстия 17, сообщающие полость 13 с буферными выгородками 9.
В корпус встроена полость очищенных конденсатов 18, которая отделена от полости 1 разделительной стенкой 19, сопряженной с боковыми стенками 3 и днищем 6, а верхняя часть этой разделительной стенки 19 содержит переливную кромку в форме приосевого горизонтального участка 20 (фиг.3) и двух примыкающих к нему подъемных участков 21 с углом наклона более 15° к горизонту.
От полости 18 перегородкой 22 отделена полость отстоя нефтепродуктов 23, также сопряженной с боковыми стенками 3, верхняя оконечность которой размещена на уровне несколько выше верхней оконечности подъемного участка 21 переливной кромки разделительной стенки 19, а нижняя оконечность – на уровне поддона 12.
В корпус встроены отсек чистых конденсатов 24 (фиг.5) с патрубком подвода чистых конденсатов 25 и механическими фильтрами 26 и отсек грязных конденсатов 27 с патрубком подвода грязных конденсатов 28 и коалесцирующим фильтром 29. Отсеки 24 и 27 разделены друг от друга перегородкой 30, сопряженной с передней торцевой стенкой корпуса 4, и отделены от полости 23 внутренней стенкой этой полости 31, сопряженной с боковыми стенками корпуса 3 и перегородкой 30. В верхней части перегородка 30 и боковые стенки корпуса 3 снабжены соосными смотровыми стеклами 32.
Под днищем 6 размещена полость сбора нефтепродуктов 33, которая содержит боковые стенки и днище 34, патрубок отвода нефтепродуктов 35 и снабжена патрубком воздушного гусака 36, верхний срез которого установлен на уровне выше середины высоты теплого ящика, а нижний срез гусака связан с верхней частью полости сбора нефтепродуктов. На середине высоты полости сбора нефтепродуктов на боковых стенках размещены смотровые стекла 37.
На крышке 7 над приемной полостью 13 установлен корпус гидрозатвора 38, включающий днище 39 (фиг.2), имеющее форму опрокинутой усеченной пирамиды, боковые стенки 40 и крышку 41. К корпусу присоединены колено гидрозатвора с подъемным 42 и опускным 43 участками, сообщающее его полость с аккумуляторной полостью, переливная труба 44, патрубок подвода добавочной воды 45 и воздушный гусак 46.
Полость отстоя нефтепродуктов оснащена переливной трубой нефтепродуктов 47 (фиг.4), размещенной верхней оконечностью свободного среза на 20-30 мм выше уровня горизонтального участка переливной кромки разделительной стенки 19 полости очищенных конденсатов, а нижней оконечностью, размещенной на 10-15 мм выше его днища 34 и снабженной внешним вертикальным патрубком 48 длиной не менее 150 мм с внутренним диаметром более 2-3 диаметров переливной трубы 47. При этом верхняя оконечность патрубка 48 размещена на 50-100 мм выше уровня горизонтального участка 20 переливной кромки разделительной стенки 19 полости очищенных конденсатов, а нижняя оконечность снабжена в качестве фланца наклонными пластинами 49, установленными под углом более 15° к горизонту в нижнем направлении и сопряженными со стенками 31, 22 и 3.
Теплый ящик для докотловой очистки питательной воды работает следующим образом.
Чистые горячие конденсаты подводятся по патрубку 25 в отсек чистых конденсатов 24, очищаются от механических примесей посредством фильтров 26 и далее на уровне между нижним торцом внутренней стенки 31 и днищем 6 поступают в полость очищенных конденсатов 18. Далее чистые конденсаты переливаются через участок 20 переливной кромки, расположенной на верхней части разделительной стенки 19, и сливаются в аккумуляторную полость 1.
Грязные горячие конденсаты с капельной примесью углеводородов подводятся по патрубку 28 в отсек грязных конденсатов 27. В нижней части этого отсека расположен коалесцирующий фильтр 29. Проходя через фильтр 29, капельная примесь углеводородов коалесцирует (коагулирует) с образованием сплошной пленки углеводородов без примеси капель, которая на выходе из фильтра перемещается потоком очищенного конденсата в сторону полости отстоя нефтепродуктов 23. За счет низкой скорости движения пленки нефтепродуктов в направлении полости 23 и меньшей плотности нефтепродуктов по сравнению с плотностью воды пленка нефтепродуктов прилипает к поверхности стенки 31 и поднимается по ней в верхнюю часть полости 23 и накапливается в этой полости с более высоким уровнем по сравнению с уровнем участка 20 переливной кромки разделительной стенки 19 полости 18 (нефтепродукты в полостях на схеме обозначены крестами в отличие от воды, обозначенной горизонтальными штрихами). При достаточно большой высоте столба нефтепродуктов в полости 23 уровень нефтепродуктов достигает верхней оконечности среза переливной трубы нефтепродуктов 47 с последующим сливом поступающих в полость 23 нефтепродуктов по трубе 47 в полость сбора нефтепродуктов 33. Очищенный от нефтепродуктов конденсат проходит из полости 23 в полость очищенных конденсатов 18 с последующим сливом в аккумуляторную полость 1.
Раздельный подвод чистых и грязных конденсатов в соответствующие полости 24 и 27 позволяет сократить размеры коалесцирующего фильтра соответственно относительной доле грязных конденсатов в общем потоке конденсатов.
Добавочная холодная вода подводится по патрубку 45 в приемную полость корпуса гидрозатвора 38. Уровень воды в корпусе гидрозатвора определяется положением верхней кромки переливной трубы 44, через которую вода поступает в приемную полость добавочной воды 13. Здесь холодная вода несколько подогревается за счет теплообмена поверхности поддона 12 и внутренней стенки 15, которые имеют контакт с горячими конденсатами аккумуляторной полости 1. Далее подогретая вода поступает через отверстия 17 в буферные выгородки добавочной воды 9, в которых она дополнительно подогревается в контакте с поверхностью поддона 12 и их внутренних стенок 10 за счет теплоты горячих конденсатов аккумуляторной полости 1. Нагретая добавочная вода из буферных выгородок 9 через переливные кромки 11 поступает в аккумуляторную полость 1. Нагрев добавочной воды сопровождается выделением из нее газов, которые через колено гидрозатвора с опускным 43 и подъемным 42 участками поступают в корпус гидрозатвора 38 и далее удаляются в атмосферу через гусак 46. Использование приемной полости добавочной воды 13 в совокупности с буферными выгородками добавочной воды 9 позволяет обеспечить подогрев холодной добавочной вода и ее деаэрацию с удалением коррозионно-активных газов.
Одновременно с нагревом добавочной воды в приемной полости 13 и буферных выгородках 9 происходит пристенное охлаждение воды в аккумуляторной полости 1. При этом за счет разности плотностей относительно холодная вода вдоль стенок 15 и 10 опускается в нижнюю часть аккумуляторной полости 1, откуда она по патрубку 8 отводится к питательному насосу (на схеме не показан). Охлаждение воды перед питательным насосом предотвращает возможный срыв подачи вследствие вскипания воды на входе в насос. Так обеспечивается увеличение надежности работы питательной системы котельной установки.
При “залповом” отводе питательной воды из аккумуляторной полости 1 поверхность раздела сред 2 (уровень воды) снижается и в полости 1 над уровнем вода давление паровоздушной смеси также снижается, и полость 1 соответственно вакууммируется. При этом происходит снижение уровня несколько подогретой воды в приемной полости 13 за счет вытеснения ее атмосферным давлением через отверстия 17 в буферные полости 19 с дальнейшим подогревом воды и поступлением ее через переливные кромки 11 в полость 1. Предельное снижение уровня воды в полости 13 может происходить до нижнего среза переливной трубы 44, достижение которого сообщит полость 1 с атмосферой. Одновременно с вакууммированием полости 1 будет происходить подъем уровня воды в подъемном участке 42 колена гидрозатвора, а также заполнение переливной трубы нефтепродуктов 47 с нижней оконечности до заданного уровня, соответствующего глубине вакуума. Глубина достижимого вакуума в полости 1 определяется высотой подъемного участка колена гидрозатвора над уровнем воды в корпусе гидрозатвора 38 (уровень воды примерно соответствует верхнему срезу переливной трубы 44) и углублением нижнего среза переливной трубы 44 относительно уровня переливной кромки 11. Вакууммирование полости 1 при “залповом” отводе питательной воды, во-первых, способствует деаэрации воды, а во-вторых, не допускает чрезмерного снижения поверхности раздела сред 2 с уменьшением аккумулирующей способности теплого ящика.
Изменение угла наклона корпуса теплого ящика относительно вертикальных осей продольного или поперечного сечений, вызванных не горизонтальной установкой или качкой судна, приводит к изменению или колебанию уровней поверхности раздела сред в полостях рабочих сред. Разность отклонения уровня в крайних положениях полостей зависит от угла наклона вертикальной оси и длины горизонтальной поверхности.
Отклонение корпуса теплого ящика от вертикали для продольного сечения (фиг.1) приводит к изменению уровня воды в полости 13, соответственно снижению крайних положений переливных кромок 11, примыкающих к стенке 15 или 19. Однако такое отклонение несущественно для работы теплого ящика, поскольку высота уровня в полости 13 достаточно велика по сравнению с величиной отклонения. Изменение уровней сред в полостях 18, 23, 24 и 27 также несущественно для работы теплого ящика вследствие малой длины горизонтальной протяженности этих уровней.
Отклонение корпуса теплого ящика от вертикали для поперечных сечений А-А, Б-Б, В-В и Г-Г (фиг.3, 4 и 5) также приводит к изменению положения уровней сред в полостях относительно боковых стенок 3. При этом поступление добавочной воды в полость 1 будет осуществляться через одну из буферных выгородок 9, что не приведет к существенному изменению работоспособности теплого ящика. Сохранение уровня воды в полости 18 и ее работоспособность при наклонах в горизонтальной плоскости обеспечиваются путем подъемных участков 21 переливной кромки разделительной стенки 19. Сохранение уровня углеводородов в полости отстоя нефтепродуктов 23 обеспечивается сокращением протяженности его горизонтального участка путем установки вокруг свободного среза переливной трубы 47 внешнего вертикального патрубка 48, снабженного в нижней оконечности наклонными пластинами 49. При этом, во-первых, обеспечивается отвод углеводородов и предотвращается отвод воды через переливную трубу 47 независимо от угла наклона оси теплого ящика от вертикального положения, а во-вторых, предотвращается перелив нефтепродуктов из полости отстоя 23 в полость чистых конденсатов 18 через верхнюю кромку или через нижнюю оконечность разделительной стенки 22. Изменение уровней воды в отсеках чистых конденсатов 24 и грязных конденсатов 27 при наклонах корпуса теплого ящика несущественно влияет на работоспособность отсеков.
Таким образом, обеспечивается повышение эффективности процессов нагрева и деаэрации добавочной воды, в том числе и при “залповых” подводах добавочной воды и отводах питательной воды. При этом также обеспечивается высокая надежность отвода углеводородов из грязных конденсатов и предотвращается возможность их поступления в питательную воду с повышением надежности работы котельной установки.
Формула изобретения
1. Теплый ящик для докотловой очистки питательной воды, ограниченный корпусом с боковыми стенками, передней и задней торцевыми стенками корпуса, днищем и крышкой, содержащий аккумуляторную полость, патрубки подвода добавочной воды, чистого и грязного конденсатов и отвода питательной воды и нефтепродуктов, полость грязных конденсатов, полость очищенных конденсатов, снабженную переливной кромкой в верхней части и сообщающуюся с аккумуляторной полостью, полость сбора нефтепродуктов, полость отстоя нефтепродуктов, снабженную переливной трубой нефтепродуктов, верхняя оконечность которой размещена выше поверхности раздела сред полости очищенных конденсатов, а нижняя сообщена с полостью сбора нефтепродуктов, а также встроенные в полости механические и коалесцирующие фильтры, отличающийся тем, что он дополнительно оборудован приемной полостью добавочной воды, размещенной вдоль задней торцевой стенки корпуса и ограниченной внутренней стенкой этой полости, сообщающейся с патрубком подвода добавочной воды и имеющей поверхность раздела сред, воздушное пространство которой сообщено с атмосферой, а также примыкающими к внутренней стенке приемной полости добавочной воды двумя буферными выгородками добавочной воды, встроенными в корпус теплого ящика вдоль его боковых стенок, вертикально ориентированными, ограниченными соответственно этими боковыми стенками и противоположными им внутренними стенками каждой из выгородок добавочной воды, которые в нижней части посредством поддона сопряжены с боковыми стенками корпуса над днищем корпуса, а в верхней части имеют переливную кромку, расположенную ниже уровня переливной кромки полости очищенных конденсатов; полость грязных конденсатов ограничена передней торцевой стенкой корпуса, противоположной ей внутренней стенкой этой полости, нижний торец которой отстоит от днища корпуса на уровне поддона, одной из боковых стенок корпуса и противоположной относительно этой боковой стенки корпуса перегородкой, нижний торец которой также отстоит от днища корпуса на уровне поддона, отделяющей полость грязных конденсатов от смежной, симметрично расположенной относительно нее в корпусе теплого ящика полости чистых конденсатов, соответственно ограниченной этой перегородкой, противоположной, относительно перегородки другой боковой стенкой корпуса, передней торцевой стенкой корпуса и противоположной относительно передней торцевой стенки корпуса внутренней стенкой этой полости, нижний торец которой также отстоит от днища корпуса на уровне поддона, при этом к полостям соответственно грязных и чистых конденсатов подведены патрубки подвода грязного и чистого конденсатов, а общее днище обеих полостей расположено на уровне упомянутого поддона; внутренняя стенка приемной полости добавочной воды в нижней части сопряжена посредством упомянутого поддона с задней торцевой стенкой корпуса над днищем корпуса, имеет вблизи ее примыкания к боковым стенкам корпуса отверстия, сообщающие приемную полость добавочной воды с буферными выгородками добавочной воды, а в верхней части эта внутренняя стенка полости примыкает к крышке корпуса; над приемной полостью добавочной воды дополнительно установлен корпус гидрозатвора, включающий днище, имеющее форму опрокинутой усеченной пирамиды, боковые стенки и крышку, к которому присоединены колено гидрозатвора, переливная труба гидрозатвора, патрубок подвода добавочной воды и вентиляционное приспособление, при этом горизонтальный участок днища корпуса выполнен с шириной и длиной в плане менее 0,1 ширины корпуса теплого ящика и сопряжен со своими боковыми стенками подъемными участками днища с углом наклона более 15°, переливная труба гидрозатвора верхней оконечностью размещена в днище корпуса гидрозатвора на уровне не ниже 100 мм от горизонтального участка днища, а нижней оконечностью – в приемной полости добавочной воды на уровне ниже середины высоты корпуса теплого ящика, подъемный участок колена гидрозатвора выполнен с высотой не менее половины высоты корпуса теплого ящика, своей нижней оконечностью сообщен с внутренней полостью корпуса гидрозатвора на уровне ниже 50 мм от верхней оконечности переливной трубы гидрозатвора, а опускной участок колена гидрозатвора сообщен с аккумуляторной полостью, при этом патрубок подвода добавочной воды подведен к верхней части корпуса гидрозатвора; полость очищенных конденсатов размещена между аккумуляторной полостью и полостью отстоя нефтепродуктов, ограничена от первой разделительной стенкой, сопряженной с боковыми стенками корпуса и днищем корпуса и имеющей вверху переливную-кромку криволинейного профиля с вогнутым к оси корпуса участком, а от второй ограничена перегородкой, также сопряженной с боковыми стенками корпуса, нижняя оконечность которой расположена на уровне упомянутого поддона, а верхняя – на уровне, превышающем высоту переливной кромки разделительной стенки в месте ее примыкания к боковой стенке корпуса; полость отстоя нефтепродуктов ограничена упомянутой перегородкой, боковыми стенками корпуса и внутренними стенками соответственно полости грязных конденсатов и полости чистых конденсатов, нижняя оконечность переливной трубы нефтепродуктов этой полости расположена над самым днищем полости сбора нефтепродуктов, а верхняя оконечность свободного среза переливной трубы нефтепродуктов расположена выше уровня вогнутого участка переливной кромки разделительной стенки и оснащена установленным снаружи нее протяженным цилиндрическим патрубком с внутренним диаметром более 2-3 диаметров переливной трубы нефтепродуктов, при этом отстояние верхней оконечности среза этого патрубка от вогнутого участка переливной кромки разделительной стенки превышает в 2,5-3 раза отстояние от последнего верхней оконечности свободного среза переливной трубы нефтепродуктов, а нижняя оконечность этого патрубка оснащена фланцем, боковые поверхности которого с наклоном вниз составляют относительно горизонта угол, превышающий 15°, и примыкают к боковым стенкам корпуса, внутренним стенкам полостей грязных и чистых конденсатов и перегородке полости отстоя нефтепродуктов, причем коалесцирующий фильтр встроен в полость грязных конденсатов.
2. Теплый ящик для докотловой очистки питательной воды по п.1, отличающийся тем, что полость сбора нефтепродуктов размещена под днищем корпуса и оснащена вентиляционным приспособлением, верхняя оконечность которого расположена на уровне выше середины корпуса теплого ящика.
3. Теплый ящик для докотловой очистки питательной воды по п.1, отличающийся тем, что переливная кромка криволинейного профиля полости очищенных конденсатов выполнена с горизонтальным участком по оси корпуса шириной менее 0,1 ширины торцевой стенки корпуса и подъемными участками с углом наклона более 15° и протяженностью от концов горизонтального участка до боковых стенок корпуса.
РИСУНКИ
MM4A – Досрочное прекращение действия патента СССР или патента Российской Федерации на изобретение из-за неуплаты в установленный срок пошлины за поддержание патента в силе
Дата прекращения действия патента: 26.04.2008
Извещение опубликовано: 27.05.2010 БИ: 15/2010
|
|