|
|
(21), (22) Заявка: 2004129340/06, 22.01.2003
(24) Дата начала отсчета срока действия патента:
22.01.2003
(30) Конвенционный приоритет:
04.03.2002 SE 0200631-0
(43) Дата публикации заявки: 10.04.2005
(46) Опубликовано: 20.03.2007
(56) Список документов, цитированных в отчете о поиске:
US 4881760 А, 21.11.1989. US 6099519 А, 08.08.2000. SU 1605076 A1, 07.11.1990. US 5620210 A, 15.04.1997.
(85) Дата перевода заявки PCT на национальную фазу:
04.10.2004
(86) Заявка PCT:
SE 03/00097 (22.01.2003)
(87) Публикация PCT:
WO 03/074918 (12.09.2003)
Адрес для переписки:
129010, Москва, ул. Б.Спасская, 25, стр.3, ООО “Юридическая фирма Городисский и Партнеры”, пат.пов. С.А.Дорофееву
|
(72) Автор(ы):
РЮМАН Морган (SE), ЙОХАНССОН Маркус (SE), СТИГЕФЕЛЬТ Фредрик (SE)
(73) Патентообладатель(и):
АБА ОФ СВИДЕН АБ (SE)
|
(54) СОЕДИНИТЕЛЬНОЕ УСТРОЙСТВО, СОСТОЯЩЕЕ ИЗ ДВУХ ПОЛОВИН
(57) Реферат:
Изобретение относится к соединительным устройствам для скрепления соединительного стыка. Соединительное устройство включает в себя две соединяющихся половины, соединенные шарнирно друг с другом. Соединительное устройство в рабочем положении устроено так, чтобы входить в зацепление с частями, предпочтительно с радиальными выступами, двух соединенных трубопроводов, прилегающих к упомянутому соединительному стыку. Одна из соединяющихся половин изготовлена с фиксатором, который выполнен с возможностью радиально изгибаться после соединения двух половин, а другая из половин с удерживающей частью, взаимодействующей с фиксатором. Одна из половин имеет, по меньшей мере, один выступ, а другая из половин, по меньшей мере, одну выемку. Выступ и выемка способны к взаимодействию для направления фиксатора на одной из соединяющихся половин в положение зацепления с удерживающей частью на другой половине. Край удерживающей части надежно зацепляется с фиксатором. Изобретение повышает надежность соединения. 4 з.п. ф-лы, 15 ил.
Область техники
Данное изобретение касается соединительного устройства для скрепления соединительного стыка, включающего в себя две половины, соединенные шарнирно друг с другом и которые могут быть сомкнуты вместе, причем упомянутое соединительное устройство в рабочем положении устроено так, чтобы входить в зацепление с частями, предпочтительно с радиальными выступами, двух соединенных трубопроводов, прилегающих к упомянутому соединительному стыку.
Предшествующий уровень техники
Хорошо известны соединительные устройства описанного выше типа. Другими примерами являются соединительные устройства типа шланговой соединительной муфты, то есть представляющие собой полоску, которая стянута посредством винта. Одна из проблем, обнаруженная в соединительных устройствах, имеющихся в данный момент на рынке, тем не менее, состоит в том, что они сравнительно неудобны для применения, особенно в условиях ограниченного пространства. Другая проблема состоит в трудности определения правильности установки соединения, то есть достаточно ли соединительное устройство стягивает соединительный стык.
Краткое описание изобретения
Задачей данного изобретения является устранение вышеупомянутых проблем, а также создания улучшенного соединительного устройства.
Эта задача в настоящее время решена в соответствии с принципами данного изобретения посредством устройства, обладающего характерными особенностями, определенными в пункте 1 прилагаемой формулы изобретения, а предпочтительные варианты реализации, определены в зависимых пунктах 2-9.
В соответствующем изобретению соединительном устройстве одна из соединяющихся половин имеет защелку (фиксатор), а другая удерживающую (ответную) часть, которая взаимодействует с защелкой, одна из половин снабжена, по меньшей мере, одним выступом, а другая, по меньшей мере, одной выемкой, причем выступ и выемка расположены так, чтобы взаимодействовать, направляя фиксатор на одной из соединяющихся половин в положение, в котором он зацепляется за удерживающую часть на другой половине. Вследствие такого расположения, фиксатор на одной из соединяющихся половин заблокирован от радиальных перемещений относительно другой половины, на которой выполнена удерживающая часть. После соединения этих двух половин фиксатор вынужден изогнуться наружу по направлению радиуса с целью зацепления за удерживающую часть и при правильном расположении защелкивается.
В соответствии с предпочтительным вариантом реализации изобретения выступ имеет, по меньшей мере, одну скошенную сторону для облегчения совпадения с выемкой при соединении вместе двух соединяющихся половин. Скошенная сторона обеспечивает более легкое направление выступа в выемку, когда фиксатор изгибается радиально наружу непосредственно перед защелкиванием фиксатор в положение зацепления с удерживающей частью.
В соответствии с другим предпочтительным вариантом реализации изобретения не выступ, а упомянутая выемка имеет, по меньшей мере, одну скошенную сторону для более удобной пригонки выемки и выступа при соединении вместе двух соединяющихся половин.
В соответствии с еще одним предпочтительным вариантом реализации изобретения выемка и выступ имеют, по меньшей мере, одну скошенную сторону, каждый для более удобной пригонки выемки и выступа при соединении вместе двух соединяющихся половин.
В соответствии с другим предпочтительным вариантом реализации изобретения, по меньшей мере, или фиксатор, или удерживающая часть скошены для облегчения соединения вместе двух соединяющихся половин. Во время соединения вместе половин наклонная поверхность позволяет фиксатору легко скользить через удерживающую часть в защелкнутое положение.
В соответствии с предпочтительным вариантом реализации изобретения две соединяющиеся половины скреплены вместе шарниром. Преимущество такой конструкции заключается в том, что соединительное устройство представляет собой одну единственную часть, обеспечивая впоследствии более простые действия, например, при использовании соединительного устройства. То, что соединительное устройство может быть изготовлено в виде одной единственной части, является преимуществом также с производственной точки зрения и таким образом обеспечивает экономически выгодное решение.
В соответствии с другим предпочтительным вариантом реализации изобретения в смонтированном положении устройства шарнир радиально смещен. Радиальное смещение шарнира добавляет соединению некоторую гибкость, что является преимуществом при расширении и сжатии двух соединенных труб вследствие температурных изменений. Соединительное устройство, изготовленное с радиально смещенным шарниром, таким образом приспосабливается к изменяющимся диаметрам труб. Кроме того, таким образом можно компенсировать некоторую неточность в размерах труб.
В соответствии с еще одним предпочтительным вариантом реализации изобретения, упомянутые соединяющиеся половины изготовлены с удерживающими поверхностями, развернутыми в противоположных направлениях, которые будут соединены вместе в положении взаимозацепления. Эти особенности конструкции позволяют использовать, например, плоскогубцы для правильной установки соединительного устройства.
В соответствии с другим предпочтительным вариантом реализации изобретения фиксатор в положении зацепления с удерживающей частью входит в выемку в удерживающей части для защиты фиксатора. Такое устройство обеспечивает фиксатору дополнительную защиту от случайного разъединения.
Краткое описание чертежей
Изобретение будет описано далее более подробно с помощью одного варианта реализации со ссылками на сопровождающие чертежи, на которых:
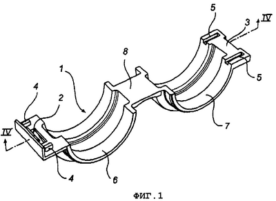
Фиг.1 показывает перспективу соединительного устройства в соответствии с изобретением.
Фиг.2 показывает перспективу соединительного устройства по Фиг.1, но под другим углом зрения.
Фиг.3a-3c иллюстрируют соединение двух труб посредством соединительного устройства в соответствии с данным изобретением.
Фиг.4 представляет центральный поперечный разрез вдоль линии IV-IV по Фиг.1.
Фиг.5a, 5b показывают местные разрезы по блокировочной части по линии V Фиг.3c, в открытом и закрытом положениях соответственно.
Фиг.6a, 6b показывают местные разрезы по блокировочной части по линии VI Фиг.3c, в открытом и закрытом положениях соответственно.
Фиг.7 и 8 показывают альтернативный вариант реализации изобретения.
Фиг.9-11 иллюстрируют другой альтернативный вариант реализации изобретения.
Подробное описание предпочтительных вариантов реализации
Соединительное устройство 1, показанное на Фиг.1 и 2, включает в себя фиксатор 2 и удерживающую часть 3. Кроме того, соединительное устройство 1 изготовлено с двумя выступами 4 и двумя выемками 5. В предпочтительном варианте реализации фиксатор 2 образован на той же половине 6 соединительного устройства, что и выступы 4. Соответственно, удерживающая часть 3 образована на половине 7 соединительного устройства, имеющей выемки 5. Соединяющиеся половины 6, 7 скреплены вместе с помощью шарнира 8. Соединительное устройство 1 целиком предпочтительно изготовлено в виде одной единственной части.
Для соединения вместе двух труб 10 (см. Фиг.3a-3c) трубы 10 сведены вместе таким образом, чтобы обеспечить примыкание фланцев 11, сформированных на трубах 10. Соединительное устройство затем размещается в положении, в котором фланцы 11 входят в соединительное устройство 1, после чего соединяющиеся половины 6, 7 сводятся вместе на концах, противоположных шарниру 8. После соединения вместе свободных концов соединительного устройства фиксатор 2 вынужден изогнуться наружу, обеспечивая таким образом скольжение через удерживающую часть 3 и затем защелкивание в зацепление с задней стороной удерживающей части 3. Выступы 4 вместе с фиксатором 2 и удерживающей частью 3 служат для блокировки свободных концов радиально в соединенном положении, гарантируя высокую степень защиты от случайного разъединения.
В соответствии с одним предпочтительным вариантом реализации устройство изготовлено со второй выемкой 9, посредством которой становится возможным определение достижения правильного положения соединения, например, с помощью цветной метки (не показана) или индикаторного выступа 12, сформированного на удерживающей части и выступающего в выемку (см. Фиг.7 и 8) таким способом, что при достижении правильного положения соединения выступ ясно виден во второй выемке 9.
Должно приниматься во внимание, что возможно большое количество модификации вышеупомянутого варианта реализации изобретения в пределах объема изобретения, определенного приведенной в конце формулой изобретения. Как описано выше, две соединяющихся половины 6, 7 могут, например, иметь различные размеры, то есть одна половина может охватывать, например, 210 градусов вокруг труб 10, в то время как вторая половина охватывает оставшиеся 150 градусов. Другая возможная модификация состоит в изготовлении выступов 4 на той половине соединительного устройства, на которой расположена удерживающая часть 3. Еще одна возможность состоит в использовании вместо двух выступов 4, двух выемок 5, одного фиксатора 2 и одной удерживающей части 3, соответственно, двух фиксаторов 2 и одной выемки 5. Очевидно, что также возможны другие комбинации количества фиксаторов, удерживающих частей 3, выступов 4 и выемок 5. Кроме того, соединительное устройство 1 может использоваться для соединения двух труб 10, снабженных вместо фланцев 11 канавками. Также не является необходимым, чтобы фланцы 11 или канавки располагались вокруг всего периметра труб 10.
Предпочтительно, выступы 4 и/или выемки 5 скошены таким образом, чтобы достигался клиновой эффект, служащий для введения двух соединяющихся половин 6, 7 в заданное положение зацепления, то есть, чтобы сориентировать половины в положение, в котором удерживающая часть 3 точно направляется в нижнюю часть фиксатора 2 в радиальном направлении, а также предпочтительно и в осевом направлении.
Из Фиг.5a, b и 6a, b становится наиболее ясным способ, за счет которого, после взаимной фиксации соединяющихся половин, клиновидный скошенный концевой край 4a направляющего выступа 4 посредством направляемого скольжения приводит внешний по радиусу край удерживающей части 3 в надежное зацепление с нижней частью носика фиксатора 2.
Должно приниматься во внимание, что устройство подобного клиновидного направляющего края на задней кромке выемки для достижения аналогичного направляющего перемещения в положение зацепления двух половин зажима (соединительного устройства) также находится в пределах области охвата изобретения. Подобными клиновидными поверхностями могут также быть снабжены выемка 5 и выступ 4.
Фиг.9-11 иллюстрируют альтернативный вариант реализации, в котором носик фиксатора развернут радиально наружу. В этом случае фиксатор 2′ проходит через выемку 9′ и в положении блокировки зацепляется с ее внешним по радиусу краем. На Фиг.11 цифровая ссылка 13′ обозначает выступ индикатора, соответствующий выступу 12 индикатора на Фиг.8.
Формула изобретения
1. Соединительное устройство (1) для скрепления соединительного стыка, содержащее две соединяющиеся половины (6, 7), соединенные шарнирно друг с другом и которые могут быть сомкнуты вместе, причем указанное соединительное устройство (1) в рабочем положении устроено так, чтобы входить в зацепление с частями, предпочтительно с радиальными выступами (11), двух соединенных трубопроводов (10), прилегающих к упомянутому соединительному стыку, отличающееся тем, что одна из соединяющихся половин (6, 7) изготовлена с фиксатором (2), причем фиксатор (2) выполнен с возможностью радиально изгибаться после соединения двух половин (6, 7), а другая из половин (6, 7) с удерживающей частью (3), взаимодействующей с фиксатором (2), причем одна из половин (6, 7) имеет, по меньшей мере, один выступ (4), а другая из половин (6, 7), по меньшей мере, одну выемку (5), при этом выступ (4) и выемка (5) способны к взаимодействию для направления фиксатора (2) на одной из соединяющихся половин (6, 7) в положение зацепления с удерживающей частью (3) на другой половине (6, 7), причем, по меньшей мере, один из выступов (4) и выемок (5) скошен на, по меньшей мере, одной стороне для направления двух соединяющихся половин (6, 7) в заданное положение зацепления за счет клинового эффекта в радиальном направлении, причем указанный клиновой эффект приводит к перемещению соединяющихся половин (6, 7) в радиальном направлении по отношении друг к другу, причем край удерживающей части (3) надежно зацепляется с фиксатором (2).
2. Соединительное устройство (1) по п.1, в котором, по меньшей мере, или фиксатор (2) или удерживающая часть (3) скошены для облегчения соединения вместе двух соединяющихся половин (6, 7).
3. Соединительное устройство (1) по п.1, в котором две соединяющиеся половины (6, 7) соединены в одно целое шарниром (8).
4. Соединительное устройство (1) по п.3, в котором шарнир (8) радиально смещен в установленном положении устройства.
5. Соединительное устройство (1) по п.1, в котором фиксатор (2) в положении зацепления с удерживающей частью (3) входит в выемку в упомянутой части (3) для защиты фиксатора.
РИСУНКИ
|
|