|
(21), (22) Заявка: 2005115460/11, 16.10.2003
(24) Дата начала отсчета срока действия патента:
16.10.2003
(30) Конвенционный приоритет:
23.10.2002 DE 10249555.6
(43) Дата публикации заявки: 10.10.2005
(46) Опубликовано: 20.03.2007
(56) Список документов, цитированных в отчете о поиске:
DE 19729489 А, 14.01.1999. ЕР 0557603 А, 01.09.1993. JP 2000154847 A, 06.06.2000. DE 10201184 A, 26.09.2002. RU 2162176 C1, 20.01.2001. SU 252015 A, 25.02.1970.
(85) Дата перевода заявки PCT на национальную фазу:
23.05.2005
(86) Заявка PCT:
EP 03/011492 (16.10.2003)
(87) Публикация PCT:
WO 2004/038251 (06.05.2004)
Адрес для переписки:
103735, Москва, ул. Ильинка, 5/2, ООО “Союзпатент”, пат.пов. И.М.Захаровой
|
(72) Автор(ы):
КИНЕР Вольфганг (DE), ЗАНДИГ Йорг (DE)
(73) Патентообладатель(и):
ХАССЕ УНД ВРЕДЕ ГМБХ (DE)
|
(54) ВЯЗКОСТНЫЙ ДЕМПФЕР КРУТИЛЬНЫХ КОЛЕБАНИЙ С ОХЛАЖДАЮЩИМИ КАНАЛАМИ
(57) Реферат:
Изобретение относится к области машиностроения, в частности к вязкостным демпферам крутильных колебаний. Вязкостный демпфер крутильных колебаний содержит кольцеобразный корпус (1), жестко соединенный с валом машины, в частности валом двигателя. Корпус (1) демпфера охватывает рабочую камеру (7) для размещения махового кольца, которая заполнена вязкой демпфирующей средой. По меньшей мере одна из обеих торцевых поверхностей демпфера крутильных колебаний несет вентиляторный диск (15) с охлаждающими каналами (17, 18). Охлаждающие каналы (17, 18) расположены, по меньшей мере, на двух концентрических делительных окружностях вентиляторного диска (15), при этом радиально внутренние (17) и радиально внешние (18) охлаждающие каналы имеют разные геометрические размеры. Техническим результатом является улучшение теплоотвода и формоустойчивости и упрощение изготовления и использования. 13 з.п. ф-лы, 7 ил.
Изобретение относится к вязкостному демпферу крутильных колебаний, содержащему кольцеобразный корпус, жестко соединяемый с валом машины, в частности валом двигателя, причем корпус демпфера охватывает рабочую камеру для размещения махового кольца, которая заполнена вязкой демпфирующей средой, причем, по меньшей мере, одна из обеих торцевых поверхностей демпфера крутильных колебаний несет вентиляторный диск с охлаждающими каналами. Такой вязкостный демпфер крутильных колебаний раскрыт в DE 19729489 А1.
Вязкостный демпфер крутильных колебаний, называемый далее кратко вискодемпфер, прифланцовывают обычно к силовой ответной стороне коленчатых валов дизельных двигателей. Он должен уменьшать амплитуды крутильных колебаний коленчатого вала. За счет осциллирующего срезания демпфирующей среды, а именно силиконового масла, внутри демпфера колебательная энергия преобразуется в тепло, которое за счет конвекции должно отдаваться окружающему воздуху или другой охлаждающей среде.
Производительность вискодемпфера зависит, в том числе, от теплопередачи между демпфирующей средой, стенками корпуса демпфера и окружающей охлаждающей средой. Превышение максимально допустимой рабочей температуры приводит к «вывариванию» силиконового масла, т.е. к необратимой потере качества. Поэтому следует максимально оптимизировать упомянутую теплопередачу, например, за счет форсированной конвекции на поверхности корпуса демпфера.
Для решения этой задачи окружающий вискодемпфер воздух с помощью подходящих устройств турбулентно завихряют, улучшая, таким образом, теплопередачу на поверхности демпфера.
Это намерение уже преследовалось за счет известного из DE 4205764 А1 расположения вентиляторных лопастей на торцевой поверхности вискодемпфера. У описанного здесь вискодемпфера его корпус снабжен на обеих плоских поверхностях вентиляторными дисками. На этих вентиляторных дисках U-образно вырезают и отгибают вверх множество вентиляторных лопастей. Лопасти лежат в осепараллельных плоскостях под постоянным углом друг к другу. Вентиляторные лопасти, состоящие из хорошо проводящего тепло материала, увеличивают вентилируемую поверхность демпфера и улучшают, таким образом, теплоотвод при эксплуатации. Кроме того, вентиляторные диски закрепляют посредством теплопроводящего клея на соответствующей плоской поверхности корпуса демпфера.
Правда, процесс склеивания оснащенных подобным образом вискодемпферов трудно автоматизировать. При отправке, монтаже на двигателе и при эксплуатации требуется особая тщательность, чтобы не повредить выступающие вентиляторные лопасти. Также постоянно существует опасность, что сборщик поранится об острокромочные листовые детали.
В GB 650891 также раскрыта теплопередача у вискодемпферов. Описанный здесь демпфер содержит выступающие, направленные лучеобразно или криволинейно лопасти, закрытые также вращающимся листовым колпаком. У этого решения недостатком является необходимость конструктивного пространства и технологическая трудность закрепления колпака на лопастях с минимальными затратами.
Конвективное охлаждение вискодемпферов раскрыто также в DE 19729489 А1. Конвективное охлаждение здесь обеспечивают вентиляторные диски с радиально проходящими трубчатыми охлаждающими каналами на обеих плоских поверхностях корпуса демпфера, которые вследствие вращения направляют захваченный воздух. Каналы проходят по всей ширине вентиляторного диска. На своем внутреннем радиусе они желаемым образом лежат близко друг к другу, однако неизбежно расходятся к наружному радиусу, хотя там следовало бы отводить наиболее плотный тепловой поток. Из-за значительной длины каналов охлаждающий воздух протекает в трубках главным образом ламинарно; более эффективным, с точки зрения теплотехники, является, однако, турбулентное течение. Каналы, проходящие радиально изнутри радиально наружу, делают несвязанный вентиляторный диск нестабильным, он выгибается, и с ним трудно обращаться. Недостатком считается также, что эти вентиляторные диски соединяются с плоскими поверхностями демпфера методом точечной сварки, которую можно автоматизировать только с помощью роботов с программным управлением.
Исходя из этого, задачей изобретения является создание родового вязкостного демпфера крутильных колебаний, который обладал бы улучшенными теплоотводом и формоустойчивостью, а также был бы проще в изготовлении и обращении.
Эта задача решается, согласно изобретению, посредством признаков пункта 1 формулы изобретения. Предпочтительные варианты осуществления изобретения приведены в пунктах с 2 по 14.
Существенное преимущество изобретения заключается в расположении охлаждающих каналов, по меньшей мере, на двух концентрических окружностях вентиляторного диска. Воздух, протекающий мимо в радиальном направлении при работе вязкостного демпфера крутильных колебаний, соприкасается сначала с радиально внутренними охлаждающими каналами, а затем с радиально внешними охлаждающими каналами. В обоих «случаях контактирования» происходит теплопередача от охлаждающих каналов к воздуху. За счет расположения охлаждающих каналов в два или более ряда благодаря радиальному расстоянию между охлаждающими каналами происходит дополнительное завихрение воздуха, которое предотвращает более неблагоприятное для высокой теплопередачи ламинарное течение охлаждающего воздуха. Благодаря этому могут быть достигнуты именно у высоконагруженных демпферов улучшенные конвекция и теплопередача.
Дальнейшая оптимизация теплопередачи возможна за счет такого параметра, как форма охлаждающих каналов. За счет варьирования геометрических размеров радиально внешних охлаждающих каналов относительно геометрических размеров радиально внутренних охлаждающих каналов можно локально воздействовать на турбулентность воздушного течения, что, в свою очередь, приводит к улучшенным конвекции и теплопередаче. Может быть также вполне желательным варьировать тепловую нагрузку по радиальной протяженности вязкостного демпфера крутильных колебаний, чтобы оказать влияние на демпфирующую характеристику.
Предпочтительным конструктивным параметром является соотношение с между радиальной длиной l и шириной b охлаждающих каналов. Если соотношение са радиально внешних охлаждающих каналов больше соотношения сi радиально внутренних охлаждающих каналов, то можно локально согласовать охлаждающую характеристику и способствовать турбулентности уже в радиально внутренней зоне. Оптимальные значения соотношения с составляют от 3,5 до 1.
В качестве альтернативы или дополнительно к вышеназванному конструктивному параметру геометрическую форму охлаждающих каналов следует выбирать таким образом, чтобы площадь Qa сечения радиально внешних охлаждающих каналов была меньше площади Оi сечения радиально внутренних охлаждающих каналов. Также этим можно локально согласовать охлаждающую характеристику и способствовать турбулентности.
Сопоставимое действие возникает тогда, когда радиально внутренние охлаждающие каналы выполнены шире, чем радиально внешние.
Варьируемым технологически с малыми затратами конструктивным параметром для воздействия на локальную охлаждающую характеристику является угловое расстояние . Как правило, угловое расстояние а между соседними радиально внешними охлаждающими каналами меньше углового расстояния i между радиально внутренними охлаждающими каналами. Преимущественно угловое расстояние a между радиально внешними охлаждающими каналами составляет от 3 до 7°; для радиально внутренних охлаждающих каналов i составляет преимущественно от 5 до 15°.
Наклонная по сравнению с радиалью ориентация охлаждающих каналов напрашивается тогда, когда с учетом направления вращения вала должен быть достигнут как можно более высокий расход охлаждающего воздуха. Оптимальными являются углы наклона до 30°.
Преимущественно охлаждающие каналы лежат на разных радиалях, так что за счет смещенного расположения охлаждающих каналов разных делительных окружностей происходит внутреннее завихрение захваченного охлаждающего воздуха; так достигается наиболее оптимальная теплопередача.
Охлаждающие каналы представляют собой преимущественно неотъемлемые составные части легкого в обращении вентиляторного диска. Они выполнены из материала диска без снятия стружки. Вентиляторный диск конструктивно простым и экономичным образом изготовлен из тонколистовой стали с хорошей теплопроводностью, причем охлаждающие каналы прорезают с двух касательных по отношению к оси вращения демпфера сторон и осуществляют глубокую вытяжку наподобие свода из плоскости вентиляторного диска. Продольная протяженность каждого охлаждающего канала, следовательно, всегда меньше ширины диска. Выполнение выпуклых охлаждающих каналов рядом друг с другом по всей круговой поверхности вентиляторного диска создает впечатление движения волн.
Радиально снаружи и внутри каждого ряда выпуклых охлаждающих каналов остаются плоские круговые участки вентиляторного диска, которые придают ему формоустойчивость и плоскостность и напрашиваются для выполнения лучевой сваркой круговых швов. Такие сварные швы получают автоматизированным способом и за один установ, т.е. особенно экономично. Кроме того, они создают прочное, хорошо проводящее тепло соединение между вентиляторным диском и корпусом демпфера.
Благодаря плавно скругленной выпуклости каждого отдельного охлаждающего канала в значительной степени исключена опасность травматизма. Выпуклые лопасти к тому же настолько формоустойчивы, что несколько снабженных вентиляторными дисками демпферов могут компактно штабелироваться, храниться и поставляться.
Одно технологическое преимущество состоит в том, что вентиляторный диск изготавливают за одну операцию, включающую в себя вырубку, прорезание и глубокую вытяжку; при меньших партиях можно, напротив, сначала вырубить плоскую листовую круглую деталь, в которой затем за счет итеративного переключения выполняют ограниченные сегменты охлаждающих каналов. Возможны также экономичные промежуточные этапы этих обоих способов.
Изобретение поясняется ниже с помощью примера его осуществления со ссылкой на прилагаемые чертежи, на котором изображают:
– фиг.1: половинный разрез демпфера крутильных колебаний согласно изобретению;
– фиг.2: вентиляторный диск из фиг.3 аксонометрической проекции;
– фиг.3: вентиляторный диск с двумя рядами охлаждающих каналов;
– фиг.4: вид по стрелке А на фиг.3;
– фиг.5: сечение отдельного охлаждающего канала;
– фиг.6: частичный вид вентиляторного диска из фиг.3 со смещенными по углу рядами каналов;
– фиг.7: частичный вид вентиляторного диска с наклонными внешними охлаждающими каналами.
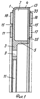
На фиг.1 в половинном разрезе изображен вязкостный демпфер крутильных колебаний, согласно изобретению, содержащий корпус 1 с радиально внутренним крепежным фланцем 3. Корпус 1 демпфера изготовлен из листовой стали или другого подходящего материала и своей наружной 4 и внутренней 5 стенками окружает кольцеобразную рабочую камеру 7, в которой находятся установленная с возможностью вращения вторичная масса (маховое кольцо не показано) и вязкая демпфирующая среда.
Крепежный фланец 3 имеет распределенные по всему диаметру крепежные отверстия 6 для размещения болтов, которыми вискодемпфер привинчивают к вращающейся части машины, например демпфируемому коленчатому валу, или соединяют с ней каким-либо иным образом. В среднем отверстии 11 размещается центрирующий выступ или подобная демпфируемая часть машины. В принципе, возможны также другие соединения корпуса демпфера с силовым или с геометрическим замыканием с демпфируемым валом.
Правая на фиг.1 сторона рабочей камеры 7 вискодемпфера закрыта крышкой 13. Крышка 13 изготовлена из штампованной или формованной каким-либо иным образом листовой круглой детали. По меньшей мере, на одной из плоских сторон корпуса демпфера, в данном случае на обеих его сторонах, закреплен вентиляторный диск 15. Вентиляторные диски 15 изготовлены из круглых тонколистовых деталей и снабжены каждая множеством охлаждающих каналов 17, 18, которые своей продольной осью лежат на радиалях корпуса 1 демпфера.
Охлаждающие каналы 17, 18 лежат по отношению к вискодемпферу на двух различных концентрических делительных окружностях. Радиальная протяженность вентиляторных дисков 15 и охлаждающих каналов 17, 18 выбрана таким образом, что охлаждающие каналы 17, 18 лежат в зоне боковых сторон махового кольца (не показано) и отделены от рабочей камеры стенкой корпуса 1 демпфера или крышки 13. Это обеспечивает теплопередачу от демпфирующей среды на охлаждающие каналы 17,18 кратчайшим путем.
Характерная волнообразная структура вентиляторного диска 15 видна на фиг.2 благодаря аксонометрической проекции.
На фиг.3 в частичном виде сверху на вентиляторный диск 15, согласно изобретению, изображены два концентрических ряда равномерно распределенных охлаждающих каналов 17, 18. Внутренние 17 и внешние 18 охлаждающие каналы смещены по отношению друг к другу на несколько угловых градусов, так что подаваемый радиально изнутри радиально наружу охлаждающий воздух завихряется наиболее оптимальным образом и достигается максимальное охлаждающее действие. Охлаждающие каналы 17, 18 направлены радиально, за счет чего вентиляторный диск подходит в равной мере для обоих направлений вращения. В особых случаях может быть целесообразным придание охлаждающим каналам 17, 18 оптимизированной формы по отношению к предпочтительному направлению вращения. Вместо равномерного деления возможны и другие расположения охлаждающих каналов, например сегментированными группами, отстоящими друг от друга на несколько угловых градусов.
Охлаждающие каналы выполнены из материала листовой круглой детали 19. При этом вырубленную круглую деталь прорезают в местах 21, 23. В последующем процессе глубокой вытяжки охлаждающие каналы 17, 18 подвергают глубокой вытяжке, придавая им выпуклость, по отдельности или группами. При наличии необходимого вырезного или вырубного штампа можно особенно экономично объединить операции вырубки, прорезания и глубокой вытяжки.
Поскольку охлаждающие каналы по своей продольной протяженности проходят лишь по части ширины вентиляторного диска, радиально снаружи и внутри каналов остаются недеформированные плоские круговые кольца 27, 29, напрашивающиеся в качестве дорожек для круговых, выполненных лучевой сваркой швов 33, 35. Подобные сварные швы обозначены на фиг.1.
В дополнение к внешнему 27 и внутреннему 29 круговым кольцам имеется среднее круговое кольцо 31 между обоими рядами каналов. При необходимости здесь лучевой сваркой также может быть выполнен шов в качестве дополнительного крепежа вентиляторного диска.
В частичном виде на фиг.4 сплошные охлаждающие каналы 17 выдаются за плоскую листовую круглую деталь 19. Взгляд наблюдателя (стрелка А на фиг.3) следует здесь за потоком охлаждающего воздуха, отклоняемым посредством каналообразных выпуклостей 25 радиально изнутри радиально наружу. Между выпуклыми охлаждающими каналами 17 листовая круглая деталь 19 прилегает к корпусу 1 демпфера или к крышке 13 и обеспечивает, таким образом, оптимальную теплопередачу.
Ширина b охлаждающих каналов, как показано на фиг.5, определяется радиусами r вытяжки, которые охлаждающие каналы 17, 18 имеют на переходе к листовой круглой детали 19. Площади Qi, Qa сечения охлаждающих каналов постоянны, за исключением технологически обусловленных отклонений.
Изображенный на фиг.6 вентиляторный диск имеет при радиально внутренних охлаждающих каналах 17 угловое расстояние i=3,8°. Угловое расстояние a между радиально внешними охлаждающими каналами 18 составляет 5,0°. Соотношение между радиальной длиной l и шириной b охлаждающих каналов составляет с=2.
У вентиляторного диска на фиг.7 радиально внешние охлаждающие каналы расположены с наклоном к их соответствующим радиалям под углом .
Затраты на теплотехническую оптимизацию вискодемпфера сравнительно малы. Описанное выше устройство имеет то преимущество, что оно само не влияет на обычный способ изготовления демпфера, а происходит лишь после его завершения. Уже изготовленные и, при необходимости, уже находящиеся в эксплуатации демпферы могут быть дооснащены вентиляторными дисками, согласно изобретению.
Перечень ссылочных позиций
1 – корпус демпфера
3 – крепежный фланец
4 – наружная стенка
5 – внутренняя стенка
7 – рабочая камера
9 – крепежное отверстие
11 – среднее отверстие
13 – крышка
15 – вентиляторный диск
17 – внутренний охлаждающий канал
18 – внешний охлаждающий канал
19 – листовая круглая заготовка
21 – внешняя прорезь
23 – внутренняя прорезь
25 – окружность каналов, ряд нескольких охлаждающих каналов
27 – внешнее круговое кольцо
29 – внутреннее круговое кольцо
31 – среднее круговое кольцо
33 – внешний шов, выполненный лучевой сваркой
35 – внутренний шов, выполненный лучевой сваркой
37 – угловое смещение
b – ширина
с – соотношение
l – длина
R – радиаль
r – радиус вытяжки
Q, Qa, Qi – площадь сечения
, a, i – угловое расстояние
– угол наклона
Формула изобретения
1. Вязкостный демпфер крутильных колебаний, содержащий кольцеобразный корпус (1), жестко соединенный с валом машины, в частности валом двигателя, причем корпус (1) демпфера охватывает рабочую камеру (7) для размещения махового кольца, которая заполнена вязкой демпфирующей средой, причем, по меньшей мере, одна из обеих торцевых поверхностей демпфера крутильных колебаний несет вентиляторный диск (15) с охлаждающими каналами (17, 18), отличающийся тем, что охлаждающие каналы (17, 18) расположены, по меньшей мере, на двух концентрических делительных окружностях вентиляторного диска (15), при этом радиально внутренние (17) и радиально внешние (18) охлаждающие каналы имеют разные геометрические размеры.
2. Демпфер по п.1, отличающийся тем, что соотношение cа между радиальной длиной l и шириной b радиально внешних охлаждающих каналов (18) больше соотношения сi радиально внутренних охлаждающих каналов (17).
3. Демпфер по п.2, отличающийся тем, что соотношения cа, сi составляют от 3,5 до 1.
4. Демпфер по одному из пп.1-3, отличающийся тем, что площадь Qa сечения радиально внешних охлаждающих каналов (18) меньше площади Qi сечения радиально внутренних охлаждающих каналов (17).
5. Демпфер по п.4, отличающийся тем, что радиально внутренние охлаждающие каналы (17) выполнены шире радиально внешних охлаждающих каналов (18).
6. Демпфер по п.1, отличающийся тем, что угловое расстояние а между соседними радиально внешними охлаждающими каналами (18) меньше углового расстояния i между радиально внутренними охлаждающими каналами (17).
7. Демпфер по п.6, отличающийся тем, что угловое расстояние а между соседними внешними охлаждающими каналами (18) составляет от 3 до 7°.
8. Демпфер по п.6 или 7, отличающийся тем, что угловое расстояние i между соседними внутренними охлаждающими каналами (17) составляет от 5 до 15°.
9. Демпфер по п.1, отличающийся тем, что радиально внешние (18) и/или внутренние (17) охлаждающие каналы ориентированы относительно их радиалей R под углом наклона  30°.
10. Демпфер по п.9, отличающийся тем, что охлаждающие каналы (17, 18) лежат на разных радиалях R.
11. Демпфер по п.10, отличающийся тем, что внутренние охлаждающие каналы (17) радиально отстоят от внешних охлаждающих каналов (18).
12. Демпфер по п.11, отличающийся тем, что радиальное расстояние между охлаждающими каналами (17, 18) составляет от 20 до 100% длины l охлаждающих каналов.
13. Демпфер по одному из пп.1-3, 5-7, 9-12, отличающийся тем, что охлаждающие каналы (17, 18) выполнены выпукло выступающими из плоскости листовой круглой детали (19) с открытыми с радиальной стороны концами.
14. Демпфер по п.13, отличающийся тем, что сечение охлаждающих каналов (17, 18) имеет форму прямоугольника, синусоидальных волн или дуги окружности.
РИСУНКИ
|