|
(21), (22) Заявка: 2005129855/11, 26.09.2005
(24) Дата начала отсчета срока действия патента:
26.09.2005
(46) Опубликовано: 20.03.2007
(56) Список документов, цитированных в отчете о поиске:
GB 977577 А, 09.12.1964. SU 1523755 A1, 23.11.1989. SU 1751499 A1, 30.07.1992. RU 2168025 С2, 27.05.2001.
Адрес для переписки:
346500, Ростовская обл., г. Шахты, пл. Ленина, ШИ ЮРГТУ (НПИ), ОИС, гос. эксперту И.И. Кузнецовой
|
(72) Автор(ы):
Рыжиков Владимир Александрович (RU), Долгополов Кирилл Николаевич (RU)
(73) Патентообладатель(и):
Государственное образовательное учреждение высшего профессионального образования “Южно-Российский государственный технический университет (Новочеркасский политехнический институт)” (RU)
|
(54) ПОДШИПНИК СКОЛЬЖЕНИЯ
(57) Реферат:
Изобретение относится к области машиностроения и может быть использовано в качестве опор валов в тяжелонагруженных и высокоскоростных механизмах и машинах. Подшипник скольжения содержит корпус с вкладышем на валу в смазочном материале, включающем мелкодисперсные порошки металлов. Вкладыш установлен в корпусе на изоляторе и к нему через контакт подводится положительный потенциал, а к валу через токосъемник – отрицательный потенциал от регулируемого источника напряжения. На валу установлен датчик перемещения, кинематически связанный с контактом. Технический результат – повышение надежности и увеличение ресурса работы подшипника за счет реализации эффекта безызносной эксплуатации узлов подшипников скольжения. 1 ил.
Изобретение относится к области машиностроения и может быть использовано в качестве опор валов в тяжелонагруженных и высокоскоростных механизмах и машинах.
Разработанные до настоящего времени конструкции подшипников скольжения, содержащие вкладыш на валу в смазочном материале, не обеспечивают безызносную эксплуатацию узлов трения, что снижает надежность машин в эксплуатации [1]. Известны подшипники скольжения, вкладыши которых включают стальную основу с нанесенным на нее антифрикционным слоем из свинцовистой бронзы, на которую методом ионно-плазменного распыления нанесен тонкий (0,02 мм) слой алюминиево-оловянистого сплава АО 20-1, содержащего 20% олова, 1% меди, остальное алюминий. Последний слой обладает высокой износостойкостью по сравнению с широкоприменяемыми гальваническими приработочными покрытиями на основе свинца, и используется в элементах машин с высокими удельными нагрузками на подшипники [1].
Недостатками известной конструкции вышеописанного подшипника являются пониженная прирабатываемость и противозадирные свойства вследствие его относительно высокой твердости, что может приводить к неравномерному распределению нагрузки на подшипник, локальному повышению давлений, перегреву и выходу из строя подшипника.
Наиболее близким к заявленному по техническому решению является подшипник скольжения со смазочным материалом [Пат. 977-577 (Англия)] [2]. Смазочный материал, включающий до 5% присадок, состоящих из органических фосфидов соответствующих металлов, через слой которого пропускают электрический ток низкого напряжения.
Недостатками приведенной конструкции являются:
1) при электролитическом осаждении металла на поверхностях трения из присадок, вводимых в смазочный материал, используют токи большой силы (1…10 А). Это приводит к электроэрозионному разрушению поверхностей трения, электрическому пробою, местному разогреву;
2) отсутствие изолирующего компонента позволяет локализовать электрическое поле непосредственно в зоне фрикционного контакта, что снижает эффективность применяемого метода;
3) отсутствие элемента, контролирующего толщину образующейся пленки, что может привести к заеданию или появлению больших зазоров в подвижном сопряжении при эксплуатации.
Цель изобретения – повышение надежности и увеличение ресурса работы подшипника за счет реализации эффекта безызносной эксплуатации узлов подшипников скольжения.
Отличительными признаками заявленной конструкции являются:
– вкладыш установлен в обойме на изоляторе,
– регулируемый источник постоянного напряжения,
– датчик перемещения, кинематически связанный с контактом.
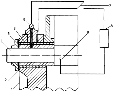
На чертеже представлена принципиальная схема подшипника скольжения. Устройство содержит вал 1, на котором установлен вкладыш 2 на изоляторе 3, который размещен в корпусе 4, имеющем полость, заполненную смазочным материалом, содержащим присадки мелкодисперсных порошков металлов. Для предотвращения попадания загрязнений на корпусе установлена крышка 5. В сквозной проточке на корпусе 4 установлен индикатор 6, кинематически связанный с контактом 7 цепи регулируемого источника постоянного напряжения 8. Посредством контакта 7 положительный потенциал подается на вкладыш 2, а отрицательный – на вал 1 через токосъемник 9.
Устройство работает следующим образом: при вращении вала 1 во вкладыше при отсутствии износа поверхностей трения контакт 7 разомкнут и напряжение от регулируемого источника постоянного напряжения не подается в электрическую цепь. При возникновении износа поверхностей трения вала 1 и вкладыша 2 ножка индикатора 6 опускается вниз, контакт 7 замыкается и по цепи протекает электрический ток. Присадки металлов и вещество смазочного материала под действием физико-химических процессов, тепловых полей деструктируют на ионы и переносятся за счет электростатических сил внешнего электрического поля к противоположно заряженным поверхностям трибосопряжения, образуя фиксированную фазу, с одновременным переходом к гидродинамическому режиму трения. Наибольшие уровни изнашивания наблюдаются в моменты “пуск” и “останов” не только вследствие механического взаимодействия сопряженных поверхностей, но, в большей мере, за счет возникновения микроЭДС в зонах фактического контакта, обусловленных высокими удельными нагрузками и температурами в этот период, приводящими к электроэрозионному разрушению данных зон и другим явлениям, катализирующим процессы адгезионного взаимодействия.
Регулирование скорости образования защитной пленки в зависимости от геометрических параметров вкладыша 2 осуществляется изменением величины разности потенциалов между поверхностями трибосопряжения от регулируемого источника постоянного тока. Происходит восстановление изношенных поверхностей трения до заданных значений, после чего ножка индикатора 6 поднимается и размыкает контакт 7. Электрохимические процессы прекращаются до следующего цикла. Таким образом осуществляется безызносная эксплуатация подшипников скольжения.
Использование наведенного электрического поля позволяет многократно увеличить скорость образования защитной металлоплакирующей пленки, обеспечить многофакторную защиту поверхностей трения (от водородного, эрозионного, коррозионного изнашивания). Применение изолятора между вкладышем и обоймой позволит сохранить все положительные эффекты от использования электрического поля и устранить негативное влияние электрического пробоя между сопряженными поверхностями. Использование диэлектрика позволяет локализовать электрическое поле в зоне фрикционного контакта и предотвращает эрозионные процессы на поверхности трения.
Литература
1. Патент RU № 2154754, F 16 С 33/04, 2000 г.
2. Гаркунов Д.Н. “Триботехника (износ и безызносность)”: – М.: “МСХА”, 2001 г.
Формула изобретения
Подшипник скольжения, содержащий корпус с вкладышем на валу в смазочном материале, включающем мелкодисперсные порошки металлов, отличающийся тем, что вкладыш установлен в корпусе на изоляторе и к нему через контакт подводится положительный потенциал, а к валу через токосъемник отрицательный потенциал от регулируемого источника напряжения, причем на валу установлен датчик перемещения, кинематически связанный с контактом.
РИСУНКИ
MM4A – Досрочное прекращение действия патента СССР или патента Российской Федерации на изобретение из-за неуплаты в установленный срок пошлины за поддержание патента в силе
Дата прекращения действия патента: 27.09.2007
Извещение опубликовано: 20.05.2009 БИ: 14/2009
|