|
(21), (22) Заявка: 2005128863/06, 19.09.2005
(24) Дата начала отсчета срока действия патента:
19.09.2005
(46) Опубликовано: 20.03.2007
(56) Список документов, цитированных в отчете о поиске:
RU 2258841 C1, 20.08.2005. RU 2255250 C1, 27.06.2005. RU 2253049 C1, 27.05.2005. DE 3142583 A1, 15.05.1983. US 4437386 A, 20.03.1984.
Адрес для переписки:
123481, Москва, ул. Фомичевой, 14, корп.2, кв.228, В.В. Саяпину
|
(72) Автор(ы):
Саяпин Вадим Васильевич (RU)
(73) Патентообладатель(и):
Саяпин Вадим Васильевич (RU)
|
(54) ПНЕВМАТИЧЕСКИЙ ПРИВОД СО СТРУЙНЫМ ДВИГАТЕЛЕМ СО СТАБИЛИЗИРОВАННОЙ СКОРОСТЬЮ ВРАЩЕНИЯ
(57) Реферат:
Привод предназначен для приведения в действие электрогенераторов и гидронасосов. Привод содержит нереверсивный струйный двигатель и устройства стабилизации скорости вращения вала привода при изменении входного давления и нагрузки. Привод предназначен для работы от источников сжатого газа или сжатого воздуха в широком диапазоне входных давлений и мощностей нагрузки. Технический результат – повышение надежности. 6 з.п. ф-лы, 5 ил.
Область техники, к которой относится изобретение
Изобретение относится к области пневмомашиностроения, в частности к механизмам, предназначенным для приведения в действие электрогенераторов и гидронасосов.
Предшествующий уровень техники
Известен пневматический привод электрогенератора с системой стабилизации и регулирования скорости вращения генератора, содержащий пневматическую турбину, поршневой серводвигатель, электромеханический преобразователь, электронный усилитель, систему электрической обратной связи [1].
Техническим недостатком данного привода является сложность схемы и конструкции системы стабилизации и регулирования скорости вращения электрогенератора.
Известен центробежный регулятор скорости вращения вала двигателя, содержащий механическую передачу, систему рычагов, связанные с ними шары (грузы), подпружиненную муфту, связанную с регулирующим органом [2].
Техническим недостатком данного регулятора является сложность кинематической цепи и механической передачи.
Раскрытие сущности изобретения
Технической задачей изобретения является создание пневматического привода для приведения в действие электрогенераторов и гидронасосов, имеющего упрощенную конструкцию, повышенную надежность и расширенный диапазон применения привода для различный типоразмеров и мощностей электрогенераторов и гидронасосов.
Эта техническая задача решается за счет того, что двигатель выполнен в виде нереверсивного струйного двигателя, содержащего вал с осевым каналом, на котором перпендикулярно оси вала установлены трубки с соплами на внешних концах, а внутренние концы трубок соединены с осевым каналом вала, при этом в корпусе двигателя установлен соосно валу подводящий патрубок, причем входной конец патрубка соединен с источником питания привода, а выходной – с осевым каналом вала; при этом на валу ротора установлен центробежный регулятор расхода газа в ротор.
Также за счет того, что регулятор расхода газа в ротор выполнен в виде сбросного клапана, содержащего подпружиненный запирающий элемент.
А также за счет того, что регулятор расхода газа в ротор выполнен в виде регулятора изменения проходного сечения внутри осевого канала вала ротора.
Эта техническая задача решается также за счет того, что на входе в ротор установлен регулятор давления газа.
Также за счет того, что регулятор давления газа выполнен в виде подпружиненного обратного клапана.
Также за счет того, что на входе в регулятор давления установлен дроссель.
А также за счет того, что привод размещен в корпусе совместно с регулируемым объектом.
Сущность изобретения заключается в том, что в пневматическом приводе, содержащем пневматический двигатель, включающий в себя корпус с подшипниками, в которых на валу установлен ротор, двигатель выполнен в виде нереверсивного струйного двигателя, содержащего вал с осевым каналом, на котором перпендикулярно оси вала установлены трубки с соплами на внешних концах, а внутренние концы трубок соединены с осевым каналом вала, при этом в корпусе двигателя установлен соосно валу подводящий патрубок, причем входной конец патрубка соединен с источником питания привода, а выходной – с осевым каналом вала; при этом на валу ротора установлен центробежный регулятор расхода газа в ротор.
Сущность изобретения заключается также в том, что регулятор расхода газа в ротор выполнен в виде сбросного клапана, содержащего подпружиненный запирающий элемент.
Сущность изобретения заключается также в том, что регулятор расхода газа в ротор выполнен в виде регулятора изменения проходного сечения внутри осевого канала вала ротора.
Сущность изобретения заключается также в том, что на входе в ротор установлен регулятор давления газа.
Сущность изобретения заключается также в том, что регулятор давления газа выполнен в виде подпружиненного обратного клапана.
Сущность изобретения заключается также в том, что на входе в регулятор давления установлен дроссель.
Сущность изобретения заключается также в том, что привод размещен в корпусе совместно с регулируемым объектом.
Причинно-следственная связь между достигаемым научно-техническим результатом и совокупность признаков
Упрощение конструкции, повышение надежности и расширение диапазона применения привода для различных типоразмеров электрогенераторов и гидронасосов достигаются:
1. За счет того, что двигатель выполнен в виде нереверсивного струйного двигателя, содержащего вал с осевым каналом, на котором перпендикулярно оси вала установлены трубки с соплами на внешних концах, а внутренние концы трубок соединены с осевым каналом вала, при этом в корпусе двигателя установлен соосно валу подводящий патрубок, причем входной конец патрубка соединен с источником питания привода, а выходной – с осевым каналом вала; при этом на валу ротора установлен центробежный регулятор расхода газа в ротор.
2. За счет того, что регулятор расхода газа в ротор выполнен в виде сбросного клапана, содержащего подпружиненный запирающий элемент.
3. За счет того, что регулятор расхода газа в ротор выполнен в виде регулятора изменения проходного сечения внутри осевого канала вала ротора.
4. За счет того, что на входе в ротор установлен регулятор давления газа.
5. За счет того, что регулятор давления газа выполнен в виде подпружиненного обратного клапана.
6. За счет того, что на входе в регулятор давления установлен дроссель.
7. За счет того, что привод размещен в корпусе совместно с регулируемым объектом.
Краткое описание чертежей
Изобретение поясняется далее описанием примеров осуществления со ссылкой на чертежи, где:
На Фиг.1 изображена схема пневматического привода.
На Фиг.2 – проекция Фиг.1 по стрелке А.
На Фиг.3 – схема регулятора 1 расхода газа в ротор.
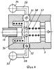
На Фиг.4 – схема регулятора 2 расхода газа в ротор.
На Фиг.5 – схема регулятора давления газа.
Лучшие варианты осуществления изобретения
Пневматический привод (Фиг.1) содержит пневматический нереверсивный струйный двигатель 1, включающий в себя корпус 2 с подшипниками, в которых на валу 3 установлен ротор 4 (Фиг.2), при этом внутри вала выполнен осевой канал и перпендикулярно оси вала на нем установлены трубки 6, 7 с соплами 8, 9 на внешних концах, а внутренние концы соединены с осевым каналом вала 3; при этом в корпусе двигателя установлен соосно валу подводящий патрубок 10, причем входной конец патрубка соединен через трубопровод 11 с источником питания привода 12, а вал 3 соединен вторым концом с объектом регулирования (электрогенератором или гидронасосом) 14. На валу 3 ротора установлен регулятор расхода газа в ротор 16, а на входе в патрубок 10 установлен дроссель 17, за которым размещен регулятор давления газа 18.
Регулятор расхода газа в ротор 16 выполнен, в первом варианте, в виде сбросного клапана (Фиг.3), содержащего корпус 21, закрепленный на валу 3, в котором размещен подпружиненный пружиной 23 запирающий элемент 24.
Во втором варианте (Фиг.4) регулятор расхода газа в ротор выполнен в виде центробежного регулятора изменения проходного сечения внутри осевого канала вала ротора. Регулятор содержит рычаги 26, 28, установленные подвижно на осях 31, 32 в стенках вала 3; при этом на внешних концах рычагов закреплены грузы 34, 35, а внутренние концы соединены с подпружиненным пружинами 36, 37 центральным телом 38.
Регулятор давления газа 18 (Фиг.5) выполнен в виде редукционного обратного клапана и содержит корпус 41, седло 42 и подпружиненный пружиной 43 запирающий элемент 44.
Пневмопривод совместно с управляемым объектом 14 размещен в корпусе 45, снабженным выходным каналом 46.
Пневматический привод работает следующим образом.
При подаче сжатого газа от источника питания 12 газ через дроссель 17 поступает на регулятор давления газа 15, где его давление снижается до рабочего давления р3 и далее газ через входной патрубок 10 поступает в осевой канал вала 3 ротора 4 и, вытекая через сопла 8, 9, создает реактивную силу и движущий момент на валу 3 двигателя. В результате ротор и вал двигателя начинает вращаться и передает это вращение на входной вал регулируемого объекта 45.
При увеличении скорости вращения выше заданной под действием центробежной силы запирающий элемент 24 (Фиг.3) сжимает пружину 23 и открывает проход для сброса газа, что приводит к уменьшению расхода газа, движущего момента и скорости вращения вала до требуемой величины. При уменьшении скорости вращения ниже заданной запирающий элемент 24 под действием пружин 23 прикрывает отверстие сброса газа, что приводит к повышению скорости вращения вала до заданной величины.
Во втором варианте регулятора расхода газа в ротор (Фиг.4) при увеличении скорости вращения выше заданной, рычаги 26, 28 под действием центробежной силы расходятся и, поворачиваясь вокруг осей, перемещают центральное тело 38, прикрывая проходное сечение, через которое протекает газ, тем самым уменьшая расход газа в ротор и скорость вращения до требуемой величины. При уменьшении скорости вращения ниже заданной рычаги 26, 28 и пружины 36 сходятся, а проходное сечение для прохода газа увеличивается, что приводит к росту скорости до заданной величины.
Источники информации
1. Пневматические приводы летательных аппаратов. /Под общей редакцией д.т.н. В.В.Саяпина. Москва. «Машиностроение». 1997 г. Стр.178.
2. М.С.Мовнин и др. Основы технической механики. Ленинград, «Судостроение». 1970 г. Стр.558.
Формула изобретения
1. Пневматический привод, содержащий пневматический двигатель, включающий в себя корпус с подшипниками, в которых на валу установлен ротор, отличающийся тем, что двигатель выполнен в виде нереверсивного струйного двигателя, содержащего вал с осевым каналом, на котором перпендикулярно оси вала установлены трубки с соплами на внешних концах, а внутренние концы трубок соединены с осевым каналом вала, при этом в корпусе двигателя установлен соосно валу подводящий патрубок, причем входной конец патрубка соединен с источником питания привода, а выходной – с осевым каналом вала, при этом на валу ротора установлен центробежный регулятор расхода газа в ротор.
2. Привод по п.1, отличающийся тем, что регулятор расхода газа в ротор выполнен в виде сбросного клапана, содержащего подпружиненный запирающий элемент.
3. Привод по п.1, отличающийся тем, что регулятор расхода газа в ротор выполнен в виде регулятора изменения проходного сечения внутри осевого канала вала ротора.
4. Привод по п.1, отличающийся тем, что на входе в ротор установлен регулятор давления газа.
5. Привод по п.1, отличающийся тем, что регулятор давления газа выполнен в виде подпружиненного обратного клапана.
6. Привод по п.1, отличающийся тем, что на входе в регулятор давления установлен дроссель.
7. Привод по п.1, отличающийся тем, что он размещен в корпусе совместно с регулируемым объектом.
РИСУНКИ
|