|
|
(21), (22) Заявка: 2005122632/06, 19.07.2005
(24) Дата начала отсчета срока действия патента:
19.07.2005
(46) Опубликовано: 20.03.2007
(56) Список документов, цитированных в отчете о поиске:
Теория автоматического управления силовыми установками летательных аппаратов. Под ред. д-ра техн. наук проф. А.А.ШЕВЯКОВА. – М.: Машиностроение, 1976, с.102-104. US 3852958 A (GEN ELECTRIC), 10.12.1974. SU 229883A (ПИСЬМЕННЫЙ И.Л. и др.), 23.01.1986. SU 1783170 А (ХАИ), 23.12.1992. SU 522344A (п/я А-7626), 25.07.1976. DE 3805119 A1,
Адрес для переписки:
111116, Москва, ул. Авиамоторная, 2, ФГУП “ЦИАМ им. П.И. Баранова”, отдел интеллектуальной собственности
|
(72) Автор(ы):
Близнюков Леонид Георгиевич (RU), Жигунов Михаил Михайлович (RU), Кессельман Михаил Григорьевич (RU), Дудкин Юрий Петрович (RU), Фомин Геннадий Викторович (RU), Черемных Александр Валерьевич (RU)
(73) Патентообладатель(и):
Федеральное государственное унитарное предприятие “Центральный институт авиационного моторостроения им. П.И. Баранова” (RU)
|
(54) СПОСОБ ЗАЩИТЫ ГАЗОТУРБИННОГО ДВИГАТЕЛЯ И УСТРОЙСТВО ДЛЯ ЕГО ОСУЩЕСТВЛЕНИЯ (ВАРИАНТЫ)
(57) Реферат:
Изобретение относится к области газотурбинных двигателей. Технический результат – повышение эффективности системы защиты турбореактивного двигателя при потере газодинамической устойчивости достигается за счет селективного управления исполнительными органами двигателя в зависимости от типа потери газодинамической устойчивости. Измеряют давление за последней ступенью компрессора газотурбинного двигателя и преобразуют полученный аналоговый сигнал в реальном времени в электрический сигнал, соответствующий величине отношения амплитуды колебаний текущего давления к его среднему значению. Электрический сигнал последовательно сравнивают с предварительно заданными собственным критерием для типа потери устойчивости в виде диапазона частот контролируемого параметра и пороговой величиной срабатывания в виде предельного значения отношения амплитуды колебаний давления к среднему значению, а полученные по результату сравнения сигналы наличия срывного режима, подают на исполнительные механизмы двигателя в соответствии с типом потери устойчивости для парирования до выхода двигателя из срывного режима. В качестве типов потери устойчивости используют “помпаж”, “вращающийся срыв” и совокупность “помпаж – вращающийся срыв”. Сигналы подают при “помпаже” на органы механизации компрессора, при “вращающемся срыве” одновременно на систему регулирования расхода топлива двигателя и органы механизации компрессора, при совокупности “помпаж – вращающийся срыв” вначале подают сигнал на органы механизации компрессора, а затем на систему регулирования расхода топлива. 3 н. и 4 з.п. ф-лы, 7 ил.
(56) (продолжение):
CLASS=”b560m”(GUTEHOFFNUNGSHUETTE MAN), 31.08.1989. EP 0398436 A1 (ELLIOTT TURBO), 22.11.1990.
Изобретение относится к области газотурбинных двигателей, а точнее касается защиты газотурбинного, преимущественно авиационного, двигателя, содержащего компрессор, при потере газодинамической устойчивости.
Известен сигнализатор помпажа, содержащий датчик давления с логарифмической выходной характеристикой, две RC-цепочки с различными постоянными времени для регистрации разности сигналов датчика до и после помпажа (авт.св. СССР №522344, МКИ F 04 D 27/02, опубл. 1976 г.).
Известен способ сигнализации о возникновении помпажного режима компрессора, например, турбореактивного двигателя, путем измерения давления воздуха за компрессором, при котором определяют отношение между изменением давления воздуха при срыве к давлению воздуха за компрессором до срыва и подают этот импульс на указатель помпажа, только с частотой, соответствующей началу срыва (авт.св. СССР 229883, МКИ F 04 D 27/02, опубл. 1986 г.).
Для реализации способа сигнал с датчика давления, пропорциональный текущей величине давления, поступает на устройство выработки относительной величины изменения давления при срыве, выходной сигнал которого поступает на вход фильтра, усилитель и реле. На установившихся режимах сигнал на выходе фильтра отсутствует. При срыве скорость изменения давления лежит в полосе пропускания фильтра и на вход в усилитель проходит сигнал, который затем поступает на реле. При превышении сигналом на выходе усилителя порогового значения реле срабатывает и выдает сигнал в систему аварийной сигнализации или аварийной защиты двигателя при срыве.
Известен способ защиты компрессора от неустойчивых режимов работы (авт.св. СССР №1783170, МКИ F 04 D 27/02, опубл. 1992 г.). Известный способ может быть использован для регулирования режима работы газотурбинного двигателя. Согласно известному способу измеряют разность давления газа в двух точках лопатки компрессора, сравнивают с первой пороговой величиной и, при превышении измеренной разности первой пороговой величины, формируют сигнал наличия предсрывного режима, а также определяют значение производной по времени от измеренной разности давления газа, сравнивают значение производной со второй пороговой величиной и, при превышении значением производной второй пороговой величины, формируют сигнал наличия предсрывного режима. Точки замера разности давления газа устанавливают на спинке и корытце лопатки.
Схема реализации предлагаемого способа содержит дифференциальный датчик давления, преобразующий величину разности давления в электрический сигнал, блок сравнения с первой пороговой величиной, на вход которого поступает электрический сигнал с выхода датчика давления, блок формирования производной по времени, на вход которого поступает электрический сигнал с выхода датчика давления, блок сравнения со второй пороговой величиной, на вход которого поступает сигнал с выхода блока формирования производной по времени, блок ИЛИ, на один вход которого поступает сигнал наличия предсрывного режима с выхода блока сравнения с первой пороговой величиной, а на другой вход которого поступает с выхода блок сравнения со второй пороговой величиной, а с выхода выводят сигнал наличия предсрывного режима на привод исполнительного механизма.
Известны также различные сигнализаторы, реагирующие на изменение различных контролируемых параметров.
Характерным параметром для помпажных явлений служит резкое падение давления воздуха за компрессором и по тракту двигателя вначале помпажа, повторяющееся при каждом импульсе помпажных колебаний, что может служить признаком помпажных процессов.
Известны сигнализаторы, реагирующие на изменение давления за компрессором.
Известна система для газотурбинных двигателей сверхзвуковых самолетов (патент США, №3852958), которая измеряет давление на выходе компрессора, дифференцирует полученный сигнал и сравнивает текущую скорость изменения давления с максимально допустимой скоростью. Когда текущее значение скорости уменьшения давления превосходит заданный уровень, то текущее значение интегрируется и сигнал на выходе интергатора сравнивается с заданным значением изменения давления. Если это задание превзойдено, то система уменьшает подачу топлива (И.Л.Письменный. Многочастотные нелинейные колебания в газотурбинном двигателе. М.: Машиностроение, 1987 г., стр.91).
Известна система защиты авиационного газотурбинного двигателя от помпажа (Теория автоматического управления силовыми установками летательных аппаратов, под ред. д-ра техн. наук, проф. А.А.Шевякова, Москва: Машиностроение, 1976 г., стр.102-104).
Система содержит датчик, на вход которого поступает контролируемый параметр, сигнализатор срыва компрессора, на вход которого поступает сигнал с выхода датчика, блок формирования командных сигналов, на один вход которого поступает сигнал с выхода сигнализатора срыва компрессора, а на два других – сигнал принудительного включения системы с целью кратковременного увеличения запасов устойчивости и сигналы, характеризующие условия работы двигателя (высота и скорость полета), и систему регулирования двигателя, на вход которой поступают: команда на изменение подачи топлива, команда на изменение положения органов механизации двигателя, команда на включение системы зажигания, которые поступают с выхода блока формирования командных сигналов.
Известная система осуществляет способ защиты двигателя, содержащего компрессор, при потере газодинамической устойчивости, включающий автоматическое обнаружение возникшего срывного явления в компрессоре, формирование необходимых командных сигналов для исполнительных органов, осуществляющих парирование возмущения, ликвидацию срывного явления и восстановление режима работы двигателя.
Известные технические решения используют для защиты газотурбинного двигателя при потере газодинамической устойчивости независимо от ее вида одновременно максимальные воздействия, изменяя положения органов механизации компрессора и подачу топлива в камеру сгорания, что ведет к значительным потерям импульса тяги газотурбинного двигателя, существенному снижению частоты вращения роторов двигателя и достаточно длительному восстановлению исходного режима.
Задачей предлагаемого изобретения является снижение потери импульса тяги, связанное с работой системы защиты при потере газодинамической устойчивости и повышение надежности работы газотурбинного двигателя.
Технический результат – повышение эффективности системы защиты газотурбинного двигателя при потере газодинамической устойчивости, достигается за счет селективного (выборочного) управления исполнительными органами двигателя в зависимости от типа потери газодинамической устойчивости.
Важной составляющей для решения поставленной задачи является обеспечение надежного сигнала о потере газодинамической устойчивости в течение всего срывного процесса.
Известно, что потеря газодинамической устойчивости может быть различных видов (Теория автоматического управления силовыми установками летательных аппаратов, под ред. д-ра техн. наук, проф. А.А.Шевякова, Москва: Машиностроение, 1976 г., стр.102-104).
На определенных режимах работы газотурбинных двигателей нарушается устойчивость течения и возникает продольная неустойчивость течения в целом во всей газодинамической системе. Она может проявляться в виде циклических низкочастотных колебаний потока по всему тракту двигателя, которые принято называть “помпажом”, и в виде апериодического процесса, который сопровождается высокочастотными колебаниями, связанными с наличием вращающейся срывной зоны в проточной части компрессора, течение же на некотором расстоянии от компрессора является практически стационарным. Этот вид газодинамической неустойчивости принято называть “вращающимся срывом”.
Авторами установлено, что такие известные виды потери устойчивости как “помпаж” и “вращающийся срыв” имеют различные диапазоны частот колебаний и величины относительных колебаний контролируемого параметра (давления за компрессором), что позволяет осуществлять раздельную регистрацию этих видов потери газодинамической устойчивости и управление соответствующими исполнительными механизмами двигателя в зависимости от типа потери газодинамической устойчивости.
Под величиной относительных колебаний давления за компрессором понимается отношение амплитуды Р колебаний давления за компрессором к среднему значению давления Р (что далее поясняется фиг.1б).
Поставленная задача решается тем, что в способе защиты газотурбинного двигателя, содержащего компрессор, при потере газодинамической устойчивости, при котором измеряют параметр, реагирующий на потерю газодинамической устойчивости работы двигателя, сравнивают с пороговой величиной и, по результату сравнения, формируют сигнал наличия срывного режима, который подают на исполнительные механизмы двигателя, в качестве параметра, реагирующего на потерю газодинамической устойчивости работы двигателя, измеряют давление за последней ступенью компрессора, преобразуют полученный аналоговый сигнал в реальном времени в электрический сигнал, соответствующий величине отношения амплитуды колебаний текущего давления к его среднему значению, и используют полученный сигнал в качестве контролируемого параметра для контроля газодинамической устойчивости двигателя соответственно типу потери газодинамической устойчивостью с образованием самостоятельного канала для контроля каждого типа потери устойчивости, при этом параллельно в каждом канале текущий электрический сигнал последовательно сравнивают с предварительно заданными собственным критерием для типа потери устойчивости в виде диапазона частот контролируемого параметра и пороговой величиной срабатывания в виде предельного значения отношения амплитуды колебаний давления к среднему значению, а, полученные по результату сравнения, сигналы наличия срывного режима, подают на исполнительные механизмы двигателя в соответствии с типом потери устойчивости для парирования до выхода двигателя из срывного режима.
Целесообразно, чтобы в качестве типов потери устойчивости использовали бы “помпаж”, “вращающийся срыв” и совокупность “помпаж – вращающийся срыв” и подавали сигналы при “помпаже” на органы механизации компрессора, при “вращающемся срыве” одновременно на систему регулирования расхода топлива двигателя и органы механизации компрессора, при совокупности “помпаж – вращающийся срыв” вначале подавали сигнал на органы механизации компрессора, а затем – на систему регулирования расхода топлива.
Также целесообразно, чтобы интервал частот критерия потери устойчивости типа “помпаж” составлял бы от 8 до 30 Гц, а интервал частот критерия потери устойчивости типа “вращающийся срыв” составлял бы от 8 до 120 Гц.
Поставленная задача решается также тем, что в устройстве защиты газотурбинного двигателя, содержащего компрессор, при потере газодинамической устойчивости, содержащем систему регулирования работы двигателя, вход которой подсоединен к выходу датчика давления, а выход связан с исполнительными механизмами двигателя, система регулирования работы двигателя содержит блок формирования электрического сигнала величины отношения амплитуды колебаний текущего давления к его среднему значению в реальном времени, вход которого подсоединен к выходу датчика давления и является входом в систему регулирования, схему выделения сигнала “помпаж” путем сравнения сформированного электрического сигнала с заданным диапазоном частот потери устойчивости типа “помпаж”, схему выделения сигнала “вращающейся срыв” путем сравнения сформированного электрического сигнала с заданным диапазоном частот потери устойчивости типа “вращающейся срыв”, при этом входы обеих схем выделения параллельно соединены с выходом блока формирования, схему сравнения сигнала “помпаж” с пороговой величиной срабатывания в виде предельного значения отношения амплитуды колебаний давления к среднему значению при “помпаже”, вход которой соединен с выходом схемы выделения сигнала “помпаж”, а с выхода выводят сигнал наличия срывного режима “помпаж”, схему сравнения сигнала “вращающийся срыв” с пороговой величиной срабатывания в виде предельного значения отношения амплитуды колебаний давления к среднему значению при “вращающемся срыве”, вход которой соединен с выходом схемы выделения сигнала “вращающийся срыв”, а с выхода выводят сигнал наличия срывного режима “вращающийся срыв”, схему соединения, входы которой связаны с соответствующими выходами обеих схем сравнения, а выходы связаны с исполнительными механизмами для формирования сигнала воздействия для защиты двигателя соответственно типу потери устойчивости, при этом в схеме соединения выход схемы сравнения сигнала “вращающийся срыв” соединен с исполнительным механизмом системы подачи топлива и с исполнительным механизмом органов механизации компрессора через диодную развязку, обеспечивающую срабатывание исполнительных механизмов одновременно, а выход схемы сравнения сигнала “помпаж” соединен с исполнительным механизмом органов механизации компрессора через другую диодную развязку, обеспечивающую его собственное срабатывание.
Целесообразно, чтобы вход системы регулирования работы двигателя был бы подсоединен к датчику давления, который был бы установлен за последней ступенью компрессора.
Поставленная задача решается также тем, что в устройстве защиты газотурбинного двигателя, содержащего компрессор, при потере газодинамической устойчивости, содержащем систему регулирования работы двигателя, вход которой подсоединен к выходу датчика давления, а выход связан с исполнительными механизмами двигателя, система регулирования работы двигателя содержит блок формирования электрического сигнала величины отношения амплитуды колебаний текущего давления к его среднему значению в реальном времени, вход которого подсоединен к выходу датчика давления и является входом в систему регулирования, схему выделения сигнала “помпаж” путем сравнения сформированного электрического сигнала с заданным диапазоном частот потери устойчивости типа “помпаж”, схему выделения сигнала “вращающейся срыв” путем сравнения сформированного электрического сигнала с заданным диапазоном частот потери устойчивости типа “вращающейся срыв”, при этом входы обеих схем выделения параллельно соединены с выходом блока формирования, схему сравнения сигнала “помпаж” с пороговой величиной срабатывания в виде предельного значения отношения амплитуды колебаний давления к среднему значению при “помпаже”, вход которой соединен с выходом схемы выделения сигнала “помпаж”, а с выхода выводят сигнал наличия срывного режима “помпаж”, схему сравнения сигнала “вращающийся срыв” с пороговой величиной срабатывания в виде предельного значения отношения амплитуды колебаний давления к среднему значению при “вращающемся срыве”, вход которой соединен с выходом схемы выделения сигнала “вращающийся срыв”, а с выхода выводят сигнал наличия срывного режима “вращающийся срыв”, схему соединения, входы которой связаны с соответствующими выходами обеих схем сравнения, а выходы связаны с исполнительными механизмами для формирования сигнала воздействия для защиты двигателя соответственно типу потери устойчивости, при этом в схеме соединения выход схемы сравнения сигнала “вращающийся срыв” соединен с исполнительным механизмом системы подачи топлива и с исполнительным механизмом органов механизации компрессора через диодную развязку, обеспечивающую срабатывание исполнительных механизмов одновременно, а выход схемы сравнения сигнала “помпаж” соединен с исполнительным механизмом системы механизации компрессора через другую диодную развязку, обеспечивающую его собственное срабатывание, при этом схема соединения дополнительно содержит элемент НЕ, который подключен к выходу схемы сравнения сигнала “помпаж”, и элемент И, который одним входом подключен к выходу элемента НЕ, другим входом – к выходу схемы сравнения сигнала “вращающийся срыв”, а выходом одновременно связан с исполнительными механизмами системы подачи топлива и органов механизации компрессора.
Целесообразно, чтобы вход системы регулирования работы двигателя был бы подсоединен к датчику давления, который был бы установлен за последней ступенью компрессора.
В дальнейшем предлагаемое изобретение поясняется описанием и чертежами.
Краткое описание чертежей.
На фиг.1а представлен вид колебаний давления за последней ступенью компрессора и воздействий на исполнительный механизм газотурбинного двигателя при потере газодинамической устойчивости типа “помпаж”, согласно изобретению.
Фиг.1б иллюстрирует колебания давления за компрессором Рк, амплитуду Р колебаний и среднее значение давления Р.
На фиг.2 представлен вид колебаний давления за последней ступенью компрессора и воздействий на исполнительные механизмы газотурбинного двигателя при потере газодинамической устойчивости типа “вращающийся срыв”, согласно изобретению.
На фиг.3 представлен вид колебаний давления за последней ступенью компрессора и воздействий на исполнительные механизмы газотурбинного двигателя при потере газодинамической устойчивости типа “помпаж-вращающийся срыв”, согласно изобретению.
На фиг.4 представлен вид критерия потери газодинамической устойчивости типа “помпаж”, реализуемый согласно изобретению.
На фиг.5 представлен вид критерия потери газодинамической устойчивости типа “вращающийся срыв”, реализуемый согласно изобретению.
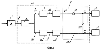
На фиг.6 представлена принципиальная схема устройства для защиты газотурбинного двигателя при потере газодинамической устойчивости.
На фиг.7 представлена принципиальная схема устройства для защиты газотурбинного двигателя при потере газодинамической устойчивости (вариант).
В качестве типов потери устойчивости используют основные, базовые типы потери устойчивости: “помпаж”, “вращающийся срыв”.
Способ защиты газотурбинного двигателя, содержащего компрессор, при потере газодинамической устойчивости, осуществляют следующим образом.
Измеряют давление Рк за последней ступенью компрессора газотурбинного двигателя. Давление Рк может быть измерено статическое или полное.
При потере газодинамической устойчивости двигателя возникают колебания Рк (фиг.1…3)
Вид колебаний Рк при потере газодинамической устойчивости типа “помпаж” и “вращающийся срыв” приведены на фиг.1а и фиг.2 соответственно. Вид колебаний Рк при совокупности “помпаж-вращающийся срыв” приведен на фиг.3. Имеет место потеря газодинамической устойчивости типа “помпаж”, в момент времени t1-t2 (фиг.1a), “вращающийся срыв” (фиг.2) в момент времени t3-t4 или совокупность “помпаж-вращающийся срыв” (фиг.3), при которой потеря устойчивости типа “помпаж” в момент времени (t2t3) перешла в потерю устойчивости типа “вращающийся срыв”. Как видно, потери устойчивости “помпаж” и “вращающийся срыв” имеют колебания Рк различного характера по амплитуде и частоте колебаний, что позволяет использовать Рк в качестве параметра, реагирующего на потерю газодинамической устойчивости работы двигателя.
Полученный аналоговый сигнал Рк в реальном времени преобразуют в электрический сигнал, соответствующий величине отношения Р/Р, где Р – амплитуда колебаний текущего измеренного давления Рк, Р – среднее значение давления в колебательном процессе при потере газодинамической устойчивости (фиг.1б).
Кроме того, установлено, что электрический сигнал, соответствующий Р/Р, при потере газодинамической устойчивости типа “помпаж” лежит в полосе частот так, как это изображено на фиг.4, при потере газодинамической устойчивости типа “вращающийся срыв” так, как это изображено на фиг.5.
Как видно из фиг.1…5, величина Р/Р при потере устойчивости типа “помпаж” и типа “вращающийся срыв” имеет различные значения и различные собственные частотные характеристики колебаний. Поэтому текущий электрический сигнал, соответствующий Р/Р в реальном времени, используют в качестве контролируемого параметра для контроля газодинамической устойчивости двигателя соответственно типу потери газодинамической устойчивости и сравнивают его в реальном времени параллельно с предварительно заданным критерием в виде интервала частот f1-f2 для потери устойчивости типа “помпаж” (фиг.4) и предварительно заданным критерием в виде интервала частот f3-f4 для потери устойчивости типа “вращающийся срыв” (фиг.5).
Выделенные сигналы “помпаж” и/или “вращающийся срыв” сравнивают с заданной пороговой величиной срабатывания в виде предельного отношения амплитуды колебаний давления к среднему значению ( Р/Р)п при “помпаже” и ( Р/Р)вс при “вращающемся срыве” соответственно.
Интервал частот критерия потери устойчивости типа “помпаж” составляет от 8 до 30 Гц.
Интервал частот критерия потери устойчивости типа “вращающийся срыв” составляет от 8 до 120 Гц.
Полученные по результату сравнения сигналы наличия срывного режима “помпаж” и/или “вращающийся срыв” подают на исполнительные механизмы двигателя в соответствии с типом потери устойчивости для парирования до выхода двигателя из срывного режима так, как показано на фиг.1а, 2, 3. Точки 1…4 на фиг.1а, 2, 3 соответствуют далее точкам … на схеме фиг.6 и фиг.7.
Сигнал наличия срывного режима “помпаж” подают на органы механизации компрессора 1, например, поворота лопаток компрессора, с момента времени t1 до момента времени t2, (фиг.1a), сигнал наличия срывного режима “вращающийся срыв” подают одновременно на органы механизации компрессора 1 и на систему регулирования расхода топлива 2 с момента времени t3 до момента времени t4. (фиг.2), при получении совокупного сигнала “помпаж” – “вращающийся срыв” вначале подают сигналы на органы механизации компрессора 1 с момента времени t1 до момента времени t4, и затем, в момент времени (t2t3) до момента времени t4, на систему регулирования расхода топлива 3.
Способ защиты работы газотурбинного двигателя при потере газодинамической устойчивости реализуется с помощью устройств (варианты), согласно изобретению.
Устройство для защиты газотурбинного двигателя при потере газодинамической устойчивости (фиг.6 и фиг.7) содержит датчик 1 давления, который установлен за последней ступенью компрессора, и систему 2 регулирования работы двигателя, входом подсоединенную к выходу датчика 1, с которого поступает аналоговый сигнал 3, а выходом связанную с исполнительными механизмами двигателя. Исполнительными механизмами двигателя могут быть органы механизации компрессора 4, например, для поворота лопаток компрессора, и органы системы регулирования расхода топлива 5. Могут быть и другие исполнительные механизмы (на чертеже не показаны).
Система 2 регулирования содержит блок 6 формирования электрического сигнала величины отношения амплитуды колебаний текущего давления к среднему значению в реальном времени, вход которого подсоединен к выходу датчика 1 и является входом в систему 2 регулирования, схему 9 выделения сигнала “помпаж” путем сравнения сформированного электрического сигнала 7 с заданным диапазоном частот потери устойчивости типа “помпаж”, схему 10 выделения сигнала “вращающийся срыв” путем сравнения сформированного электрического сигнала 8 с заданным диапазоном частот потери устойчивости типа “вращающийся срыв”, при этом входы обеих схем выделения 9 и 10 параллельно соединены с выходом блока 6 формирования, схему 11 сравнения сигнала “помпаж” с пороговой величиной срабатывания в виде предельного значения отношения амплитуды колебаний текущего давления к среднему значению давления при “помпаже”, вход 12 которой соединен с выходом схемы 9 выделения сигнала “помпаж”, а с выхода выводят сигнал 13 наличия срывного режима “помпаж”, схему 14 сравнения сигнала “вращающийся срыв” с пороговой величиной срабатывания в виде предельного значения отношения амплитуды колебаний текущего давления к среднему значению давления при “вращающемся срыве”, вход 15 которой соединен с выходом схемы 10 выделения сигнала “вращающийся срыв”, а с выхода выводят сигнал 16 наличия срывного режима “вращающийся срыв”.
Система 2 регулирования содержит схему 17 соединения, входы которой связаны с соответствующими выходами обеих схем 11 и 14 сравнения, а выходы связаны с исполнительными механизмами 4 и 5 для формирования сигнала воздействия для защиты двигателя соответственно типу потери устойчивости.
Схема 17 соединяет выход схемы 11 сравнения сигнала “помпаж” через диодную развязку 19 с органами механизации компрессора 4, а выход схемы 14 сравнения сигнала “вращающийся срыв” через диодную развязку 18 с органами механизации компрессора 4 и системы регулирования расхода топлива 5, соответственно.
В варианте выполнения устройства (фиг.7) схема 17 соединения дополнительно содержит элемент НЕ, который подключен к выходу схемы 11 сравнения сигнала “помпаж”, и элемент И, который одним входом подключен к выходу элемента НЕ, другим входом – к выходу сравнения сигнала “вращающийся срыв”, а выходом одновременно связан с исполнительными механизмами системы подачи топлива 5 и органов механизации компрессора 4.
Система 2 регулирования работы двигателя может быть изготовлена на известных схемных решениях. Схема 11 сравнения сигнала “помпаж” может быть выполнена на основе узкополосного частотного фильтра, а схема 14 сравнения сигнала “вращающийся срыв” на основе широкополосного частотного фильтра.
При работе устройство реализует способ, согласно изобретению.
На вход блока 6 формирования непрерывно поступает аналоговый сигнал 3 с выхода датчика давления 1, преобразуется в реальном времени в электрический сигнал, соответствующий величине отношения амплитуды колебаний текущего давления к его среднему значению, который поступает параллельно на вход схемы 9 выделения сигнала “помпаж” и на вход схемы 10 выделения сигнала “вращающийся срыв”. При совпадении с заданным собственным диапазоном частот потери устойчивости типа “помпаж” или “вращающийся срыв” на выходе схем 9 и/или 10 появляется сигнал(ы), поступающие на входы соответствующих схем 11 и 14, где они сравниваются с соответствующей заданной пороговой величиной срабатывания. В случае превышения пороговой величины, на выходе формируется сигнал 13 наличия срывного режима типа “помпаж” и/или сигнал 16 наличия срывного режима типа “вращающийся срыв”. Сигнал 13 подается в момент времени t1 через диодную развязку 19 на органы механизации компрессора 4 (фиг.6) и на вход элемента НЕ (фиг.7). В точке появляется сигнал постоянного тока, который сохраняется до выхода двигателя из срывного режима “помпаж” в течение времени t1-t2 (фиг.1a). Сигнал 16 в момент времени t3 подается одновременно через диодную развязку 18 (фиг.6) и элемент И (фиг.7) на систему регулирования расхода топлива 5 и на органы механизации компрессора 4. В точке появляется сигнал постоянного тока, который сохраняется до выхода двигателя из срывного режима “вращающийся срыв” в течение времени t3-t4 (фиг.2).
В случае совокупности “помпаж-вращающийся срыв”, (фиг.3) формируется сигнал 13 и затем сигнал 16. Сигнал 13 подается в момент времени t1 через диодную развязку 19 на органы механизации компрессора 4 (фиг.6) и на вход элемента НЕ (фиг.7). Сигнал 16 в момент времени t3 подается через диодную развязку 18 (фиг.6) и элемент И (фиг.7) на систему регулирования расхода топлива 5 на время t3-t4 и на органы механизации компрессора 4. В точке сохраняется сигнал постоянного тока до выхода двигателя из срывного режима “помпаж-вращающийся срыв” в течение времени t1-t4 (фиг.3), в точке – в течении времени t3-t4.
В первом случае (фиг.1а) при возникновении помпажных колебаний подключается только механизация компрессора.
Во втором случае (фиг.2), когда режим “вращающийся срыв” реализуется сразу, совместно одновременно используется механизация компрессора и сброс расхода топлива.
В третьем случае (фиг.3), когда после циклов помпажа происходит переход во вращающийся срыв, дополнительно к механизации компрессора задействуется сброс расхода топлива.
При использовании изобретения время ликвидации срывного режима “помпаж” сокращается на 20-30%, время ликвидации срывного режима “вращающийся срыв” сокращается на 30-50%, а совокупности “помпаж-вращающийся срыв” – на 15-20%. Потери импульса тяги коррелируются с временем нахождения двигателя в срывном режиме и снижаются в том же процентном отношении.
Формула изобретения
1. Способ защиты газотурбинного двигателя, содержащего компрессор, при потере газодинамической устойчивости, при котором измеряют параметр, реагирующий на потерю газодинамической устойчивости работы двигателя, сравнивают с пороговой величиной и по результату сравнения формируют сигнал наличия срывного режима, который подают на исполнительные механизмы двигателя, отличающийся тем, что в качестве параметра, реагирующего на потерю газодинамической устойчивости работы двигателя, измеряют давление за последней ступенью компрессора, преобразуют полученный аналоговый сигнал в реальном времени в электрический сигнал, соответствующий величине отношения амплитуды колебаний текущего давления к его среднему значению, и используют полученный сигнал в качестве контролируемого параметра для контроля газодинамической устойчивости двигателя соответственно типу потери газодинамической устойчивости с образованием самостоятельного канала для контроля каждого типа потери устойчивости, при этом параллельно в каждом канале текущий электрический сигнал последовательно сравнивают с предварительно заданными собственным критерием для типа потери устойчивости в виде диапазона частот контролируемого параметра и пороговой величиной срабатывания в виде предельного значения отношения амплитуды колебаний давления к среднему значению, а полученные по результату сравнения сигналы наличия срывного режима подают на исполнительные механизмы двигателя в соответствии с типом потери устойчивости для парирования до выхода двигателя из срывного режима.
2. Способ по п.1, отличающийся тем, что в качестве типов потери устойчивости используют “помпаж”, “вращающийся срыв” и совокупность “помпаж – вращающийся срыв” и подают сигналы при “помпаже” на органы механизации компрессора, при “вращающемся срыве” одновременно на систему регулирования расхода топлива двигателя и органы механизации компрессора, при совокупности “помпаж – вращающийся срыв” вначале подают сигнал на органы механизации компрессора, а затем на систему регулирования расхода топлива.
3. Способ по п.1 или 2, отличающийся тем, что интервал частот критерия потери устойчивости типа “помпаж” составляет от 8 до 30 Гц, а интервал частот критерия потери устойчивости типа “вращающийся срыв” составляет от 8 до 120 Гц.
4. Устройство защиты газотурбинного двигателя, содержащего компрессор, при потере газодинамической устойчивости, содержащее систему регулирования работы двигателя, вход которой подсоединен к выходу датчика давления, а выход связан с исполнительными механизмами двигателя, отличающееся тем, что система регулирования работы двигателя содержит блок формирования электрического сигнала величины отношения амплитуды колебаний текущего давления к его среднему значению в реальном времени, вход которого подсоединен к выходу датчика давления и является входом в систему регулирования, схему выделения сигнала “помпаж” путем сравнения сформированного электрического сигнала с заданным диапазоном частот потери устойчивости типа “помпаж”, схему выделения сигнала “вращающийся срыв” путем сравнения сформированного электрического сигнала с заданным диапазоном частот потери устойчивости типа “вращающийся срыв”, при этом входы обеих схем выделения параллельно соединены с выходом блока формирования, схему сравнения сигнала “помпаж” с пороговой величиной срабатывания в виде предельного значения отношения амплитуды колебаний давления к среднему значению при “помпаже”, вход которой соединен с выходом схемы выделения сигнала “помпаж”, а с выхода выводят сигнал наличия срывного режима “помпаж”, схему сравнения сигнала “вращающийся срыв” с пороговой величиной срабатывания в виде предельного значения отношения амплитуды колебаний давления к среднему значению при “вращающемся срыве”, вход которой соединен с выходом схемы выделения сигнала “вращающийся срыв”, а с выхода выводят сигнал наличия срывного режима “вращающийся срыв схему соединения, входы которой связаны с соответствующими выходами обеих схем сравнения, а выходы связаны с исполнительными механизмами для формирования сигнала воздействия для защиты двигателя соответственно типу потери устойчивости, при этом в схеме соединения выход схемы сравнения сигнала “вращающийся срыв” соединен с исполнительным механизмом системы подачи топлива и с исполнительным механизмом органов механизации компрессора через диодную развязку, обеспечивающую срабатывание исполнительных механизмов одновременно, а выход схемы сравнения сигнала “помпаж” соединен с исполнительным механизмом органов механизации компрессора через другую диодную развязку, обеспечивающую его собственное срабатывание.
5. Устройство по п.4, отличающееся тем, что вход системы регулирования работы двигателя подсоединен к датчику давления, который установлен за последней ступенью компрессора.
6. Устройство защиты газотурбинного двигателя, содержащего компрессор, при потере газодинамической устойчивости, содержащее систему регулирования работы двигателя, вход которой подсоединен к выходу датчика давления, а выход связан с исполнительными механизмами двигателя, отличающееся тем, что система регулирования работы двигателя содержит блок формирования электрического сигнала величины отношения амплитуды колебаний текущего давления к его среднему значению в реальном времени, вход которого подсоединен к выходу датчика давления и является входом в систему регулирования, схему выделения сигнала “помпаж” путем сравнения сформированного электрического сигнала с заданным диапазоном частот потери устойчивости типа “помпаж”, схему выделения сигнала “вращающейся срыв” путем сравнения сформированного электрического сигнала с заданным диапазоном частот потери устойчивости типа “вращающийся срыв”, при этом входы обеих схем выделения параллельно соединены с выходом блока формирования, схему сравнения сигнала “помпаж” с пороговой величиной срабатывания в виде предельного значения отношения амплитуды колебаний давления к среднему значению при “помпаже”, вход которой соединен с выходом схемы выделения сигнала “помпаж”, а с выхода выводят сигнал наличия срывного режима “помпаж”, схему сравнения сигнала “вращающийся срыв” с пороговой величиной срабатывания в виде предельного значения отношения амплитуды колебаний давления к среднему значению при “вращающемся срыве”, вход которой соединен с выходом схемы выделения сигнала “вращающийся срыв”, а с выхода выводят сигнал наличия срывного режима “вращающийся срыв”, схему соединения, входы которой связаны с соответствующими выходами обеих схем сравнения, а выходы связаны с исполнительными механизмами для формирования сигнала воздействия для защиты двигателя соответственно типу потери устойчивости, при этом в схеме соединения выход схемы сравнения сигнала “вращающийся срыв” соединен с исполнительным механизмом системы подачи топлива и с исполнительным механизмом органов механизации компрессора через диодную развязку, обеспечивающую срабатывание исполнительных механизмов одновременно, а выход схемы сравнения сигнала “помпаж” соединен с исполнительным механизмом органов механизации компрессора через другую диодную развязку, обеспечивающую его собственное срабатывание, при этом схема соединения дополнительно содержит элемент НЕ, который подключен к выходу схемы сравнения сигнала “помпаж”, и элемент И, который одним входом подключен к выходу элемента НЕ, другим входом – к выходу схемы сравнения сигнала “вращающийся срыв”, а выходом одновременно связан с исполнительными механизмами системы подачи топлива и органов механизации компрессора.
7. Устройство по п.6, отличающееся тем, что вход системы регулирования работы двигателя подсоединен к датчику давления, который установлен за последней ступенью компрессора.
РИСУНКИ
|
|