|
|
(21), (22) Заявка: 2005108762/06, 28.03.2005
(24) Дата начала отсчета срока действия патента:
28.03.2005
(43) Дата публикации заявки: 10.10.2006
(46) Опубликовано: 20.03.2007
(56) Список документов, цитированных в отчете о поиске:
RU 2199031 С2, 20.02.2003. SU 819409 A1, 07.04.1981. SU 800427 A1, 30.01.1981. RU 2061907 C1, 10.06.1996. RU 2166133 C1, 27.04.2001. FR 2138138 A, 29.12.1972. GB 2004947 A, 11.04.1979.
Адрес для переписки:
141070, Московская обл., г. Королев, ул. Ленина, 4а, ОАО “РКК “Энергия” им. С.П. Королева”, лаборатория промышленной собственности и инноватики
|
(72) Автор(ы):
Белоусов Николай Игоревич (RU)
(73) Патентообладатель(и):
Открытое акционерное общество “Ракетно-космическая корпорация “Энергия” им. С.П. Королева” (RU)
|
(54) ОСЕВОЙ ВЕНТИЛЯТОР
(57) Реферат:
Осевой вентилятор может быть использован в составе систем терморегулирования изделий космической техники. Техническим результатом, достигаемым с помощью заявленного изобретения, является снижение радиальных габаритов. Осевой вентилятор содержит корпус, внутри которого жестко закреплен спрямляющий аппарат с гильзой, снабженной с одного ее торца фланцем, и установленным неподвижно на другом ее торце кольцом, и жестко закрепленный в гильзе электродвигатель с рабочим колесом. Узлы фиксации выполнены съемными в виде аксиальных выступов, закрепленных на каждом из двух дисков, размещенных по обоим торцам корпуса, в каждом аксиальном выступе выполнено аксиальное отверстие, снабженное пояском с внутренней резьбой, в аксиальном отверстии размещен ввернутый в поясок винт с конической поверхностью на его торце, в каждом аксиальном выступе также выполнено пересекающееся с аксиальным отверстием радиальное отверстие, в котором по разные стороны от оси аксиального отверстия размещены два пальца, взаимодействующие одним из торцов с конической поверхностью винта, а вторым торцом – с внутренней цилиндрической поверхностью корпуса, и опорной поверхностью, радиальные отверстия в каждой группе аксиальных выступов, закрепленных на каждом из двух дисков, размещенных по обоим торцам корпуса, выполнены в количестве не менее трех, а аксиальные выступы размещены между лопастями. 3 ил.
Изобретение относится к вентиляторостроению и может быть использовано в составе систем терморегулирования изделий космической техники.
Известен осевой вентилятор, содержащий цилиндрический корпус с пилоном и установленный на пилоне через амортизатор башмак с фланцем, на котором размещен электродвигатель, а также рабочее колесо, установленное на его валу [1]. Недостатком этого осевого вентилятора является повышенный уровень шума, вызванный турбулизацией потока при обтекании пилона с башмаком, и низкий к.п.д., обусловленный отсутствием в конструкции спрямляющего аппарата.
Этих недостатков лишен осевой вентилятор, содержащий корпус, на внутренней цилиндрической поверхности которого жестко закреплен спрямляющий аппарат в виде втулки с лопатками, размещенную во втулке на амортизаторах гильзу, снабженную с одного ее торца фланцем и установленным неподвижно на другом ее торце кольцом, жестко закрепленный в гильзе электродвигатель со смонтированным на его валу рабочим колесом с лопастями и снабженные винтами узлы фиксации гильзы и кольца относительно корпуса [2], выбранный в качестве прототипа. Втулка спрямляющего аппарата размещена между фланцем и кольцом, а наружные цилиндрические поверхности фланца и кольца образуют опорную поверхность, в которую опираются винты узлов фиксации гильзы и кольца относительно корпуса.
Недостатком этого осевого вентилятора являются значительные радиальные габариты вентилятора, что обусловлено наличием радиальных выступов корпуса в местах размещения винтов узлов фиксации и значительной длины винтов в вывернутом состоянии – т.е. после выведения космического аппарата на орбиту и расфиксации опорной поверхности. Ограниченные объемы космического аппарата часто не позволяют разместить вентилятор таких габаритов. В то же время длительные сроки эксплуатации космических объектов, особенно орбитальных станций, требуют организации постоянного грузопотока вентиляторов в качестве доставляемого оборудования из-за выработки ресурса электродвигателя вентилятора и необходимости его замены. Таким образом, задача доставки на орбитальную станцию малошумных вентиляторов в качестве доставляемого оборудования является весьма актуальной.
Техническим результатом, достигаемым с помощью заявленного изобретения, является снижение радиальных габаритов осевого вентилятора.
Этот результат достигается за счет того, что в известном осевом вентиляторе, содержащем корпус, на внутренней цилиндрической поверхности которого жестко закреплен спрямляющий аппарат в виде втулки с лопатками, размещенную во втулке на амортизаторах гильзу, снабженную с одного ее торца фланцем и установленным неподвижно на другом ее торце кольцом, жестко закрепленный в гильзе электродвигатель со смонтированным на его валу рабочим колесом с лопастями и снабженные винтами узлы фиксации гильзы и кольца относительно корпуса, втулка спрямляющего аппарата размещена между фланцем и кольцом, а наружные цилиндрические поверхности фланца и кольца образуют опорную поверхность, согласно изобретению, узлы фиксации выполнены съемными в виде аксиальных выступов, закрепленных на каждом из двух дисков, размещенных по обоим торцам корпуса, аксиальные выступы размещены внутри внутренней цилиндрической поверхности корпуса, в каждом аксиальном выступе выполнено аксиальное отверстие, снабженное пояском с внутренней резьбой, в аксиальном отверстии размещен ввернутый в поясок винт с конической поверхностью на его торце, в каждом аксиальном выступе также выполнено пересекающееся с аксиальным отверстием радиальное отверстие, в котором по разные стороны от оси аксиального отверстия размещены два пальца, взаимодействующие одним из торцев с конической поверхностью винта, а вторым торцом пальца, максимально удаленного от оси вентилятора, – с внутренней цилиндрической поверхностью корпуса, и вторым торцом другого пальца – с опорной поверхностью, радиальные отверстия в каждой группе аксиальных выступов, закрепленных на каждом из двух дисков, размещенных по обоим торцам корпуса, выполнены в количестве не менее трех, а аксиальные выступы размещены между лопастями. Так как заявленная совокупность существенных признаков устройства позволяет получить указанный технический результат, то заявленное устройство соответствует критерию “изобретательский уровень”.
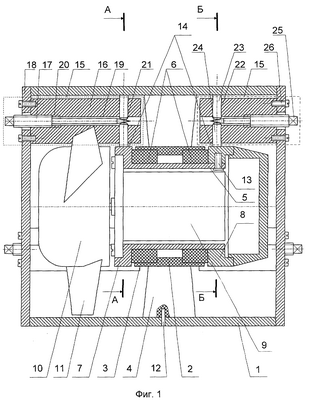
На фиг.1 приведен пример конкретного выполнения осевого вентилятора, продольный разрез, на фиг.2 – то же, поперечное сечение по А-А, на фиг.3 – то же, поперечное сечение по Б-Б (на фиг.2 и 3 электродвигатель условно не показан). На всех иллюстрациях вентилятор изображен в состоянии, в котором он транспортируется на космический объект.
Осевой вентилятор содержит корпус 1, на внутренней цилиндрической поверхности которого жестко закреплен спрямляющий аппарат 2 в виде втулки 3 с лопатками 4. Во втулке 3 размещена гильза 5 на кольцевых амортизаторах 6, снабженная с одного ее торца фланцем 7 и установленным неподвижно на другом ее торце кольцом 8. В гильзе 5 жестко закреплен электродвигатель 9 со смонтированным на его валу рабочим колесом 10 с лопастями 11. Спрямляющий аппарат 2 жестко закреплен на корпусе 1 посредством штифтов 12, установленных в отверстиях корпуса 1, и лопаток 4 спрямляющего аппарата 2. Кольцо 8 установлено на наружной поверхности гильзы 5 посредством крепежных винтов 13. Наружные цилиндрические поверхности фланца 7 и кольца 8 образуют опорную поверхность 14. Втулка 3 спрямляющего аппарата 2 размещена между фланцем 7 и кольцом 8. Вентилятор также содержит узлы фиксации 15 гильзы 5 и кольца 8 относительно корпуса 1. Каждый из узлов фиксации 15 выполнен съемным в виде аксиального выступа 16 и снабжен винтом 17. Узлы фиксации 15 закреплены на каждом из двух дисков 18, размещенных по обоим торцам корпуса 1, аксиальные выступы 16 размещены внутри внутренней цилиндрической поверхности корпуса 1. В каждом аксиальном выступе 16 выполнено аксиальное отверстие 19, снабженное пояском 20 с внутренней резьбой, в аксиальном отверстии 19 размещен ввернутый в поясок 20 винт 17 с конической поверхностью 21 на его торце. В каждом аксиальном выступе 16 также выполнено пересекающееся с аксиальным отверстием 19 радиальное отверстие 22, в котором по разные стороны от оси аксиального отверстия размещены два пальца 23 и 24, взаимодействующие одним из своих торцев с конической поверхностью 21 винта 17. Второй торец пальца 23, максимально удаленного от оси вентилятора, взаимодействует с внутренней цилиндрической поверхностью корпуса 1, а второй торец другого пальца 24 – с опорной поверхностью 14. Пальцы 24, размещенные в аксиальных выступах 16, находящихся с левого (на фиг.1) торца корпуса 1, взаимодействуют с участком опорной поверхности 14, находящимся на наружной поверхности фланца 7. Пальцы 24, размещенные в аксиальных выступах 16, находящихся с правого (на фиг.1) торца корпуса 1, взаимодействуют с участком опорной поверхности 14, находящимся на наружной поверхности кольца 8. Радиальные отверстия 22 в каждой группе аксиальных выступов 16, закрепленных на каждом из двух дисков 18, размещенных по обоим торцам корпуса 1, выполнены в количестве не менее трех. Аксиальные выступы 16 размещены между лопастями 11. На противоположном конической поверхности 21 торце винта 17 выполнен квадратный хвостовик 25. Аксиальные выступы 16 присоединены к дискам 18 посредством винтов 26. Угол между продольной осью винта 17 и образующими конической поверхности 21 выполнен меньшим угла трения для пары «коническая поверхность – поверхность пальца», чтобы избежать самопроизвольного отвинчивания винтов 17 под воздействием радиальных усилий от пальцев 23 и 24.
Осевой вентилятор работает следующим образом: при изготовлении вентилятора на заводе-изготовителе после проведения приемосдаточных испытаний (проводимых без установленных дисков 18 с узлами фиксации 15) производят установку этих дисков с присоединенными к ним узлами фиксации на торцы вентилятора и проводят затяжку винтов 17 через квадратные хвостовики 25 расчетным моментом затяжки. При этом пальцы 23 и 24 упираются одними своими торцами в коническую поверхность 21, а другими торцами – во внутреннюю цилиндрическую поверхность корпуса 1 (палец 23) и в опорную поверхность 14 (палец 24). Таким образом осуществляется жесткая связь корпуса 1 с гильзой 5 и кольцом 8 и разгрузка спрямляющего аппарата 2 от воздействий со стороны гильзы 5 и кольца 8. Неработающий вентилятор в таре доставляется на орбитальную станцию, где космонавт производит ослабление винтов 17 через квадратные хвостовики 25, доставленным вместе с вентилятором или имеющимся на борту инструментом, до тех пор, пока не исчезнет усилие, воздействующее через пальцы 23 и 24 на внутреннюю цилиндрическую поверхность корпуса 1 и опорную поверхность 14. Затем космонавт выдвигает диски 18 с закрепленными на них узлами фиксации 15 в осевом направлении и извлекает их из вентилятора. После этого вентилятор монтируется в его штатное место. После включения электродвигателя 9 начинает вращаться рабочее колесо 10, лопатки 11 которого создавют поток воздуха внутри корпуса 1. Лопатки 11 вращаются беспрепятственно, т.к. узлы фиксации 15 вместе с дисками 18 сняты с вентилятора. Лопатки 4 спрямляющего аппарата 2 преобразуют динамический напор потока воздуха в статический, повышая к.п.д. вентилятора. Вибрации от работающего электродвигателя 9 проходят через гильзу 5, к которой присоединен электродвигатель, гасятся амортизаторами 6 и не передаются на втулку 3 спрямляющего аппарата, за счет чего снижается уровень шума. Благодаря тому, что на участке выведения динамические нагрузки от электродвигателя не воздействуют на спрямляющий аппарат (они передаются через пальцы непосредственно на корпус), сечения его лопаток могут быть выполнены минимальными, полностью соответствующими расчетному профилю. Размещение пальцев 23 и 24 с разных сторон спрямляющего аппарата необходимо для обеспечения устойчивого равновесия гильзы с электродвигателем от колебаний относительно осей, перпендикулярных оси вентилятора. Наличие в каждой группе не менее чем трех отверстий позволяет обеспечить жесткую фиксацию фланца и кольца в радиальном направлении, т.к. при наличии лишь двух отверстий фиксация возможна только при противоположном расположении отверстий в каждой группе, при этом фиксация в направлении, перпендикулярном осям противоположных отверстий, осуществляется усилиями трения, касательными к торцам пальцев, и для получения расчетного усилия трения сила нормальной реакции пальца от контакта с фланцем или кольцом должна быть весьма значительной, что увеличивает напряжения в конструкции и габариты вентилятора. Очевидно также, что предпочтительным (но не обязательным) является равномерное расположение радиальных отверстий в угловом направлении в каждой группе, при котором радиальные усилия, воздействующие на пальцы, одинаковы и минимальны (при постоянном заданном расчетом усилием фиксации в радиальном направлении).
Полученные преимущества позволяют рекомендовать заявленное техническое решение для использования в изделиях космической техники, особенно в долговременных орбитальных станциях, где требования к уровню шума и радиальным габаритам вентилятора весьма жесткие.
Литература:
1. Авторское свидетельство СССР №800427 по кл. F 04 D 19/00, 1981 г.
2. Патент РФ №2199031 по кл. F 04 D 19/00, 2003 г. (прототип).
Формула изобретения
Осевой вентилятор, содержащий корпус, на внутренней цилиндрической поверхности которого жестко закреплен спрямляющий аппарат в виде втулки с лопатками, размещенную во втулке на амортизаторах гильзу, снабженную с одного ее торца фланцем и установленным неподвижно на другом ее торце кольцом, жестко закрепленный в гильзе электродвигатель со смонтированным на его валу рабочим колесом с лопастями, и снабженные винтами узлы фиксации гильзы и кольца относительно корпуса, втулка спрямляющего аппарата размещена между фланцем и кольцом, а наружные цилиндрические поверхности фланца и кольца образуют опорную поверхность, отличающийся тем, что узлы фиксации выполнены съемными в виде аксиальных выступов, закрепленных на каждом из двух дисков, размещенных по обоим торцам корпуса, аксиальные выступы размещены внутри внутренней цилиндрической поверхности корпуса, в каждом аксиальном выступе выполнено аксиальное отверстие, снабженное пояском с внутренней резьбой, в аксиальном отверстии размещен ввернутый в поясок винт с конической поверхностью на его торце, в каждом аксиальном выступе также выполнено пересекающееся с аксиальным отверстием радиальное отверстие, в котором по разные стороны от оси аксиального отверстия размещены два пальца, взаимодействующие одним из торцов с конической поверхностью винта, а вторым торцом пальца, максимально удаленного от оси вентилятора, – с внутренней цилиндрической поверхностью корпуса, и вторым торцом другого пальца – с опорной поверхностью, радиальные отверстия в каждой группе аксиальных выступов, закрепленных на каждом из двух дисков, размещенных по обоим торцам корпуса, выполнены в количестве не менее трех, а аксиальные выступы размещены между лопастями.
РИСУНКИ
|
|