|
(21), (22) Заявка: 2005110815/06, 13.04.2005
(24) Дата начала отсчета срока действия патента:
13.04.2005
(43) Дата публикации заявки: 20.10.2006
(46) Опубликовано: 20.03.2007
(56) Список документов, цитированных в отчете о поиске:
SU 1474325 A1, 23.04.1989. SU 861729 A, 07.09.1981. RU 2140571 C1, 27.10.1999. RU 2046218 C1, 20.10.1995. SU 539160 A, 12.01.1977. SU 1432265 A1, 23.10.1988.
Адрес для переписки:
452300, Республика Башкортостан, г. Дюртюли, ул. Советская, 66/1, А.М. Шарифуллину
|
(72) Автор(ы):
Шарифуллин Агзамнур Мухаматгалиевич (RU)
(73) Патентообладатель(и):
Шарифуллин Агзамнур Мухаматгалиевич (RU)
|
(54) СКВАЖИННЫЙ ШТАНГОВЫЙ НАСОС
(57) Реферат:
Использование в области нефтедобычи, в частности в скважинных штанговых глубинных насосах для откачки жидкостей с большим содержанием абразивных примесей из скважин значительной криволинейности. Скважинный штанговый насос содержит цилиндр и расположенный подвижно в нем плунжер, в котором лазерной установкой просверлено расчетное количество отверстий, сообщающих полость плунжера с зазором между цилиндром и плунжером. Площадь всех отверстий превышает площадь кольцевого зазора между стенками плунжера и цилиндра на 25-30%. Расположенный в полом плунжере винтообразный скребок очищает просверленные отверстия от крупных частиц. Значительно повышается срок службы насоса за счет уменьшения износа. 1 ил.
Изобретение относится к нефтедобыче, в частности к конструкциям штанговых глубинных насосов (ШГН) для добычи нефти из скважин.
В настоящее время в эксплуатации находится 4 типа вставных насосов и 3 типа трубных, в основном различающихся по производительности. Все основные производители ШГН изготавливают насосы в соответствии со стандартами Американского нефтяного института (API) – специализация 11АХ.
Одним из главных причин выхода из строя глубинного штангового насоса является износ насоса, в частности пары цилиндр-плунжер. От степени износа насоса зависит также его производительность. Уже через 100 суток с начала эксплуатации производительность насосов падает на 10-20%.
Причина износа пары цилиндр-плунжер – наличие в добываемой жидкости песка и воды. С увеличением времени эксплуатации месторождений обводненность скважин растет, т.к. основная технология разработки и эксплуатации нефтяных месторождений предусматривает воздействие на нефтяной пласт системы поддержания пластового давления, закачки в нагнетательные скважины высокоминерализованной воды из системы замкнутого оборотного водоснабжения. На практике процент обводненности достигает 98%. Поэтому тенденция увеличения износа пары цилиндр-плунжер штангового глубинного насоса из-за обводненности скважин и снижения межремонтного периода (МРП) насосов и скважин будет устойчивой.
Серьезной причиной износа насосов является и песок, для улавливания песка и различных механических примесей предусмотрены установки в скважине различных типов газопесочных якорей (ГПЯ), которые значительно улучшает показатели эксплуатации насосов.
Начавшийся процесс абразивного износа – это проникновение в зазор между цилиндром и плунжером песка, воды и других механических примесей и образование за счет этого сверхнормативного перетока добываемой жидкости через зону трения и дальнейшее увеличение износа, вследствие этого – выход насоса из строя. При соблюдении всех технологических стандартов при изготовлении насоса подразумевается, что значение коэффициента местного сопротивления зазора пары цилиндр-плунжер достаточно, чтобы давление в зоне контакта цилиндр-плунжер сверху и снизу было незначительным и обеспечивало утечки жидкости через зазор при первой, второй группе посадки 1-2% от объема перекачиваемой жидкости.
Но технологией изготовления насосов предусматривается для каждой группы посадок Fit1…Fit5 с номинальными зазорами от 0,025-0,125 мм превышение предельного отклонения на 0,063 мм.
Это значительное отклонение вместе с номинальным зазором в отдельные моменты работы насоса позволяет проникать значительно большему количеству добываемой жидкости, чем регламентировано технологическими условиями эксплуатации штанговых глубинных насосов, а большая величина зазора между стенками цилиндра и плунжера уже не является препятствием для проникновения все больших частиц мелкодисперсного песка. На практике это особенно проявляется во время эксплуатации ремонтных штанговых глубинных насосов в скважинах, межремонтный период которых в 2-2,5 раза ниже скважин, где спущены новые насосы.
При движении плунжера вверх давление в верхней части плунжера достигает свыше 100 кг с/см2. Но отсутствие сверхнормативного перетока жидкости даст основание говорить о лишь незначительном повышении давления в верхней части зазора между цилиндром и плунжером. Но даже это незначительное увеличение давления во время хода плунжера позволяет проникать в зазор крупных размеров зерен песка и вызывать постепенный износ насоса, который в дальнейшем увеличивается.
Другой важной причиной повышенного износа пары цилиндр-плунжер является невозможность существующей конструкции насоса центровки плунжера относительно цилиндра из-за кривизны ствола скважины. Впоследствии этого во время эксплуатации насоса нормативный зазор не будет выдерживаться, и даже незначительные по размеру зерен частицы песка и других механических примесей будут вызывать интенсивный износ.
Гранулометрический состав горных пород нефтесодержащих пластов в основном распределен следующим образом: размеры зерен от 80 мкм до 150 мкм до 75-80%, 80 мкм и менее – 10% (В.М.Муравьев “Эксплуатация нефтяных и газовых скважин.” Недра, стр.30-32). Более детальные исследования гранулометрического состава пород коллектора в терригенных отложениях, в частности горизонта Д1 месторождений Урала-Поволжья определили размеры зерен так: 60-140 мкм – до 87-92%, частицы мелко-алевролитовые 10-50 мкм – от 6 до 10%, и перлитовые – менее 10 мкм – до 2-3%. Следовательно: размеры зерен наиболее вызывающие износ, от 80 до 150 мкм. Их содержание доходит до 90%.
Имеются различные типы плунжеров для защиты от песка и возникающего при этом износа пары цилиндр-плунжер. Это плунжеры с канавками по внешней поверхности, плунжеры типа “пескобрей”, плунжеры разъемно-поворотного типа для компенсирования износа цилиндров (В.М.Муравьев “Эксплуатация нефтяных и газовых скважин”. Недра, стр.207-209). Предпринимались и попытки смазывания трущихся поверхностей маслом из небольшой емкости, размещенной в плунжере.
Известен скважинный штанговый насос, содержащий дополнительный поршневой насос, установленный в зоне нагнетания штангового глубинного насоса, при этом всасывающая полость поршневого насоса снабжена фильтром – влагоотделителем, а нагнетательная полость соединена через полый шток штангового глубинного насоса с зазором между стенками цилиндра и плунжера. При работе поршневого насоса поток очищенной смазочной жидкости истекает по зазору цилиндр-плунжер по короткому пути вверх в надплунжерную зону высокого давления, и по длинному пути вниз – в подплунжерную зону пониженного давления (а.с. RU 2140571 С1, 27.10.1999).
Недостатком этой конструкции является сложность ее изготовления и короткий срок эксплуатации из-за забивания фильтров.
Наиболее близким техническим решением, выбранным в качестве прототипа, является скважинный штанговый насос, содержащий цилиндр и установленный в нем с образованием кольцевого зазора полый плунжер, всасывающий и нагнетательный клапаны, в теле плунжера выполнены отверстия для соединения полости внутри плунжера и, соответственно, зоны нагнетания насоса с зазором между стенками цилиндра и плунжером прототипа является скважинный штанговый насос, содержащий цилиндр и установленный в нем с образованием кольцевого зазора полый плунжер, всасывающий и нагнетательный клапаны, в теле плунжера выполнены отверстия для соединения полости внутри плунжера и, соответственно, зоны нагнетания насоса с зазором между стенками цилиндра и плунжером (SU 1474325 А1, 23.04.1989).
Технической задачей, поставленной в настоящем изобретении, является повышение срока службы штангового насоса за счет изменения схемы смазки плунжерной пары, фильтрации откачиваемой жидкости и центровки плунжера относительно цилиндра.
Поставленная задача решается за счет того, что в скважинном штанговом насосе, содержащем цилиндр и установленный в нем с образованием кольцевого зазора полый плунжер, всасывающий и нагнетательный клапаны, в теле плунжера выполнены отверстия для соединения полости внутри плунжера и, соответственно, зоны нагнетания насоса с зазором между стенками цилиндра и плунжером, площадь всех отверстий превышает площадь кольцевого зазора между стенками плунжера и цилиндра, а в полости плунжера установлен винтообразный скребок, при этом превышение площади всех отверстий относительно площади кольцевого зазора между стенками плунжера и цилиндра составляет 25-30%.
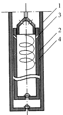
Изобретение представлено на чертеже.
В цилиндре 1 установлен полый плунжер 2, в стенке которого выполнены сквозные симметрично расположенные отверстия 3, выполненные в виде прорезей. Суммарная площадь отверстий превышает площадь зазора между цилиндром и плунжером на 25-30%. Внутри плунжера расположен винтообразный скребок 4.
Так как давление в зоне нагнетания и давление внутри плунжера одинаковы, а коэффициенты местных гидравлических сопротивлений кольцевого зазора между стенками плунжера-цилиндра и отверстий, просверленных в теле плунжера, равны, то для выполнения условия превышения давления в зазоре необходимо превышение площади всех отверстий в теле плунжера по сравнению с площадью кольцевого зазора между стенками плунжера и цилиндра на 25-30%.
Так как трудно выполнить значительное количество сквозных отверстий в плунжере, отверстия в верхней части плунжера выполняются в виде симметрично расположенных узких прорезей шириной 60 мкм или комбнацией прорезей и круглых отверстий диаметром 60 мкм, при этом прорези или отверстия выполнены направлением в сторону откачиваемой жидкости.
При этой конструкции отфильтрованный поток жидкости, выполняющий роль смазки, меняет свое направление от зоны нагнетания в зону отбора жидкости на направление от внутренней полости плунжера через систему отверстий в теле плунжера в зазор между стенками цилиндра-плунжера и истекает по зазору цилиндр-плунжер вверх в зону нагнетания и вниз в зону отбора жидкости. Этим создается гидравлический затвор, препятствующий проникновению крупных зерен частиц песка, вызывающих износ, а возникающий при этом эффект центровки плунжера относительно цилиндра препятствует износу и заклиниванию.
Для упрочнения металла внутренняя полость плунжера подвергается полированию и азотированию.
Для увеличения срока действия плунжера 2 в полированной и азотируемой полости устанавливается винтообразный скребок 4. Зазор между ним и внутренней поверхностью плунжера не более 50 мкм. При движении плунжера вниз поток перекачиваемой жидкости из зоны отбора увлекает скребок вверх, при движении плунжера вверх скребок увлекается вниз, тем самым очищая отверстия в теле плунжера от крупных зерен песка.
По истечении определенного времени эксплуатации, по мере засорения отверстий в теле плунжера давление из зоны нагнетания начинает превышать давление, создаваемое через систему отверстий в теле плунжера, и насос начинает работать по традиционной схеме смазки.
Описываемый способ защиты насоса требует минимальных затрат, не влияет на технико-экономические показатели работы насоса, не ведет к увеличению потребления энергии, не ухудшает механические прочностные характеристики деталей насоса и ведет к значительному увеличению срока эксплуатации насоса.
Способ применим во всех типах применяемых штанговых глубинных насосов.
Формула изобретения
Скважинный штанговый насос, содержащий цилиндр и установленный в нем с образованием кольцевого зазора полый плунжер, в теле плунжера выполнены отверстия для соединения полости внутри плунжера и соответственно зоны нагнетания насоса с зазором между стенками цилиндра и плунжером, отличающийся тем, что площадь всех отверстий превышает площадь кольцевого зазора между стенками плунжера и цилиндра, а в полости плунжера установлен винтообразный скребок, при этом превышение площади всех отверстий относительно площади кольцевого зазора между стенками плунжера и цилиндра составляет 25-30%.
РИСУНКИ
MM4A – Досрочное прекращение действия патента СССР или патента Российской Федерации на изобретение из-за неуплаты в установленный срок пошлины за поддержание патента в силе
Дата прекращения действия патента: 14.04.2008
Извещение опубликовано: 20.09.2010 БИ: 26/2010
|