|
|
(21), (22) Заявка: 2005112551/06, 25.04.2005
(24) Дата начала отсчета срока действия патента:
25.04.2005
(43) Дата публикации заявки: 20.11.2006
(46) Опубликовано: 20.03.2007
(56) Список документов, цитированных в отчете о поиске:
RU 2193688 C1, 27.11.2002. SU 1483081 A1, 30.05.1989. SU 1307082 А1, 30.04.1987. SU 1605017 А1, 07.11.1990. SU 23257 А1, 30.09.1931. RU 2119094 С1, 20.09.1998. RU 2076947 С1, 10.04.1997. RU 2049265 C1, 27.11.1995. US 1581537 A1, 20.04.1926. WO 88/04730 A1, 30.06.1988. AT 361880 A, 10.04.1981.
Адрес для переписки:
656066, г.Барнаул, Павловский тракт, 112-57, В.Ф. Карбушеву
|
(72) Автор(ы):
Карбушев Виктор Федорович (RU), Алешков Иван Николаевич (RU), Збиняков Виктор Дмитриевич (RU), Марин Николай Иванович (RU)
(73) Патентообладатель(и):
Карбушев Виктор Федорович (RU)
|
(54) ВЕТРОУСТАНОВКА
(57) Реферат:
Изобретение относится к ветроэнергетике, в частности к конструкциям ветроэнергетических установок, и может быть использовано для выработки электроэнергии в отдаленной от электрических сетей местности. Технический результат заключается в повышении надежности, эффективности и упрощении конструкции ветроустановки. Ветроустановка состоит из поворотной вертикальной опоры со смонтированным на ней, по крайней мере, одним средством, воспринимающим поток ветра, редуктора и генератора согласно изобретению, причем средство, воспринимающее поток ветра, выполнено в виде двух лопастей, жестко связанных друг с другом и смонтированных на одной горизонтально расположенной поворотной оси по разные стороны от вертикальной опоры ветроустановки, причем лопасти одного средства смонтированы по отношению друг к другу под углом в 85-95 градусов, а каждое последующее средство смонтировано на вертикальной опоре под углом в 90 градусов по отношению к другому, при этом каждое средство снабжено ограничителем поворота. Ограничитель поворота средства, воспринимающего поток ветра, жестко смонтирован на оси каждого средства и контактно связан с вертикальной опорой ветроустановки. 1 з.п. ф-лы, 2 ил.
Изобретение относится к ветроэнергетике, в частности к конструкциям ветроэнергетических установок, и может быть использовано для выработки электроэнергии в отдаленной от электрических сетей местности или в качестве привода к различным механическим устройствам, в т.ч. к водяным насосам для подъема воды из скважин или для подзарядки блока аккумуляторов.
Известен ветроагрегат, содержащий рабочее колесо с вертикальной осью вращения, на котором установлены с возможностью поворота вокруг вертикальных осей лопасти, имеющие индивидуальный механизм поворота, выполненный в виде флюгера, кинематически соединенный с осью поворота лопасти (см. патент РФ 2119094, F 03 D 7/06 от 20.09.98 г). Однако указанная конструкция является достаточно сложной, а связь между флюгером и механизмом поворота лопасти постоянно нагружена, что можно отнести к недостаткам известной конструкции.
Известен ветродвигатель, содержащий установленное на вертикальном валу рабочее колесо с верхними и нижними спицами, между которыми на их концах размещены поворотные балансировочные лопасти, валы которых через муфты связаны цепной передачей с общим флюгером (см. а.с. 1483081 от 30.05.89 г. М. кл. F 03 D 3/02). Выполнение лопастей поворотными позволяет оптимально ориентировать их в процессе работы, что обеспечивает оптимальную аэродинамику лопастей при движении по потоку ветра и против.
Однако общий механизм поворота лопастей, представляющий собой цепную передачу, связывающую флюгер с каждой лопастью, сложен, что снижает надежность работы устройства. Кроме того, цепная передача не может быть достаточно жесткой, что вызывает повышенный уровень автоколебаний, что в свою очередь является причиной неожиданных отказов в работе ветродвигателя и низкая эффективность самозащиты ветродвигателя от сильных ветров. Все это и является недостатками известного ветродвигателя.
Известен более совершенный ветроагрегат – прототип, содержащий рабочее колесо с вертикальной осью вращения, на которой установлены с возможностью поворота вокруг вертикальных осей лопасти, имеющие индивидуальный механизм поворота, выполненный в виде флюгера, кинематически соединенного с осью поворота лопасти, причем верхний конец каждой лопасти выполнен с возможностью отклонения в плоскости лопасти симметрично относительно вертикальной оси на расстояние не более В/5,27, где В – максимальное значение ширины лопасти. Каждый флюгер кинематически соединен с осью поворота лопасти посредством механизма разгрузки, который выполнен в виде предохранительной муфты (см. патент Российской Федерации №2193688, М. кл. F 03 D 7/06).
Известная конструкция ветроагрегата – прототипа является достаточно сложной и не предотвращает нежелательных и нерегулируемых колебаний лопастей во время работы установки, что снижает надежность работы установки, может привести к ее разрушению и на что затрачивается дополнительная энергия, что и можно отнести к недостаткам известного устройства.
Задачей настоящего изобретения является устранение недостатков прототипа, в частности повышение надежности, эффективности и упрощение конструкции ветроустановки.
Поставленная изобретением задача достигается тем, что средство, воспринимающее поток ветра, выполнено в виде двух лопастей, жестко связанных друг с другом и смонтированных на одной горизонтально расположенной поворотной оси по разные стороны от вертикальной опоры ветроустановки, причем лопасти одного средства, смонтированы по отношению друг к другу под углом в 85-95 градусов, а каждое последующее средство смонтировано на вертикальной опоре под углом в 90 градусов по отношению к другому, при этом каждое средство снабжено ограничителем поворота.
Ограничитель поворота средства, воспринимающего поток ветра, жестко смонтирован на горизонтальной оси поворота каждого средства и контактно связан с вертикальной опорой ветроустановки.
Ограничитель поворота выполнен в виде упругого рычага.
Признаки того, что средство, воспринимающее поток ветра, выполнено в виде двух лопастей, жестко связанных друг с другом и смонтированных на одной горизонтально расположенной поворотной оси по разные стороны от вертикальной опоры ветроустановки, причем лопасти одного средства смонтированы по отношению друг к другу под углом в 85-95 градусов, а каждое последующее средство смонтировано на вертикальной опоре под углом в 90 градусов по отношению к другому, при этом каждое средство снабжено ограничителем поворота, являются признаками существенными, неочевидными, неожиданными, необходимыми и достаточными для достижения поставленной изобретением задачи. Так, выполнение лопастей, воспринимающих поток ветра под разными углами – одна с опережением на 85-95 градусов по отношению к другой каждого средства, воспринимающего поток ветра, позволяет попеременно и полностью воспринимать поток ветра одной лопастью средства, а другая лопасть при этом, находящаяся по другую сторону поворотной опоры ветроустановки, своей плоскостью расположена вдоль потока ветра, не оказывая сопротивления. Расположение на поворотной опоре одного средства по отношению к другому под углом в 90 градусов позволяет обеспечить равномерность вращения опоры ветроустановки и максимально использовать усилия потока ветра.
Отсутствие неопределенно и непредвиденно колеблющихся при восприятии потока ветра частей ветроустановки обеспечивает надежность и долговечность ее работы.
Наличие ограничителя поворота средства, воспринимающего поток ветра, жестко связанного с горизонтальной осью поворота каждого средства и контактно связанного с вертикальной опорой ветроустановки, позволяет точно установить одну поверхность лопасти средства, воспринимающего напор ветрового потока во фронтальной плоскости, а другую в горизонтальной плоскости и добиться этим самым максимально возможных усилий поворота вертикальной оси ветроустановки при данном напоре ветра.
Выполнение ограничителя поворота в виде упругого рычага позволяет плавно без стуков по мере увеличения угла поворота лопасти установить поверхность лопасти воспринимающей поток ветра во фронтальной плоскости.
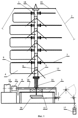
На фиг.1 схематично представлена предлагаемая ветроустановка в момент восприятия потока ветра лопастями левой стороны.
На фиг.2 представлено положение лопастей средства, воспринимающего поток ветра.
Ветроустановка состоит из поворотной опоры 1, удерживаемой в вертикальном положении несколькими боковыми стяжками 2, и основания 3. По высоте опоры 1 смонтирован, по крайней мере, один ряд спаренных по две лопасти 4 и 5 средств 6, воспринимающих поток ветра, причем лопасть 4 каждого средства 6, воспринимающего поток ветра по отношению к лопасти 5, смонтирована под углом в 85-95 градусов. Упор 7 жестко связан с поворотной горизонтальной осью 8 каждой пары лопастей 4, 5 каждого средства 6, воспринимающего поток ветра, и контактно связан с наружной поверхностью поворотной опоры 1. В нижней части поворотной опоры 1 смонтирован привод 9 с ведущим диском 10 редуктором 11 и генератором 12. В центре опорного подшипника 13 поворотной опоры 1 установлен вал 14, связанный при помощи фланца 15 с опорой 1. На валу 14 закреплена кулиса 16 для снятия механических усилий и их передачи различным устройствам, например водяному насосу 17. В верней части поворотной опоры 1 ветроустановки на подшипнике 18 смонтирована крестовина 19. Стяжки 2 удерживают поворотную опору 1 в вертикальном положении.
Предлагаемая ветроустановка работает следующим образом.
В исходном положении при отсутствии ветра лопасти каждого средства 6, воспринимающего поток ветра, со спаренными лопастями 4, 5 по отношению к вертикальной опоре 1 находятся под углом в 45 градусов.
При напоре ветра и его воздействии на поверхности лопастей средства 6, воспринимающего поток, каждая из лопастей 4, 5 стремится отклониться под напором ветра по направлению потока ветра. При этом одна, например левая, лопасть 4, поворачиваясь относительно горизонтальной оси 8, воспринимает поток ветра с увеличением поверхности восприятия потока, а правая лопасть 5 за это же время под напором ветра устанавливается в горизонтальное положение и не воспринимает поток ветра и не оказывает сопротивления повороту опоры 1 ветроустановки. При установившемся напоре потока ветра на лопасти средства, воспринимающего поток, каждый раз левая лопасть 4 устанавливается во фронтальной плоскости и максимально воспринимает поток ветра, а правая лопасть 4 отклоняется назад и устанавливается в горизонтальной плоскости. Напор ветра, воздействуя на левую сторону лопастей 4 ветроустановки, начинает ее поворачивать относительно вертикальной оси вращения. Как только правая лопасть 5 установится напротив вертикальной оси опоры, ее плоскость из горизонтального положения по мере поворота последовательно переходит по отношению к поворотной опоре 1 ветроустановки сначала под углом в 45 градусов и далее, постепенно поворачиваясь, переходит на левую сторону ветроустановки и начинает воспринимать поток с увеличением поверхности восприятия ветрового потока, а плоскость 4, которая была с левой стороны опоры 1, также постепенно по мере поворота вертикальной опоры 1 ветроустановки поворачивается на другую сторону опоры 1 и переходит в горизонтальное положение в горизонтальную плоскость с минимальным сопротивлением вращению опоры и потоку ветра.
Таким образом, напор ветрового потока постоянно воздействует на левую сторону ветроустановки и вращает ее. При этом вращение ветроустановки, если на нее смотреть сверху, осуществляется по часовой стрелке независимо от направления ветра. Передаваемое генератору 12 через ведущий диск 10 и редуктор 11 вращение опоры 1 ветроустановки обеспечивает выработку электроэнергии и позволяет снимать с вращающейся кулисы 16 привода механическую энергию, например, к насосу 17 крестовина 19, смонтированная на подшипнике 18 опоры 1, обеспечивает свободное вращение опоры 1.
Действующая модель предлагаемой ветроустановки авторами была изготовлена и были проведены опытные испытания. Ветроустановка с площадью поверхности на одной стороне опоры 1, воспринимающей ветровой поток в 6 м2 и скоростью ветра 7 м/сек успешно через редуктор приводила в действие автомобильный генератор и вырабатывала электрическую энергию около 200 Вт/час, которой хватало на работу телевизора, одной лампы освещения мощностью в 40 Вт и на подзарядку аккумуляторов.
При соединении поворотной кулисы 16 через систему рычагов с насосом ветроустановка обеспечивала перекачку воды из одной емкости в другую производительностью около 200 литров в час. Считаем, что соединение ветроустановки с насосом скважины обеспечит при перекачивании воды не меньшую производительность.
В настоящее время в стадии изготовления находится ветроустановка предлагаемой конструкции с рабочей поверхностью, с одной стороны воспринимающей поток ветра в 10 м2, которая будет установлена в Горном Алтае на пастбище фермера для выработки электроэнергии для освещения, работы радиоприемника и подогрева воды для скота.
Считаем, что предлагаемая ветроустановка найдет широкое применение в фермерских хозяйствах, обществах, занимающихся выращиванием овощей и фруктов, при поливах лесопосадок и питомников, а также может быть использована для создания резервуаров воды для орошения лесополос и тушения пожаров, на стоянках чабанов, у синоптиков, лесников, в охотничьих хозяйствах и т.д., особенно в местах, где отсутствует электроэнергия.
Ветроустановка проста по конструкции и надежна в работе.
Формула изобретения
1. Ветроустановка, состоящая из вертикальной опоры со смонтированным на ней, по крайней мере, одним средством, воспринимающим поток ветра, редуктора и генератора, отличающаяся тем, что средство, воспринимающее поток ветра, выполнено в виде двух лопастей, жестко связанных друг с другом и смонтированных на одной горизонтально расположенной поворотной оси по разные стороны от вертикальной опоры ветроустановки, причем лопасти одного средства смонтированы по отношению друг к другу под углом в 85-95°, а каждое последующее средство смонтировано на вертикальной опоре под углом в 90° по отношению к другому, при этом каждое средство, воспринимающее поток ветра, снабжено ограничителем поворота, выполненным в виде жестко смонтированного на горизонтальной оси каждого средства рычага, контактно связанного с вертикальной опорой ветроустановки.
2. Ветроустановка по п.1, отличающаяся тем, что ограничитель поворота выполнен в виде упругого рычага.
РИСУНКИ
MM4A – Досрочное прекращение действия патента СССР или патента Российской Федерации на изобретение из-за неуплаты в установленный срок пошлины за поддержание патента в силе
Дата прекращения действия патента: 26.04.2007
Извещение опубликовано: 27.07.2008 БИ: 21/2008
|
|