|
(21), (22) Заявка: 2004116379/06, 01.06.2004
(24) Дата начала отсчета срока действия патента:
01.06.2004
(43) Дата публикации заявки: 10.01.2006
(46) Опубликовано: 20.03.2007
(15) Информация о коррекции:
Версия коррекции № 1 (
Изобретение относится к способам повышения экономичности турбореактивных двигателей, преимущественно для двухконтурных турбореактивных двигателей с воздухо-воздушным теплообменником в наружном контуре, и может быть успешно использовано в турбоэнергомашиностроении.
Известен способ повышения теплоотдачи в охлаждаемых каналах турбины путем постановки в каналах рабочих лопаток, по крайней мере, на внутренней поверхности одной стенки конфигурации турбулизаторов, имеющих определенную высоту и длину, с чередующимися по высоте турбулизаторами, предназначенными для генерации турбулентности в центре потока охлаждаемого канала и для уменьшения толщины термического пограничного слоя, расположенного вниз по течению. (См. Европатент – ЕР 0852284, F 01 D 5/18).
Известна конструктивная схема охлаждения элементов конструкции газотурбинного двигателя четвертого поколения (ТРДДФ) с температурой Тг=1680 K и воздухо-воздушным теплообменником, расположенным в наружном контуре с заданным суммарным расходом охлаждающего воздуха и распределением его по элементам конструкции для охлаждения турбины высокого давления и турбины низкого давления. (См. кн. Н.Н.Сиротин «Конструкция и эксплуатация, повреждаемость и работоспособность газотурбинных двигателей» Москва, РИА ИМ-Информ 2002 г. Рис. 1.31, стр.97, 98).
Известна система управления расходом воздуха, охлаждающего турбину турбореактивного двигателя, на крейсерских и максимальных режимах работы, содержащая выполненные перед входом в охлаждающий тракт турбины, перекрывающие устройства. Она снабжена агрегатом управления, а перекрывающие устройства выполнены в виде расположенных по окружности неуравновешенных клапанов обратного хода со ступенчатыми поршнями, с большими диаметрами в надпоршневых полостях, с коаксиальными корпусами, установленными в радиальных соосных отверстиях, выполненных в наружном корпусе и внутренней обечайке, дросселирующие сечения клапанов размещены в полости коллектора охлаждающего воздуха, образованного наружным корпусом и внутренней обечайкой, а запирающая часть подпружиненного шток-поршня агрегата управления установлена на воздухопроводах, соединяющих надпоршневые полости клапанов и командный коллектор с коллектором охлаждающего воздуха или с полостью мотогондолы. Для двухконтурных турбореактивных двигателей с воздухо-воздушным теплообменником в наружном контуре у воздухо-воздушного теплообменника вход сообщен с зоной вторичного воздуха камеры сгорания, а выход – с коллектором охлаждающего воздуха. Она содержит для доводки заданных параметров и более экономичного охлаждения соплового аппарата и рабочего колеса турбины на основных режимах работы турбореактивного двигателя-прототипа систему измерений и регистрации: расхода охлаждающего воздуха и топлива, колебаний давления охлаждающего воздуха в воздухо-воздушном теплообменнике и турбине, колебаний давления топлива в агрегате управления и параметров турбореактивного двигателя при работе. (См. патент РФ – RU №2194179, F 02 C 9/00).
Задачей изобретения является повышение экономичности турбореактивного двигателя.
Для достижения указанной задачи система управления расходом воздуха, охлаждающего турбину турбореактивного двигателя, содержит выполненные перед входом в охлаждающий тракт турбины перекрывающие устройства. Она снабжена агрегатом управления, а перекрывающие устройства выполнены в виде расположенных по окружности неуравновешенных клапанов обратного хода со ступенчатыми поршнями, с большими диаметрами в надпоршневых полостях, с коаксиальными корпусами, установленными в радиальных соосных отверстиях, выполненных в наружном корпусе и внутренней обечайке, дросселирующие сечения клапанов размещены в полости коллектора охлаждающего воздуха, образованного наружным корпусом и внутренней обечайкой, а запирающая часть подпружиненного шток-поршня агрегата управления установлена на воздухопроводах, соединяющих надпоршневые полости клапанов и командный коллектор с коллектором охлаждающего воздуха или с полостью мотогондолы. Для двухконтурных турбореактивных двигателей с воздухо-воздушным теплообменником в наружном контуре у теплообменника вход сообщен с зоной вторичного воздуха камеры сгорания, а выход – с коллектором охлаждающего воздуха. При этом между входом в воздухо-воздушный теплообменник и силовой аппарат турбины установлен, по меньшей мере, один источник вынужденных колебаний давления охлаждающего воздуха, выполненный в виде пояса из ряда акустических излучателей, закрепленных на кожухе камеры сгорания и направленных выходами в полость соплового аппарата, рабочего колеса турбины и воздухо-воздушного теплообменника. Причем снабжают воздушный тракт системы кондиционирования турбины, по меньшей мере, одним источником вынужденных колебаний давления охлаждающего воздуха, подают на вход в агрегат управления пульсирующее давление топлива, настраивают источник вынужденных колебаний давления охлаждающего воздуха на колебательный режим работы, пропускают через него охлаждающий воздух, подают его из воздухо-воздушного теплообменника в полость соплового аппарата и рабочего колеса турбины, интенсифицируют теплообмен в турбине и воздухо-воздушном теплообменнике, при этом частоту колебаний давления охлаждаемого воздуха в каналах воздухо-воздушного теплообменника и турбины поддерживают в области акустических колебаний. Или возбуждают автоколебательный режим работы источника вынужденных колебаний давления охлаждающего воздуха агрегатом управления, настраивают и выводят источник вынужденных колебаний давления охлаждающего воздуха на согласованный режим работы турбореактивного двигателя, обеспечивают более экономичное охлаждение соплового аппарата и рабочего колеса турбины на крейсерских и максимальных режимах работы турбореактивного двигателя.
Далее задача достигается тем, что:
а) дополнительно теплообменная матрица воздухо-воздушного теплообменника выполнена из частей с четным числом ходов охлаждаемого воздуха, сообщенных их смежными сторонами кольцевой полостью, с установленным в ней, по меньшей мере, одним источником вынужденных колебаний давления охлаждающего воздуха, выполненным в виде пояса из ряда акустических излучателей, образующих внутриматричное генерирующее устройство, при этом торец последнего хода теплообменной матрицы расположен в плоскости соплового аппарата турбины;
б) в надпоршневой полости устанавливают упругий элемент, выполненный в виде пружины, шарнирно закрепленный на ступенчатом поршне и крышке, при этом торец ступенчатого поршня располагают на расстоянии от седла клапана, равном части от хода ступенчатого поршня, а усилие пружины на растяжение и сжатие равно массе ступенчатого поршня;
в) возбуждают автоколебательный режим работы источника вынужденных колебаний давления охлаждающего воздуха агрегатом управления, настраивают и выводят источник вынужденных колебаний давления охлаждающего воздуха на согласованный режим работы;
г) клапан перекрывающего устройства источника акустических колебаний снабжен противоударным воздушным демпфером хода ступенчатого поршня, по меньшей мере, со стороны поршня с большим диаметром;
д) противоударный демпфер выполнен с обоих торцов ступенчатого поршня, на нем дополнительно со стороны большего диаметра образована промежуточная полость, отделенная от надпоршневой полости стенкой, сообщенная с одной стороны рядом торцевых отверстий с надпоршневой полостью, а с другой стороны через отверстие – с полостью высокого давления у седла клапана при “открытии”, кроме того, внутри ступенчатого поршня установлен канал с коллектором, через торцевые отверстия сообщающим надпоршневую полость с зоной у седла клапана при его закрытии .
Новым здесь является то, что снабжают воздушный тракт системы кондиционирования турбины между входом в теплообменник и сопловой аппарат турбины, по меньшей мере, одним источником вынужденных колебаний давления охлаждающего воздуха, подают на вход в агрегат управления пульсирующее давление топлива, настраивают источник вынужденных колебаний давления охлаждающего воздуха на колебательный или автоколебательный режим работы, пропускают через него охлаждающий воздух, подают его из воздухо-воздушного теплообменника в полость соплового аппарата и рабочего колеса турбины, интенсифицируют теплообмен в турбине и теплообменнике.
Далее, новым для двухконтурных турбореактивных двигателей с воздухо-воздушным теплообменником во втором контуре является то, что выполняют источник вынужденных колебаний давления охлаждающего воздуха в виде пояса из ряда акустических излучателей, образующих перекрывающее устройство, закрепляют их на кожухе камеры сгорания и направляют выходами в полость соплового аппарата, рабочего колеса турбины и теплообменника. При этом частоту колебаний давления воздуха в каналах воздухо-воздушного теплообменника и турбины поддерживают в области акустических колебаний. Возбуждают автоколебательный режим работы источника вынужденных колебаний давления охлаждающего воздуха агрегатом управления, настраивают и выводят источник на согласованный режим работы.
Выполняют теплообменную матрицу воздухо-воздушного теплообменника из частей с четным числом ходов охлаждаемого воздуха, сообщенных их смежными сторонами кольцевой полостью, устанавливают в ней источник вынужденных колебаний давления охлаждающего воздуха.
В надпоршневой полости клапана устанавливают упругий элемент, выполненный в виде пружины, шарнирно закрепляют на ступенчатом поршне и крышке, при этом торец ступенчатого поршня располагают на расстоянии, равном части от хода поршня от седла клапана, а усилие пружины на растяжение и сжатие равно массе поршня.
Клапан перекрывающего устройства источника акустических колебаний давления охлаждающего воздуха снабжен противоударным воздушным демпфером хода ступенчатого поршня, по меньшей мере, со стороны ступенчатого поршня с большим диаметром. Противоударный демпфер выполнен с обоих торцов ступенчатого поршня, на нем дополнительно со стороны большего диаметра образована промежуточная полость, отделенная от надпоршневой полости стенкой, сообщенная с одной стороны рядом торцевых отверстий с надпоршневой полостью, а с другой стороны через отверстие – с полостью высокого давления у седла клапана при “открытии”, кроме того, внутри ступенчатого поршня установлен канал с коллектором, через выполненные торцевые отверстия сообщающий надпоршневую полость с зоной у седла клапана при его “закрытии”.
Установив в воздушном тракте системы кондиционирования турбины, между входом в воздухо-воздушный теплообменник и сопловой аппарат турбины, по меньшей мере, один источник вынужденных колебаний давления охлаждающего воздуха подают на вход в агрегат управления пульсирующее давление топлива, настраивают источник на колебательный или автоколебательный режим работы, пропускают через него расход охлаждающего воздуха, подают его в полость соплового аппарата и рабочего колеса турбины (мы интенсифицируем теплообмен в турбине и теплообменнике).
Для двухконтурных турбореактивных двигателей с воздухо-воздушным теплообменником в наружном контуре выполняют источник вынужденных колебаний в виде пояса из ряда акустических излучателей, образующих перекрывающее устройство, закрепляют их на кожухе камеры сгорания и направляют выходами в полость соплового аппарата, рабочего колеса турбины и теплообменника. Мы получаем возможность повысить экономичность турбореактивного двигателя так как по обе стороны от источника вынужденных колебаний давления охлаждающего воздуха на “открытых концах трубы” течение его дозвуковое, то акустические колебания распространяются в обе стороны как по течению потока, так и против направления его, интенсивно воздействуют на пристеночный слой и интенсифицируют теплообмен (теплоотдачу), что позволяет уменьшить расход охлаждающего воздуха на охлаждение элементов турбины до заданной температуры стенки, в которую он поступает с большим хладоресурсом из-за более эффективной работы матрицы воздухо-воздушного теплообменника, и таким образом снизить удельный расход топлива турбореактивного двигателя на величину уменьшения затрат мощности турбокомпрессора на сжатие сэкономленного расхода воздуха и возвратить его в контур высокого давления на создание тяги ТРДДФ.
Поддерживая частоту колебаний давления воздуха в каналах теплообменника и турбины в области акустических колебаний, мы получаем возможность оптимизировать эффективность теплообмена по частоте вынужденных колебаний.
Для возбуждения колебательного или автоколебательного режима работы источника акустических колебаний используют агрегат управления, настраивают и выводят источник вынужденных колебаний давления охлаждающего воздуха на согласованный режим работы, что дает возможность менять характеристики излучателя.
Дополнительно разделив теплообменную матрицу трубчатого многозаходного с коридорными пучками труб перекрестного многоходового с общим прямоточным движением теплоносителей воздухо-воздушного теплообменника ТРДД на части с четным числом ходов охлаждаемого воздуха, сообщив ее смежные части кольцевой полостью и установив в ней, по меньшей мере, один источник вынужденных колебаний давления охлаждающего воздуха, мы получаем возможность еще больше повысить эффективность работы теплообменника и оптимизировать его работу при фиксированной активной теплообменной поверхности и/или уменьшить массу ВВТ.
Выполнив клапан перекрывающего устройства источника так, что в надпоршневой полости клапана установлен упругий элемент, выполненный в виде пружины, шарнирно закрепленный на поршне и крышке, при этом торец поршня располагают на расстоянии, равном части от хода ступенчатого поршня от седла клапана, а усилие пружины на растяжение и сжатие равно массе поршня, мы получаем возможность обеспечить автоколебательный режим работы и преобразовать исходный двухпозиционный клапан (см. прототип) в клапанный акустический излучатель, работающий в колебательном или автоколебательном режиме. Далее, клапан перекрывающего устройства источника акустических колебаний давления охлаждающего воздуха может быть снабжен противоударным воздушным демпфером хода ступенчатого поршня, по меньшей мере, со стороны поршня с большим диаметром. Для этого его снабжают воздушными каналами, противолежащими опорным поверхностям, попеременно сообщают их с полостью коллектора командного давления или полостью мотогондолы – наружного контура. При этом мы получаем возможность обеспечить большой ресурс работы, т.к. исключаются ударные нагрузки на поршень и подпружиненные пирографитовые уплотнения при изменении направления его движения.
Далее, противоударный демпфер выполнен с обоих торцов ступенчатого поршня, на нем дополнительно со стороны большего диаметра образована промежуточная полость, отделенная от надпоршневой полости стенкой, сообщенная с одной стороны рядом торцевых отверстий с надпоршневой полостью, а с другой стороны через отверстие – с полостью высокого давления у седла клапана при “открытии”, кроме того, внутри ступенчатого поршня установлен канал с коллектором, через выполненные торцевые отверстия сообщающий надпоршневую полость с зоной у седла клапана при его “закрытии”.
Повышение экономичности турбореактивного двигателя обеспечивается тем, что интенсифицируют теплообмен в турбине и теплообменнике от воздействия акустического поля источника вынужденных колебаниях давления охлаждающего воздуха на пограничный слой и на его теплоотдачу при вынужденных колебаний давления охлаждающего воздуха (хладагента) в полости соплового аппарата, рабочих лопаток турбины и внутренних каналах пучков трубок ВВТ. Это позволяет уменьшить расход охлаждающего воздуха и таким образом улучшить экономичность турбореактивного двигателя путем снижения удельного расхода топлива турбореактивного двигателя.
На приведенных чертежах показана конструкция устройства к способу повышения экономичности турбореактивного двигателя.
На фиг.1 показана конструктивная схема устройства с воздухо-воздушным теплообменником в наружном контуре в исходном положении.
На фиг.2 показана конструктивная схема устройства с воздухо-воздушным теплообменником в наружном контуре с разделенной теплообменной матрицей на части с четным числом ходов и источником вынужденных колебаний давления охлаждающего воздуха между ними.
На фиг.3 показан клапан с демпфером со стороны ступенчатого поршня с большим диаметром в крайнем верхнем положении.
На фиг.4 показан клапан с демпфером со стороны ступенчатого поршня с меньшим диаметром в крайнем верхнем положении.
На фиг.5 показан клапан с демпферами на обоих торцах ступенчатого поршня при “открытии”.
На фиг.6 показан клапан с демпферами на обоих торцах ступенчатого поршня при “закрытии”.
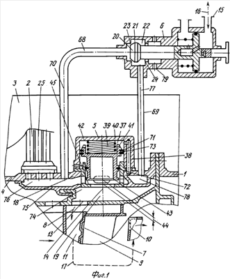
Указанное устройство установлено на турбореактивном двигателе 1, содержащем воздухо-воздушный теплообменник (ВВТ) 2, размещенный в наружном контуре 3, на кожухе 4 камеры сгорания, перекрывающие устройства 5, агрегат управления 6 и турбину 7, газовоздушный тракт 8 с сопловым аппаратом 9 и рабочим колесом 10 турбины 7, систему кондиционирования 11 турбины 7. Между входом ВВТ 12 и входом 13 в сопловой аппарат 9 турбины 7 установлен, по меньшей мере, один источник вынужденных колебаний давления охлаждающего воздуха 14, на вход 15 агрегата управления 6 подают пульсирующее давление топлива 16, пропускают через источник 14 охлаждающего воздуха, подают его в полость 17 соплового аппарата 9 и рабочего колеса 10, настраивают источник вынужденных колебаний давления охлаждающего воздуха 14 на колебательный или автоколебательный режимы работы, интенсифицируют теплообмен в турбине 7 и ВВТ 2. Выполняют источник вынужденных колебаний давления охлаждающего воздуха 14 в виде пояса 18 из ряда акустических излучателей 19, образующих перекрывающее устройство 5, закрепляют их на кожухе 4 камеры сгорания. Частоту колебаний давления воздуха в каналах теплообменника 2 и турбины 7 возбуждают, поддерживают и выводят источник 14 на согласованный режим работы агрегатом управления 6. Автоколебательный режим работы акустических излучателей 19 обеспечивают установкой шток-поршня 20 с запирающей частью 21 в нейтральное положение в полости 22, между кромками 23 и 24.
Для улучшения теплофизических характеристик ВВТ 2 дополнительно выполняют теплообменную матрицу 25 из частей 26 и 27 с четным числом ходов 28 охлаждаемого воздуха 29, по направлению 30 охлаждающего воздуха 31, например, в отношении как (2:1), сообщают ее смежные части 26, 27 кольцевой полостью 32, устанавливают в ней источник вынужденных колебаний давления охлаждающего воздуха 33 в виде пояса 34 из ряда акустических излучателей 35, образующих внутриматричное генерирующее устройство 36.
В надпоршневой полости 37 клапана 38 устанавливают упругий элемент 39, выполненный в виде пружины 40, шарнирно закрепляют его на ступенчатом поршне 41 и крышке 42, при этом торец 43 ступенчатого поршня 41 располагают на расстоянии 44, равном части от хода ступенчатого поршня 41 от седла 45 клапана 38, например равном 1/2 хода ступенчатого поршня, а усилие пружины 40 на растяжение и сжатие равно массе поршня 41.
Клапан 38 перекрывающего устройства 5 источника акустических колебаний давления охлаждающего воздуха 14 снабжен противоударным воздушным демпфером 46 хода ступенчатого поршня 41, по меньшей мере, со стороны ступенчатого поршня 41 с большим диаметром.
Клапан 38 выполнен с демпфером 47 со стороны ступенчатого поршня 41 с меньшим диаметром, в крайнем нижнем положении поршня 41, путем выполнения в стыке 48 кольцевой канавки 49, образованной корпусом 50 клапана 38 и цилиндрической расточкой в поясе 18, сообщенной с одной стороны каналом 51 с полостью коллектора командного давления 52, а с другой стороны – с каналами 53, выполненными в стойках 54, расположенных между воздушными каналами 55, и в опорной поверхности седла 45.
Клапан 56 выполнен с противоударными демпферами 57 и 58, выполненными на обоих торцах ступенчатого поршня 41, на нем дополнительно со стороны большего диаметра образована промежуточная полость 59, отделенная от надпоршневой полости 37 стенкой 60, сообщенная с одной стороны рядом торцевых отверстий 61 с надпоршневой полостью 37, а с другой стороны через отверстие 62 – с полостью высокого давления 63 у седла 45 клапана 56 при “открытии”, кроме того внутри ступенчатого поршня 41 установлен канал 64 с коллектором 65, через выполненные торцевые отверстия 66 сообщающий надпоршневую полость 37 с зоной 67 у седла 45 клапана 56 при его “открытии”.
Работа указанного устройства, предназначенного для улучшения экономичности турбореактивного двигателя, осуществляется следующим образом.
При запуске и работе турбореактивного двигателя на дроссельных режимах ступенчатые поршни клапанов перекрывного устройства находятся в положении “закрыто”.
При работе турбореактивного двигателя на режимах, близких к максимальным, ступенчатые поршни находятся в положении “открыто” до включения режима повышенной экономичности.
При работе турбореактивного двигателя 1 на режимах, близких к максимальным, и максимальных, характеризирующихся повышенной температурой газов перед турбиной 7, и режиме с повышенной экономичностью, путем уменьшения удельного расхода топлива турбореактивного двигателя, в полость 15 агрегата управления 6 подают пульсирующее давление топлива 16, перемещающее шток-поршень 20 с той же частотой между кромками 23, 24 в полости 22. При этом ступенчатый поршень 41 клапана 38 “возбуждается” и совершает возвратно-поступательный движения вдоль оси в обе стороны от исходного положения 43. Настраивают источник вынужденных колебаний давления охлаждающего воздуха 14 на колебательный режим работы или для перехода на автоколебательный режим работы, устанавливают шток-поршень 20 в нейтральное положение между кромками 23, 24 полости 22, настраивают и выводят источник вынужденных колебаний давления охлаждающего воздуха 14 на согласованный режим работы.
Акустический излучатель 19 представляет собой клапан 38 и связанный с ним резонатор 68, составляющие колебательную систему 69 в виде петлевого трубопровода 70, на одном конце которого находится “упругая мембрана”, выполненная в виде поршня 41 с подпружиненными уплотнительными кольцами 71, 72 и торцом 43, взаимодействующим с седлом 45, соединенного упругим элементом 39 с крышкой 42.
При “закрытии” клапана 38 происходит понижение давления на стороне турбины 7 и повышение давления охлаждающего воздуха на стороне ВВТ 2, гидравлическое сопротивление потоку увеличивается, при этом ступенчатый поршень 41 под воздействием усилия от упругого элемента 39, направленного к периферии на “открытие”, открывает проходные сечения, и давление перед турбиной 7 повышается, а надпоршневые полости клапанов 38 сообщаются с наружным контуром или с полостью мотогондолы. Этот цикл периодически повторяется с заданной частотой, при этом импульс давления распространяется по трубопроводу 70 со скоростью звука.
Перекрывающие устройства 5 выполнены в виде расположенных по окружности неуравновешенных клапанов 38 обратного хода со ступенчатыми поршнями 41, с большими диаметрами 73 в надпоршневых полостях 37, с коаксиальными корпусами 42 и 45, установленными в радиальных соосных отверстиях 74, выполненных в наружном корпусе 4, в поясе 18 и внутренней обечайке 75, дросселирующие сечения клапанов 38 размещены в полости коллектора охлаждающего воздуха 76, образованного наружным корпусом 4 и внутренней обечайкой 75, а запирающая часть 21 подпружиненного шток-поршня 20 агрегата управления 6 установлена на воздухопроводах 70 и 77, соединяющих подпоршневые полости 37 клапанов 38 и командный коллектор 78 с коллектором охлаждающего воздуха 76 или с полостью мотогондолы 79, у воздухо-воздушного теплообменника 2 вход 12 сообщен с зоной вторичного воздуха камеры сгорания, а выход – с коллектором охлаждающего воздуха 76.
Формула изобретения
1. Способ повышения экономичности турбореактивного двигателя, заключающийся в подаче охлаждающего воздуха из воздухо-воздушного теплообменника во внутреннюю полость лопаток турбины, измерении и регистрации расхода охлаждающего воздуха и топлива, колебаний давления охлаждающего воздуха в воздухо-воздушном теплообменнике и турбине, колебаний давления топлива в агрегате управления и параметров турбореактивного двигателя при работе, отличающийся тем, что снабжают воздушный тракт системы кондиционирования турбины, по меньшей мере, одним источником вынужденных колебаний давления охлаждающего воздуха, подают на вход в агрегат управления пульсирующее давление топлива, настраивают источник вынужденных колебаний давления охлаждающего воздуха на колебательный режим работы, пропускают через него охлаждающий воздух, подают его из воздухо-воздушного теплообменника в полость соплового аппарата и рабочего колеса турбины, интенсифицируют теплообмен в турбине и воздухо-воздушном теплообменнике, при этом частоту колебаний давления охлаждаемого воздуха в каналах воздухо-воздушного теплообменника и турбины поддерживают в области акустических колебаний.
2. Способ повышения экономичности турбореактивного двигателя, заключающийся в подаче охлаждающего воздуха из воздухо-воздушного теплообменника во внутреннюю полость лопаток турбины, измерении и регистрации расхода охлаждающего воздуха и топлива, колебаний давления охлаждающего воздуха в воздухо-воздушном теплообменнике и турбине, колебаний давления топлива в агрегате управления и параметров турбореактивного двигателя при работе, отличающийся тем, что возбуждают автоколебательный режим работы источника вынужденных колебаний давления охлаждающего воздуха агрегатом управления, настраивают и выводят источник вынужденных колебаний давления охлаждающего воздуха на согласованный режим работы турбореактивного двигателя, обеспечивают более экономичное охлаждение соплового аппарата и рабочего колеса турбины.
3. Турбореактивный двигатель, содержащий газовоздушный тракт с сопловым аппаратом и рабочим колесом турбины, воздухо-воздушным теплообменником, размещенным в наружном контуре на кожухе камеры сгорания, выполненные перед входом в охлаждающий тракт турбины перекрывающие устройства, агрегат управления, а перекрывающие устройства выполнены в виде расположенных по окружности неуравновешенных клапанов обратного хода со ступенчатыми поршнями, с большими диаметрами в надпоршневых полостях, с коаксиальными корпусами, установленными в радиальных соосных отверстиях, выполненных в наружном корпусе и внутренней обечайке, дросселирующие сечения клапанов размещены в полости коллектора охлаждающего воздуха, образованного наружным корпусом и внутренней обечайкой, а запирающая часть подпружиненного шток-поршня агрегата управления установлена на воздухопроводах, соединяющих подпоршневые полости клапанов и командный коллектор с коллектором охлаждающего воздуха или с полостью мотогондолы, у воздухо-воздушного теплообменника вход сообщен с зоной вторичного воздуха камеры сгорания, а выход – с коллектором охлаждающего воздуха, отличающийся тем, что между входом в воздухо-воздушный теплообменник и сопловой аппарат турбины установлен, по меньшей мере, один источник вынужденных колебаний давления охлаждающего воздуха, выполненный в виде пояса из ряда акустических излучателей, закрепленных на кожухе камеры сгорания и направленных выходами в полость соплового аппарата, рабочего колеса турбины и воздухо-воздушного теплообменника.
4. Двигатель по п.3, отличающийся тем, что дополнительно теплообменная матрица воздухо-воздушного теплообменника выполнена из частей с четным числом ходов охлаждаемого воздуха, сообщенных их смежными сторонами кольцевой полостью с установленным в ней, по меньшей мере, одним источником вынужденных колебаний давления охлаждающего воздуха, выполненным в виде пояса из ряда акустических излучателей, образующих перекрывающее устройство.
5. Двигатель по п.4, отличающийся тем, что в надпоршневой области клапана установлен упругий элемент, выполненный в виде пружины, шарнирно закрепленный на ступенчатом поршне и крышке, при этом торец ступенчатого поршня располагают на расстоянии от седла клапана, равном части от хода ступенчатого поршня, а усилие пружины на растяжение и сжатие равно массе ступенчатого поршня.
6. Двигатель по п.5, отличающийся тем, что клапан снабжен противоударным воздушным демпфером хода ступенчатого поршня, при этом на ступенчатом поршне, по меньшей мере, со стороны его большего диаметра образована промежуточная полость, отделенная от надпоршневой полости стенкой и сообщенная каналом с полостью высокого давления у седла клапана, а с другой стороны – рядом торцевых каналов с надпоршневой полостью у зоны контакта с крышкой клапана.
7. Двигатель по п.6, отличающийся тем, что демпфер хода выполнен с обоих торцов поршня, для чего внутри него дополнительно установлен канал с коллектором, закрепленным у меньшего диаметра, сообщающим через торцевые отверстия надпоршневую полость с зоной контакта у седла клапана.
РИСУНКИ
TH4A – Переиздание описания изобретения к патенту Российской Федерации
Причина переиздания: Коррекция библиографических данных
Извещение опубликовано: 10.08.2007 БИ: 22/2007
|
|