|
(21), (22) Заявка: 2005123498/12, 25.07.2005
(24) Дата начала отсчета срока действия патента:
25.07.2005
(46) Опубликовано: 20.03.2007
(56) Список документов, цитированных в отчете о поиске:
RU 2175707 C1, 10.11.2001. ЕА 000981 В1, 28.08.2000. RU 2211904 С1, 10.09.2003. RU 2180936 C1, 27.03.2002. US 6345847 B1, 12.02.2002.
Адрес для переписки:
109507, Москва, ул. Ферганская, 25/1, а/я 60, ЗАО “ИПК “СТРАЖ”, В.М. Синицыну
|
(72) Автор(ы):
Крылов Виктор Владимирович (RU), Горнов Сергей Федорович (RU), Полоротов Михаил Юрьевич (RU), Синицын Владимир Михайлович (RU)
(73) Патентообладатель(и):
Закрытое акционерное общество “Инженерный Промышленный Концерн “СТРАЖ” (RU)
|
(54) ЗАПОРНО-ПЛОМБИРОВОЧНОЕ УСТРОЙСТВО
(57) Реферат:
Изобретение относится к запирающим устройствам специального назначения и может быть использовано для запирания и одновременного пломбирования дверей крытых грузовых вагонов, контейнеров, люков цистерн и т.п. 3апорно-пломбировочное устройство содержит канат и корпус с пропускным каналом для размещения в нем каната, по меньшей мере, один размещенный в корпусе подпружиненный стопорный элемент для фиксации каната. На входе в пропускной канал выполнена в направлении введения каната входная полость с установленной в ней защитной втулкой и предохранительная камера. Площадь поперечного сечения входной полости превышает площадь поперечного сечения предохранительной камеры. Площадь поперечного сечения предохранительной камеры превышает площадь поперечного сечения пропускного канала. Продольные оси входной полости с установленной в ней защитной втулкой и предохранительной камеры смещены относительно оси пропускного канала с образованием протищупового уступа на входе в пропускной канал. Изобретение позволит повысить степень защиты запорно-пломбировочного устройства от его несанкционированного вскрытия и обеспечить надежность его замыкания. 14 з.п. ф-лы, 3 ил.
Изобретение относится к запирающим устройствам специального назначения и может быть использовано для закрытия и одновременного пломбирования дверей крытых грузовых железнодорожных вагонов, контейнеров, люков цистерн и т.п.
Известна пломба, содержащая канат и корпус с пропускным каналом для размещения в нем каната, подпружиненные шарики, установленные в корпусе в наклонной полости, выполненной под углом к пропускному каналу (см. RU 2175707 С1, 10.11.2001).
При силовом несанкционированном извлечении каната из пропускного канала его удалению препятствуют подпружиненные шарики, взаимодействующие с канатом за счет сил трения, но которые могут быть отжаты посредством инструмента, вставленного в пропускной канал.
Таким образом, недостатком данного известного устройства является его слабая защищенность от криминального воздействия.
Известна также пломба, содержащая канат и корпус для размещения в нем каната. В корпусе выполнена выборка, в которой установлена гильза с конической внутренней поверхностью. В полости гильзы размещен подпружиненный сепаратор со стопорными шариками для фиксации каната. На входе гильзы установлена шайба, отверстие которой имеет профильную форму, повторяющую форму поперечного сечения каната (см. Евразийский патент 000981 В1, 28.08.2000).
При попытке силового извлечения каната из корпуса сепаратор перемещается в сторону уменьшения диаметра конической полости гильзы и шарики, перемещаясь в отверстиях сепаратора, еще сильнее зажимают канат.
Выступы профильного отверстия шайбы предназначены для создания препятствия при введении внутрь гильзы инструмента для воздействия на пружины сепаратора с целью их отжатия.
Однако конструктивные особенности профильной шайбы вызывают сложности при замыкании пломбы в связи с необходимостью ориентирования каната относительно выступов этой шайбы, так как при пропускании каната через профильное отверстие шайбы, в ряде случаев, происходит закусывание выступами шайбы прядей каната, что приводит к невозможности протягивания каната через корпус устройства, вследствие чего операцию пропускания каната необходимо повторять многократно для совпадения выступов шайбы с промежутками прядей каната.
Кроме того, в данной конструкции не обеспечена надежная защита пломбы от несанкционированного извлечения каната из корпуса, в котором он удерживается, поскольку профильная шайба является плоской и не является серьезным препятствием на пути инструмента, осуществляющего отжатие стопорных шариков через технологические зазоры между ней и канатом, при криминальном воздействии на пломбу.
Техническим результатом предложенного изобретения является повышение надежности замыкания запорно-пломбировочного устройства и повышение степени защиты запорно-пломбировочного устройства от его несанкционированного вскрытия.
Указанный технический результат достигается за счет того, что в запорно-пломбировочном устройстве, содержащем канат и корпус с пропускным каналом для размещения в нем каната, по меньшей мере, один размещенный в корпусе подпружиненный стопорный элемент для фиксации каната, на входе в пропускной канал выполнены одна за другой в направлении введения каната входная полость с установленной в ней защитной втулкой и предохранительная камера, при этом площадь поперечного сечения входной полости превышает площадь поперечного сечения предохранительной камеры, а площадь поперечного сечения предохранительной камеры превышает площадь поперечного сечения пропускного канала.
Кроме того, входная полость и наружная поверхность защитной втулки выполнены цилиндрическими или коническими.
Кроме того, входная полость и наружная поверхность защитной втулки выполнены таким образом, что в поперечном сечении имеют форму многоугольника.
Кроме того, входная полость и наружная поверхность защитной втулки выполнены таким образом, что в поперечном сечении имеют форму квадрата.
Кроме того, предохранительная камера выполнена цилиндрической.
Кроме того, внутренний диаметр защитной втулки равен внутреннему диаметру пропускного канала.
Кроме того, продольные оси входной полости и предохранительной камеры смещены относительно оси пропускного канала с образованием противощупового уступа на входе в пропускной канал.
Кроме того, входная полость и предохранительная камера выполнены соосными.
Кроме того, ось симметрии входной полости расположена под углом к оси пропускного канала.
Кроме того, в корпусе под углом к пропускному каналу выполнена наклонная полость, в которой установлен, по меньшей мере, один упомянутый подпружиненный стопорный элемент.
Кроме того, входная полость и предохранительная камера выполнены соосными таким образом, что их ось смещена относительно оси пропускного канала по направлению к наклонной полости.
Кроме того, входная полость расположена под углом к пропускному каналу таким образом, что острый угол, образованный между осью пропускного канала и осью наклонной полости, превышает острый угол, образованный между осью наклонной полости и осью входной полости.
Кроме того, в корпусе под углом к пропускному каналу на различном расстоянии от входа в него выполнены наклонные полости, в каждой из которых установлен, по меньшей мере, один упомянутый подпружиненный стопорный элемент.
Кроме того, входная полость и предохранительная камера выполнены соосными таким образом, что их оси смещены относительно оси пропускного канала по направлению к ближней к входу в пропускной канал наклонной полости.
Кроме того, входная полость расположена под углом к пропускному каналу таким образом, что острый угол, образованный между осью пропускного канала и осью ближней к входу в пропускной канал наклонной полости, превышает острый угол, образованный между осью этой наклонной полости и осью входной полости.
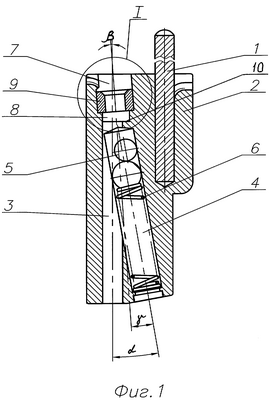
Изобретение иллюстрируется чертежами, где на фиг.1 изображено запорно-пломбировочное устройство, общий вид; на фиг.2, 3 изображен вид I на фиг.1 при различных вариантах относительного размещения входной полости, предохранительной камеры и пропускного канала.
Запорно-пломбировочное устройство (на фиг.1) содержит канат 1 и корпус 2 с пропускным каналом 3 для размещения в нем каната 1. При этом один из концов каната закреплен в корпусе 2.
В корпусе 2 под углом к пропускному каналу 3 выполнена наклонная полость 4, в которой установлены выполненные в виде шариков 5 стопорные элементы для фиксации каната 1. Шарики 5 подпружинены пружинами 6, также установленными в наклонной полости 4.
На входе в пропускной канал 3 выполнены одна за другой в направлении введения каната 1 входная полость 7 и предохранительная камера 8. Во входной полости 7 установлена защитная втулка 9. Площадь поперечного сечения входной полости 7 превышает площадь поперечного сечения предохранительной камеры 8, а площадь поперечного сечения предохранительной камеры 8 превышает площадь поперечного сечения пропускного канала 3.
Внутренний диаметр защитной втулки 9 равен внутреннему диаметру пропускного канала 3.
Продольные оси входной полости 7 и предохранительной камеры 8 могут быть смещены относительно оси пропускного канала 3 с образованием противощупового уступа 10 на входе в пропускной канал 3 (фиг.2).
Продольные оси входной полости 7 и предохранительной камеры 8 смещены относительно оси пропускного канала 3 и входная полость 7 расположена под углом к пропускному каналу таким образом, что острый угол , образованный между осью пропускного канала 3 и осью наклонной полости 4, превышает острый угол , образованный между осью наклонной полости 4 и осью входной полости 7.
В частных случаях реализации изобретения входная полость 7 и наружная поверхность защитной втулки 9 выполнены цилиндрическими или коническими.
Кроме того, входная полость 7 и наружная поверхность защитной втулки 9 могут быть выполнены таким образом, что в поперечном сечении имеют форму многоугольника, в частности форму квадрата.
Кроме того, входная полость 7 и предохранительная камера 8 могут быть выполнены соосными таким образом, что их ось смещена относительно оси пропускного канала 3, в частности по направлению к наклонной полости 4 (фиг.2).
Кроме того, входная полость 7 и предохранительная камера 8 могут быть выполнены соосными, а их общая ось симметрии расположена под углом к оси пропускного канала 3 (фиг.3).
Кроме того, в корпусе 2 под углом к пропускному каналу 3 на различном расстоянии от входа в него могут быть выполнены наклонные полости 4, в каждой из которых установлен, по меньшей мере, один подпружиненный стопорный элемент, например шарик 5 (на чертежах не показано).
В этом случае, возможно такое выполнение устройства, при котором входная полость 7 и предохранительная камера 8 выполнены соосными таким образом, что их оси смещены относительно оси пропускного канала 3 по направлению к ближней к входу в пропускной канал наклонной полости 4.
Кроме того, возможно такое выполнение устройства, при котором входная полость 7 расположена под углом к пропускному каналу 3 таким образом, что острый угол , образованный между осью пропускного канала 3 и осью ближней к входу в пропускной канал наклонной полости, превышает острый угол , образованный между осью этой наклонной полости и осью входной полости.
Запирание пломбы осуществляется следующим образом.
Свободный конец каната 1 вводят последовательно во входную полость 7, во внутреннее отверстие защитной втулки 9, установленной во входной полости, в предохранительную камеру 8 и пропускной канал 3. Под воздействием свободного конца каната шарики 5 поджимают пружину 6, освобождая проход для каната. Образовавшуюся петлю каната 1 затягивают до образования петли минимального размера.
При попытке несанкционированного силового извлечения каната 1 из корпуса 2 шарики 5 под действием пружины 6 перемещаются к выходу из наклонной полости 4, воздействие шариков на канат 1 усиливается, что препятствует извлечению каната из проходного канала 3.
Отклонение оси входной полости 7 вызывает дополнительный изгиб размещаемого каната 1, что приводит к усилению фиксации каната 1 в корпусе 2.
Если, при попытке несанкционированного силового извлечения каната 1 из корпуса 2 будет осуществляться введение инструмента в пропускной канал и технологические зазоры для воздействия на шарики 5 с целью их отжатия и последующего беспрепятственного извлечения каната, то инструмент столкнется на своем пути с препятствием, образованным выступами предохранительной камеры в месте ее сообщения с пропускным каналом. В этом случае исключен контакт инструмента со стопорными элементам. Отклонение оси входной полости 7 усиливает отклонение инструмента в направлении от стопорных элементов.
Конструктивные особенности данного изобретения позволят обеспечить надежную защиту запорно-пломбировочного устройства от несанкционированного извлечения каната из корпуса, в котором он удерживается.
Таким образом, изобретение позволит повысить степень защиты запорно-пломбировочного устройства от его несанкционированного вскрытия.
Формула изобретения
1. Запорно-пломбировочное устройство, содержащее канат и корпус с пропускным каналом для размещения в нем каната, по меньшей мере, один размещенный в корпусе подпружиненный стопорный элемент для фиксации каната, отличающееся тем, что на входе в пропускной канал выполнены одна за другой в направлении введения каната входная полость с установленной в ней защитной втулкой и предохранительная камера, при этом площадь поперечного сечения входной полости превышает площадь поперечного сечения предохранительной камеры, а площадь поперечного сечения предохранительной камеры превышает площадь поперечного сечения пропускного канала.
2. Запорно-пломбировочное устройство по п.1, отличающееся тем, что входная полость и наружная поверхность защитной втулки выполнены цилиндрическими или коническими.
3. Запорно-пломбировочное устройство по п.1, отличающееся тем, что входная полость и наружная поверхность защитной втулки выполнены таким образом, что в поперечном сечении имеют форму многоугольника.
4. Запорно-пломбировочное устройство по п.3, отличающееся тем, что входная полость и наружная поверхность защитной втулки выполнены таким образом, что в поперечном сечении имеют форму квадрата.
5. Запорно-пломбировочное устройство по любому из пп.1-4, отличающееся тем, что предохранительная камера выполнена цилиндрической.
6. Запорно-пломбировочное устройство по любому из пп.1-4, отличающееся тем, что внутренний диаметр защитной втулки равен внутреннему диаметру пропускного канала.
7. Запорно-пломбировочное устройство по любому из пп.1-4, отличающееся тем, что продольные оси входной полости и предохранительной камеры смещены относительно оси пропускного канала с образованием противощупового уступа на входе в пропускной канал.
8. Запорно-пломбировочное устройство по п.7, отличающееся тем, что входная полость и предохранительная камера выполнены соосными.
9. Запорно-пломбировочное устройство по любому из пп.1-4, отличающееся тем, что ось симметрии входной полости расположена под углом к оси пропускного канала.
10. Запорно-пломбировочное устройство по любому из пп.1-4, отличающееся тем, что в корпусе под углом к пропускному каналу выполнена наклонная полость, в которой установлен, по меньшей мере, один упомянутый подпружиненный стопорный элемент.
11. Запорно-пломбировочное устройство по п.10, отличающееся тем, что входная полость и предохранительная камера выполнены соосными таким образом, что их ось смещена относительно оси пропускного канала по направлению к наклонной полости.
12. Запорно-пломбировочное устройство по п.10, отличающееся тем, что входная полость расположена под углом к пропускному каналу таким образом, что острый угол, образованный между осью пропускного канала и осью наклонной полости, превышает острый угол, образованный между осью наклонной полости и осью входной полости.
13. Запорно-пломбировочное устройство по любому из пп.1-4, отличающееся тем, что в корпусе под углом к пропускному каналу на различном расстоянии от входа в него выполнены наклонные полости, в каждой из которых установлен, по меньшей мере, один упомянутый подпружиненный стопорный элемент.
14. Запорно-пломбировочное устройство по п.13, отличающееся тем, что входная полость и предохранительная камера выполнены соосными таким образом, что их оси смещены относительно оси пропускного канала по направлению к ближней к входу в пропускной канал наклонной полости.
15. Запорно-пломбировочное устройство по п.13, отличающееся тем, что входная полость расположена под углом к пропускному каналу таким образом, что острый угол, образованный между осью пропускного канала и осью, ближней к входу в пропускной канал наклонной полости, превышает острый угол, образованный между осью этой наклонной полости и осью входной полости.
РИСУНКИ
|