|
| На основании пункта 3 статьи 13 Патентного закона Российской Федерации от 23 сентября 1992 г. № 3517-I патентообладатель обязуется передать исключительное право на изобретение (уступить патент) на условиях, соответствующих установившейся практике, лицу, первому изъявившему такое желание и уведомившему об этом патентообладателя и федеральный орган исполнительной власти по интеллектуальной собственности, – гражданину РФ или российскому юридическому лицу. |
|
(21), (22) Заявка: 2005128755/12, 16.09.2005
(24) Дата начала отсчета срока действия патента:
16.09.2005
(46) Опубликовано: 20.03.2007
(56) Список документов, цитированных в отчете о поиске:
RU 2247207 С2, 27.02.2005. RU 2161684 C1, 10.01.2001. RU 2206689 C1, 20.06.2003. RU 2205930 C1, 10.06.2003. FR 2711713 A1, 05.05.1995. FR 2858001 A1, 28.01.2005. DE 3739022 A1, 30.06.1988.
Адрес для переписки:
140093, Московская обл., г. Дзержинский, а/я 48, А.И. Максимову
|
(72) Автор(ы):
Максимов Александр Иванович (RU)
(73) Патентообладатель(и):
Максимов Александр Иванович (RU)
|
(54) РИГЕЛЬ
(57) Реферат:
Изобретение относится к скобяным изделиям, в частности к конструкции ригеля, и может быть широко использовано при изготовлении замков и запорных систем для предотвращения несанкционированного доступа. Ригель содержит подвижную и неподвижную части. Неподвижная часть образована корпусом с направляющей. Подвижная часть образована головкой и хвостовиком, скрепленными друг с другом, и установлена с возможностью возвратно-поступательного перемещения вдоль неподвижной части на величину хода перемещения посредством элементов трения качения и/или элементов трения скольжения и опорных элементов для их фиксации. Ригель содержит накладные элементы, образованные уголком или пластиной, или швеллером, или трубой, для повышения жесткости и прочности головки, крепежные изделия, образующие друг с другом соединения винт-гайка, для скрепления установленных на расстоянии друг от друга листов, составляющих хвостовик и головку, и распорные втулки, имеющие торцевые поверхности. Головка образована краями листов с закрепленными на них накладными элементами. Распорные втулки размещены в полости и частично в сквозных отверстиях и установлены коаксиально относительно крепежных изделий. Изобретение может быть широко использовано при изготовлении замков. 1 з.п. ф-лы, 6 ил.
Изобретение относится к скобяным изделиям, в частности к конструкции ригеля, и может быть широко использовано при изготовлении замков и запорных систем для предотвращения несанкционированного доступа.
Известен ригель, содержащий подвижную и неподвижную части, сообщенные друг с другом, причем подвижная часть образована головкой и хвостовиком, скрепленными друг с другом, а неподвижная часть образована корпусом с направляющей, при этом подвижная часть сообщена с корпусом и установлена с возможностью возвратно-поступательного перемещения вдоль неподвижной части на величину хода перемещения посредством элементов трения качения и/или элементов трения скольжения и опорных элементов для их фиксации, причем последние закреплены, по меньшей мере, на одном листе подвижной части, а элементы трения качения и/или элементы скольжения размещены в полости между корпусом и опорными элементами (RU 2247207 С2).
Задача, на решение которой направлено заявляемое техническое решение, состоит в расширении арсенала технических средств определенного назначения, в частности создание ригеля новой конструкции.
Технический результат, который может быть при этом получен, заключается в реализации указанного назначения – расширение арсенала технических средств определенного назначения, в частности создание ригеля новой конструкции.
Сущность заявляемого устройства заключается в том, что ригель, содержащий подвижную и неподвижную части, сообщенные друг с другом, причем подвижная часть образована головкой и хвостовиком, скрепленными друг с другом, а неподвижная часть образована корпусом с направляющей, при этом подвижная часть сообщена с корпусом и установлена с возможностью возвратно-поступательного перемещения вдоль неподвижной части на величину хода перемещения посредством элементов трения качения и/или элементов трения скольжения и опорных элементов для их фиксации, причем последние закреплены, по меньшей мере, на одном листе подвижной части, а элементы трения качения и/или элементы трения скольжения размещены в полости между корпусом и опорными элементами, согласно изобретению, снабжен накладными элементами для повышения жесткости и прочности головки, крепежными изделиями, образующими друг с другом соединение винт-гайка, для скрепления установленных на расстоянии друг от друга с образованием полости листов, составляющих хвостовик и головку, причем последняя образована краями листов с закрепленными на них накладными элементами, установленными друг против друга с образованием паза для размещения в нем запорного элемента, и распорными втулками, имеющими торцевые поверхности, размещенными в полости между листами и частично в отверстиях корпуса, расположенного в той же полости, при этом распорные втулки установлены коаксиально относительно крепежных изделий так, что их торцевые поверхности взаимодействуют с листами.
Каждый из накладных элементов образован уголком или пластиной, или швеллером, или трубой, или прутком.
Именно предлагаемое исполнение конструкции ригеля обеспечивает расширение арсенала технических средств определенного назначения путем создания новой конструкции ригеля, которая позволяет вынести суждение о достижении указанного технического результата благодаря наличию новых конструктивных элементов и новой функциональной взаимосвязи между ними.
Из приведенного перечня признаков заявляемого ригеля и решения поставленной задачи наглядно видно, что заявляемое техническое решение представляют собой новую совокупность признаков, как сочетание известных и новых признаков, обеспечивающих получение нового технического результата, неизвестного на дату подачи заявки. Новый технический результат, который может быть получен при осуществлении изобретения, заключается в расширении арсенала технических средств для конструкции ригеля.
Заявляемый объект промышленно применим, т.к. может быть использован в строительстве, промышленности, сельском хозяйстве и других отраслях народного хозяйства, где используются замки, запорные системы и их составные части. Для изготовления ригеля могут быть использованы известные средства и методы, используемые в машиностроении при изготовлении деталей и узлов, преимущественно, из стального металлопроката. Ряд деталей ригеля могут быть изготовлены из стандартизованного металлопроката известными методами. С использованием известных средств и методов действительно возможно осуществление изобретения в том виде, как оно охарактеризовано в формуле изобретения.
Техническое решение заявляемого объекта соответствует критерию “новизна”, т.к. оно не известно из уровня техники на дату подачи заявки. Не известна из уровня техники совокупность существенных признаков заявляемого технического решения и их влияние на получение требуемого технического результата.
Техническое решение заявляемого ригеля соответствует критерию “изобретательский уровень”, т.к. не выявлены решения, имеющие признаки, совпадающие с его отличительными признаками, и не обнаружена известность влияния отличительных признаков на получаемый технический результат. Между существенными признаками заявляемого объекта и достигаемым техническим результатом существует причинно-следственная связь.
Таким образом, заявляемое техническое решение – “Ригель” соответствует всем критериям, предъявляемым к изобретению, и обеспечивает получение нового технического результата.
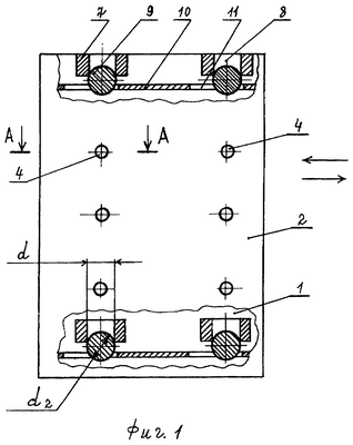
На фиг.1 – показан общий вид ригеля; на фиг.2 – сечение А-А фиг.1 в увеличенном виде; на фиг.3 – общий вид корпуса ригеля (вид спереди); на фиг.4 – сечение Б-Б фиг.2 (вариант 1); на фиг.5 – сечение Б-Б фиг.2 (вариант 2); на фиг.6 – вид В на фиг.3.
Ригель содержит подвижную и неподвижную части сообщенные между собой, причем подвижная часть образована головкой и хвостовиком, которые скреплены друг с другом и включает: листы 1, 2 (см. фиг.1, 2) с краями и сквозными отверстиями 14 (см. фиг.4) (сквозные отверстия 14 выполнены на листе 2 и аналогичные сквозные отверстия выполнены на листе 1, но условно поз. не обозначены в силу очевидности), полость 3 толщиной, равной h1, крепежные изделия 4, 5, скрепленные друг с другом и образующие соединения винт-гайка, причем крепежные изделия 5 являются гайками со сквозными отверстиями 13 (они необходимы для захвата и последующего поворота крепежного изделия), а крепежные изделия 4 являются винтами, распорные втулки с торцевыми поверхностями 6, которые имеют длину, равную h1 и толщину, равную d1, опорные элементы 7 со сквозными отверстиями 8 с диаметром, равным d, и фиксаторы 15 (см. фиг.3, их может и не быть), накладные элементы 16, 17 и паз 18 шириной, равной h7, а неподвижная часть образована корпусом 10 (см. фиг.1-3) со сквозными отверстиями 12, каждое из которых имеет высоту, равную h6, и ширину, равную h5, с направляющей, причем направляющая образована в виде отдельных отверстий 11 (см. фиг.1, 3, 6) длиной, равной h4, и шириной, равной h3 (на корпусе 10, в качестве примера, показано четыре отверстия 11). Корпус 10 образован в виде, по меньшей мере, двух вертикальных стоек, выполненных, преимущественно, из труб, которые отстоят друг от друга на некотором расстоянии и скреплены друг с другом посредством горизонтально ориентированных соединительных элементов, выполненных, преимущественно, из швеллеров или труб, на которых выполнены сквозные отверстия 12. Ригель содержит в своем составе элементы трения качения или/и элементы трения скольжения 9 (на фиг.1 в качестве указанных элементов, для примера, показаны элементы трения качения, образованные шарами (шариками) с диаметром, равным d2. Наибольший практический интерес представляют элементы трения скольжения (на фиг.1 их показано четыре штуки) с точки зрения эффективности эксплуатации ригеля и срока службы указанного изделия. В качестве элементов трения могут быть использованы стандартизованные шарики или ролики, как элементы подшипников качения. В качестве элементов трения скольжения могут быть использованы ролики, размещенные вдоль направления перемещения подвижной части ригеля, при этом ролики не будут вращаться и они будут реализовывать процесс трения скольжения. В конструкции ригеля могут быть использованы одновременно элементы трения скольжения и трения качения, например два ролика и два шарика, в этом случае будут одновременно реализовываться процессы трения скольжения и трения качения. Таким образом, заявителем доказана возможность использования в формуле изобретения словесной конструкции “или/и”.
Подвижная часть, образованная головкой и хвостовиком, сообщена с неподвижной частью (корпусом) и установлена с возможностью возвратно-поступательного перемещения вдоль последней на величину, равную ходу перемещения – h. Хвостовик образован листами 1 и 2, которые установлены друг против друга на расстоянии, равном h1, согласно фиг.2, и скреплены друг с другом с образованием полости 3, причем размер h1 определен между поверхностями листов 1 и 2, обращенными в сторону полости 3 и в связи с этим толщина полости 3 равна h1. Листы 1 и 2 с краями скреплены друг с другом, например, крепежными изделиями 4 и 5, согласно фиг.2, причем крепежные изделия 4 образованы винтами или болтами, а крепежные изделия 5 образованы гайками с резьбовыми участками. Крепежные изделия 4 и 5 размещены соосно друг напротив друга и взаимодействуют друг с другом посредством резьбовых поверхностей и образуют разъемное соединение винт-гайка. Головка образована краями листов 1 и 2 с закрепленными на них накладными элементами 16, 17 (см. фиг.2), установленными друг против друга на расстоянии, равном h7, т.е. между накладными элементами 16, 17 образован паз 18, ширина которого равна h7 согласно фиг.2, причем h7 меньше h1. Один из накладных элементов 16 образован уголком или пластиной или швеллером или трубой или прутком, а другой накладной элемент 17 образован уголком или пластиной или швеллером или трубой или прутком (на фиг.2, в качестве примера, показан вариант, когда накладной элемент 16 и накладной элемент 17 выполнен в виде уголка, а другие варианты условно не показаны в силу очевидности и простоты). Накладные элементы 16 и 17 закреплены к краям листов 1 и 2 посредством заклепок или/и сварных швов и предназначены для повышения жесткости и прочности головки ригеля (рабочей части ригеля). Материал накладных элементов 16 и 17 – преимущественно сталь в виде стандартизованных профилей, указанных выше. Паз 18 предназначен для взаимодействия головки с запорным элементом, т.е. при взаимодействии головки с запорным элементом последний размещают в пазу 18.
Распорные втулки 6 (см. фиг.2), имеющие длину, равную h1, размещены в полости 3 и установлены коаксиально крепежным изделиям 4 и 5, причем торцевые части распорных втулок 6 контактируют с поверхностями листов 1 и 2 и обеспечивают расположение листов 1 и 2 относительно друг друга на расстоянии, равном h1. Опорные элементы 7 (см. фиг.1) со сквозными отверстиями 8 закреплены, по меньшей мере, к одному листу 1 или 2, причем d меньше d2. Элементы трения качения или/и элементы трения скольжения 9 размещены в полости 3 между корпусом 10 и опорными элементами 7 и взаимодействуют с краями отверстий 11, длина которых равна h4, а ширина равна h3 (см. фиг.6), причем h3 меньше d2, а h4 равна или больше (h+d2), где h – ход перемещения подвижной части относительно неподвижной части. Толщина неподвижной части, т.е. корпуса 10 – h2, причем h2 меньше h1. Листы 1 и 2 выполнены, преимущественно, из стали и имеют толщину, преимущественно, – 2,5-4 мм. Корпус 10 (см. фиг.1, 4) образован, преимущественно, из стали и содержит в своем составе вертикальные и горизонтальные участки. Для изготовления корпуса 10 могут быть использованы стандартизованные – труба или уголок или швеллер, а также разные их сочетания. Отверстия 11 образованы на горизонтальных участках корпуса 10. Крепежные изделия 4, 5 проходят через сквозные отверстия, выполненные в листах 1 и 2 и обеспечивают соединение листов 1 и 2 друг с другом. Для обеспечения более эффективного завинчивания крепежных изделий 5 (гайки) и формирования соединения винт-гайка крепежные изделия 4 не должны при этом проворачиваться в сквозных отверстиях 14 (см. фиг.4). Для обеспечения данного свойства отверстия 14 и ответные части крепежных изделий 4 (винтов или болтов) выполняются не круглой формы (см. фиг.4) или используют фиксаторы 15 (см. фиг.5); h5 равен сумме d1 плюс h, где h – ход перемещения подвижной части относительно неподвижной части.
Ригель работает следующим образом. Для перемещения подвижной части ригеля относительно неподвижной его части закрепляют неподвижную часть, т.е. корпус 10, к опорной поверхности, а затем перемещают подвижную часть относительно неподвижной части (направление перемещения на фиг.1 показано стрелками) на величину хода – h, в результате такого перемещения элементы, например, качения 9 прокручиваясь и взаимодействуя с краями отверстий 11 и сквозных отверстий 8 переместятся совместно с подвижной частью, а внешняя поверхность одной из распорных втулок 6 (см. фиг.2) войдет во взаимодействие с краем сквозного отверстия 12. Одна из распорных втулок 6 выполняет функцию ограничителя перемещения подвижной части ригеля относительно его неподвижной части на величину, равную ходу перемещения – h. В предложенной конструкции ригеля обеспечивается перемещение подвижной части относительно неподвижной части на заданную величину – h. Кроме того, предложенный ригель имеет повышенные прочностные свойства, которые обеспечиваются определенным выполнением корпуса, головки с накладными элементами, хвостовика в виде двух скрепленных друг с другом листов, а также определенной функциональной взаимосвязью отдельных элементов конструкции, которые описаны выше.
В результате предложенных конструктивных особенностей отдельных элементов ригеля, а также их размещения относительно друг друга обеспечивается новая функциональная связь элементов ригеля и достижение нового технического результата.
Таким образом, заявляемое техническое решение обеспечивает достижение поставленной задачи и получение нового технического результата.
Формула изобретения
1. Ригель, содержащий подвижную и неподвижную части, сообщенные друг с другом, причем подвижная часть образована головкой и хвостовиком, скрепленными друг с другом, а неподвижная часть образована корпусом с направляющей, при этом подвижная часть сообщена с корпусом и установлена с возможностью возвратно-поступательного перемещения вдоль неподвижной части на величину хода перемещения посредством элементов трения качения и/или элементов трения скольжения и опорных элементов для их фиксации, причем последние закреплены, по меньшей мере, на одном листе подвижной части, а элементы трения качения и/или элементы трения скольжения размещены в полости между корпусом и опорными элементами, отличающийся тем, что он снабжен накладными элементами для повышения жесткости и прочности головки, крепежными изделиями, образующими друг с другом соединение винт-гайка, для скрепления установленных на расстоянии друг от друга с образованием полости листов, составляющих хвостовик и головку, причем последняя образована краями листов с закрепленными на них накладными элементами, установленными друг против друга с образованием паза для размещения в нем запорного элемента, и распорными втулками, имеющими торцевые поверхности, размещенными в полости между листами и частично в отверстиях корпуса, расположенного в той же полости, при этом распорные втулки установлены коаксиально относительно крепежных изделий так, что их торцевые поверхности взаимодействуют с листами.
2. Ригель по п.1, отличающийся тем, что каждый из накладных элементов образован уголком, или пластиной, или швеллером, или трубой, или прутком.
РИСУНКИ
|
|