|
| На основании пункта 3 статьи 13 Патентного закона Российской Федерации от 23 сентября 1992 г. № 3517-I патентообладатель обязуется передать исключительное право на изобретение (уступить патент) на условиях, соответствующих установившейся практике, лицу, первому изъявившему такое желание и уведомившему об этом патентообладателя и федеральный орган исполнительной власти по интеллектуальной собственности, – гражданину РФ или российскому юридическому лицу. |
|
(21), (22) Заявка: 2005127673/12, 05.09.2005
(24) Дата начала отсчета срока действия патента:
05.09.2005
(46) Опубликовано: 20.03.2007
(56) Список документов, цитированных в отчете о поиске:
RU 2247207 С2, 27.02.2005. RU 2161684 C1, 10.01.2001. RU 2206689 C1, 20.06.2003. RU 2205930 C1, 10.06.2003. FR 2711713 A1, 05.05.1995. FR 2858001 A1, 28.01.2005. DE 3739022 A1, 30.06.1988.
Адрес для переписки:
140093, Московская обл., г. Дзержинский, а/я 48, А.И. Максимову
|
(72) Автор(ы):
Максимов Александр Иванович (RU)
(73) Патентообладатель(и):
Максимов Александр Иванович (RU)
|
(54) РИГЕЛЬ
(57) Реферат:
Изобретения относятся к скобяным изделиям, в частности к конструкции ригеля, может быть широко использовано при изготовлении замков и запорных систем для предотвращения несанкционированного доступа. Ригель содержит подвижную и неподвижную части. Неподвижная часть образована корпусом с направляющей. Подвижная часть образована головкой и хвостовиком, скрепленными друг с другом, и установлена с возможностью возвратно-поступательного перемещения вдоль неподвижной части на величину, равную ходу перемещения, посредством элементов трения качения и/или элементов трения скольжения и опорных элементов для их фиксации. Опорные элементы закреплены, по меньшей мере, к одному листу. Элементы трения качения и/или элементы трения скольжения размещены между корпусом и опорными элементами. Головка и хвостовик образованы листами, установленными друг против друга на расстоянии и скрепленными друг с другом с образованием полости. Корпус размещен в полости между листами. Устройство для фиксации подвижной части ригеля относительно неподвижной его части образовано втулкой, стержнем с торцевой частью, рукояткой, ограничителем и кольцевой полостью с основанием. Стержень размещен во втулке с возможностью возвратно поступательного ограниченного перемещения. Рукоятка размещена на торцевой части стержня. Рукоятка и кольцевая полость размещены на стержне за пределами втулки. На одном из листов выполнены три отверстия, размещенные вдоль направления перемещения подвижной части относительно неподвижной части и сообщены друг с другом. Расстояние между центрами отверстий, имеющих диаметр, превышающий высоту отверстия, расположенного между упомянутыми отверстиями, равно ходу перемещения. Стержень установлен с возможностью ввода в отверстия с большими диаметрами в крайних положениях подвижной части относительно неподвижной части. Кольцевая полость установлена с возможностью размещения в отверстиях и ввода в нее части листа в положении, когда она размещена в отверстии, расположенном между двумя большими отверстиями. Ограничитель закреплен к стержню и установлен с возможностью взаимодействия с втулкой. Рукоятка размещена на торцевой части стержня. Рукоятка и кольцевая полость размещены на стержне за пределами втулки. Изобретение может быть использовано при изготовлении замков и запорных систем для предотвращения несанкционированного доступа. 9 ил.
Изобретение относятся к скобяным изделиям, в частности к конструкции ригеля, и может быть широко использованы при изготовлении замков и запорных систем для предотвращения несанкционированного доступа.
Известен ригель, содержащий подвижную и неподвижную части, сообщенные друг с другом, причем подвижная часть образована головкой и хвостовиком, скрепленными друг с другом, а неподвижная часть образована корпусом с направляющей, при этом подвижная часть установлена с возможностью возвратно-поступательного перемещения вдоль неподвижной части на величину хода перемещения посредством элементов трения качения и/или элементов трения скольжения и опорными элементами для их фиксации, опорные элементы прикреплены к, по меньшей мере, одному листу подвижной части, а элементы трения качения и/или элементы трения скольжения размещены между корпусом и опорными элементами (RU 2247207 С2).
Недостаток известного технического решения заключается в том, что оно имеет ограниченные функциональные возможности и не обеспечивает фиксацию подвижной части ригеля относительно его неподвижной части в крайних ее положениях.
Известное техническое решение является наиболее близким с заявляемым техническим решением как по совокупности существенных признаков, так и по достигаемому техническому результату.
Задача, на решение которой направлено заявляемое техническое решение, состоит в расширении арсенала технических средств определенного назначения, в частности создание новой конструкции ригеля с устройством для фиксации подвижной части ригеля относительно неподвижной его части.
Технический результат, который может быть при этом получен, заключается в реализации указанного назначения – расширение арсенала технических средств определенного назначения, в частности создание новой конструкции ригеля с устройством для фиксации подвижной части ригеля относительно неподвижной его части.
Сущность заявляемого устройства заключается в том, что ригель, содержащий подвижную и неподвижную части, сообщенные друг с другом, причем подвижная часть образована головкой и хвостовиком, скрепленными друг с другом, а неподвижная часть образована корпусом с направляющей, при этом подвижная часть установлена с возможностью возвратно-поступательного перемещения вдоль неподвижной части на величину хода перемещения посредством элементов трения качения и/или элементов трения скольжения и опорными элементами для их фиксации, опорные элементы прикреплены к, по меньшей мере, одному листу подвижной части, а элементы трения качения и/или элементы трения скольжения размещены между корпусом и опорными элементами, согласно изобретению, снабжен устройством фиксации подвижной части ригеля относительно неподвижной его части, которое образовано втулкой, стержнем с торцевой частью, рукояткой, ограничителем и кольцевой полостью с основанием, причем головка и хвостовик образованы листами, установленными на расстоянии друг от друга и скрепленными друг с другом с образованием полости, в которой размещен корпус, толщина корпуса меньше расстояния между листами, стержень размещен во втулке с возможностью возвратно-поступательного ограниченного перемещения, а ограничитель установлен с возможностью взаимодействия со втулкой, при этом рукоятка, размещенная на торцевой части стержня, и кольцевая полость размещены на стержне за пределами втулки, на одном из листов выполнены три отверстия, размещенные вдоль направления перемещения подвижной части относительно неподвижной части и сообщены друг с другом так, что расстояние между центрами отверстий, имеющих диаметр, превышающий высоту отверстия, расположенного между упомянутыми отверстиями, равно ходу перемещения, причем стержень установлен с возможностью ввода в отверстия с большим диаметром в крайних положениях подвижной части относительно неподвижной части, а кольцевая полость установлена с возможностью размещения в упомянутых трех отверстиях и ввода в нее части листа в положении, когда она размещена в отверстии, расположенном между двумя другими отверстиями.
Именно предлагаемое исполнение конструкции ригеля с устройством для фиксации подвижной части ригеля относительно неподвижной его части обеспечивает решение поставленной задачи по расширению арсенала технических средств определенного назначения путем создания новой конструкции ригеля с устройством для фиксации подвижной части ригеля относительно неподвижной его части, которые позволяют вынести суждение о достижении указанного технического результата благодаря наличию новых конструктивных элементов и наличию новой функциональной взаимосвязи между ними.
Из приведенного перечня признаков заявляемого ригеля с устройством для фиксации подвижной части ригеля относительно неподвижной его части и решения поставленной задачи наглядно видно, что заявляемое техническое решение представляет собой новую совокупность признаков как сочетание известных и новых признаков, обеспечивающих получение нового технического результата, неизвестного на дату подачи заявки. Новый технический результат, который может быть получен при осуществлении изобретения, заключается в расширении арсенала технических средств определенного назначения, а именно – конструкции ригеля с устройством для фиксации подвижной части ригеля относительно неподвижной его части (далее – устройство).
Заявляемый объект промышленно применим, т.к. может быть использован в строительстве, промышленности, сельском хозяйстве и других отраслях народного хозяйства, где используются замки и запорные системы. Для изготовления ригеля с устройством могут быть использованы известные средства и методы, используемые в машиностроении при изготовлении деталей и узлов из стального металле проката. Ряд деталей ригеля с устройством может быть изготовлен из стандартизованного металлопроката известными методами. С использованием известных средств и методов действительно возможно осуществление заявленного объекта в том виде, как он охарактеризован в формуле изобретения.
Техническое решение заявляемого объекта соответствует критерию “новизна”, т.к. оно неизвестно из уровня техники на дату подачи заявки. Не известна из уровня техники совокупность существенных признаков заявляемого технического решения и их влияние на получение требуемого технического результата.
Техническое решение заявляемого объекта соответствует критерию “изобретательский уровень”, т.к. не выявлены решения, имеющие признаки, совпадающие с его отличительными признаками, и не обнаружена известность влияния отличительных признаков на получаемый технический результат.
Таким образом, заявляемое техническое решение – “Ригель” соответствует всем критериям охраноспособности, предъявляемым к изобретению, и обеспечивает получение нового технического результата.
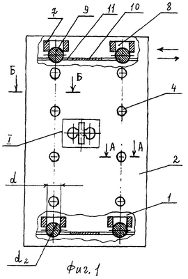
На фиг.1 – показан общий вид ригеля; на фиг.2 – сечение А-А фиг.1; на фиг.3 – сечение Б-Б фиг.1; на фиг.4 – общий вид неподвижной части, т.е. корпуса ригеля (вид спереди); на фиг.5 – вид В на фиг.4; на фиг.6 – фрагмент фиг.1 в увеличенном виде; на фиг.7 – сечение Г-Г фиг.6; на фиг.3 – общий вид устройства для фиксации подвижной части ригеля относительно неподвижной его части; на фиг.9 – вид Д на фиг.3 в увеличенном виде.
Ригель содержит подвижную и неподвижную части сообщенные между собой, причем подвижная часть образована головкой и хвостовиком, которые скреплены друг с другом и включает: листы 1, 2 (см. фиг.1-3), полость 3, крепежные элементы 4, 5, распорные втулки 6, опорные элементы 7 со сквозными отверстиями 8 с диаметром, равным d, отверстие 13 (см. фиг.6) с диаметром, равным D1, отверстие 14 с высотой, равной D, отверстие 15 с диаметром, равным D2, а неподвижная часть образована корпусом 10 (см. фиг.1, 4) с направляющей, горизонтальными участками и отверстием 12 (указанного отверстия может и не быть), причем направляющая образована в виде отдельных отверстий 11 (см. фиг.5) длиной, равной h4, и шириной, равной h3 (на корпусе 10, в качестве примера, показано четыре отверстия 11). Неподвижная часть также содержит в своем составе устройство, которое включает в себя стержень 18 (см. фиг.7) диаметром, равным d3, с торцевой частью, ограничителем 21, рукояткой 16 с отверстием 17 и кольцевой полостью 22 с основанием, толщиной, равной d1, втулку 19 с отверстием 20, длина которого обеспечивает перемещение стержня 18 относительно втулки 19 на величину, равную S1, согласно фиг.7, 8 и 9. Ригель содержит в своем составе элементы трения качения и/или элементы трения скольжения 9 (на фиг.1 в качестве указанных элементов, для примера, показаны элементы трения качения, образованные шарами (шариками) с диаметром, равным d2. Наибольший практический интерес представляют элементы трения скольжения (на фиг.1 их показано четыре штуки) с точки зрения эффективности эксплуатации ригеля и срока службы указанного изделия. В качестве элементов трения могут быть использованы стандартизованные шарики или ролики как элементы подшипников качения. В качестве элементов трения скольжения могут быть использованы ролики, размещенные вдоль направления перемещения подвижной части ригеля, при этом ролики не будут вращаться и они будут реализовывать процесс трения скольжения. В конструкции ригеля могут быть использованы одновременно элементы трения скольжения и трения качения, например два ролика и два шарика в этом случае будут одновременно реализовываться процессы трения скольжения и трения качения. Таким образом, заявителем доказана возможность использования в формуле изобретения словесной конструкции “и/или”.
Подвижная часть, образованная головкой и хвостовиком, сообщена с корпусом и установлена с возможностью возвратно-поступательного перемещения вдоль последней на величину, равную ходу перемещения h. Головка и хвостовик образованы листами 1 и 2, которые установлены друг против друга на расстоянии, равном h1, согласно фиг.2, скрепленными друг с другом с образованием полости 3, причем размер h1 определен между поверхностями листов 1 и 2, обращенными в сторону полости 3, и в связи с этим толщина полости 3 равна h1. Отверстия 13, 14 и 15 выполнены на хвостовике. Листы 1 и 2 скреплены друг с другом, например, крепежными элементами 4 и 5, причем крепежные элементы 4 образованы винтами или болями, а крепежные элементы 5 образованы гайками. Крепежные элементы 4 и 5 размещены соосно друг напротив друга и взаимодействуют друг с другом посредством резьбовых поверхностей и образуют разъемное соединение винт-гайка. Распорные втулки 6 (см. фиг.2), имеющие длину, равную h1, размещены в полости 3 и установлены коаксиально крепежным элементам 4 и 5, причем торцевые части распорных втулок 6 контактируют с поверхностями листов 1 и 2 и обеспечивают расположение листов 1 и 2 друг относительно друга на расстоянии, равном h1. Опорные элементы 7 (см. фиг.1) со сквозными отверстиями 8 закреплены, по меньшей мере, к одному листу 1 или 2, причем d меньше d2. Элементы трения качения и/или элементы трения скольжения 9 размещены между корпусом 10 и опорными элементами 7 и взаимодействуют с краями отверстий 11, длина которых равна h4, а ширина равна h3, причем h3 меньше d2, a h4 равна или больше (h+d2), где h ход перемещения подвижной части относительно неподвижной части. Толщина неподвижной части, т.е. корпуса 10 – h2, причем h2 меньше h1. Листы 1 и 2 выполнены, преимущественно, из стали и имеют толщину, преимущественно, 2-4 мм. Корпус 10 (см. фиг.1, 4) образован, преимущественно, из стали и содержит в своем составе вертикальные и горизонтальные участки. Для изготовления корпуса 10 могут быть использованы стандартизованные труба, или уголок, или швеллер, а также разные их сочетания. Отверстия 11 образованы на горизонтальных участках корпуса 10.
Устройство закреплено к корпусу 10 посредством отверстия 12, а также может быть закреплено иным образом, например посредством сварных швов. На фиг.3 условно, для правильного понимания и упрощения восприятия показано положение подвижной части относительно неподвижной части, когда стержень 18 с рукояткой 16 должны бы находиться в отверстии 15 (на фиг.1 и 6 стержень 18 с рукояткой 16 находятся в отверстии 14). Стержень 18 с рукояткой 16 могут быть выполнены в виде детали или сборочной единицы. Условно показана рукоятка 16 с отверстием 17 для повышения удобства захвата за рукоятку 18. Стержень 18 установлен во втулке 19 с возможностью ограниченного возвратно-поступательного перемещения на величину, равную S1, причем величина указанного перемещения обеспечивается за счет взаимодействия отверстия 20 и ограничителя 21, согласно фиг.7, 8, 9. В положении, которое показано на фиг.7, подвижная часть может перемещаться относительно неподвижной части в направлениях, которые показаны на фиг.3 стрелками, на величину, равную h или меньше h, при этом лист 2 с отверстиями 13, 14, 15 частично размещен в кольцевой полости 22. Ограничитель 21 выполнен из прутка и радиально закреплен относительно стержня так, что часть ограничителя установлена с возможность взаимодействия с отверстием 20, выполненным во втулке 19. Ограничитель 21 может быть выполнен и иным образом, например в виде стопорного кольца, однако это не существенно, т.к. существенным является его наличие и выполняемая им функция, а не форма и вид его выполнения.
Ригель работает следующим образом,
Для перемещения подвижной части ригеля относительно неподвижной его части закрепляют неподвижную часть, т.е. корпус 10 к опорной поверхности, а затем перемещают подвижную часть относительно неподвижной части (направление перемещения на фиг.3 показано стрелками) на величину хода h, в результате такого перемещения элементы, например, качения 9, прокручиваясь и взаимодействуя с краями отверстий 11 и сквозных отверстий 8, переместятся совместно с подвижной частью, а внешняя поверхность одной из распорных втулок 6 войдет во взаимодействие с частью корпуса 10, которая обращена в сторону полости 3 и распорной втулки 6. Одна из распорных втулок 6 выполняет функцию ограничителя перемещения подвижной части ригеля относительно его неподвижной части на величину, равную ходу перемещения – h. Положение головки после перемещения показано на фиг.3 пунктирными линиями. Для обеспечения фиксации подвижной части относительно неподвижной части в положении, когда подвижная часть не выдвинута за пределы неподвижной части (см. фиг.3) и установлена с возможностью перемещения (см. фиг.7), совмещают стержень 18 с отверстием 13, затем берутся за рукоятку 16 и перемещают ее в направление “на себя” на величину, равную S1, и в результате такого перемещения стержень 18 частично вводится в отверстие 13 и обеспечивает тем самым фиксацию. Для снятия указанной фиксации стержень 18 посредством рукоятки 16 перемещают в направление “от себя” на величину, равную S1, и после такого перемещения кольцевая полость 22 совместится с листом 2 и подвижная часть приобретает возможность перемещаться относительно неподвижной части. Для фиксации в другом положении используют отверстие 15. В результате указанных перемещений стержня 18 относительно втулки 19 происходит взаимодействие ограничителя 21 с краями отверстия 20, что позволяет осуществлять перемещение стержня 18 относительно втулки 19 на заданную величину, равную S1.
В результате предложенных конструктивных особенностей отдельных элементов ригеля с устройством, а также их размещения друг относительно друга обеспечивается новая функциональная связь элементов ригеля и получение нового технического результата.
Таким образом, заявляемое техническое решения обеспечивает достижение поставленной задачи и получение нового технического результата.
Формула изобретения
Ригель, содержащий подвижную и неподвижную части, сообщенные друг с другом, причем подвижная часть образована головкой и хвостовиком, скрепленными друг с другом, а неподвижная часть образована корпусом с направляющей, при этом подвижная часть установлена с возможностью возвратно-поступательного перемещения вдоль неподвижной части на величину хода перемещения посредством элементов трения качения и/или элементов трения скольжения и опорных элементов для их фиксации, опорные элементы прикреплены к, по меньшей мере, одному листу подвижной части, а элементы трения качения и/или элементы трения скольжения размещены между корпусом и опорными элементами, отличающийся тем, что он снабжен устройством фиксации подвижной части ригеля относительно неподвижной его части, которое образовано втулкой, стержнем с торцевой частью, рукояткой, ограничителем и кольцевой полостью с основанием, причем головка и хвостовик образованы листами, установленными на расстоянии друг от друга и скрепленными друг с другом с образованием полости, в которой размещен корпус, толщина корпуса меньше расстояния между листами, стержень размещен во втулке с возможностью возвратно-поступательного ограниченного перемещения, а ограничитель установлен с возможностью взаимодействия со втулкой, при этом рукоятка, размещенная на торцевой части стержня, и кольцевая полость размещены на стержне за пределами втулки, на одном из листов выполнены три отверстия, размещенные вдоль направления перемещения подвижной части относительно неподвижной части и сообщены друг с другом так, что расстояние между центрами отверстий, имеющих диаметр, превышающий высоту отверстия, расположенного между упомянутыми отверстиями, равно ходу перемещения, причем стержень установлен с возможностью ввода в отверстия с большим диаметром в крайних положениях подвижной части относительно неподвижной части, а кольцевая полость установлена с возможностью размещения в упомянутых трех отверстиях и ввода в нее части листа в положении, когда она размещена в отверстии, расположенном между двумя другими отверстиями.
РИСУНКИ
|
|