|
|
(21), (22) Заявка: 2004132925/03, 12.11.2004
(24) Дата начала отсчета срока действия патента:
12.11.2004
(43) Дата публикации заявки: 20.04.2006
(46) Опубликовано: 20.03.2007
(56) Список документов, цитированных в отчете о поиске:
Каталог “PNEUMA SYSTEM”, PNEUMA S.r.I, Италия, 2003, с.7-8. SU 215808 А, 26.06.1968. SU 284717 А, 05.01.1971. SU 407009 А, 22.05.1974. SU 973729 А, 18.11.1982. JP 4-27336, 07.09.1990.
Адрес для переписки:
117279, Москва, ул. Миклухо-Маклая, 55А, ЗАО “ФИРМА “ЦЕНТР ПАТЕНТНЫХ УСЛУГ”, пат.пов. Е.А.Харченко
|
(72) Автор(ы):
Дементьев Владимир Александрович (LV), Казаков Олег Егорович (LV), Кожевников Николай Николаевич (RU), Ялтанец Иван Михайлович (RU)
(73) Патентообладатель(и):
Дементьев Владимир Александрович (LV)
|
(54) ПЛАВУЧАЯ УСТАНОВКА ДЛЯ ГЛУБОКОВОДНОГО ИЗВЛЕЧЕНИЯ ГРУНТА
(57) Реферат:
Изобретение относится к области механизации гидротехнических работ, в частности к плавучим установкам, снабженным погружным грунтовым пневматическим насосом, для извлечения и транспортировки грунтовой пульпы или гидросмеси. Техническая задача – повышение КПД установки и снижение энергозатрат на подъем и транспортировку гидросмеси путем сохранения энергии отработанного сжатого воздуха высокого давления и использования его для повторного цикла. Плавучая установка содержит понтон с установленным на нем погружным грунтовым пневматическим насосом, рабочие камеры которого соединены воздушными трубопроводами с распределителем воздуха высокого давления, соединенным трубопроводом высокого давления с компрессором. Установка также снабжена ресивером низкого давления, который выполнен в виде полой емкости, соединенной трубопроводом с всасывающим патрубком компрессора и которая дополнительным трубопроводом соединена со сбрасывающим патрубком распределителя, а нагнетательным трубопроводом соединена с трубопроводом высокого давления. При этом указные трубопроводы снабжены управляемыми воздушными клапанами. 1 з.п. ф-лы, 2 ил.
Изобретение относится к области механизации гидротехнических работ, в частности к плавучим установкам, снабженным погружным грунтовым пневматическим насосом, для извлечения и транспортировки грунтовой пульпы или гидросмеси.
Из патентной литературы известен способ и установка для разработки илистых отложений со дна водоема (патент Японии N 4-27336, Кл. Е 02 F 3/88, публ. 07.09.1990), в котором камера для заполнения и вытеснения гидросмеси и компрессор расположены на палубе установки. Заполнение камеры происходит под действием разрежения, создаваемого воздушным эжектором с использованием сжатого воздуха. Недостатком этого известного устройства является ограниченная глубина забора грунта.
Наиболее близким техническим решением к заявленному является плавучая установка с погружным грунтовым пневматическим насосом, в котором рабочие камеры погружены под воду. Камеры соединены воздушными трубопроводами с распределителем воздуха высокого давления, который в свою очередь соединен трубопроводом высокого давления с компрессором. Вытеснение гидросмеси из камер производится сжатым воздухом, который после цикла вытеснения гидросмеси сбрасывается в атмосферу, после чего в камере образуется перепад давлений, равный глубине ее погружения. Под действием этого перепада давлений происходит всасывание грунта в камеру (см. каталог “Pneuma system” фирмы PNEUMA S.r.I., Италия, 2003 г., стр.7, 8).
Недостатком этого устройства является его низкий КПД, так как объем сжатого воздуха высокого давления полностью сбрасывается в атмосферу после каждого цикла вытеснения гидросмеси из камер.
Технической задачей изобретения является повышение КПД установки и снижение энергозатрат на подъем и транспортировку гидросмеси путем сохранения энергии отработанного сжатого воздуха высокого давления и использования его для повторного цикла.
Поставленная задача достигается за счет того, что плавучая установка снабжена ресивером низкого давления, который выполнен в виде полой емкости, соединенной трубопроводом с всасывающим патрубком компрессора и которая дополнительным трубопроводом соединена со сбрасывающим патрубком распределителя, а нагнетательным трубопроводом соединена с трубопроводом высокого давления. При этом указные трубопроводы снабжены управляемыми воздушными клапанами. Ресивером низкого давления является понтон, который выполнен в виде одной или нескольких полых емкостей, соединенных между собой воздуховодами.
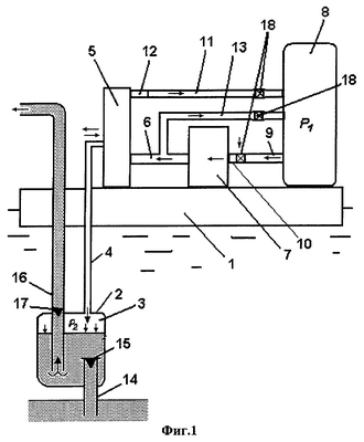
На фиг.1 представлено схемное решение плавучей установки с размещенным на понтоне ресивером низкого давления.
На фиг.2 представлена расчетно-конструктивная схема плавучей установки с понтоном в качестве ресивера низкого давления:
А – с работой насоса в стадии вытеснения гидросмеси;
В – с работой насоса в стадии всасывания гидросмеси.
Плавучая установка включает в себя понтон 1, на котором установлен погружной грунтовой пневматический насос 2, рабочая камера 3 которого соединена воздушным трубопроводом 4 для подачи и отвода сжатого воздуха с распределителем 5 воздуха высокого давления. Распределитель 5 соединен трубопроводом 6 высокого давления с компрессором 7. Ресивер 8 низкого давления выполнен в виде полой емкости и соединен трубопроводом 9, снабженным управляемым воздушным клапаном, с всасывающим патрубком 10 компрессора 7. Дополнительным трубопроводом 11 соединен со сбрасывающим патрубком 12 распределителя 5 и нагнетательным трубопроводом 13 с трубопроводом 6 высокого давления. Насос 2 снабжен всасывающим патрубком 14 с клапаном 15 и напорным грунтопроводом 16, который также снабжен запорным клапаном 17. Управляемые воздушные клапаны 18 установлены на соответствующие им трубопроводы и служат для регулирования работы установки (фиг.1, 2).
В качестве ресивера низкого давления 8 может быть использован понтон 1 (фиг.2). В этом случае он может быть выполнен в виде одной или нескольких полых емкостей, которые соединены между собой воздуховодами и в свою очередь снабжены управляемыми воздушными вентилями 18.
Плавучая установка работает следующим образом. Грунтовой пневматический насос 2 опускают на дно водоема и заглубляют всасывающий патрубок 14 насоса 2 в донный грунт. При опускании насоса 2 под воду давлением воды автоматически открываются клапан 15 всасывающего патрубка 14 и клапан 17 напорного грунтопровода 16. Камера 3 и напорный грунтопровод 16 заполняются водой. При соответствующих положениях клапанов 18 (открыт клапан 18 трубопровода 13 и закрыты клапаны 18 трубопроводов 9 и 11) включают компрессор 7. Воздух в компрессор 7 поступает по всасывающему патрубку 10 через клапан 18 из атмосферы, которым первично накачивают ресивер 8 или понтон 1. При этом в ресивере 8 (или понтоне 1) создается давление воздуха p1, которое на 0,5-1,5 кгс/см2 ниже давления столба воды высотой Н2, т.е. соответствующего глубине погружения торца всасывающего патрубка 14.
После этого переключают клапаны 18 (закрывают клапан 18 трубопровода 13 и открывают клапаны 18 трубопроводов 9 и 11), после чего сжатый воздух из ресивера 8 (или понтона 1) поступает в компрессор 7 через всасывающий патрубок 10. В компрессоре 7 он доводится до рабочего давления р2. Затем воздух по трубопроводу 6 поступает в распределитель 5 и далее по воздушному трубопроводу 4 в камеру 3. При этом клапан 15 закрывается, а заполнившая камеру 3 вода вытесняется по грунтопроводу 16 поступающим в камеру 3 сжатым воздухом. При достижении в камере 3 минимального уровня воды (фиксируется датчиками, на чертежах не указано) прекращается подача сжатого воздуха от распределителя 5, клапан 17 закрывается, а сжатый воздух с давление р2 из камеры 3 по воздуховоду 4 поступает в распределитель 5 и далее по дополнительному трубопроводу 11 подается в ресивер 8 (фиг.1) или в понтон 1 (фиг.2). В ресивере 8 или в понтоне 1 образуется давление р3, зависящее от соотношения объемов ресивера 8 (или понтона 1) и камеры 3. При освобождении камеры 3 от сжатого воздуха образуется перепад давлений
р=р3-H2 , где:
р3 – давление в ресивере после поступления воздуха из камеры 3,
Н2 – глубина погружения торца всасывающего наконечника 14,
– объемный вес воды.
Под действием этого перепада давления р=0,5-1,5 кгс/см2 во всасывающий патрубок 14 интенсивно поступает гидросмесь, состоящая из ила, песка и воды с высокой объемной концентрацией твердой фазы – до 50%, которая быстро заполняет камеру 3 до максимального уровня.
После заполнения камеры 3 гидросмесью распределитель 5 снова подает сжатый до давления р2 воздух в камеру 3 и вытесняет гидросмесь в пульпопровод 16, и далее рабочий цикл повторяется.
Для обеспечения непрерывного цикла работы установки, т.е. непрерывной подачи гидросмеси в пульпопровод 16, камеры 3 соединяют в один блок, работающий от одного распределителя 5.
Предложенная установка с ресивером низкого давления в виде полой емкости позволяет сохранить энергию сжатого воздуха и повторно ее использовать для работы устройства. Обеспечивается экономия энергозатрат на сжатие воздуха компрессором, т.е. компрессор работает в наиболее экономичном режиме.
Произведенные поверочные расчеты подтверждают большую экономию энергии по сравнении с другими способами и устройствами для глубинной добычи грунта из водоема, которая возрастает с увеличением глубины разработки грунта.
Формула изобретения
1. Плавучая установка для глубоководного извлечения грунта, содержащая понтон с установленным на нем погружным грунтовым пневматическим насосом, рабочие камеры которого соединены воздушными трубопроводами с распределителем воздуха высокого давления, соединенным трубопроводом высокого давления с компрессором, отличающаяся тем, что она снабжена ресивером низкого давления, который выполнен в виде полой емкости, соединенной трубопроводом с всасывающим патрубком компрессора и которая дополнительным трубопроводом соединена со сбрасывающим патрубком распределителя, а нагнетательным трубопроводом соединена с трубопроводом высокого давления, при этом указанные трубопроводы снабжены управляемыми воздушными клапанами.
2. Плавучая установка по п.1, отличающаяся тем, что ресивером низкого давления является понтон, который выполнен в виде одной или нескольких полых емкостей, соединенных между собой воздуховодами.
РИСУНКИ
|
|