|
|
(21), (22) Заявка: 2005130129/03, 27.09.2005
(24) Дата начала отсчета срока действия патента:
27.09.2005
(46) Опубликовано: 20.03.2007
(56) Список документов, цитированных в отчете о поиске:
SU 1687731 A1, 30.10.1991. SU 1657571 A1, 23.06.1991. SU 1444466 A1, 15.12.1988. SU 1060751 A1, 15.12.1983. SU 1381235 A1, 15.03.1988. RU 2023798 C1, 30.11.1994. RU 30366 U1, 27.06.2003. JP 61-254712 A, 12.11.1986.
Адрес для переписки:
236000, г.Калининград, Советский пр., 1, Калининградский государственный технический университет, Патентный отдел, пат.пов.Т.Н.Бакряшовой, рег.№ 532
|
(72) Автор(ы):
Афанасьев Виктор Владимирович (RU), Наумов Владимир Аркадьевич (RU), Федюнина Марина Александровна (RU)
(73) Патентообладатель(и):
Калининградский государственный технический университет (RU)
|
(54) РЫБОЗАЩИТНЫЙ ОГОЛОВОК
(57) Реферат:
Изобретение относится к гидротехническому строительству, а именно к рыбозащитным устройствам в составе водозаборных сооружений, и предназначено для защиты молоди рыб от попадания в водозаборные сооружения. Рыбозащитный оголовок состоит из всасывающего патрубка с установленным на нем соосно с возможностью вращения обтекателем с лопастями. Патрубок установлен вертикально. Обтекатель, выполненный в виде цилиндрического стакана, ориентирован вверх дном и установлен на патрубке с кольцевым всасывающим зазором, в котором расположены лопасти обтекателя, закрепленные на его внутренней поверхности. Внешняя поверхность обтекателя выполнена с элементами, формирующими локальные турбулентные зоны при обтекании. Под обтекателем на внешней поверхности всасывающего патрубка закреплена емкость торообразной формы, выполненная с отверстиями по окружности и соединенная с нагнетательным трубопроводом. Изобретение обеспечивает создание эффективных гидравлических условий для отвода молоди рыб и мусора от водозаборного оголовка. 3 з.п. ф-лы, 4 ил.
Изобретение относится к гидротехническому строительству, а именно к рыбозащитным устройствам и сооружениям, устраиваемым в составе водозаборных сооружений, в частности к всасывающим трубам насосов, и предназначено для защиты молоди рыб от попадания в водозаборные сооружения.
Известен рыбозащитный оголовок (Малеванчик Б.С., Никоноров И.В. Рыбопропускные и рыбозащитные сооружения. – М.: Легкая и пищевая промышленность, 1984, стр.189, рис.74), который включает водонепроницаемый полый обтекатель, установленный в водотоке на всасывающем патрубке насоса.
Недостатком данного оголовка является низкая эффективность отвода молоди рыб.
Известен рыбозащитный оголовок (A.C. SU №1657571, МПК Е 02 В/08, “Рыбозащитный оголовок”, опубл. 23.06.1991 г.), который включает водонепроницаемый полый обтекатель, установленный в водотоке на всасывающем патрубке насоса с возможностью вращения относительно продольной оси патрубка от привода лопастей, закрепленных на внешней поверхности полого обтекателя, полый вал, установленный во всасывающем патрубке и прикрепленный к обтекателю, трубопровод, расположенный в полом валу и соединенный своим входным концом с насосом, при этом привод вращения обтекателя выполнен в виде лопастной турбины, укрепленной на полом валу, а обтекатель обращен вершиной навстречу потоку. Оголовок снабжен камерой, расположенной в вершине обтекателя с его внутренней стороны. Лопасти выполнены с выпускными отверстиями и каналами внутри лопасти. Трубопровод соединен с камерой, а каналы лопастей – с выпускными отверстиями и с камерой.
Недостатком данного оголовка является сложность конструкции.
Известен рыбозащитный оголовок (A.C. SU №1444466, МПК Е 02 В/08, “Рыбозащитный оголовок”, 15.12.1988 г.), который содержит обтекатель с винтовыми лопастями, установленный на всасывающем патрубке, привод вращения, включающий вал и крыльчатку, стойки, крепящие втулку с опорными подшипниками. Вода, поступающая во всасывающий патрубок, приводит через крыльчатку и вал во вращение обтекатель. Винтовые лопасти с помощью транзитного потока способствуют раскрутке обтекателя и удаляют транзитный поток за счет центробежных сил от обтекателя. С потоком удаляется и молодь рыбы. Забор воды во всасывающий патрубок осуществляется из вторичного течения потока, идущего к оголовку вдоль внешней поверхности патрубка.
Недостатком данного оголовка является низкая эффективность отвода молоди рыб, а также сложность конструкции оголовка.
Изобретение решает задачу упрощения конструкции оголовка и повышения эффективности его работы по отводу молоди рыб и очистке от попадания мусора за счет создания эффективных гидравлических условий в зоне влияния водозаборного оголовка.
Для достижения необходимого технического результата в известном рыбозащитном оголовке, состоящем из всасывающего патрубка с установленным на нем соосно с возможностью вращения обтекателем с лопастями, всасывающий патрубок установлен вертикально, а обтекатель, выполненный в виде цилиндрического стакана и ориентированный вверх дном, установлен на патрубке с кольцевым всасывающим зазором. Лопасти на обтекателе выполнены на его внутренней стороне и расположены в кольцевом зазоре. Внешняя поверхность оголовка выполнена с элементами, формирующими локальные турбулентные зоны. Под обтекателем на внешней стороне всасывающего патрубка закреплена емкость торообразной формы с отверстиями по окружности, соединенная с нагнетательным трубопроводом.
Выполнение лопастей на внутренней поверхности оголовка под углом в 45° к потоку позволяет сформировать оптимальный закрученный поток, который приведет к максимальной раскрутке оголовка устройства. Увеличение высоты лопастей к всасывающему трубопроводу позволяет создать более мощный крутящий момент для закрутки внешнего потока вокруг оголовка и отвести молодь на более дальнюю траекторию ската по отношению к продольной оси оголовка.
Выполнение закрутки винтовых лопастей по часовой или против часовой стрелки позволяет менять направление вращения рыбозащитного оголовка, что обуславливает создание эффективных гидравлических условий для отвода молоди рыб.
Лопасти могут быть установлены в виде шнеков к движению потока кольцевого всасывающего отверстия, между внешней поверхностью всасывающего патрубка и внутренней поверхностью обтекателя является наиболее простым и проверенным способом, при этом возможно формирование эффективных закрученных гидравлических струй.
При подаче по нагнетательному трубопроводу в торообразную емкость воздуха вокруг рыбозащитного оголовка создается пузырьковая завеса, которая будет оказывать отпугивающее воздействие на молодь рыб, в случае подачи воды – струйное воздействие, в случае водо-воздушной смеси – совместный эффект.
Данный вариант конструкции с элементами, формирующими локальные турбулентные зоны, например клиновыми усеченными полосами на поверхности обтекателя, располагающимися под углом от 0° до 90° относительно друг друга, создает условия отвода молоди рыб с поверхности оголовка, так как за усеченной гранью полос наблюдается водоворотная турбулентная зона, которая будет отрицательно воздействовать на биологические зоны (боковую линию) молоди рыб, попавшей непосредственно на поверхность оголовка.
Выполнение клиновых полос в ряд по вертикали, горизонтали и в шахматном порядке позволяет формировать эффективные закрученные гидравлические струи.
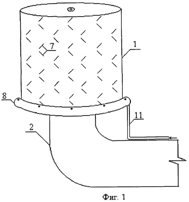
К заявке прилагается графический материал, иллюстрирующий предлагаемое устройство, где изображено:
фиг.1 – рыбозащитный оголовок, изометрия;
фиг.2 – поперечное сечение рыбозащитного оголовка;
фиг.3 – вид со стороны водозаборного отверстия;
фиг.4 – вид на оголовок сверху.
На схемах приняты следующие обозначения:
1 – всасывающий оголовок; 2 – всасывающая труба; 3 – лопасти; 4 – вертикальный вал; 5 – подшипник; 6 – упор; 7 – усеченные клиновые полосы; 8 – емкость торообразной формы; 9 – упор; 10 – отверстия; 11 – нагнетательный трубопровод.
Рыбозащитный оголовок работает следующим образом.
Всасывающий оголовок 1 установлен в водотоке таким образом, что при включении насоса (насос не показан) вода начинает двигаться в зазоре между всасывающей трубой 2 и оголовком 1 и воздействует на лопасти 3, выполненные в виде плоских пластин, прикрепленных к внутренней части оголовка 1, устройство снабжено вертикальным валом 4 и подшипником 5, на валу имеются упоры 6, обеспечивающие стабильность установки вала во всасывающей трубе 2, воздействие воды на лопасти приводит к вращению оголовка. На внешней поверхности оголовка 1 установлены усеченные клиновые полосы 7, служащие для образования турбулентных течений.
В нижней части устройства установлена емкость торообразной формы 8, жестко прикрепленная к всасывающей трубе 2 упорами 9, снабженная отверстиями 10 и нагнетательным трубопроводом 11. Диаметр емкости торообразной формы 8 превышает диаметр оголовка 1. По трубопроводу 11 подается воздух от компрессора (не показан) и, выходя из отверстий 10, образует воздушно-пузырьковую завесу вокруг оголовка 1, что увеличивает эффект отпугивания молоди рыб и очистку его от мусора.
Эксплуатация устройства возможна в водоемах, при отсутствии транзитного течения (ильмень, озеро, пруд, лиман, водохранилище), а также в условиях пониженных скоростей транзитного потока.
Предлагаемое изобретение имеет простую конструкцию, что позволяет существенно упростить компоновку водозаборного устройства, повысить надежность его работы и эффективность защиты молоди рыб от попадания в водозабор.
Формула изобретения
1. Рыбозащитный оголовок, состоящий из всасывающего патрубка с установленным на нем соосно с возможностью вращения обтекателем с лопастями, отличающийся тем, что патрубок установлен вертикально, обтекатель, выполненный в виде цилиндрического стакана, ориентирован вверх дном и установлен на патрубке с кольцевым всасывающим зазором, в котором расположены лопасти обтекателя, закрепленные на его внутренней поверхности, а внешняя поверхность обтекателя выполнена с элементами, формирующими локальные турбулентные зоны при обтекании, кроме того, под обтекателем на внешней поверхности всасывающего патрубка закреплена емкость торообразной формы, выполненная с отверстиями по окружности и соединенная с нагнетательным трубопроводом.
2. Рыбозащитный оголовок по п.1, отличающийся тем, что лопасти установлены под углом в 45° к движению потока.
3. Рыбозащитный оголовок по п.1, отличающийся тем, что лопасти установлены в виде шнеков к движению потока кольцевого всасывающего зазора.
4. Рыбозащитный оголовок по п.1, отличающийся тем, что элементы, формирующие локальные турбулентные зоны при обтекании, выполнены в виде клиновых полос на внешней поверхности оголовка и расположены под углом от 0 до 90° относительно друг друга.
РИСУНКИ
|
|