|
|
(21), (22) Заявка: 2005125627/11, 12.08.2005
(24) Дата начала отсчета срока действия патента:
12.08.2005
(46) Опубликовано: 20.03.2007
(56) Список документов, цитированных в отчете о поиске:
SU 997613 A3, 15.02.1983. RU 94021367 A1, 27.08.1996. SU 1677140 A1, 15.09.1991. EP 1164222 A1, 19.12.2001. GB 718009 A, 03.11.1954.
Адрес для переписки:
109651, Москва, Новочеркасский б-р, 3, кв.117, Р.Л. Штейнбергу
|
(72) Автор(ы):
Солодухин Владимир Иванович (RU), Штейнберг Роман Львович (RU), Грунин Сергей Александрович (RU), Ошурков Сергей Геннадьевич (RU)
(73) Патентообладатель(и):
Штейнберг Роман Львович (RU)
|
(54) РЕЛЬСОВОЕ СТЫКОВОЕ ЭЛЕКТРОИЗОЛИРУЮЩЕЕ СОЕДИНЕНИЕ
(57) Реферат:
Изобретение относится к верхнему строению железнодорожного пути. Рельсовое стыковое электроизолирующее соединение содержит междурельсовую прокладку, выполненную из электроизоляционного материала и расположенную между торцами стыкуемых рельсов, стыковые накладки, расположенные по обе стороны стыкуемых рельсов и выполненные в виде металлического элемента. Металлический элемент удлиненной формы выполнен в продольном направлении со ступенькой и диэлектрическим покрытием на поверхности его первого участка, имеющего большую длину, но меньшую площадь поперечного сечения. При этом в местах контакта каждой стыковой накладки со стыкуемыми рельсами диэлектрическое покрытие выполнено заподлицо с боковой поверхностью имеющего большую площадь поперечного сечения второго участка металлического элемента. По обе стороны каждого рельса стыка расположены соответственно первый участок металлического элемента одной стыковой накладки и второй участок металлического элемента другой стыковой накладки Техническим результатом изобретения является повышение эксплуатационной надежности рельсового стыкового электроизолирующего соединения. 1 з.п. ф-лы, 3 ил.
Изобретение относится к верхнему строению железнодорожного пути, а более конкретно к устройствам, используемым в электрических рельсовых цепях.
Из области техники известно, что часто встречающейся причиной короткого замыкания в рельсовых стыковых электроизолирующих соединениях является накопление ферромагнитных электропроводящих частиц на торцевой поверхности междурельсовой прокладки, иными словами, в зазоре между слабонамагниченными, под влиянием различных факторов (в том числе магнитного поля Земли, магнитного поля, создаваемого тяговым электрическим током), стыкуемыми рельсами. При этом неоднородность и величина напряженности магнитного поля, создаваемая стыкуемыми рельсами, максимальна на кромках их торцов. Иными словами, вблизи торцевой поверхности междурельсовой прокладки величина и распределение напряженности магнитного поля являются наиболее благоприятными для притягивания ферромагнитных частиц к ее поверхности, а следовательно, и к их накоплению.
Известно рельсовое стыковое электроизолирующее соединение, содержащее междурельсовую прокладку, выполненную из диэлектрического материала, которая размещена между стянутыми между собой крепежными элементами концевыми участками стыкуемых рельсов, при этом каждый концевой участок имеет форму поперечного сечения, соответствующую части поперечного сечения рельса, ограниченной прямой, параллельной плоскости симметрии рельса и отстоящей от нее на расстояние, равное половине толщины междурельсовой прокладки (см. заявку ЕР-А1 №1164222, 2001). В известном техническом решении за счет существенного увеличения длины зазора между стыкуемыми рельсами обеспечивается уменьшение напряженности магнитного поля вблизи торцевой поверхности междурельсовой прокладки. Это приводит к снижению вероятности притягивания ферромагнитных частиц к кромкам концевых участков стыкуемых рельсов, а следовательно, к снижению вероятности короткого замыкания.
Недостаток известного технического решения заключается в том, что оно имеет ограниченную область использования. Действительно, для его осуществления необходимы рельсы с концевыми участками специальной формы и изготовленные с достаточно высокой точностью. Последнее обстоятельство неизбежно приведет к увеличению стоимости рельсов.
Известно также рельсовое стыковое электроизолирующее соединение, взятое в качестве прототипа и содержащее междурельсовую прокладку, выполненную из электроизоляционного материала и расположенную между торцами стыкуемых рельсов, стыковые накладки, расположенные по обе стороны стыкуемых рельсов и выполненные в виде элемента удлиненной формы из металлического профиля с двумя группами поперечных сквозных отверстий для размещения в каждой группе сквозных отверстий крепежных элементов, обеспечивающих стяжку между собой стыковых накладок через шейку соответствующего рельса, при этом элемент из металлического профиля выполнен с диэлектрическим покрытием (см. патент SU-A-№997613, 1986).
Недостаток прототипа заключается в том, что он не обеспечивает высокой эксплуатационной надежности вследствие того, что величина и неоднородность магнитного поля, обусловленная намагниченностью стыкуемых рельсов, достаточно велики вблизи торцевой поверхности междурельсовой прокладки. Как уже отмечалось выше, это приводит к тому, что ферромагнитные частицы, притягиваясь к кромкам стыкуемых рельсов, будут накапливаться на торцевой поверхности междурельсовой прокладки, что в конечном счете приведет к металлизации ее торцевой поверхности, а следовательно, к закорачиванию стыкуемых рельсов между собой.
Настоящее изобретение направлено на решение технической задачи по повышению эксплуатационной надежности рельсовых стыковых электроизолирующих соединений за счет уменьшения напряженности магнитного поля вблизи торцевой поверхности междурельсовой прокладки без каких-либо изменений в конструкции концевых участков стыкуемых рельсов.
Поставленная задача решена тем, что в рельсовом стыковом электроизолирующем соединении, содержащем междурельсовую прокладку, выполненную из электроизоляционного материала и расположенную между торцами стыкуемых рельсов, стыковые накладки, расположенные по обе стороны стыкуемых рельсов и выполненные в виде металлического элемента удлиненной формы с диэлектрическим покрытием и двумя группами поперечных сквозных отверстий для размещения в каждой группе сквозных отверстий крепежных элементов, обеспечивающих стяжку между собой стыковых накладок через шейку соответствующего рельса стыка, согласно изобретению элемент удлиненной формы выполнен в продольном направлении со ступенькой и с диэлектрическим покрытием на поверхности его первого участка, имеющего большую длину, на меньшую площадь поперечного сечения, при этом, по крайней мере, в местах контакта каждой стыковой накладки со стыкуемыми рельсами диэлектрическое покрытие выполнено заподлицо с боковой поверхностью имеющего большую площадь поперечного сечения второго участка металлического элемента удлиненной формы, а по обе стороны каждого рельса стыка расположены соответственно имеющий диэлектрическое покрытие первый участок металлического элемента удлиненной формы одной стыковой накладки и второй участок металлического элемента удлиненной формы другой стыковой накладки.
Кроме того, поставленная задача решена тем, что длина l первого участка металлического элемента удлиненной формы удовлетворяет соотношению
(H-d)/2>l-L/2>h/2,
где L – длина стыковой накладки;
d – диаметр поперечных сквозных отверстий под крепежные элементы;
Н – расстояние между расположенными рядом поперечными сквозными отверстиями различных групп;
h – толщина междурельсовой прокладки, при этом размерность всех величин одинакова [М].
Преимущество предложенного рельсового стыкового электроизолирующего соединения перед известным, взятым в качестве прототипа, заключается в том, что предложенное выполнение стыковых накладок с сопрягаемым с одним рельсом электроизолированным участком и сопрягаемым с другим рельсом неэлектроизолированным участком, а также размещение по обе стороны каждого рельса стыка электроизолированного участка одной стыковой накладки и неэлектроизолированного участка другой стыковой накладки обеспечивают уменьшение величины напряженности магнитного поля вблизи торцевой поверхности междурельсовой прокладки, а следовательно, и снижение интенсивности накапливания ферромагнитных электропроводящих частиц на торцевой поверхности междурельсовой прокладки. Действительно, каждая стыковая накладка, сопряженная с соответствующим рельсом своим электрически неизолированным участком, дополнительно выполняет функцию «магнитного полюсного наконечника» данного рельса. В результате магнитное поле между стыкуемыми рельсами не будет полностью сконцентрировано в зазоре между их торцами, поскольку значительная часть магнитных силовых линий будет замыкаться через зазоры между электроизолированными участками стыковых накладок и соответствующими им концевыми участками стыкуемых рельсов, преимущественно в распорных зонах.
В дальнейшем изобретение поясняется конкретным примером, который, однако, не является единственно возможным, но наглядно демонстрирует возможность достижения ожидаемого технического результата приведенной выше совокупностью существенных признаков.
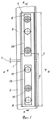
На фиг.1 изображено рельсовое стыковое электроизолирующее соединение, вид сбоку; на фиг.2 – разрез по А-А фиг.1; на фиг.3 – разрез по Б-Б фиг.1.
Рельсовое стыковое электроизолирующее соединение содержит межрельсовую прокладку 1, выполненную из электроизоляционного, предпочтительно композитного, материала. Межрельсовая прокладка 1 расположена между торцами стыкуемых рельсов 2 из 3. Кроме того, рельсовое стыковое электроизолирующее соединение содержит первую 4 и вторую 5 стыковые накладки, а также стопорные пластины 6. Каждая стыковая накладка 4 (5) выполнена в виде металлического элемента удлиненной формы 7, например в виде толстой пластины или бруса соответствующего профиля, с двумя группами поперечных сквозных отверстий соответственно 8, 9, 10 и 11, 12, 13 для размещения в каждой группе сквозных отверстий крепежных элементов, преимущественно болтов 14 с гайками 15. Стыковые накладки 4 и 5 расположены по обе стороны стыкуемых рельсов 2 и 3, при этом крепежные элементы, размещенные в группе поперечных сквозных отверстий 8-10, обеспечивают стяжку стыковых накладок между собой через шейку 16 рельса 2, а крепежные элементы, размещенные в другой группе поперечных сквозных отверстий 11-13, обеспечивают стяжку стыковых накладок 4 и 5 между собой через шейку 17 рельса 3. Металлический элемент 7 удлиненной формы выполнен в продольном направлении со ступенькой, при этом на первом участке 18 металлического элемента удлиненной формы, имеющем большую длину, но меньшую площадь поперечного сечения, выполнено диэлектрическое покрытие 19, при этом, по крайней мере, в местах контакта (распорных зонах) каждой стыковой накладки 4 и 5 со стыкуемыми рельсами 2 и 3 диэлектрическое покрытие 19 выполнено заподлицо с боковой поверхностью имеющегося большую площадь поперечного сечения второго участка 20 металлического элемента 7. Длина l участка 18 выбирается, исходя из следующего неравенства:
(H-d)/2>l-L/2>h/2,
где L – длина стыковой накладки 4 (5);
d – диаметр поперечных сквозных отверстий 8-10 и 11-13 под крепежные элементы – болты 14;
Н – расстояние между расположенными рядом поперечными сквозными отверстиями различных групп 10 и 11;
h – толщина междурельсовой прокладки, при этом размерность всех величин одинакова, например [М].
Выполнение этого условия обеспечивает размещение междурельсовой прокладки 1 напротив электроизолированных участков 18 стыковых накладок 4 и 5, при этом по обе стороны каждого рельса 2 и 3 стыка расположены первый участок 18 одной стыковой накладки и второй участок 20 другой стыковой накладки (фиг.2). Ступенька на элементе 7 удлиненной формы может быть выполнена либо (как показано на чертежах) заодно с ним, например фрезерованием или наплавкой металла, либо путем механического соединения отдельных элементов между собой любым известным способом. Силовые линии магнитного поля обозначены позицией 21. В предпочтительном варианте осуществления изобретения в поперечных сквозных отверстиях, выполненных на участке 18, установлены втулки 22, выполненные из электроизоляционного материала.
Работа предложенного рельсового стыкового электроизолирующего соединения ничем не отличается от других известных, в частности из прототипа. Однако за счет уменьшения магнитного сопротивления между стыкуемыми рельсами уменьшаются и величина напряженности магнитного поля вблизи торцевой поверхности междурельсовой прокладки 1.
Промышленная применимость изобретения подтверждается возможностью его осуществления с использованием известного из области техники оборудования.
Формула изобретения
1. Рельсовое стыковое электроизолирующее соединение, содержащее междурельсовую прокладку, выполненную из электроизоляционного материала и расположенную между торцами стыкуемых рельсов, стыковые накладки, расположенные по обе стороны стыкуемых рельсов и выполненные в виде металлического элемента удлиненной формы с диэлектрическим покрытием и двумя группами поперечных сквозных отверстий для размещения в каждой группе сквозных отверстий крепежных элементов, обеспечивающих стяжку между собой стыковых накладок через шейку соответствующего рельса стыка, отличающееся тем, что металлический элемент удлиненной формы выполнен в продольном направлении со ступенькой и с диэлектрическим покрытием на поверхности его первого участка, имеющего большую длину, но меньшую площадь поперечного сечения, при этом, по крайней мере, в местах контакта каждой стыковой накладки со стыкуемыми рельсами диэлектрическое покрытие выполнено заподлицо с боковой поверхностью имеющего большую площадь поперечного сечения второго участка металлического элемента удлиненной формы, а по обе стороны каждого рельса стыка расположены соответственно имеющий диэлектрическое покрытие первый участок металлического элемента удлиненной формы одной стыковой накладки и второй участок металлического элемента удлиненной формы другой стыковой накладки.
2. Рельсовое стыковое электроизолирующее соединение по п.1, отличающееся тем, что длина l первого участка металлического элемента удлиненной формы удовлетворяет соотношению
(H-d)/2>l-L/2>h/2,
где L – длина стыковой накладки [м];
d – диаметр поперечных сквозных отверстий [м];
Н – расстояние между расположенными рядом поперечными сквозными отверстиями различных групп [м];
h – толщина междурельсовой прокладки [м].
РИСУНКИ
|
|