|
|
(21), (22) Заявка: 2005125626/11, 12.08.2005
(24) Дата начала отсчета срока действия патента:
12.08.2005
(46) Опубликовано: 20.03.2007
(56) Список документов, цитированных в отчете о поиске:
RU 32127 U1, 10.09.2003. SU 1664942 A1, 23.07.1991. US 3666175 А, 30.05.1972. GB 2409489 А, 29.06.2005. US 3312399 А, 04.04.1967. US 3593919 А, 20.07.1971.
Адрес для переписки:
109651, Москва, Новочеркасский б-р, 3, кв.117, Р.Л. Штейнбергу
|
(72) Автор(ы):
Солодухин Владимир Иванович (RU), Штейнберг Роман Львович (RU), Ошурков Сергей Геннадьевич (RU)
(73) Патентообладатель(и):
Штейнберг Роман Львович (RU)
|
(54) РЕЛЬСОВОЕ СТЫКОВОЕ ЭЛЕКТРОИЗОЛИРУЮЩЕЕ СОЕДИНЕНИЕ
(57) Реферат:
Изобретение относится к верхнему строению железнодорожного пути. Рельсовое стыковое электроизолирующее соединение содержит междурельсовую прокладку с головкой, шейкой, подошвой, торцевыми и боковыми поверхностями, выполненную из электроизоляционного материала и расположенную между торцами стыкуемых рельсов, стыковые накладки, расположенные по обе стороны стыкуемых рельсов и стянутые между собой через шейки рельсов крепежными элементами. Междурельсовая прокладка выполнена с участками, выступающими за пределы контура поперечного сечения стыкуемых рельсов. По крайней мере, на торцевых поверхностях шейки междурельсовой прокладки, на участках торцевой поверхности ее головки, соответствующих рабочим поверхностям головки стыкуемых рельсов, а также на участках торцевой поверхности ее головки и подошвы, контактирующих со стыковыми накладками, выполнен слой из эластичного материала, который частично выступает за контур поперечного сечения головки и подошвы стыкуемых рельсов. Шейка междурельсовой прокладки выполнена с формой торцевых поверхностей, повторяющей форму обращенных к ним поверхностей стыковых накладок, и с поперечными размерами, обеспечивающими контакт ее торцевых поверхностей по всей их длине с соответствующими стыковыми накладками и упругую деформацию слоя из эластичного материала при стягивании стыковых накладок между собой. Техническим результатом изобретения является повышение эксплуатационной надежности рельсового стыкового электроизолирующего соединения. 2 ил.
Изобретение относится к верхнему строению железнодорожного пути, а более конкретно к устройствам рельсовых стыков.
Как следует из уровня техники вопросу повышения эксплуатационной надежности рельсовых стыковых электроизолирующих соединений за счет уменьшения вероятности возникновения короткого замыкания между стыкуемыми рельсами в результате скапливания электропроводящих частиц (металлической стружки, опилок и т.п.) на торцевой поверхности головки междурельсовой прокладки и в зазоре между стыковыми накладками и шейками рельсов, уделяется большое внимание. При этом можно выделить два альтернативных направления решения упомянутой выше технической задачи. Согласно первому направлению предотвращение скапливания электропроводящих частиц на торцевой поверхности головки междурельсовой прокладки обеспечивается в той или иной степени конкретным выполнением междурельсовой прокладки, например, выполнением ее из магнитодиэлектрика – см. патент RU-U1 – №44681, 2005, или трехслойной с крайними слоями из эластичного материала, см. патент RU-C2 №2207421, 2003, или трехслойной с внутренним слоем из эластичного материала, см. патент US-А – №3593919, 1971 и т.п., а предотвращение скапливания электропроводящих частиц в зазоре между стыковыми накладками и шейками рельсов обеспечивается выполнением стыковых накладок полнопрофильными, см. патент RU-U1 – №33919, 2003. Иными словами, стыковые накладки прилегают к боковой поверхности рельсов без зазоров.
При другом подходе к решению указанной выше технической задачи были предприняты попытки комплексного ее решения, благодаря соответствующему выполнению только междурельсовой прокладки.
Так из патента US-А – №3666175, 1972 известно рельсовое стыковое электроизолирующее соединение, содержащее междурельсовую прокладку с головкой, подошвой, шейкой, торцевыми и боковыми поверхностями, выполненную из размещенных между двух металлических пластин слоя из эластичного материала, стыковые накладки, расположенные по обе стороны стыкуемых рельсов и стянутые между собой через шейки рельсов крепежными элементами, при этом напротив друг друга на боковых поверхностях слоя из эластичного материала в области головки и частично в области шейки междурельсовой прокладки и заподлицо с ее торцевой и боковыми поверхностями выполнены заодно с ним буртики прямоугольного сечения, вплотную к которым расположены соответствующие участки боковой поверхности пластин из металла. Головка междурельсовой прокладки имеет ту же форму, что и головки стыкуемых рельсов. Однако поскольку размеры головки междурельсовой прокладки меньше размеров головок рельсов, то верхняя торцевая поверхность междурельсовой прокладки расположена ниже верхней поверхности головок стыкуемых рельсов, а ее боковые и нижние торцевые поверхности заглублены относительно соответственно боковых и нижних поверхностей головок стыкуемых рельсов. Шейка междурельсовой прокладки выполнена трапециевидной формы, плавно сопряженной с ее головкой и подошвой, и с нижним основанием, превышающим толщину шейки стыкуемых рельсов на удвоенную величину достигаемого при сборке рельсового стыкового электроизолирующего соединения нижнего зазора между каждой стыковой накладкой и шейкой рельсов.
Недостаток описанного выше рельсового стыкового электроизолирующего соединения заключается в том, что, во-первых, оно не обеспечивает гарантированного перекрытия зазора между стыковыми накладками и боковыми поверхностями рельсов без нежелательной деформации металлических пластин междурельсовой прокладки. Во-вторых, заглубленность торцевых поверхностей междурельсовой прокладки относительно поверхностей головок стыкуемых рельсов приводит к дополнительным неудобствам в процессе эксплуатации вследствие интенсивного скапливания в образовавшемся пазу не только твердых частиц (в том числе и электропроводящих), осыпающихся на железнодорожный путь с подвижных единиц железнодорожного транспорта, но и твердых и жидких частиц, заносимых ветром и атмосферными осадками.
Известно также рельсовое стыковое электроизолирующее соединение, взятое в качестве прототипа и содержащее междурельсовую прокладку с головкой, подошвой, шейкой, торцевыми и боковыми поверхностями, выполненную из электроизоляционного материала, и расположенную между торцами стыкуемых рельсов, стыковые накладки, расположенные по обе стороны стыкуемых рельсов и стянутые между собой через шейки стыкуемых рельсов крепежными элементами, при этом междурельсовая прокладка выступает за нерабочие участки контура поперечного сечения стыкуемые рельсов за исключением мест контакта ее со стыковыми накладками (см. патент RU-U1 – №32127, 2003).
Недостаток прототипа заключается в том, что выполнение торцевой поверхности междурельсовой прокладки заподлицо с рабочими поверхностями головок стыкуемых рельсов приведет (как подробно описано в авторском свидетельстве SU-А1 – №1664942, 1991) к постепенной металлизации торцевых участков поверхности междурельсовой прокладки, а следовательно, к ложным срабатываниям железнодорожной автоматики. Кроме того, известная междурельсовая прокладка не обеспечивает гарантированного перекрытия зазора между стыковыми накладками и боковыми поверхностями рельсов без нежелательной ее деформации при взаимодействии со стыковыми накладками.
Настоящее изобретение направлено на решение технической задачи по повышению эксплуатационной надежности рельсового стыкового электроизолирующего соединения путем обеспечения гарантированного перекрытия междурельсовой прокладкой зазора между стыковыми накладками и боковыми поверхностями стыкуемых рельсов, а также за счет уменьшения вероятности металлизации торцевых поверхностей головки междурельсовой прокладки, соответствующих рабочим участкам поперечного контура рельсов.
Поставленная задача решена тем, что в рельсовом стыковом электроизолирующем соединении, содержащем междурельсовую прокладку с головкой, шейкой, подошвой, торцевыми и боковыми поверхностями, выполненную из электроизоляционного материала и расположенную между торцами стыкуемых рельсов, стыковые накладки, расположенные по обе стороны стыкуемых рельсов и стянутые между собой через шейки стыкуемых рельсов крепежными элементами, при этом междурельсовая прокладка выполнена с участками, выступающими за пределы контура поперечного сечения стыкуемых рельсов, согласно изобретению по крайней мере на торцевых поверхностях шейки междурельсовой прокладки, на участках торцевой поверхности ее головки, соответствующих рабочим поверхностям головок стыкуемых рельсов, а также на участках торцевой поверхности ее головки и подошвы, контактирующих со стыковыми накладками, выполнен слой из эластичного материала, который частично выступает за контур поперечного сечения головки и подошвы стыкуемых рельсов, а шейка междурельсовой прокладки выполнена с формой торцевых поверхностей, повторяющей форму обращенных к ним поверхностей стыковых накладок, и с поперечными размерами, обеспечивающими контакт ее торцевых поверхностей по всей их длине с соответствующими стыковыми накладками и упругую деформацию слоя из эластичного материала при стягивании стыковых накладок между собой.
Преимущество предложенного рельсового стыкового электроизолирующего соединения перед известным, взятым в качестве прототипа, заключается в том, что благодаря выполнению на торцевых поверхностях шейки междурельсовой прокладки слоя из эластичного электроизоляционного материала, а также выполнению шейки междурельсовой прокладки с формой ее торцевых поверхностей, повторяющих форму обращенных к ним поверхностей стыковых накладок, и с поперечными размерами, обеспечивающими контакт ее торцевых поверхностей по всей их длине с соответствующими стыковыми накладками и упругую деформацию слоя из эластичного материала при стягивании стыковых накладок между собой, имеет место гарантированное перекрытие зазоров между стыковыми накладками и стыкуемыми рельсами за счет плотного прижима (вследствие упругой деформации слоя из эластичного материала) торцевых поверхностей шейки междурельсовой прокладки к поверхностям соответствующих стыковых накладок. В результате существенно уменьшается и величина поперечных нагрузок на ту часть междурельсовой прокладки, которая расположена между торцами стыкуемых рельсов, что повышает долговечность междурельсовой прокладки. Выполнение слоя из эластичного материала на участках торцевой поверхности головки междурельсовой прокладки, соответствующих рабочим поверхностям головки стыкуемых рельсов, а также на участках торцевой поверхности головки и подошвы междурельсовой прокладки, контактирующих со стыковыми накладками, а также выполнение на этих участках слоя из эластичного материала только частично выступающим за контур поперечного сечения головки и подошвы стыкуемых рельсов, обеспечивает уменьшение поперечных нагрузок, действующих на расположенную между торцами стыкуемых рельсов часть междурельсовой прокладки вследствие упругой деформации и вдавливания выступающей за контур поперечного сечения рельсов части слоя из эластичного материала как в результате статической нагрузки от затяжки крепежных элементов, так и при динамической нагрузке от колес подвижного состава.
Кроме того, поскольку только часть слоя из эластичного материала выступает за контур поперечного сечения рельсов, то при контакте с колесами подвижного состава происходит утапливание выступающей наружу части указанного выше слоя. При прекращении этого контакта слой из эластичного материала возвращается в исходное состояние. В результате имеет место самоочищение выступающей над рабочими поверхностями головки рельсов торцевой поверхности междурельсовой прокладки.
Следовательно, отличительные признаки предложенного рельсового стыкового электроизолирующего соединения не известны из предшествующего уровня техники и являются существенными с точки зрения достижения ожидаемого результата.
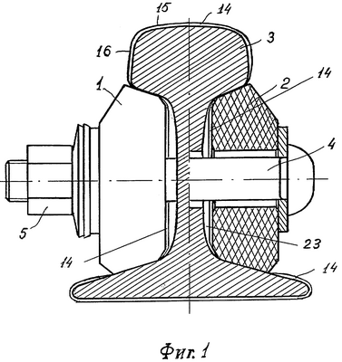
На фиг.1 изображено рельсовое стыковое электроизолирующее соединение, частичный разрез; на фиг.2 – междурельсовая прокладка.
Рельсовое стыковое электроизолирующее соединение содержит первую 1 и вторую 2 стыковые накладки, которые расположены по обе стороны стыкуемых рельсов (на фиг.1 показан один рельс 3). В представленном на чертежах варианте осуществления изобретения используются клиновидные (расклинивающего типа (стыковые накладки 1 и 2, выполненные из композитного диэлектрического материала, например стеклопластика. Однако могут быть использованы стыковые накладки других конструкций, например многослойные (см. патент RU-С1 – №2061137, 1996), а также полнопрофильные (см. Альбом чертежей верхнего строения железнодорожного пути, МПС РФ, Москва, Транспорт, 1995, с.140, черт.137). Стыковые накладки 1 и 2 стянуты посредством крепежных элементов, преимущественно болтами 4 с гайками 5. Кроме того, рельсовой стыковое электроизолирующее соединение содержит междурельсовую прокладку 6, которая расположена между торцами стыкуемых рельсов и выполнена в виде пластины из композитного диэлектрического материала. Междурельсовая прокладка 6 включает головку 7, шейку 8, подошву 9, а также торцевую 10 и боковые 11 поверхности. Головка 7 и подошва 9 междурельсовой прокладки 6 выполнены в форме, повторяющей форму поперечного сечения соответственно головки и подошвы стыкуемых рельсов, а шейка 8 междурельсовой прокладки 6 выполнена с формой торцевых поверхностей 12 и 13, повторяющих форму обращенных к ним поверхностей стыковых накладок 1 и 2. На торцевой поверхности междурельсовой прокладки 6 выполнен слой 14 из эластичного диэлектрического материала. В предпочтительном варианте осуществления изобретения слой 14 выполнен по всей торцевой поверхности 10 (по всему периметру). Однако для достижения ожидаемого технического результата достаточно, чтобы слой 14 был выполнен, во-первых, на торцевых поверхностях 15 и 16 головки 7, соответствующих рабочим поверхностям головок стыкуемых рельсов (верхней и внутренней сторонам рельса), во-вторых, на торцевых поверхностях 17 и 16 головки 7 и на торцевых поверхностях 19 и 20 подошвы 9, контактирующих со стыковыми накладками 1 и 2, и, в – третьих, на торцевых поверхностях 12 и 13 шейки 8. Слой 14 из эластичного материала частично выступает за контур 21 (фиг.2) поперечного сечения головки и за контур 22 поперечного сечения подошвы стыкуемых рельсов. Шейка 8 выполнена с поперечными размерами Н(Z), зависящими, естественно, от вертикальной координаты – Z, и обеспечивающими контакт ее торцевых поверхностей 12 и 13 по всей их длине с соответствующими им стыковыми накладками 1 и 2 и упругую деформацию слоя 14 из эластичного материала. Иными словами, поперечный размер Н(Z) шейки 8 и достигаемое при стяжке расстояние – R(Z) между обращенными друг к другу поверхностями стыковых накладок 1 и 2 должно удовлетворять неравенству: Н(Z)>R(Z)>Н(Z)-2h, где h – толщина слоя 14 из эластичного материала. Изготавливается междурельсовая прокладка 6, предпочтительно, формовкой: сначала осуществляют формовку внутренней жесткой части 23, а затем – слоя 14 из эластичного материала. Высота выступающей за контур 21 поперечного сечения головки стыкуемых рельсов части слоя 14 из эластичного материала составляет несколько миллиметров и выбирается из условия обеспечения полного ее утапливания за счет упругой деформации слоя 14 при контакте его с колесами единиц подвижного состава.
Рельсовое стыковое электроизолирующее соединение работает следующим образом. После стяжки стыковых накладок 1 и 2 за счет упругой деформации слоя 14 из эластичного материала полости смежных зазоров между каждой стыковой накладкой 1 и 2 с стыкуемыми рельсами становятся гарантированно разделенными междурельсовой прокладкой 6. В результате накопление в процессе эксплуатации в полости каждого из упомянутых выше зазоров частиц, в том числе и электропроводящих не приведет к короткому замыканию между стыкуемыми рельсами. При прохождении транспортных средств выступающая за пределы контура 21 поперечного сечения головки рельсов часть слоя 14 из эластичного материала при контакте с колесами будет утапливаться вследствие упругой деформации всего слоя 14. При прекращении контакта с колесами слой 14 возвращается в исходное состояние. В результате не только снижается вероятность металлизации торцевой поверхности междурельсовой прокладки 6 в результате вдавливания в нее электропроводящих частиц, но и наблюдается процесс самоочищения ее поверхности от попавших на нее частиц. В процессе эксплуатации после износа выступающей за пределы контура 21 поперечного сечения головки рельсов части слоя 14, междурельсовая прокладка продолжает работать, но уже в известном из прототипа качестве. Таким образом, использование изобретения существенно повышает ресурс рельсового стыкового электроизолирующего соединения.
Изобретение может быть реализовано с использованием известного из уровня техники технологического оборудования.
Формула изобретения
Рельсовое стыковое электроизолирующее соединение, содержащее междурельсовую прокладку с головкой, шейкой, подошвой, торцевыми и боковыми поверхностями, выполненную из электроизоляционного материала и расположенную между торцами стыкуемых рельсов, стыковые накладки, расположенные по обе стороны стыкуемых рельсов и стянутые между собой через шейки рельсов крепежными элементами, при этом междурельсовая прокладка выполнена с участками, выступающими за пределы контура поперечного сечения стыкуемых рельсов, отличающееся тем, что, по крайней мере, на торцевых поверхностях шейки междурельсовой прокладки, на участках торцевой поверхности ее головки, соответствующих рабочим поверхностям головки стыкуемых рельсов, а также на участках торцевой поверхности ее головки и подошвы, контактирующих со стыковыми накладками, выполнен слой из эластичного материала, который частично выступает за контур поперечного сечения головки и подошвы стыкуемых рельсов, а шейка междурельсовой прокладки выполнена с формой торцевых поверхностей, повторяющей форму обращенных к ним поверхностей стыковых накладок, и с поперечными размерами, обеспечивающими контакт ее торцевых поверхностей по всей их длине с соответствующими стыковыми накладками и упругую деформацию слоя из эластичного материала при стягивании стыковых накладок между собой.
РИСУНКИ
|
|