|
(21), (22) Заявка: 2004103646/12, 09.02.2004
(24) Дата начала отсчета срока действия патента:
09.02.2004
(43) Дата публикации заявки: 10.08.2005
(46) Опубликовано: 20.03.2007
(56) Список документов, цитированных в отчете о поиске:
SU 1622435 A1, 23.01.1991. SU 1219683 A, 23.03.1986. FR 2584103 A1, 02.01.1987. FR 2583434 A1, 19.12.1986.
Адрес для переписки:
156005, г.Кострома, ул. Дзержинского, 17, КГТУ
|
(72) Автор(ы):
Корабельников Ростислав Васильевич (RU), Новиков Эдуард Валерьевич (RU)
(73) Патентообладатель(и):
Костромской государственный технологический университет (RU)
|
(54) ТРЕПАЛЬНЫЙ БАРАБАН ДЛЯ ОЧИСТКИ ЛУБОВОЛОКНИСТЫХ МАТЕРИАЛОВ
(57) Реферат:
Трепальный барабан для очистки лубоволокнистых материалов содержит вал, крестовины, на которых установлены бильные планки, выполненные в виде пластин, пластины имеют форму треугольников или сегментов круга, ориентированных вершинами в сторону вращения барабана и закрепленных тангенциально. Использование данного изобретения обеспечивает повышение очистки волокна от костры при высоком выходе и качестве длинного трепаного волокна. 3 з.п. ф-лы, 6 ил, 1 табл.
Предлагаемое изобретение относится к первичной обработке лубяных культур, преимущественно льна, и может быть использовано для получения длинного лубяного волокна.
Известно устройство для очистки промятых стеблей лубяных культур [1], содержащее парные трепальные барабаны с приводом вращения и транспортер, барабаны имеют бильные планки, выполненные в виде сплошных стальных полос.
Недостатком данного устройства является низкая интенсивность очистки волокна, так как волокно воспринимает воздействия в одном вертикальном направлении, в результате чего эффективность очистки волокна от костры снижается, кроме того, это приводит к увеличению длины барабанов.
Известен мяльно-трепальный механизм для лубоволокнистого материала [2], содержащий барабаны с бильными планками синусоидальной формы. В этом механизме волокно подвергается многоплоскостному воздействию с подкручиванием в диаметрально противоположных направлениях, то есть подкручиванию вокруг своей оси на некоторый угол.
Недостатками данного механизма являются: процесс очистки идет при горизонтальном расположении волокна; не согласованы скорость транспортирования материала со скоростью трепального барабана; бильные планки расположены радиально. При обработке материал может группироваться во впадинах между синусоидами, образуя жгуты, и тем самым повреждаться за счет сверхдавления на них. Перечисленные недостатки снижают эффективность очистки, выход и качество длинного волокна.
Известен трепальный барабан для обработки лубоволокнистого материала [3], выполненный в виде жесткого цилиндра и дополнительно снабженный бильными планками, расположенными по винтовым линиям противоположного направления. Волокно получает удар и одновременно смещается в сторону по винтовой линии.
Недостатки данного барабана во многом аналогичны недостаткам устройства [2], то есть не согласована скорость транспортирования материала со скоростью трепального барабана, бильные планки расположены радиально, а не тангенциально. При работе этого барабана в момент удара может возникать сильное поперечное сжатие волокна, вследствие чего снижается выход длинного волокна и ухудшаются его физико-механические свойства.
Наиболее близким по технической сущности к предлагаемому изобретению является барабан трепальной машины [4], содержащий смонтированные на приводном валу посредством радиальных держателей планочные била с волнообразными кромками по длине. С целью повышения эффективности рыхления била снабжены эластичными покрытиями, расположенными на их рабочих кромках, а волнообразные выступы расположены на эластичных покрытиях и выполнены с заостренными вершинами, причем выступы смежных бил установлены со смещением, равным шагу, деленному на количество бил. Во время очистки волокно совершает колебательные движения, что приводит к интенсивному рыхлению и встряхиванию.
Недостатки данного барабана аналогичны недостаткам устройств [2, 3], то есть: отсутствует согласованность скорости транспортирования материала со скоростью трепального барабана; планки расположены радиально, что снижает эффективность очистки, выход и качество длинного волокна.
Задачей заявленного изобретения является повышение эффективности очистки волокна от костры при высоком выходе и качестве длинного трепаного волокна. Кроме того, может быть получен технический результат, заключающийся в снижении металлоемкости, энергоемкости и габаритных размеров трепального барабана.
Технический результат заключается в устранении указанных недостатков в трепальном барабане для очистки лубоволокнистых материалов, содержащем вал, крестовины, на которых установлены бильные планки, выполнены в виде пластин, пластины имеют форму треугольников или сегментов круга, ориентированных вершинами в сторону вращения и закрепленных тангенциально.
Шаг расположения пластин в виде треугольников или сегментов круга связан со скоростью транспортирования обрабатываемого материала Vтр, частотой вращения барабана и углом между билами в зависимостью:

Набегающая кромка бильной планки барабана в форме треугольника составляет не менее 0,5 основного шага.
Бильные планки барабана в смежных рядах располагаются в шахматном порядке или по винтовой линии.
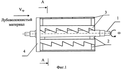
На фиг.1 показан трепальный барабан. На фиг.2 – разрез барабана. На фиг.3 дана планка в форме прямоугольного треугольника. На фиг.4 – в форме косоугольного треугольника. На фиг.5 – то же в форме равностороннего треугольника. На фиг.6 – в форме сегментов круга. Стрелкой Vтр показано направление движения обрабатываемого материала.
Трепальный барабан состоит из вала 1, крестовин-бил 2, на которых тангенциально установлены бильные планки в виде пластин 3 и противонамоточные устройства 4. Диаметр барабана может быть от 400 до 900 мм, может содержать число рядов планок по окружности от 2 до 12 в виде пластин в форме треугольников или сегментов круга, установленных в смежных рядах в шахматном порядке или по винтовой линии. Набегающая кромка треугольников расположена по ходу движения материала под углом и составляет не менее 0,5 основного шага треугольников, то есть H1=0,5Н0 (фиг.3 и 5).
При работе барабана волокно воспринимает удары бильных планок 3. В результате сложения трех движений, образованных от перемещения материала вдоль оси барабана; вращения барабана; относительно перемещения волокна по кромке била (по наклонной кромке), волокно, огибая кромки планок, испытывает интенсивный скользящий изгиб, подкручивается в осевом направлении на набегающей кромке планки, что приводит к быстрому нарушению связи материала с кострой и эффективной его очистке.
Для предотвращения снижения выхода длинного волокна шаг расположения уголков Н0 связан со скоростью транспортирования обрабатываемого материала, частотой вращения барабана и углом между билами в следующей зависимостью:
,
где Vтр – скорость транспортирования материала, м/с;
в – угол между билами барабана, рад, зависит от числа бил на барабане (см. таблицу);
| Таблица |
| Число бил на барабане (число бильных планок) |
Угол расположения бил, в |
H0, шаг |
| град |
рад |
| 2 |
180 |
 |
 |
| 3 |
120 |
 |
 |
| 4 |
90 |
 |
 |
| 6 |
60 |
 |
 |
| 8 |
45 |
 |
 |
| 12 |
30 |
 |
 |
– частота вращения барабана, рад/с. |
При переходе с набегающей на сбегающую кромку бильной планки материал начинает раскручиваться в обратном направлении, что обеспечивает дополнительное осевое кручение, за счет чего также осуществляется более эффективное удаление костры.
Источники информации
1. Патент РФ №2179205. Устройство для очистки промятых стеблей лубяных культур. – приор. 10.07.2002. Опубл. 10.02.2002. Бюл.№4.
2. АС №950806. Мяльно-трепальный механизм для лубоволокнистого материала. Опубл. 15.08.82. Бюл. №30.
3. AC №958514. Трепальный барабан для обработки лубоволокнистого материала. Опубл. 15.09.82. Бюл. №34.
4. AC №1622435. Барабан трепальной машины. Опубл. 06.02.93. D 01 G 9/14. – прототип.
Формула изобретения
1. Трепальный барабан для очистки лубоволокнистых материалов, содержащее вал, крестовины, на которых установлены бильные планки, выполненные в виде пластин, отличающийся тем, что пластины имеют форму треугольников или сегментов круга, ориентированных вершинами в сторону вращения барабана и закрепленных тангенциально.
2. Трепальный барабан по п.1, отличающийся тем, что шаг расположения пластин в виде треугольников или сегментов круга связан со скоростью транспортирования обрабатываемого материала Vтр, частотой вращения барабана и углом между билами в зависимостью

3. Трепальный барабан по п.1, отличающийся тем, что набегающая кромка бильной планки барабана в форме треугольника составляет не менее 0,5 основного шага.
4. Трепальный барабан по п.1, отличающийся тем, что бильные планки барабана в смежных рядах располагаются в шахматном порядке или по винтовой линии.
РИСУНКИ
MM4A – Досрочное прекращение действия патента СССР или патента Российской Федерации на изобретение из-за неуплаты в установленный срок пошлины за поддержание патента в силе
Дата прекращения действия патента: 10.02.2008
Извещение опубликовано: 10.12.2009 БИ: 34/2009
|