|
|
(21), (22) Заявка: 2005102271/02, 31.01.2005
(24) Дата начала отсчета срока действия патента:
31.01.2005
(30) Конвенционный приоритет:
23.02.2004 UA 2004021297
(43) Дата публикации заявки: 10.07.2006
(46) Опубликовано: 20.03.2007
(56) Список документов, цитированных в отчете о поиске:
SU 1582991 A3, 30.07.1990. RU 2040548 C1, 25.07.1995. SU 1740425 A1, 15.06.1992. CA 1154263 A, 27.09.1983.
Адрес для переписки:
49027, г. Днепропетровск, ул. Дзержинского, 35Б, корп.1, кв.13, А.Т. Неклеса
|
(72) Автор(ы):
Неклеса Анатолий Тимофеевич (UA), Клямко Андрей Станиславович (RU), Новинский Вадим Владиславович (RU)
(73) Патентообладатель(и):
Неклеса Анатолий Тимофеевич (UA)
|
(54) СПОСОБ ПОЛУЧЕНИЯ МЕТАЛЛА И УСТАНОВКА ДЛЯ ЕГО ОСУЩЕСТВЛЕНИЯ
(57) Реферат:
Изобретение относится к области металлургии, и может быть использовано в процессах модифицирования, рафинирования и легирования черных металлов. Железоокисные материалы частично восстанавливают и осуществляют предварительный нагрев продувкой отходящими из плавильной зоны восстановительными газами с температурой 800-1000°С. Частично восстановленный материал подают в плавильную зону для его плавления при высокотемпературном нагреве и окончательного восстановления. Окончательное восстановление железоокисных материалов осуществляют плазменными струями, в которые вводят углеродсодержащее топливо и кислородсодержащий газ. Источники плазмы установлены в виде противоположно расположенных по периметру реактора плазмотронов, установленных под углом 30-50° к горизонту в направлении пода реактора. Продольные оси симметрично расположенных плазмотронов пересекаются на оси реактора и находятся в одной плоскости с вершиной угла осей плазмотронов, расположенной выше предварительно заданной высоты зеркала металла. Изобретение позволит получить высококачественный металл с низким уровнем примесей, пониженными энергозатратами и минимальным воздействием на окружающую среду. 2 н. и 3 з.п. ф-лы, 2 ил.
Взаимосвязанная группа изобретений относится к области металлургии и литейного производства и может быть использована в процессах модифицирования, рафинирования и легирования черных и цветных сплавов.
Известен способ получения ферросплавов, включающий сжигание в котлах энергетических установок углеродистых материалов, шлак которых содержит окислы железа в количестве 10-20%, при коэффициенте избытка воздуха 1,1-1,19, накопление шлака в копильнике, выпуск из котла, охлаждение и выделение металла, отличающийся тем, что шлак в копильнике котла дополнительно нагревают до 1700-1800°С путем сжигания мазута вместе с углем и подачи газового факела непосредственно на шлаковую поверхность, при этом в газовый факел дополнительно вводят материалы, включающие окислы щелочно-земельных металлов и железа в количестве, обеспечивающим суммарный ввод указанных окислов из материалов 0,01-0,1% от массы сжигаемого угля (А.с. СССР №1218703, заявл. 07.06.83, опубл. бюл. №24, 1990).
Указанный способ характеризуется невысокой производительностью при больших энергетических затратах.
Наиболее близким по технической сущности и достигаемому результату (прототип) является способ получения железа и/или его сплавов из железоокисных материалов, включающий их частичное предварительное восстановление путем подачи в поток горячего газа, отходящего из плавильной печи и подвергнутого, по крайней мере, частичному дожиганию, сепарацию частично восстановленного железоокисного материала из отходящего газа и подачу отделенного частично восстановленного железоокисного материала в плавильную ванну для плавления за счет реакции с углеродсодержащим топливом и кислородсодержащим газом, отличающийся тем, что частичное восстановление железоокисного материала осуществляют одновременно с охлаждением газа в вертикальном канале, в который направляют отходящий и подвергнутый частичному дожиганию газ и железоокисный материал, а температуру горячего восстановительного газа после ввода в вертикальный канал железоокисного материала поддерживают равной 800-1000°С (Патент России №2077595, заявл. 20.12.89, опубл. бюл. №11, 1997).
Недостатком известного способа является то, что в результате его использования полученное железо имеет высокое содержание углерода и других примесей, что не позволяет использовать полученный металл непосредственно после выпуска его из реактора для производства высококачественных изделий (автомобильный, трансформаторный лист, производство жаропрочных, особо прочных и нержавеющих сталей и др.). Другим недостатком является то, что способ невозможно осуществлять плазменными струями, поскольку при несогласованной продувке плазмой столба материала происходит или выплеск расплава на стенку реактора и в зону предварительного восстановления, или повреждение плазмотронов при их газодинамическом запирании (прогар плазмотрона, попадание охлаждающей воды в расплав, неконтролируемые последствия).
Известно устройство для получения железа и/или его сплавов из железоокисных материалов, содержащее плавильную печь, оборудованную средствами для подачи углеродсодержащего топлива и кислородсодержащего газа непосредственно в жидкую фазу и в пространство под ней для дожигания образующегося в результате плавления газа, выпускное отверстие с трубопроводом отвода отходящего газа, средство для ввода железоокисного материала в подвергнутый дожиганию отходящий газ для частичного восстановления материала и охлаждения газа, установленное за ним средство для сепарации частично восстановленного материала от газа и средство для подачи частично восстановленного материала в плавильную печь, отличающееся тем, что трубопровод отходящего газа установлен вертикально и соединен со средствами загрузки железоокисного материала в нижней его части и со средством для сепарации, расположенным в верхней части канала или рядом с ним (Патент России №2077595, заявл. 20.12.89, опубл. бюл. №11, 1997).
Недостатком устройства является то, что конструкция реактора не позволяет использовать плазмотроны для нижней продувки твердого столба шихты, а затем слоя жидкого расплава, поскольку известный реактор предназначен только для плавления и восстановления путем взаимодействия частично восстановленных окисных материалов с твердым восстановителем.
Наиболее близким по технической сущности и достигаемому результату (прототип) является установка для получения металлов и сплавов, преимущественно ферросплавов, содержащая реактор шахтного типа с огнеупорной футеровкой, в верхней части которого выполнены отверстия для загрузки угля и для газоотвода, боковые стенки реактора в зоне восстановления снабжены трубопроводами для вдувания кислорода или кислородсодержащего газа, а в нижней части реактора выполнены выпускные отверстия для металла и шлака, циклон для сепарации частиц угля из отходящих газов, выходной конец которого соединен трубопроводом с горелками, отличающаяся тем, что в боковой стенке реактора дополнительно выполнены отверстия, соединенные с трубопроводами для вдувания мелкозернистого оксидного материала, расположенные в зоне восстановления выше трубопроводов, подающих кислород или кислородсодержащий газ, а горелки расположены в боковой стенке реактора выше трубопроводов для вдувания оксидного материала, при этом загрузочный бункер с оксидным материалом соединен с трубопроводом, соединяющим циклон для очистки отходящих газов и горелки для предварительного нагрева оксидного материала, разгрузочный конец которого соединен с трубопроводом для вдувания оксидного материала в реактор (Патент России №1582991, заявл. 29.10.87, опубл. бюл. №28, 1990).
Однако такое конструктивное выполнение известной установки не обеспечивает качество получаемого металла ввиду низкой интенсивности рафинирования металла в копильнике и присутствия в нем вредных примесей, кроме того конструкция не обеспечивает достаточную интенсивность тепло- и массообмена на границе газ – расплав в зонах продувки.
В основу первого из группы изобретений поставлена задача усовершенствования способа для получения металла, в котором за счет увеличения поверхности контакта плазменной струи с железоокисным материалом и замещения части расхода окислителя на воду путем введения ее в дуговой разряд, а также дополнительного рафинирования металла путем продувки его окислительной или восстановительной плазменной струей, обеспечивается переработка окисных материалов и производство из них прямым путем высококачественного первородного железа с низким уровнем примесей, пониженными удельными энергозатратами и минимальным воздействием на окружающую среду.
В основу второго из группы изобретений поставлена задача усовершенствования установки для получения металла, в которой за счет выбора оптимальной схемы размещения источников тепла – плазмотронов и, как следствие, изменения внутреннего температурного поля реактора, обеспечивается заданный температурный режим в объеме реакционной зоны, регулирование тепловой мощности, химического состава струи и контроль расхода газа и за счет этого снижаются энергозатраты всего процесса, повышается качество готовой продукции и снижаются выбросы вредных газов.
Первая поставленная задача решается тем, что в способе для получения металла, включающем предварительное восстановление железоокисных материалов путем нагрева продувкой отходящими из плавильной зоны восстановительными газами с температурой 800-1000°С, подачу предварительно восстановленного материала в плавильную зону для его плавления при высокотемпературном нагреве и окончательного восстановления, за счет непрерывной подачи в плавильную зону материала, углеродсодержащего топлива и кислородсодержащих газов, согласно изобретению, процесс восстановления материала осуществляют плазмой, в которую вводят углеродсодержащее топливо и кислородсодержащий газ, а источники плазмы размещают на одном горизонте, навстречу друг другу, при этом направление плазменных струй формируют таким образом, что продольные оси струй образуют центральный угол с вершиной на оси реактора, а вершина угла расположена выше предварительно заданной высоты зеркала металла, восстановительную атмосферу для предварительного восстановления материала поддерживают за счет подачи природного газа и/или водяного пара в отходящий из плавильной зоны газ, причем источники плазмы устанавливают на высоте 0,5-0,8 Н от пода плавильной зоны, где Н – общая высота загруженного материала, а восстановленный металл отводят из плавильной зоны в копильник и дополнительно продувают его окислительной или восстановительной плазменной струей.
Направление плазменных струй предложенным способом обеспечивает увеличение длины пути струи плазмы в расплаве, и вследствие этого повышение эффективности тепломассообменных процессов.
Граничная длина плазменных струй, от симметрично расположенных источников, позволяет направить их работу только на восстановление металла и предотвращает перемешивание готового продукта (металла) с расплавленными окислами, что исключает загрязнение металла и его выбросы на стенки реактора.
Введение воды в дуговой разряд, с последующей высокотемпературной конверсией ее в дуговой камере плазмотрона на кислород и водород, обеспечивает снижение общего расхода газа, проходящего через плазмотрон, повышает энтальпию плазменной струи, КПД плазмотрона и снижает энергозатраты всего процесса.
Дополнительное рафинирование металла в копильнике путем продувки его окислительной или восстановительной плазменной струей способствует снижению концентрации примесей в получаемом металле.
Другая поставленная задача решается тем, что установка для получения металла, содержащая реактор с огнеупорной футеровкой, боковые стенки которого снабжены трубопроводами для подачи кислородсодержащего газа, источники нагрева, а в нижней части реактора расположено выпускное отверстие для слива металла и шлака, согласно изобретению, реактор в верхней части снабжен устройством предварительного восстановления, выполненным в виде перфорированного бункера, размещенного в футерованном корпусе, с загрузочным устройством и выпускным отверстием в нижней части с конусным запорным механизмом, а стенки реактора в верхней части скошены в сторону их внутренней поверхности с образованием проходного сечения, торцевая поверхность которого расположена ниже конусного запорного механизма, при этом по периметру проходного сечения установлены форсунки для подачи природного газа и/или водяного пара, а источники нагрева выполнены в виде симметрично расположенных относительно вертикальной оси реактора плазмотронов, установленных по периметру реактора на высоте 0,5-0,8 Н от пода плавильной зоны, где Н – общая высота загруженного материала, под углом 30-50° к горизонту в направлении пода, причем продольные оси плазмотронов пересекаются на оси реактора выше предварительно заданной высоты зеркала металла, а трубопроводы для подачи кислородсодержащего газа установлены в боковых стенках между плазмотронами и форсунками, при этом напротив выпускного отверстия для металла и шлака, параллельно поду, установлен дополнительный продувочно-рафинировочный плазмотрон.
Размещение плазмотронов по периметру реактора и их взаимное расположение дает возможность повысить эффективность тепломассообменных процессов в реакторе, увеличить длину пути плазмы в расплаве и снизить выбросы и намораживание расплава на стенках реактора.
Предложенные граничные значения углов установки симметричных плазмотронов, полученные экспериментальным путем, обеспечили выведение готового металла из зоны взаимодействия плазменных струй восстановительных плазмотронов, так как вершина угла схождения продольных осей струй находится выше зоны восстановленного металла, при этом между плазменными струями и готовым металлом размещается слой шлака, который по мере восстановления основной массы шихты все в меньшей степени окисляет верхний слой готового металла.
Размещение продувочно-рафинировочного плазмотрона напротив выпускного отверстия позволяет прогревать летку и улучшает условия выпуска металла, а размещение плазмотрона параллельно поду, позволяет более равномерно обрабатывать объем металла.
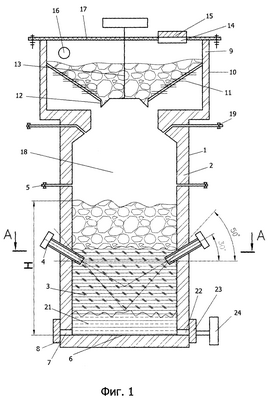
Сущность изобретения поясняется чертежами,
где на фиг.1 показан общий вид установки;
на фиг.2 – сечение А-А фиг.1.
Частично восстановленное исходное сырье (шихта) загружают в реактор. Задают на плазмотроны соответствующие технологическим параметрам плавки расходы охлаждающей воды и плазмообразующего газа, например природный газ и воздух или кислород. Запускают плазмотроны, при этом подачу и направление плазменных струй целесообразно осуществлять по схеме ниже описанной установки. Нагретый до температуры 3000-4000°С и конвертированный на СО и Н2 плазмообразующий газ в виде восстановительных плазменных струй продувает слой шихты. Высокотемпературные горючие газы внутри реактора, поднимаясь вверх, смешиваются с природным газом и/или с водяным паром. Полученная газовая смесь при температуре 800-1000°С непрерывно проходит через слой шихты загрузочного бункера, при этом шихта прогревается и частично восстанавливается. Твердая шихта в реакторе, а затем расплав интенсивно взаимодействуют с восстановительными плазменными струями. Восстановленный металл стекает в нижнюю часть реактора – копильник. Полученный металл в нижней части реактора продувают окислительной или восстановительной плазменной струей.
Как показано на фиг.1, установка включает в себя реактор, корпус 1 которого выполнен из листовой стали. Корпус 1 футерован огнеупорным материалом 2. В нижней части реактора размещается плавильная зона 3, оборудованная средствами подачи энергоносителя и восстановителя через плазмотроны 4 непосредственно в плавильную зону 3. Над слоем проплавляемого материала установлены форсунки 5 подачи кислородсодержащего газа для дожигания горючего газа, выходящего из плавильной зоны. У основания пода 6 расположено выпускное отверстие 7, оснащенное шиберным затвором 8. В верхней части реактора размещается устройство 9 предварительного восстановления окисных материалов, расположенное в стальном футерованом корпусе 10. Внутри корпуса 10 размещается перфорированный бункер 11, выполненный из жаропрочной стали. В нижней части бункера 11 выполнено выпускное отверстие 12 подачи предварительно восстановленных материалов в плавильную зону 3, оснащенное конусным запорным механизмом 13. В верхней части устройства предварительного восстановления 9 размещается загрузочное устройство 14 для подачи окисных материалов в реактор, оснащенное герметичной крышкой 15. В устройстве предварительного восстановления установлена система 16 для удаления отработанных газов из реактора. Бункер 11 сверху закрыт герметичной крышкой 17. Внутренние стенки реактора образуют канал 18, который в верхней части выполнен сужающимся. Канал 18 соединяет устройство 9 предварительного восстановления в нижней его части с плавильной зоной 3. В сужающейся части канала 18 установлены форсунки 19 для дополнительной подачи восстановителя (например, природного газа) и/или водяного пара. Плазмотроны 4 установлены на высоте 0,5-0,8 Н от пода плавильной зоны, где Н – общая высота загрузки материала, противоположно по периметру реактора под углом 30-50° к горизонту в направлении пода реактора таким образом, что продольные оси симметрично расположенных плазмотронов пересекаются на оси реактора с вершиной угла осей, расположенной выше предварительно заданной высоты зеркала металла. Плазмотроны 4 герметично присоединяются к реактору через фланцы 20 (фиг.2). В нижней части реактора размещен копильник 21 восстановленного металла. У дна 6 копильника (реактора) напротив выпускного отверстия 7 выполнено дополнительное отверстие 22, к которому через шиберный затвор 23 подсоединен дополнительный продувочно-рафинировочный плазмотрон 24, продольная ось которого параллельна дну копильника.
Установка работает следующим образом.
Устанавливают плазмотроны 4 и подают на них соответствующие технологическим параметрам плавки расходы охлаждающей воды и плазмообразующего газа (например, природный газ и воздух или кислород). Через загрузочное устройство 14 подают исходные окисные материалы (шихту) в бункер 11 и через выпускное отверстие 12 перегружают шихту в плавильную зону 3, предварительно закрыв шиберным затвором 8 выпускное отверстие 7. Конусным запорным механизмом 13 закрывают выпускное отверстие 12, через загрузочное устройство 14 вновь загружают заданную массу исходной шихты в бункер 11 и герметично закрывают крышку 15. Корректируют на плазмотронах требуемые расходы охлаждающей воды и плазмообразующего газа и запускают плазмотроны 4. Нагретый до среднемассовой температуры Тс=3000-4000°С и конвертированный на СО и Н2 плазмообразующий газ в виде восстановительных плазменных струй продувает слой шихты. Под действием плазменных струй шихта в плавильной зоне 3 интенсивно расплавляется, далее плазменные струи продувают слой расплава. Твердая шихта, а затем расплав интенсивно взаимодействуют с восстановительными плазменными струями, истекающими из плазмотронов 4, и таким образом осуществляется восстановление металла из расплава. Восстановленный металл стекает в копильник жидкого металла 21.
Отходящие в процессе плавления и восстановления окисных материалов в плавильной зоне 3 горючие газы имеют высокую температуру и значительное содержание СО и Н2. Для уменьшения образования настылей и «мостов» из непроплавленного в верхней части слоя шихты окисных материалов, через форсунки 5 вдувают кислородсодержащий газ (например, кислород) в стехиометрическом соотношении. Отходящие газы, догорая, повышают температуру в верхней части плавильной зоны 3, что способствует расплавлению настылей и «мостов». В сужающейся части канала 18 установлены форсунки 19, через которые вдувают природный газ и/или водяной пар для дополнительной подачи восстановителя, который, смешиваясь с отходящим из плавильной зоны газом, охлаждает его. Полученная газовая смесь при температуре 800…1000°С, имея высокий восстановительный потенциал, системой 16 удаления отработанных газов «прокачивается» через перфорированную стенку бункера 11 в слой исходной шихты. Исходная шихта частично прогревается и восстанавливается. Температура шихты в бункере контролируется датчиками температуры, которые автоматически устанавливают подачу природного газа и/или пара через форсунки 19 по определенному алгоритму.
Полученный в процессе плавки металл стекает в копильник 21, где он через дополнительное отверстие 22 продувается восстановительной или окислительной плазменной струей продувочно-рафинировочного плазмотрона 24 в соответствии с требованиями технологического процесса. При отсутствии необходимости дополнительной обработки металла, шиберный затвор 23 не открывается, плазмотрон 24 не включается.
После полного проплавления твердой шихты в плавильной зоне 3 подачу кислородсодержащего газа через форсунки 5 прекращают. Подачу кислорода через форсунки 5 при восстановлении жидкого расплава в зоне 3 осуществляют только для повышения температуры при образовании настылей на стенке вертикального канала 18. Процесс образования настылей контролируется датчиками, установленными в стенке канала.
После завершения процесса плавки и восстановления, шиберным затвором 8 открывают выпускное отверстие 7, и готовый металл сливается в ковш. После слива металла в сталеразливочный ковш и слива шлака плазмотроны 4 и 24 выключают, закрывают подачу на них природного газа, шиберными затворами 8 и 23 закрывают отверстия 7, 22 опускают конусный запорный механизм 13 и частично восстановленные и подогретые окисные материалы перегружают в плавильную зону 3. Затем поднимают конусный запорный механизм 13, закрывают отверстие 12, открывают крышку 15 и через загрузочное устройство 14 подают окисные материалы в устройство 9 предварительного восстановления, на плазмотроны подают природный газ, включают плазмотроны 4, и далее процесс повторяется.
Пример конкретного выполнения
В плавильной зоне установлены четыре плазмотрона потребляемой мощностью по 0,3 МВт, а в копильнике – 0,1 МВт. Теплофизические параметры плазменных струй с заданной среднемассовой температурой и скоростью обеспечивают продувку высоты столба проплавляемого материала, равной 1,3 м. При заданной площади сечения реактора и удельной мощности Ру=2 кВт на 1 кг готового металла вес загружаемой в реактор шихты составил одну тонну, т.е. одна тонна – в зону 3 и одна тонна – в бункер 11. При времени плавки 1 час из реактора выпускается – 0,5 т жидкого металла со средним значением химического состава, %: Fe=99,8; С=0,000; Mn=0,000; Si=0,002; S=0,02; P=0,004; Cr=0,07; Ni=0,03; Cu=0,01; Al=0,000; Mo=0,000; V=0,09; Ti=0,000; As=0,000. Расход природного газа на 1 т готового металла составляет 300-400 кг.
Полученный металл по своему качеству может быть использован как исходная матрица для производства высококачественных легированных высокопрочных и жаростойких сталей, а также как готовый продукт для производства электротехнической стали или другой продукции. Помимо этого заявленный способ и устройство позволяют получать высококачественный металл, минуя многие стадии переплава (домна, конвертер, вакуумно-дуговая печь). Заявленный способ выплавки металла имеет высокие экологические показатели, поскольку все пылевые выбросы практически остаются в слое шихты в бункере частичного восстановления, и поэтому он оказывает чрезвычайно низкое воздействие на экологию.
Поскольку заявленный способ для получения металла и установка имеют высокие удельные энергетические показатели, сравнительно малые размеры установки – все это дает возможность их использования при дефиците производственных площадей.
На данный момент способ для получения металла прошел экспериментальные испытания на установке для его осуществления. Положительные результаты положены в основу проекта строительства промышленного образца.
Формула изобретения
1. Способ получения металла, включающий частичное восстановление железоокисных материалов и предварительный нагрев продувкой отходящими из плавильной зоны восстановительными газами с температурой 800-1000°С, подачу частично восстановленного материала в плавильную зону для его плавления при высокотемпературном нагреве и окончательного восстановления за счет непрерывной подачи в плавильную зону углеродсодержащего топлива и кислородсодержащих газов, отличающийся тем, что окончательное восстановление материала осуществляют плазменными струями, в которые вводят углеродсодержащее топливо и кислородсодержащий газ, при этом источники плазмы размещают на одном горизонте с направлением плазменных струй навстречу друг другу с образованием их продольными осями центрального угла с вершиной на оси реактора, расположенной выше заданной высоты зеркала металла, при этом в отходящий из плавильной зоны газ для осуществления частичного восстановления материалов вдувают природный газ и/или водяной пар.
2. Способ по п.1, отличающийся тем, что ввод плазменных струй осуществляют на высоте 0,5-0,8 Н от пода плавильной зоны, где Н – общая высота загрузки материала.
3. Способ по п.1, отличающийся тем, что восстановленный металл отводят из плавильной зоны в копильник и дополнительно продувают его окислительной или восстановительной плазменной струей.
4. Установка для получения металла, содержащая реактор с футерованным корпусом, в верхней части которого размещено средство частичного восстановления железоокисных материалов, выполненное в виде перфорированного бункера с загрузочным устройством и выпускным отверстием, имеющим в нижней части конусный запорный механизм для подачи частично восстановленных материалов в плавильную зону, трубопровод отходящих из плавильной зоны газов, соединяющий плавильную зону с нижней частью средства частичного восстановления и выполненный в верхней части суженым, источники нагрева, расположенные в боковой стенке реактора, и выпускное отверстие для металла и шлака в нижней части реактора, отличающаяся тем, что плавильная зона оборудована трубопроводами подачи кислородсодержащего газа, источники нагрева выполнены в виде симметрично расположенных плазмотронов, установленных ниже трубопроводов подачи кислородсодержащего газа по периметру реактора на высоте 0,5-0,8 Н от пода плавильной зоны, где Н – общая высота загруженных материалов, под углом 30-50° к горизонту в направлении пода реактора, с пересечением продольных осей плазмотронов на оси реактора выше заданной высоты зеркала металла, а в суженной части трубопровода отходящих газов установлены форсунки для подачи природного газа и/или водяного пара.
5. Установка по п.4, отличающаяся тем, что напротив выпускного отверстия для металла и шлака параллельно поду установлен дополнительный продувочно-рафинировочный плазмотрон.
РИСУНКИ
|
|