|
|
(21), (22) Заявка: 2005137964/04, 06.12.2005
(24) Дата начала отсчета срока действия патента:
06.12.2005
(46) Опубликовано: 20.03.2007
(56) Список документов, цитированных в отчете о поиске:
И.Г.Тановицкий «Машины и технология торфяного производства», 1979, вып.9, с.129-136. SU 1289992 A1, 15.02.1987. CA 1076806 A, 06.05.1980. DE 3442202 A1, 28.05.1986. DE 1671382 A1, 22.05.1975.
Адрес для переписки:
170026, г.Тверь, наб. Афанасия Никитина, 22, Тверской государственный технический университет, Отдел охраны авторских прав и защиты информации, А.К. Борисенко
|
(72) Автор(ы):
Косов Владимир Иванович (RU), Гогин Дмитрий Юрьевич (RU)
(73) Патентообладатель(и):
Косов Владимир Иванович (RU)
|
(54) СПОСОБ ПО ПРОИЗВОДСТВУ ПРОДУКЦИИ, ТЕПЛА И ЭЛЕКТРОЭНЕРГИИ ИЗ ТОРФА И ТЕХНОЛОГИЧЕСКИЙ КОМПЛЕКС ДЛЯ ЕГО ОСУЩЕСТВЛЕНИЯ
(57) Реферат:
Изобретение относится к способу получения продукции, тепла и электроэнергии из торфа и может быть использовано в горнодобывающей и перерабатывающей отраслях, жилищно-коммунальном хозяйстве, биотермохимическом производстве, малой энергетике и охране окружающей среды. Способ заключается в том, что торф используют в виде пульпы, которую разделяют на крупнодисперсную и мелкодисперсную фракции, причем первую фракцию обезвоживают до влажности 50-60%, формуют и полученную продукцию досушивают до влажности 20-30%. При этом мелкую фракцию обезвоживают до влажности 65-70%, затем подают в экструдер, причем одновременно в полученную массу вводят композиты, связующие модификаторы и минеральные удобрения, формуют под давлением в топливные брикеты или гранулы, которые затем досушивают до влажности 20-30%. После этого всю высушенную продукцию фасуют и пакетируют, а отходы направляют в газогенератор для пиролизного сжигания с дальнейшим преобразованием в тепловую и электрическую энергию. Скорость вращения центрифуг при обезвоживании крупнодисперсной и мелкой фракций соответствует условию V12 не менее чем в 2 раза. Описан также технологический комплекс, включающий участок добычи торфа, связанный с модульным участком переработки торфа, который снабжен фракционатором и, по крайней мере, двумя параллельно установленными и взаимосвязанными между собой через фракционатор линиями переработки торфа для крупнодисперсных фракций и мелкодисперсных фракций. Первая линия включает в себя последовательно установленные и взаимосвязанные между собой посредством трубопровода и транспортера центрифугу, многоматричный пресс, ленточную сушилку и фасовочно-упаковочный отдел. Вторая линия переработки мелкой фракции включает в себя последовательно установленные и взаимосвязанные между собой посредством трубопровода и транспортера центрифугу, экструдер с фильерами-насадками, барабанную сушилку и фасовочно-упаковочный отдел. Фасовочно-упаковочный отдел линий связан со складом отходов, который, в свою очередь, соединен с газогенератором для пиролизного сжигания некондиционной продукции, связанный через привод с генератором для преобразования тепловой энергии в электрическую. Участок добычи торфа связан с модульным участком переработки торфа пульпопроводом с размещенным в нем насосом-измельчителем. Пресс первой линии оснащен матрицами различных геометрических форм, позволяющих формовать торфоизоплиты, торфяные горшочки, субстратные блоки и т.д. Экструдер на второй линии оснащен насадками-фильерами для формования кусков диаметром 5-7 мм и длиной 10-15 мм для удобрений, топливных энергопеллет, сорбентов-поглотителей и диаметром 25-30 мм и 50-60 мм для производства топливных брикетов-биотоплива. Изобретение позволяет производить различную продукцию, тепло и энергию. 2 н. и 3 з.п. ф-лы, 1 ил.
Изобретение относится к способу получения продукции, тепла и электроэнергии из торфа и может быть использовано в горнодобывающей и перерабатывающей отраслях, жилищно-коммунальном хозяйстве, биотермохимическом производстве, малой энергетике и охране окружающей среды.
Известен способ получения кускового коммунально-бытового биотоплива, включающий производство фрезерного торфа с влажностью 40-65%, сепарацию его в сухом виде для отделения от пней, корней и кусков торфа размером более 10 мм, а затем в просеянную массу последовательно добавляют смесь отходов древесины – мелкие опилки или угольную мелочь, предварительно пропитанные мазутом – дизельным топливом или сланцем, и после этого в смесь добавляют сапропель естественной влажности 89-95%, перемешивая в винтовом шнеке и доводя до влажности 80-85%, а затем производят формование куска диаметром 25-35 мм под давлением методом экструзии через фильеры со скоростью 0,5-10 мм/с, после чего в сушилке осуществляют сушку кускового торфа в два этапа: искусственную с доведением до влажности 35-50% при температуре 150-200°С и естественную с доведением до влажности 25-33%. Полученное таким образом биотопливо сжигают в котельных для получения тепла (RU 2255955 С1, 16.02.2004, МПК С 10 F 7/06, С 10 L 5/14).
Недостатком данного способа и технологического комплекса является необходимость использования торфа, добытого только фрезерным способом, а не в виде пульпы, экологически опасно, трудоемко, сопровождается значительными материальными и финансовыми затратами, а на выходе – получение только одного вида продукции – окускованного коммунально-бытового биотоплива и отходов производства, достигающих от 10 до 20% от общего объема выпускаемой продукции. Кроме того, данный способ имеет также большие затраты на транспортировку сырья и готовой продукции в виде фрезерного торфа к местам переработки и потребления.
Известен способ и технологический комплекс для производства продукции из торфа в виде твердого топлива на основе фрезерного торфа влажностью 40-60% и получения из него тепловой энергии, включающий линию по производству брикетов твердого топлива, которая состоит из блока подготовки сырьевой смеси – фрезерного торфа и входящего в него устройства для подачи фрезерного торфа, измельчителя – молотковой дробилки, дозатора для добавления угольной мелочи и древесных опилок, насоса для подачи и добавления воды в смесь, пресса-экструдера для формования кусков твердого топлива в виде топливных брикетов, сушилки и линии газификации топливных брикетов, содержащей, в свою очередь, газогенераторную установку – газогенератор, представляющей собой шахту, в нижней части которой смонтирован золоприемник, шнек удаления золы и устройства для подачи воздуха (RU 2241904 С1, 26.03.2003, МПК F 23 В 1/14, С 10 J 3/20).
Недостатком данного способа и технологического комплекса являются значительные затраты на производство брикетов из фрезерного торфа, отсутствие комплексности и невозможность одновременного получения других видов продукции на основе торфа, а также ограничение по качеству сырья (большой объем отходов при сепарации фрезерного торфа с низкой степенью разложения, а также низкая теплотворная способность полученных топливных брикетов и, как итог, – низкий выход биогаза при газификации и низкий КПД при получении тепла от сжигания такого некачественного твердого топлива). Данный комплекс применим только для поставляемого сырья из фрезерного торфа средней и высокой степени разложения, что ограничивает диапазон его применения в малой энергетике и ЖКХ.
Данные способ переработки торфа и устройство не позволяют получать топливные брикеты в виде биотоплива, а соответственно, и вырабатывать тепло. Кроме того, данные линии ограничены по применению сырьевой базой (используется только торф верхового типа с низкой степенью разложения), а поскольку фрезерный способ добычи сориентирован на послойный сбор торфа, то по истечении 3-5 лет сработки торфяной залежи на больших от поверхности глубинах будет добываться сырье со средней и высокой степенью разложения, которое не пригодно для данного способа. Сразу возникает необходимость поставки требуемого сырья с других сырьевых баз (торфопредприятий), что значительно увеличивает затраты на автотранспортные расходы и снижает объем производства и качество продукции.
В биотермохимическом производстве используются способ и технологическая линия, включающая грануляцию сырой массы торфа, экскавированной из залежи, с последующей сушкой гранул на удобрение и линию грануляции из готовой торфяной мелкой сушенки для производства гранулированных удобрений.
Недостатком данного способа и технологических линий являются значительные затраты на подготовку исходного сырья, в первом случае – добычу фрезерного торфа, а во втором – добычу фрезерного торфа, его измельчение, сушку и производство из него торфяной сушенки. Необходимость измельчения торфа перед смешиванием на дробилке, увлажнение его водой и возврат к пульпе в залежи, а затем удаление этой же воды искусственной сушкой после грануляции делают процесс энергоемким и экономически затратным. Кроме того, процесс добавления минеральных удобрений после их дробления в твердом виде в торфяную массу не позволяет достичь точной дозировки и гомогенного распределения их в объеме структурообразующей торфяной массы, что снижает качество производимых органо-минеральных удобрений с различной дозировкой для разных агрокультур. Производство гранулированного биотоплива на данном оборудовании возможно, исключая введение минеральных удобрений, однако получаемое твердое топливо будет энергетически и экономически затратным, а продукт – биотопливо неконкурентноспособным на рынке коммунально-бытового местного топлива.
В основе настоящего изобретения лежит задача по разработке экологически чистого, безотходного, экономически и энергетически эффективного способа производства продукции, тепла и электроэнергии из торфа и высокотехнологичного комплекса, позволяющего производить одновременно конкурентноспособную продукцию, тепло и электроэнергию из торфа. Экономичность и безотходность определяется единым добывающе-перерабатывающим комплексом с утилизацией некачественного продукта и отходов производства путем превращения его в сырье для газогенерации – тепло и электроэнергию. Комплекс с замкнутой системой водо- и теплоснабжения позволяет исключить сброс загрязненных сточных вод в водоприемники, а часть производимого тепла и электроэнергии направить на производственные нужды, тем самым повысить экологичность и экономичность производимой продукции на основе торфа (удобрений, биотоплива, сорбентов и т.д.).
Поставленная задача достигается тем, что торф используют в виде пульпы, которую разделяют на крупнодисперсную и мелкодисперсную фракции, причем первую фракцию обезвоживают до влажности 50-60%, формуют и полученную продукцию досушивают до влажности 20-30%, при этом мелкую фракцию обезвоживают до влажности 65-70%, затем подают в экструдер, причем одновременно в полученную массу вводят композиты, связующие модификаторы и минеральные удобрения, формуют под давлением в топливные брикеты или гранулы, которые затем досушивают до влажности 20-30%, после чего всю высушенную продукцию фасуют и пакетируют, а отходы направляют в газогенератор для пиролизного сжигания с дальнейшим преобразованием в тепловую и электрическую энергию. Скорость вращения центрифуг при обезвоживании крупнодисперсной и мелкой фракций соответствует условию V12 не менее чем в 2 раза.
Поставленная задача достигается также тем, что технологический комплекс включает в себя участок добычи торфа, связанный с модульным участком переработки торфа, который снабжен фракционатором и, по крайней мере, двумя параллельно установленными и взаимосвязанными между собой через фракционатор линиями переработки торфа для крупнодисперсных фракций и мелкодисперсных фракций, при этом первая линия включает в себя последовательно установленные и взаимосвязанные между собой посредством трубопровода и транспортера центрифугу, многоматричный пресс, ленточную сушилку и фасовочно-упаковочный отдел, а вторая линия переработки мелкой фракции включает в себя последовательно установленные и взаимосвязанные между собой посредством трубопровода и транспортера центрифугу, экструдер с фильерами-насадками, барабанную сушилку и фасовочно-упаковочный отдел, причем фасовочно-упаковочный отдел линий связан со складом отходов, который, в свою очередь, соединен с газогенератором для пиролизного сжигания некондиционной продукции, связанным через привод с генератором для преобразования тепловой энергии в электрическую, причем участок добычи торфа связан с модульным участком переработки торфа пульпопроводом с размещенным в нем насосом-измельчителем. Пресс первой линии оснащен матрицами различных геометрических форм, позволяющих формовать торфоизоплиты, торфяные горшочки, субстратные блоки и т.д., а экструдер на второй линии оснащен насадками-фильерами для формования кусков диаметром 5-7 мм и длиной 10-15 мм для удобрений, топливных энергопеллет, сорбентов-поглотителей и диаметром 25-30 мм и 50-60 мм для производства топливных брикетов – биотоплива.
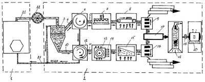
Изобретение поясняется чертежом, где схематично представлено изображение технологического комплекса.
Технологический комплекс включает в себя участок добычи торфа 1, связанный с модульным участком переработки торфа 2, который снабжен фракционатором 3 и, по крайней мере, двумя параллельно установленными и взаимосвязанными между собой через фракционатор 3 линиями переработки торфа для крупнодисперсных фракций и мелкой фракции, при этом первая линия включает в себя последовательно установленные и взаимосвязанные между собой посредством трубопровода 4 и транспортера 5 центрифугу 6, многоматричный пресс 7, ленточную сушилку 8 и фасовочно-упаковочный отдел 9, а вторая линия переработки мелкой фракции включает в себя последовательно установленные и взаимосвязанные между собой посредством трубопровода 10 и транспортера 11 центрифугу 12, экструдер 13 с фильерами-насадками 14, барабанную сушилку 15 и фасовочно-упаковочный отдел 16, причем фасовочно-упаковочные отделы 16 обеих линий связаны со складом отходов 17, который, в свою очередь, соединен с газогенератором 18 для пиролизного сжигания некондиционной продукции, связанным через привод 19 с генератором 20 для преобразования тепловой энергии в электрическую, причем участок 1 добычи торфа связан с модульным участком 2 переработки торфа пульпопроводом 21 с размещенным в нем насосом-измельчителем 22. Пресс 7 первой линии оснащен матрицами 23 различных геометрических форм, позволяющих формовать торфоизоплиты, торфяные горшочки, субстратные блоки и т.д., а экструдер 13 на второй линии оснащен насадками-фильерами 14 для формования кусков диаметром 5-7 мм и длиной 10-15 мм для удобрений, топливных энергопеллет, сорбентов-поглотителей и диаметром 25-30 мм и 50-60 мм для производства топливных брикетов – биотоплива.
Способ реализуется через технологический комплекс следующим образом.
Торф в виде пульпы, добытый способом скважинной гидродобычи (фиг.1) с участка добычи торфа 1, в виде торфяной пульпы по пульпопроводу 21 с помощью насоса-измельчителя 22 подается на модульный участок 2 переработки торфа, а затем в сетчатый или барабанный фракционатор 3, где разделяется на две фракции – крупную и мелкую, а затем распределяется на две параллельные линии переработки. По первой линии крупнодисперсная фракция (волокна неразложившихся растений торфообразователей – пушица, осока, тростник и др., представляющих в торфяной залежи структуру переплетения) поступает по трубупроводу 4 в центрифугу 6, вращающуюся со скоростью V1, затем после обезвоживания до влажности 50-65% по ленточному транспортеру 5 в многоматричный пресс 7, затем на ленточную сушилку 8, где досушивается до влажности 20-30% и в фасовочно-упаковычный отдел 9. Мелкодисперсная фракция после разделения на фракционаторе 3 подается на параллельную вторую линию вначале посредством трубопровода 10 на центрифугу 12, вращающуюся со скоростью V2, а затем последовательно после обезвоживания до влажности 65-70% торфяная масса подается транспортером 11 в экструдер 13 с различными насадками 14, в который одновременно с торфом поступают композиты (древесные отходы – мелкие опилки, угольная мелочь и т.д.), связующие модификаторы (сапропель, лигнин и т.д.) и минеральные удобрения (NPK в растворенном состоянии). Экструзия производится под давлением с установкой различных насадок – фильер 14 для формования кусков диаметром 5-7 мм и длиной 10-15 мм под удобрения, топливные энергопеллеты и сорбенты-поглотители, а также диаметром 25-30 мм и длиной 50-60 мм под топливные брикеты как биотоплово. После экструзии на ленточном транспортере 11 эти гранулированные и спрессованные материалы поступают в барабанную сушилку 15, где досушиваются до влажности 20-30%, а затем в фасовочно-упаковочный отдел 16, где расфасовываются и пакетируются по видам продукции.
Первая линия позволяет за счет изменения геометрической формы матрицы 23 на прессе 7 менять форму и номенклатуру продукции (торфоизоплиты, торфяные горшочки, упаковочная тара для яиц, фильтры-поглотители в форме пластин и ковриков, субстратные блоки для выращивания рассады и т.д.), а вторая линия за счет смены насадок фильер 14 в экструдере 13 и введением в торф различных модифицирующих композитных материалов позволяет получать гранулированные продукты и органо-минеральные удобрения. Вся высушенная продукция поступает в фасовочно-упаковочные отделы 16, а затем отгружается потребителям, причем все отходы от прессования, экструзии, сушки и фасовки торфа поступают в склад отходов 17, а затем непосредственно в газогенератор 18, где путем высокотемпературного пиролиза сжигаются, превращаясь в биогаз и тепло. Тепло частично возвращается на производство, а биогаз и остальное тепло – потребителю. Кроме того, результатом газогенерации являются превращение тепла с помощью привода 19 в электроэнергию на генераторе 20 и реализация ее потребителю.
Скорость вращения центрифуг при обезвоживании торфа на первой и второй параллельных линиях должна удовлетворять условию V2>V1 не менее чем в 2 раза, поскольку во втором случае энергия связи осмотической, физико-химической и молекулярно-связанной категорий воды с мелкодисперсными полуколлоидными частицами фракций значительно выше, чем с грубодисперсными фракциями, со слабосвязанными категориями воды – капилярно-связанной и иммобилизованной. Поэтому обезвоживание на центрифуге при таком соотношении скоростей позволяет получить влажность обезвоженного торфа на первой линии 50-60%, а на второй – 65-70%. Влажность готовой продукции 20-30% регламентируется качественными показателями (крошимостью, прочностью, влагоемкостью, хранением и транспортабельностью).
Вода, удаленная из торфяной пульпы после фракционирования и центрифугирования торфа, возвращается по трубопроводу 24 на участок добычи торфа 1 для закачки под давлением в скважину и для размыва торфа и получения торфяной пульпы, реализуя при этом полностью замкнутый цикл водооборотной системы.
Размеры мелких кусков обусловлены тем, что при сушке до 20-30% в результате объемной усадки торфа размеры кусков, как показали исследования, становятся диаметром 2-3 мм и длиной 8-11 мм, что составляет оптимальный размер для удобрений, близкий к размерам злаковых зерен. Это важно при точечной посадке зерна вместе с удобрениями механизированными сеялками, а также это является оптимальным размером для заполнения фильтров-поглотителей, служащих для очистки водных и воздушных сред. При этих размерах достигается максимальная насыпная плотность при максимальных значениях пористости и удельной поверхности. Такое сочетание диаметра и длины для готовой продукции в виде топливных энергопеллет обеспечивает высокую плотность и теплотворную способность при механизированном способе подачи шнеком топлива в топку газогенератора.
Размер крупных кусков диаметром 25-30 мм и длиной 50-60 мм обеспечивает интенсивную сушку, сохранность прочности и формы куска при его сушке в различных режимах. При больших размерах существенно увеличивается время сушки, возникают трещины как на поверхности, так и внутри куска, а при меньших топливные брикеты имеют низкие качественные теплофизические характеристики вследствие слипания при горении.
Предлагаемый способ и технологический комплекс для его осуществления позволяют получать различные виды торфяной продукции, а также тепло и электроэнергию как на широко распространенной в России сырьевой базе верховых торфяных месторождений (более 60% от всех запасов) со средней и низкой степенью разложения торфа (увеличивается выход продукции по первой линии), так и на менее встречаемых и разрабатываемых переходных и низинных торфяных залежах (в этом случае увеличивается выход продукции по второй линии, а также количество и качество генерируемого тепла и электроэнергии). Таким образом практически решается вопрос о безотходном использовании любого типа торфяного месторождения и любой сырьевой базы и при этом практически отсутствует затратная транспортная составляющая при транспортировке различного торфяного сырья на разные перерабатывающие предприятия, расположенные далеко друг от друга (иногда более 100 км), специализирующиеся по выпуску различной продукции (удобрений или изоплит и т.д.).
При необходимости выработки большего количества тепла и электроэнергии для местного потребления и ЖКХ (в зимний период) комплекс без изменения своей структуры лишь увеличивает объем производимого биотоплива и энергопиллет для целевого сжигания, а в весенне-летний период, наоборот, переходит на выпуск продукции для садоводов и огородников, строительной индустрии и т.д. Высокотехнологичный комплекс позволяет автоматизировать и компьютизировать процесс и осуществлять круглогодовое производство продукции на основе торфа, что снижает общие затраты и повышает прибыльность данного добывающе-перерабатывающего предприятия.
Реализация данного способа и комплекса из двух линий позволяет получить одновременно с теплом и электроэнергией более 6 наименований продукции из торфа, сократить в 12-28 раз затраты на добычу сырья и одностадийное обезвоживание и сушку готовой продукции по сравнению со всеми существующими двух- и трехстадийными процессами обезвоживания – естественной и искусственными досушками торфа. При всех существующих способах добычи и переработки торфа вначале осушают торфяную залежь сетью проводящих и осушающих каналов, затраты от этой технологической операции составляют до 30-40% от себестоимости продукции, затем фрезеруют и сушат фрезерную крошку еще 60% затрат, далее автотранспортом доставляют ее на перерабатывающее производство с явной потерей качества (увлажнение, распыление, саморазогревание, минерализация), после чего искусственно сушат, измельчают и заново увлажняют (водой или паром) для улучшения процесса брикетирования и экструзии, а затем повторно искусственно досушивают уже готовую продукцию. При таких процессах затраты энергии на 1 тонну готовой продукции в 8-12 раз выше, чем в предлагаемом изобретении. Кроме того, отдельно работающие производства имеют до 20% отходов от объема выпускаемой торфяной продукции в виде некондиционной продукции, отходов некачественного сырья или крошащихся мелких и пылевых компонентов, которые практически не используются.
В данном способе и технологическом комплексе в конце двух параллельных линий все отходы, суммируясь, образуют прекрасное топливное сырье. Разъединение сырья в начале на две фракции и технологические линии, объединение отходов и разнообразной готовой продукции в конце этих линий при фасовке и пакетировании позволяет полностью использовать сырье, утилизировать отходы и реализовать безотходное и экологически безопасное многопрофильное производство.
Производство различной продукции, тепла и электроэнергии на основе способа и предлагаемых высокотехнологичных линий позволяет в сложных экономических условиях динамично изменяющегося рынка и постоянного роста цен на тепло- и энергоносители варьировать выпуском и объемом конкурентоспособных видов торфяной продукции. Кроме того, он позволяет сезонно регулировать объем выработки тепла и электроэнергии, а также обеспечить надежную поставку тепла и электроэнергии для местных нужд производства, ЖКХ и населения.
Формула изобретения
1. Способ производства продукции, тепла и электроэнергии из торфа, характеризующийся тем, что торф используют в виде пульпы, которую разделяют на крупнодисперсную и мелкодисперсную фракции, причем первую фракцию обезвоживают до влажности 50-60%, формуют и полученную продукцию досушивают до влажности 20-30%, при этом мелкодисперсную фракцию обезвоживают до влажности 65-70%, затем подают в экструдер, причем одновременно в полученную массу вводят композиты, связующие модификаторы и минеральные удобрения, формуют под давлением топливные брикеты или гранулы, которые затем досушивают до влажности 20-30%, после чего всю высушенную продукцию фасуют и пакетируют, а отходы направляют в газогенератор для пиролизного сжигания с дальнейшим преобразованием в тепловую и электрическую энергию.
2. Способ по п.1 отличающийся тем, что скорость вращения центрифуг при обезвоживании крупнодисперсной и мелкодисперсной фракций соответствует условию V12 не менее чем в 2 раза.
3. Технологический комплекс по производству продукции, тепла и электроэнергии из торфа, характеризующийся тем, что он включает в себя участок добычи торфа, технологически связанный посредством пульпопровода с размещенным в нем насосом-измельчителем с модульным участком переработки торфа, который снабжен фракционатором и, по крайней мере, двумя параллельно установленными и взаимосвязанными между собой через фракционатор линиями переработки торфа для крупнодисперсных фракций и мелкодисперсной фракции, при этом первая линия включает в себя последовательно установленные и взаимосвязанные между собой посредством трубопровода и транспортера центрифугу, многоматричный пресс, ленточную сушилку и фасовочно-упаковочный отдел, а вторая линия переработки мелкой фракции включает в себя последовательно установленные и взаимосвязанные между собой посредством трубопровода и транспортера центрифугу, экструдер с фильерами-насадками, барабанную сушилку и фасовочно-упаковочный отдел, причем фасовочно-упаковочный отдел линий связан со складом отходов, который, в свою очередь, соединен с газогенератором для пиролизного сжигания некондиционной продукции, связанный через привод с генератором для преобразования тепловой энергии в электрическую.
4. Технологический комплекс по п.1, отличающийся тем, что пресс первой линии оснащен матрицами различных геометрических форм, позволяющих формовать торфоизоплиты, торфяные горшочки, субстратные блоки и т.д.
5. Технологический комплекс по п.2, отличающийся тем, что экструдер на второй линии оснащен насадками-фильерами для формования мелких кусков диаметром 5-7 мм и длиной 10-15 мм для удобрений, топливных энергопеллет, сорбентов поглотителей и крупных – диаметром 25-30 мм и длиной 50-60 мм для производства топливных брикетов-биотоплива.
РИСУНКИ
|
|