|
|
(21), (22) Заявка: 2005122190/15, 13.07.2005
(24) Дата начала отсчета срока действия патента:
13.07.2005
(46) Опубликовано: 20.03.2007
(56) Список документов, цитированных в отчете о поиске:
RU 2193534 С1, 27.11.2002. RU 93053665 А, 27.06.1996. RU 2070547 C1, 20.12.1996. SU 747821 А, 15.07.1980. RU 2067032 C1, 27.09.1996. US 4199282 A, 22.04.1980. JP 2000-185245 А, 04.07.2000. Н.И.Гельперин, Основные процессы и аппараты химической технологии, Москва, Химия, 1981, с.134-135.
Адрес для переписки:
424000, Республика Марий Эл, г.Йошкар-Ола, пл. Ленина, 3, ГОУ ВПО МГТУ, отдел интеллектуальной собственности
|
(72) Автор(ы):
Багнюк Виталий Викторович (RU), Гамова Екатерина Евгеньевна (RU)
(73) Патентообладатель(и):
Государственное образовательное учреждение высшего профессионального образования Марийский государственный технический университет (RU)
|
(54) ВИБРАЦИОННЫЙ АЭРАТОР
(57) Реферат:
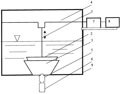
Вибрационный аэратор может быть использован для насыщения чистой и сточной воды кислородом с одновременным перемешиванием. Вибрационный аэратор включает резервуар (9), содержащий нижний неподвижный (3) и верхний колеблющийся (2) усеченные конусы, установленные соосно с подводом атмосферного воздуха через обратный клапан (5) из трубопровода подсоса воздуха (6). Нижний неподвижный (3) и верхний колеблющийся (2) усеченные конусы изготовлены сплошными и полыми, имеющими одинаковые геометрические размеры. Дно нижнего неподвижного (3) сплошного полого усеченного конуса содержит обратный клапан (5). Через обратный клапан (5) осуществляется подача воздуха в пространство, образующееся между верхним колеблющимся (2) и неподвижным нижним (3) сплошным полыми усеченными конусами при возвратно-поступательном движении верхнего колеблющегося (2) сплошного полого усеченного конуса, осуществляемом при помощи шатуна (1), кривошипа (4), редуктора (7), электродвигателя (8). Технический результат – повышение интенсивности диспергации воздуха, увеличение надежности и уменьшение капитало- и материалоемкости устройства. 1 ил.
Изобретение относится к вибрационной технике и может быть использовано для насыщения чистой и сточной воды кислородом с одновременным перемешиванием.
Известен пневматический аэратор, содержащий каркас в виде перфорированной трубы специального профиля с сочетанием впадин и гребешков, симметрично расположенных относительно оси трубы, полимерную сетку и наружный диспергирующий слой, выполненный пневмоэкструзией из волокнистого материала с переменной пористостью в 250-400 мм на внутренней и 80-120 мм на наружной поверхности (Авторское свидетельство РФ №93027505/26, МПК 6 С 02 F 3/20, 1993.)
Недостатком этого устройства является сложность исполнения каркаса, кроме того, засорение отверстий приводит к периодической промывке трубопровода, что уменьшает эффективность аэрации и требует дополнительных ресурсов времени.
Известен вибрационный аэратор для открытых водоемов, содержащий вибропривод, на полом штоке которого закреплены неподвижный и колеблющийся конусы, установленные соосно с подводом атмосферного воздуха по полому штоку, нижний из которых сетчатый, а верхний – с перфорацией коноидного профиля, обращенной усеченной частью вниз. (Авторское свидетельство РФ №93053665/26, МПК 6 С 02 F 7/00, 1993).
Недостатком данного устройства является низкая диспергация воздуха, сложность исполнения нижнего неподвижного сетчатого и верхнего колеблющегося конуса с перфорацией коноидного профиля. Использование вибропривода для движения верхнего колеблющегося усеченного конуса, а также компрессорной установки для принудительной подачи в жидкость кислорода из атмосферного воздуха снижает надежность устройства и требует дополнительных денежных и материальных затрат.
Наиболее близким к изобретению по технической сущности и достигаемому результату является вибрационный аэратор для объемов жидкости со свободной поверхностью, содержащий неподвижный нижний и колеблющийся верхний усеченные конусы, установленные соосно с подводом атмосферного воздуха. (Патент РФ №2193534, МПК C 02 F 7/00, 2002).
Недостатком данного устройства является использование компрессорной установки для принудительной подачи в жидкость кислорода из атмосферного воздуха, что снижает надежность устройства и требует дополнительных денежных и материальных затрат.
Изобретение позволяет устранить эти недостатки.
Технический результат предлагаемого решения – устранение компрессорной установки для принудительной подачи в жидкость кислорода из атмосферного воздуха, что позволяет уменьшить капитало- и материалоемкость устройства, повышение интенсивности диспергации воздуха и повышение надежности работы устройства.
Поставленный технический результат достигается тем, что неподвижный нижний и колеблющийся верхний усеченные конусы изготовлены сплошными и полыми, причем верхний колеблющийся сплошной полый усеченный конус имеет возвратно-поступательное движение. Для нормальной работы предлагаемого устройства уровень жидкости должен быть таким, чтобы при возвратно-поступательном движении шатуна, приводимого в движение кривошипом от электродвигателя через редуктор, верхний колеблющийся сплошной полый усеченный конус находился целиком в объеме жидкости при достижении шатуном верхней мертвой точки. Верхний колеблющийся сплошной полый и нижний неподвижный сплошной полый усеченные конусы имеют одинаковые геометрические размеры, за счет чего при движении к верхней мертвой точки верхнего колеблющегося сплошного полого усеченного конуса между нижним неподвижным сплошным полым и верхним колеблющимся сплошным полым усеченными конусами создается разрежение. Вследствие происходит подача воздуха по трубопроводу через обратный клапан, встроенный в дно неподвижного нижнего сплошного полого усеченного конуса, в пространство, образующееся между верхним колеблющемся и нижним неподвижным сплошными полыми усеченными конусами, в котором находится часть жидкости. При движении вниз верхний колеблющийся сплошной полый усеченный конус выталкивает аэрированную жидкость из неподвижного нижнего сплошного полого усеченного конуса и смешивает аэрированную жидкость с неаэрированной в объеме резервуара. Предлагаемое устройство позволяет устранить компрессорную установку для принудительной подачи в жидкость кислорода из атмосферного воздуха, что позволяет уменьшить капитало- и материалоемкость, повысить интенсивность диспергации воздуха и надежность работы устройства.
На чертеже 1 представлен общий вид предлагаемого устройства в разрезе.
Устройство содержит шатун 1, верхний колеблющийся сплошной полый усеченный конус 2, усеченная часть которого направлена вниз, нижний неподвижный сплошной полый усеченный конус 3, усеченная часть которого направлена вниз, кривошип 4, обратный клапан 5, трубопровод 6, редуктор 7, электродвигатель 8, резервуар 9.
Устройство работает следующим образом:
Резервуар 9 содержит жидкость, которую необходимо насыщать кислородом с одновременным перемешиванием. Для нормальной работы предлагаемого устройства уровень жидкости в резервуаре должен быть таким, чтобы при возвратно-поступательном движении шатуна 1, приводимого в движение кривошипом 4 от электродвигателя 8 через редуктор 7, верхний колеблющийся сплошной полый усеченный конус 2 находился целиком в объеме жидкости. От электродвигателя 8 через редуктор 7 приводится во вращательное движение кривошип 4, под действием которого происходит возвратно-поступательное движение шатуна 1, соединенного шарнирно с верхним колеблющимся сплошным полым усеченным конусом 2. При движении верхнего колеблющегося сплошного полого усеченного конуса 2 к верхней мертвой точке между верхним колеблющимся сплошным полым усеченным конусом 2 и нижним неподвижным сплошным полым усеченным конусом 3 возникает разрежение, вследствие чего происходит подсос воздуха по трубопроводу 6 через обратный клапан 5 в пространство, образующееся между верхним колеблющимся сплошным полым усеченным конусом 2 и нижним неподвижным сплошным полым усеченным конусом 3. При движении верхнего колеблющегося сплошного полого усеченного конуса 2 к верхней мертвой точке происходит взаимодействие жидкости, оставшейся в пространстве между верхним колеблющимся сплошным полым усеченным конусом 2 и нижним неподвижным сплошным полым усеченным конусом 3, с потоком воздуха, поступающим по трубопроводу 6 через обратный клапан 5 в пространство между верхним колеблющимся сплошным полым усеченным конусом 2 и нижним неподвижным сплошным полым усеченным конусом 3. Вследствие происходит диспергация воздуха с одновременным перемешиванием жидкости, оставшейся в пространстве между верхним колеблющимся сплошным полым усеченным конусом 2 и нижним неподвижным сплошным полым усеченным конусом 3. При достижении верхней мертвой точки шатуна 1 поток воздуха по трубопроводу 6 прекращается, и обратный клапан 5 закрывается, шатун 1 с шарнирно присоединенным к нему верхним колеблющимся сплошным полым усеченным конусом 2 начинает двигаться вниз, что приводит к выбросу насыщенной кислородом жидкости из пространства между верхним колеблющимся сплошным полым усеченным конусом 2 и нижним неподвижным сплошным полым усеченным конусом 3 в объем резервуара 9 с неаэрированной жидкостью. При этом часть пузырьков, образовавшихся в пространстве между верхним колеблющимся сплошным полым усеченным конусом 2 и нижним неподвижным сплошным полым усеченным конусом 3, разрушается, что приводит к повышению интенсивности диспергации.
Формула изобретения
Вибрационный аэратор, содержащий нижний неподвижный и верхний колеблющийся усеченные конусы, установленные соосно с подводом атмосферного воздуха, отличающийся тем, что нижний неподвижный и верхний колеблющийся усеченные конусы изготовлены сплошными и полыми, имеющими одинаковые геометрические размеры, причем дно нижнего неподвижного сплошного полого усеченного конуса содержит обратный клапан, через который осуществляется подача воздуха в пространство, образующееся между верхним колеблющимся и неподвижным нижним сплошными полыми усеченными конусами при возвратно-поступательном движении верхнего колеблющегося сплошного полого усеченного конуса.
РИСУНКИ
MM4A – Досрочное прекращение действия патента СССР или патента Российской Федерации на изобретение из-за неуплаты в установленный срок пошлины за поддержание патента в силе
Дата прекращения действия патента: 14.07.2007
Извещение опубликовано: 10.03.2009 БИ: 07/2009
|
|