|
|
(21), (22) Заявка: 2005126439/12, 20.01.2004
(24) Дата начала отсчета срока действия патента:
20.01.2004
(30) Конвенционный приоритет:
20.01.2003 (пп.1-8) JP 2003-011360
(43) Дата публикации заявки: 20.01.2006
(46) Опубликовано: 20.03.2007
(56) Список документов, цитированных в отчете о поиске:
US 443388 S, 05.06.2001. US 462479 S, 03.09.2002. RU 2009088 C1, 15.03.1994. WO 98/22367 A1, 28.05.1998.
(85) Дата перевода заявки PCT на национальную фазу:
22.08.2005
(86) Заявка PCT:
JP 2004/000390 (20.01.2004)
(87) Публикация PCT:
WO 2004/065235 (05.08.2004)
Адрес для переписки:
129010, Москва, ул. Б.Спасская, 25, стр.3, ООО “Юридическая фирма Городисский и Партнеры”, пат.пов. А.В.Мицу
|
(72) Автор(ы):
ИТО Тацуя (JP)
(73) Патентообладатель(и):
ДЖАПАН ТОБАККО ИНК. (JP)
|
(54) ПАЧКА С ШАРНИРНОЙ КРЫШКОЙ ДЛЯ СТЕРЖНЕОБРАЗНЫХ КУРИТЕЛЬНЫХ ИЗДЕЛИЙ И ЗАГОТОВКА ДЛЯ ПАЧКИ
(57) Реферат:
Пачка содержит коробчатый корпус, включающий переднюю, заднюю, верхнюю, нижнюю, а также правую и левую боковые стенки и содержимое, находящееся в корпусе. Причем содержимое включает группу стержнеобразных курительных изделий и обертывающую эту группу обертку. Внутри корпуса размещен внутренний каркас, имеющий передний участок, расположенный между передней стенкой и содержимым, боковые участки, расположенные между боковыми стенками и содержимым, и одно по существу U-образное отверстие для доступа, образованное в переднем участке, открывающееся к нижней стенке. При этом отверстие имеет нижнюю часть, расположенную ближе к верхней стенке, чем к центру передней стенки, и образующую отверстие область, ограниченную надрезанной линией для образования отверстия для доступа. Пачка также содержит поперечную надрезанную линию, продолжающуюся через переднюю стенку и позволяющую разделять переднюю стенку, и косую надрезанную линию, продолжающуюся наискось через каждую из боковых стенок от поперечной надрезанной линии к нижней стенке и позволяющую разделять соответствующую боковую стенку. Причем поперечная надрезанная линия расположена между нижней частью отверстия для доступа или участком образующей отверстие области, соответствующей нижней части, и верхней стенкой. Пачка также содержит шарнирное соединение, продолжающееся через заднюю стенку и соединяющее косые надрезанные линии соответствующих боковых стенок, причем шарнирное соединение расположено ближе к нижней стенке, чем к центру задней стенки. Причем, когда поперечная надрезанная линия и косые надрезанные линии разорваны, корпус разделяется на коробку, имеющую верхнюю стенку, содержащую содержимое, и крышку, имеющую нижнюю стенку и способную поворачиваться вокруг шарнирного соединения. Предложенное изобретение также относится к заготовке для образования вышеуказанного корпуса. Предложенное изобретение обеспечивает создание пачки, курительные изделия которой не обернуты чрезмерно, но эффективно защищены от вмешательства, а также могут легко выниматься. 2 н. и 6 з.п. ф-лы, 12 ил.
Изобретение касается пачки с шарнирной крышкой для стержнеобразных курительных изделий типа сигарет и сигарет с фильтром и заготовки для этой пачки с шарнирной крышкой.
Этот тип пачки с шарнирной крышкой раскрыт, например, в опубликованной заявке Японии № H11-49149. Пачка, раскрытая в этой заявке, включает коробку, имеющую открытый конец, содержимое коробки и крышку для закрывания открытого конца коробки. Коробка имеет внутренний каркас, который образует переднее ребро и правое и левое боковые ребра открытого конца коробки. Крышка соединена с задним ребром открытого конца шарнирным соединением. Крышку поворачивают относительно шарнирного соединения, чтобы раскрыть открытый конец коробки.
Содержимое, с другой стороны, включает группу стержнеобразных курительных изделий и обертку, обертывающую группу внутри пачки.
Обычно пачка с шарнирной крышкой обернута прозрачной оберточной пленкой с отрывной лентой. Таким образом, чтобы открыть пачку, сначала требуется разорвать оберточную пленку посредством отрывной ленты, чтобы открыть крышку пачки.
Оберточная пленка имеет боковой шов, продолжающийся вдоль боковой поверхности пачки, и закрытые поверхности, соответственно покрывающие верхнюю и нижнюю части пачки. Каждая закрытая поверхность образована посредством согнутой части оберточной пленки и имеет закрывающие клапаны, наложенные один на другой. Закрывающие клапаны соединены вместе термосваркой.
Прочность уплотнения закрывающих клапанов является относительно низкой, чтобы закрывающие клапаны можно было легко отделить друг от друга. Поскольку закрывающие клапаны можно поэтому раскладывать и затем повторно складывать, существует возможность нежелательного раскрытия закрытой поверхности. Когда закрытая поверхность распечатана, крышку пачки можно свободно открывать и закрывать, предоставляя возможность несанкционированного вмешательства в содержимое пачки.
Оберточная пленка эффективно поддерживает качество стержнеобразных курительных изделий в пачке в течение длительного периода. Однако такой тип обертывания стержнеобразных курительных изделий является тройной системой, требующей обертку для содержимого, обертку для заготовки и оберточную пленку, и такая тройная система обертывания чрезмерна ввиду современной тенденции к экономии средств.
Кроме того, крышка обычной пачки сравнительно небольшая и, когда открыта, не открывает значительную часть содержимого коробки, то есть, стержнеобразных курительных изделий. Соответственно трудно вынимать стержнеобразные курительные изделия из коробки.
Поэтому задача настоящего изобретения состоит в создании пачки с шарнирной крышкой, стержнеобразные курительные изделия которой не обернуты чрезмерно, но могут быть эффективно защищены от вмешательства, а также могут легко выниматься, а также в создании заготовки такой пачки с шарнирной крышкой.
Пачка с шарнирной крышкой согласно настоящему изобретению содержит: прямоугольный корпус, включающий переднюю стенку, заднюю стенку, верхнюю стенку, нижнюю стенку и правую и левую боковые стенки; содержимое, содержащееся в корпусе, причем содержимое включает группу стержнеобразных курительных изделий и обертку, обертывающую эту группу, внутренний каркас, размещенный внутри корпуса, причем внутренний каркас имеет передний участок, расположенный между передней стенкой и содержимым, боковые участки, расположенные между соответствующими боковыми стенками и содержимым, и одно по существу U-образное отверстие для доступа, образованное на переднем участке, открывающееся к нижней стенке и имеющее нижнюю часть, расположенную ближе к верхней стенке, чем к центру передней стенки, и образующую отверстие область, ограниченную надрезанной линией для образования отверстия для доступа; поперечную надрезанную линию, продолжающуюся поперечно передней стенки и позволяющую разделять переднюю стенку, причем поперечная надрезанная линия расположена между нижней частью отверстия для доступа или участком образующей отверстие области, соответствующей нижней части, и верхней стенкой; косую надрезанную линию, продолжающуюся наискось через каждую из боковых стенок от поперечной надрезанной линии к нижней стенке и предоставляющую возможность разделения соответствующей боковой стенки; и шарнирное соединение, продолжающееся через заднюю стенку и соединяющее косые надрезанные линии соответствующих боковых стенок, причем шарнирное соединение расположено ближе к нижней стенке, чем к центру задней стенки, причем, когда поперечная надрезанная линия и косые надрезанные линии разорваны, корпус разделяется на коробку, имеющую верхнюю стенку и содержащую содержимое, и крышку, имеющую нижнюю стенку и способную поворачиваться вокруг шарнирного соединения.
С этой пачкой с шарнирной крышкой, когда корпус разделен по поперечной и косым линиям разрыва, он разделяется на коробку и крышку. Затем крышку открывают, поворачивая ее относительно шарнирного соединения.
Поперечная надрезанная линия размещена близко к верхней стенке корпуса; поэтому, когда крышка открыта, основная часть передней части коробки открыта. Кроме того, внутренний каркас имеет большое отверстие для доступа, и это облегчает извлечение стержнеобразных курительных изделий из коробки.
Открытое положение пачки значительно отличается от открытых положений обычных пачек с шарнирной крышкой и таким образом может произвести сильное впечатление на курильщика или людей вокруг курильщика.
Как только поперечную и косые надрезанные линии разрывают, на корпусе остаются следы разделения, и такие следы ясно указывают, что корпус уже разорван. Соответственно, поперечная и косые надрезанные линии эффективно предотвращают несанкционированное вмешательство.
До разделения корпуса содержимое надежно заключено в корпусе, делая ненужным обертывание корпуса в пленку.
Предпочтительно, внутренний каркас продолжается от верхней стенки до нижней стенки. В этом случае внутренний каркас действует в качестве усилительного элемента для коробки.
Далее, каждая боковая стенка имеет участок, который расположен ближе к верхней стенке, чем к косой надрезанной линии, и у которого боковая стенка соединена с соответствующим боковым участком внутреннего каркаса. Соединяя боковые стенки с внутренним каркасом таким образом, можно дополнительно повысить жесткость коробки.
В частности, стержнеобразные курительные изделия являются сигаретами с фильтром, а содержимое расположено в корпусе так, что фильтры сигарет находятся у нижней стенки. В этом случае курильщик тянет крышку к себе, чтобы открыть коробку, в отличие от обычных пачек с шарнирной крышкой, и затем вынимает сигарету с фильтром из коробки. Движения открывания крышки и извлечения сигареты с фильтром приводят к изящным движениям курильщика, которые особенно подходят для курильщиков женского пола.
Предпочтительно, содержимое включает верхнюю и нижнюю закрытые поверхности, образованные сгибанием обертки и покрытием соответствующих концов содержимого, отделяемую область, образованную в виде части обертки, ограниченной разделительной линией и имеющую форму, соответствующую форме отверстия для доступа или форме образующей этой отверстие области, и область с нанесенным клеем, соединяющую отделяемую область с внутренней поверхностью передней стенки через отверстие для доступа или через образующую это отверстие область.
Когда крышку открывают впервые, отделяемая область обертки отделяется по разделительной линии, и сигареты с фильтром содержимого частично появляются в отверстии для доступа внутреннего каркаса. Таким образом, после первого открывания крышки курильщик не должен удалять отделяемую область от обертки. В результате разделения отделяемой области получается отдельный элемент, но поскольку отдельный элемент остается соединенным с внутренней поверхностью крышки, его не требуется выбрасывать.
Там, где внутренний каркас имеет образующую отверстие область, эта область отделяется от внутреннего каркаса, когда крышку открывают впервые, вследствие чего образуется отверстие для доступа во внутреннем каркасе.
Предпочтительно, отделяемая область дополнительно включает часть нижней закрытой поверхности содержимого. Конкретнее, нижняя закрытая поверхность включает правый и левый торцевые клапаны и внутренний и внешний клапаны, последовательно наложенные на торцевые клапаны, причем внешний клапан составляет часть в отделяемой области. В этом случае пачка дополнительно включает область с нанесенным клеем, соединяющую внешний клапан и внутреннюю поверхность нижней стенки друг с другом.
Настоящее изобретение также обеспечивает заготовку для образования вышеупомянутого корпуса. Заготовка содержит: заднюю панель для образования задней стенки корпуса, причем задняя панель имеет противоположные концевые края, противоположные боковые края и шарнирное соединение, расположенное близко к одному из противоположных концевых краев; пару внутренних боковых клапанов, соединенных с соответствующими боковыми краями задней панели с линией сгиба между ними; внутреннюю надрезанную линию, косо продолжающуюся через каждый из внутренних боковых клапанов; первую внешнюю концевую панель, соединенную с другим из противоположных концевых краев задней панели с линией сгиба между ними, первую внешнюю концевую панель, имеющую концевой край, расположенный напротив задней панели; пару первых внутренних концевых клапанов, расположенных с обеих сторон первой внешней концевой панели и соединенных с соответствующими внутренними боковыми клапанами с линией сгиба между ними, причем первые внутренние концевые клапаны образуют верхнюю стенку корпуса вместе с первой внешней концевой панелью; вторую внешнюю концевую панель, соединенную с одним концевым краем задней панели с линией сгиба между ними, вторую внешнюю концевую панель, имеющую концевой край, расположенный против задней панели; пару вторых внутренних концевых клапанов, расположенных с обеих сторон второй внешней концевой панели и соединенных с соответствующими внутренними боковыми клапанами с линией сгиба между ними, вторые внутренние концевые клапаны, образующие нижнюю стенку корпуса вместе со второй внешней концевой панелью; соединительную панель, соединенную с концевым краем первой внешней концевой панели с линией сгиба между ними и имеющую противоположные боковые края; пару боковых соединительных клапанов, соединенных с соответствующими боковыми краями соединительной панели с линией сгиба между ними; переднюю панель, соединенную с концевым краем второй внешней концевой панели с линией сгиба между ними и образующую переднюю стенку корпуса вместе с соединительной панелью, причем передняя панель имеет противоположные боковые края; поперечную надрезанную линию, продолжающуюся через переднюю панель; пару внешних боковых клапанов, соединенных с соответствующими боковыми краями передней панели с линией сгиба между ними и образующих боковые стенки корпуса вместе с боковыми соединительными клапанами и внутренними боковыми клапанами; и внешнюю надрезанную линию, наискось продолжающуюся через каждый из внешних боковых клапанов, причем косые надрезанные линии корпуса образованы внешними надрезанными линиями вместе с внутренними надрезанными линиями.
Краткое описание чертежей
Фиг.1 – вид в перспективе еще не открытой пачки с шарнирной крышкой согласно одному из вариантов выполнения;
фиг.2 – вид в перспективе содержимого пачки фиг.1 вместе с внутренним каркасом;
фиг.3 – вид в перспективе открытой пачки фиг.1;
фиг.4 – вид развернутой обертки для содержимого по фиг.2;
фиг.5 – вид заготовки для образования корпуса пачки по фиг.1;
фиг.6-11 – виды, иллюстрирующие процесс складывания заготовки по фиг.5; и
фиг.12 – вид в перспективе модификации внутреннего каркаса.
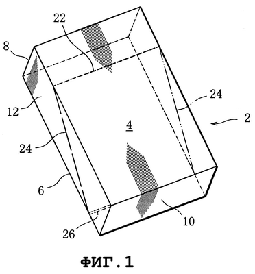
На фиг.1 показана пачка с шарнирной крышкой согласно одному из вариантов выполнения настоящего изобретения.
Пачка содержит корпус 2 в форме прямоугольного параллелепипеда. Корпус 2 имеет переднюю стенку 4, заднюю стенку 6, верхнюю стенку 8, нижнюю стенку 10 и правую и левую боковые стенки 12.
Корпус 2 содержит в себе содержимое 14 в форме прямоугольного параллелепипеда, как показано на фиг.2, вместе с внутренним каркасом 16. Содержимое 14 включает группу СВ из двадцати сигарет с фильтром и обертку 18, обертывающую группу СВ внутри корпуса.
Внутренний каркас 16 продолжается от верхней стенки 8 корпуса 2 до места вблизи нижней стенки 10. Конкретнее, внутренний каркас 16 имеет передний участок 15, накладываемый на переднюю поверхность содержимого 14, и правый и левый боковые участки 17, продолжающиеся вдоль соответствующих боковых поверхностей содержимого 14.
Передний участок 15 имеет отверстие 20 для доступа. Отверстие 20 для доступа является отверстием по существу U-образной формы, расширяющимся к нижней стенке 10 корпуса 2 и открывающим часть передней поверхности содержимого 14. Как видно на фиг.2, нижний край отверстия 20 для доступа расположен ближе к верхней стенке 8, чем к центру корпуса 2, при рассмотрении в продольном направлении корпуса 20.
Как показано на фиг.1, передняя стенка 4 корпуса 2 имеет поперечную надрезанную линию 22. Поперечная надрезанная линия 22 образована рядом перфораций и продолжается через переднюю стенку 4 параллельно верхней стенке 8. Поперечная надрезанная линия 22 расположена ближе к верхней стенке 8, чем к нижней части отверстия 20 для доступа.
Косые надрезанные линии 24, каждая из которых образована рядом прорезей, образованы в правой и левой боковых стенках 12 корпуса 2, соответственно. Каждая косая надрезанная линия 24 продолжается наискось через соответствующую боковую стенку 12 от соответствующего конца поперечной надрезанной линии 22 к нижней стенке 10. Задняя стенка 6 корпуса 2 имеет шарнирное соединение 26, образованное линией сгиба. Шарнирное соединение 26 расположено вблизи нижней стенки 10 и продолжается через заднюю стенку 6 вдоль нижней стенки 10. Конкретнее, шарнирное соединение 26 соединяет правую и левую косые надрезанные линии 24.
Поперечная надрезанная линия 22 позволяет разделять переднюю стенку 4, а правая и левая косые надрезанные линии 24 позволяют разделять соответствующие боковые стенки 12. Соответственно, когда корпус 2 разрывают для открывания по поперечной надрезанной линии 22 и правой и левой косым надрезанным линиям 24, корпус 2 разделяется на коробку 30 и крышку 28, как показано на фиг.3. Коробка 30 и крышка 28 соединены друг с другом шарнирным соединением 26.
Крышка 28 включает часть корпуса 2, а именно, участок передней стенки 4 от поперечной надрезанной линии 22 до нижней стенки 10, нижнюю стенку 10, участок задней стенки 6 от нижней стенки 10 до шарнирного соединения 26 и участки правой и левой боковых стенок 12, непрерывные с вышеупомянутым участком передней стенки. С другой стороны, коробка 30 включает остальную часть корпуса 2 и вышеупомянутого внутреннего каркаса 16 и содержимое 14, размещенное в коробке 30.
Когда крышку 28 поворачивают вокруг шарнирного соединения 26, корпус 2 широко открывается, как ясно показано на фиг.3. В результате часть группы СВ сигарет, как и содержимое 14, открывается в отверстии 20 для доступа к внутреннему каркасу 16.
Более конкретно, обертка 18 содержимого 14 имеет отделяемую область 36 в виде ее части, как показано на фиг.2, и отделяемая область 36 ограничена разделительной линией 32 и парой прорезей 33. Разделительная линия 32, образованная рядом прорезей, продолжается вдоль края отверстия 20 для доступа и ограничивает передний участок отделяемой области 36. Прорези 33 образованы в нижней закрытой поверхности 34 содержимого 14 и продолжаются от соответствующих концов разделительной линии 32. Прорези 33 позволяют внешнему клапану 38, который является частью нижней закрытой поверхности 34, быть соединенным только с передним участком отделяемой области 36.
Отделяемая область 36 соединена с внутренней поверхностью корпуса 2, то есть, внутренней поверхностью крышки 28. Соответственно, когда крышку 28 поворачивают, открывая впервые, с разорванным корпусом 2, отделяемая область 36 отделяется от обертки 18, таким образом получая отдельную деталь 36A. Отдельная деталь 36A остается соединенной с внутренней поверхностью крышки 28. В результате группа СВ сигарет содержимого 14 открывается в отверстии 20 внутреннего каркаса 16.
Теперь поясняется процедура обертывания группы СВ сигарет в обертку 18.
Сначала обертку 18 обертывают вокруг группы СВ сигарет, а ее противоположные концы накладывают один на другой на одной боковой поверхности группы СВ сигарет. В это время обертка 18 имеет два трубчатых участка, продолжающихся соответственно от верхней и нижней торцевых поверхностей группы СВ сигарет. Потом верхний и нижний трубчатые участки обертки 18 последовательно сгибают к соответствующим верхней и нижней торцевым сторонам пачки сигарет СВ в заданную форму, при этом образуя верхнюю закрытую поверхность и нижнюю закрытую поверхность 34 содержимого 14. Конкретно, каждая закрытая поверхность имеет правый и левый концевые клапаны, внутренний клапан и внешний клапан 38, последовательно накладываемые на концевые клапаны.
На фиг.4 показано несложенное состояние обертки 18. Как видно на фиг.4, участок обертки 18, который должен образовать внешний клапан 38, является непрерывным только с участком (передний участок отделяемой области 36), ограниченным разделительной линией 32 и отделенным прорезями 33 от остального участка обертки 18. На фиг.4 пунктирными линиями показаны линии сгиба обертки 18.
Альтернативно, каждая прорезь 33 внешнего клапана 38 может быть образована разделительной линией, подобной разделительной линии 32.
На фиг.5 показана внутренняя сторона заготовки 42 для образования вышеупомянутого корпуса 2. Ниже заготовка 42 описывается подробно.
Заготовка 42 имеет заднюю панель 44 для задней стенки 6, а задняя панель 44 имеет линию 46 сгиба для образования шарнирного соединения 26. Пара внутренних боковых клапанов 48 соединена с противоположными боковыми краями задней панели 44 с линией сгиба между ними и имеет внутренние надрезанные линии 50, соответственно. Внутренние надрезанные линии 50 продолжаются от соответствующих концов линии 46 сгиба наискось через соответствующие внутренние боковые клапаны 48.
На фиг.5 линия 46 сгиба и вышеупомянутые линии сгиба, также как другие линии сгиба, упомянутые ниже, все показаны двойными линиями.
Первая внешняя концевая панель 52 соединена с нижним краем задней панели 44 с линией сгиба между ними. Первые внутренние концевые клапаны 54 расположены с обеих сторон первой внешней концевой панели 52, соответственно, и соединены с нижними краями соответствующих внутренних боковых клапанов 48 с линией сгиба между ними. Первые внутренние концевые клапаны 54 и первую внешнюю концевую панель 52 используют для образования верхней стенки 8 корпуса 2.
Соединительная панель 56 соединена с нижним краем первой внешней концевой панели 52 с линией сгиба между ними. Пара боковых соединительных клапанов 58 соединена с противоположными боковыми краями соединительной панели 56 с линией сгиба между ними.
Вторая внешняя концевая панель 60 соединена с верхним краем задней панели 44 с линией сгиба между ними, а вторые внутренние концевые клапаны 62 расположены с обеих сторон второй внешней концевой панели 60, соответственно. Вторые внутренние концевые клапаны 62 соединены с верхними краями соответствующих внутренних боковых клапанов 48 с линией сгиба между ними. Вторые внутренние концевые клапаны 62 и вторую внешнюю концевую панель 60 используют для образования нижней стенки 10 корпуса 2.
Передняя панель 64 соединена с верхним краем второй внешней концевой панели 60 с линией сгиба между ними. Передняя панель 64 имеет вышеупомянутую поперечную надрезанную линию 22, продолжающуюся поперечно через переднюю панель 64. Длина L1 между верхним краем передней панели 64 и поперечной надрезанной линией 22 равна длине L2 вышеупомянутой соединительной панели 56. Переднюю панель 64 и соединительную панель 56 используют для образования передней стенки 4 корпуса 2.
Внешние боковые клапаны 66 соединены с противоположными боковыми краями передней панели 64 с линией сгиба между ними, и они имеют внешние надрезанные линии 68, соответственно. Внешние надрезанные линии 68 продолжаются от соответствующих концов поперечной надрезанной линии 22 наискось через соответствующие внешние боковые клапаны 66.
Когда сформирован корпус 2, то есть когда внутренние и внешние боковые клапаны 48 и 66 наложены один на другой, внешние надрезанные линии 68 совмещены с соответствующими внутренними надрезанными линиями 50, образуя при этом косые надрезанные линии 24 корпуса 2. Также, в этом случае внутренний и внешний боковые клапаны 48 и 66 образуют боковые стенки 12 корпуса 2 вместе с боковыми соединительными клапанами 58.
На внутреннюю сторону заготовки 42 наносят клей на заданные области панелей и клапанов, и на фиг.5 такие области 70 с нанесенным клеем обозначены штриховкой.
Конкретно, на каждом внутреннем боковом клапане 48 имеется область 70 с нанесенным клеем, расположенная только на более низком его участке, чем внутренняя надрезанная линия 50, а на первой внешней концевой панели 52 имеются области 70 с нанесенным клеем, расположенные с обеих ее сторон.
Соединительная панель 56 и правый и левый соединительные клапаны 58, каждый, имеет область 70 с нанесенным клеем, расположенную приблизительно в их центральной части.
На второй внешней концевой панели 60 имеются области 70 с нанесенным клеем, расположенные с ее обеих сторон, и на каждом втором внутреннем концевом клапане 62 имеется область 70a с нанесенным клеем, расположенная близко к его внешнему боковому краю. После образования корпуса 2 области 70a с нанесенным клеем вторых внутренних концевых клапанов 62 приклеиваются к соответствующим боковым участкам внешнего клапана 38.
На передней панели 64 имеются области 70 с нанесенным клеем, расположенные выше и ниже поперечной надрезанной линии 22, соответственно. После образования корпуса 2 нижняя область 70b с нанесенным клеем передней панели 64 приклеивается к содержимому 14 через отверстие 20 внутреннего каркаса 16.
На каждом внешнем боковом клапане 66 имеется область 70 с нанесенным клеем, продолжающаяся по всей его поверхности за исключением внешней надрезанной линии 68.
Функции областей 70 с нанесенным клеем станут понятными из нижеследующего пояснения процесса изготовления пачки со ссылкой на фиг.6-11.
Как показано на фиг.6, сначала содержимое 14 помещают на заднюю панель 44 заготовки 42. В это время содержимое 14 ориентируют так, что фильтры сигарет группы СВ были обращены к стороне второй внешней концевой панели 60.
Также, содержимое 14 выравнивают с внутренним каркасом 16 прежде, чем подать на заготовку 42. На фиг.6-11 внутренний каркас 16 не показан.
Затем, как показано на фиг.7, внутренние боковые клапаны 48 сгибают, вместе с первым и вторым внутренними концевыми клапанами 54 и 62, к соответствующим боковым поверхностям содержимого 14 и накладывают на них. Таким образом внутренние боковые клапаны 48 соединяют по их областям 70 с нанесенным клеем с соответствующими боковыми поверхностями содержимого 14, то есть, с внутренним каркасом 16. На каждом внутреннем боковом клапане 48 имеется область 70 с нанесенным клеем, образованная только на ограниченном его участке, расположенная между внутренней надрезанной линией 50 и первой внешней концевой панелью 52, и следовательно, оставшийся участок каждого внутреннего бокового клапана 48 не приклеивается к соответствующей боковой поверхности внутреннего каркаса 16.
Затем, как показано на фиг.8, первый и второй внутренние концевые клапаны 54 и 62 сгибают к верхней и нижней закрытым поверхностям содержимого 14, соответственно, и накладывают на них. В это время первые внутренние концевые клапаны 54 соединяют по их областям 70 с нанесенным клеем с верхней закрытой поверхностью содержимого 14, а вторые внутренние концевые клапаны 62 соединяют по их областям 70a с нанесенным клеем с внешним клапаном 38 нижней закрытой поверхности 34 содержимого 14.
После этого первую внешнюю концевую панель 52 сгибают, вместе с соединительной панелью 56 и правым и левым соединительными клапанами 58, к верхней закрытой поверхности содержимого 14 и накладывают на нее. Таким образом, первую внешнюю концевую панель 52 соединяют по ее правой и левой областям 70 с нанесенным клеем с соответствующими первыми внутренними концевыми клапанами 54, которые уже согнуты. В этот момент верхняя стенка 8 корпуса 2 образована панелью 52 и клапанами 54.
Затем сгибают соединительную панель 56, вместе с правым и левым соединительными клапанами 58, к верхней поверхности содержимого 14 и накладывают на нее, как показано на фиг.9. Таким образом, соединительная панель 56 соединяется по ее области 70 с нанесенным клеем с внутренним каркасом 16 содержимого 14. На этой стадии правый и левый соединительные клапаны 58 выступают вбок от соответствующих внутренних боковых клапанов 48.
Затем, как показано на фиг.10, правый и левый соединительные клапаны 58 сгибают к соответствующим внутренним боковым клапанам 48 и накладывают на них. Таким образом, боковые соединительные клапаны 58 соединяются по их областям 70 с нанесенным клеем с соответствующими внутренними боковыми клапанами 48.
После этого вторую внешнюю концевую панель 60 сгибают, вместе с передней панелью 64 и правой и левой внешними боковыми клапанами 66, к нижней закрытой поверхности 34 содержимого 14 и накладывают на нее. Таким образом вторую внешнюю концевую панель 60 соединяют по ее областям 70 с нанесенным клеем со вторыми внутренними концевыми клапанами 62, которые уже согнуты. В этот момент нижняя стенка 10 корпуса 2 образована торцевой панелью 60 и торцевыми клапанами 62.
Затем сгибают переднюю панель 64, вместе с правым и левым внешними боковыми клапанами 66, к верхней поверхности содержимого 14 и накладывают на уже согнутую соединительную панель 56 и внутренний каркас 16. Таким образом переднюю панель 64 соединяют по ее области 70 с нанесенным клеем с соединительной панелью 56, а также соединяют по ее области 70b с нанесенным клеем с отделяемой областью 36 содержимого 14 через отверстие 20 внутреннего каркаса 16.
Это состояние показано на фиг.11. В этот момент передняя стенка 4 корпуса 2 образована передней панелью 64 и соединительной панелью 56. Также, на этой стадии поперечную надрезанную линию 22 совмещают с краем соединительной панели 56, а правый и левый внешние боковые клапаны 66 выступают вбок от передней панели 64.
После этого правый и левый внешние боковые клапаны 66 сгибают к соответствующим внутренним боковым фланцам 48 и накладывают на них. Таким образом каждый внешний боковой клапан 66 соединяют, по его области 70 с нанесенным клеем, продолжающейся по всей его поверхности за исключением внешней надрезанной линии 68, с соответствующим внутренним боковым клапаном 48. В этот момент боковые стенки 12 корпуса 2 образованы боковыми клапанами 48 и 66 с получением корпуса 2, показанного на фиг.1.
После образования боковых стенок 12 внешние надрезанные линии 68 внешних боковых клапанов 66 совмещают с соответствующими внутренними надрезанными линиями 50 внутренних боковых клапанов 48, таким образом образуя косые надрезанные линии 24.
Как видно из приведенного выше описания, когда образован корпус 2, отделяемая область 36 содержимого 14 (обертка 18) прикрепляется к внутренним поверхностям передней стенки 4 и нижней стенки 10 посредством областей 70a и 70b с нанесенным клеем.
Также, боковые стенки 12 корпуса 2 только частично прикрепляются к соответствующим боковым поверхностям внутреннего каркаса 16. Конкретно, участок каждой боковой стенки 12, расположенный между косой надрезанной линией 24 и верхней стенкой 8, прикрепленной к соответствующей боковой поверхности внутреннего каркаса 16 посредством области 70 с нанесенным клеем внутреннего бокового клапана 48 (см. фиг.5), но участок боковой стенки 12, расположенный между косой надрезанной линией 24 и нижней стенкой 10, не прикрепляется к боковой поверхности внутреннего каркаса 16.
Соответственно, когда корпус 2 разделяют по поперечной надрезанной линии 22 и правой и левой косым надрезанным линиям 24 на крышку 28 и коробку 30, крышка 28 находится в свободном состоянии относительно коробки 30 и может поворачиваться относительно шарнирного соединения 26 задней стенки 6.
Когда после этого поворачивают крышку 28, чтобы широко открыть корпус 2, как показано на фиг.3, отделяемая область 36 содержимого 14 (обертка 18) отделяется по разделительной линии 32, открывая группу СВ сигарет содержимого 14 в отверстии 20 внутреннего каркаса 16.
Следовательно, открыв корпус 2, курильщик может сразу вынуть сигарету с фильтром из коробки 30, и ему не нужно удалять отделяемую область 36.
Отдельная деталь 36A (см. фиг.3), полученная в результате отделения отделяемой области 36, остается соединенной с внутренней поверхностью крышки 28 областями 70a и 70b с нанесенным клеем. Следовательно, не нужно выбрасывать отдельную деталь 36A, и после того, как содержимое 14 использовано, отдельную деталь 36A выбрасывают вместе с корпусом 2.
Поперечная надрезанная линия 22 корпуса 2 расположена близко к верхней стенке 8, и также нижняя часть отверстия 20 для доступа внутреннего каркаса 16 расположена вблизи от поперечной надрезанной линии 22, так что передний участок крышки 28 больше, чем передние участки крышек обычных пачек с шарнирными крышками. Когда крышку 28 открывают, поворачивая ее, тогда основная часть передней стороны коробки 30 открывается, как ясно показано на фиг.3. Также, поскольку отверстие 20 внутреннего каркаса 16 имеет большую площадь открывания, сигарету с фильтром можно легко вынуть.
Открытое положение пачки, показанное на фиг.3, заметно отличается от открытых положений обычных пачек, и таким образом может производить сильное впечатление на курильщика или людей, окружающих курильщика. Как видно на фиг.3, группа СВ сигарет содержится в корпусе 2 таким образом, что их фильтры обращены к нижней стенке 10. Это позволяет курильщику поворачивать крышку 28 для открывания к себе, оттягивая крышку 28 от коробки 30 и вынимая сигарету с фильтром по направлению к себе. По сравнению с корпусом обычных пачек с шарнирными крышками эти движения открывания крышки 28 и вытягивания сигареты с фильтром приводят к изящным движениям курильщика, которые особенно подходят для курильщиков женского пола.
После того как корпус 2 был разделен на крышку 28 и коробку 30, поперечная надрезанная линия 22 и косые надрезанные линии 24 оставляют следы разделения на корпусе 2 и, таким образом, препятствуют несанкционированному вмешательству в содержимое 14.
Крышку 28 нельзя открыть или закрыть, пока корпус 2 не разделен, и таким образом, оберточная пленка для корпуса 2 не нужна. Это не только снижает затраты на оберточную пленку, но и значительно повышает удобство, потому что теперь не требуется удалять пленку.
Дополнительно, концевой участок корпуса 2 на той же стороне, что и верхняя стенка 8, включает соединительную панель 56 с правым и левым соединительными клапанами 58, а также внутренний каркас 16, и таким образом, имеет высокую прочность.
Также, на верхнем концевом участке боковой стенки корпуса соединительную панель 56 и боковые соединительные клапаны 58 прикреплены по их областям 70 с нанесенным клеем к внутреннему каркасу 16, боковые соединительные клапаны 58 также прикреплены к внутренним боковым клапанам 66 посредством областей 70 с нанесенным клеем, а первая внешняя концевая панель 52 прикреплена по ее области 70 с нанесенным клеем к правому и левому первым внутренним концевым клапанам 54. Эта форма прикрепления служит для улучшения эффективности герметизации верхнего концевого участка боковой стенки корпуса.
С другой стороны, на концевом участке корпуса 2 на той же стороне, что и нижняя стенка 10, вторая внешняя концевая панель 60 прикреплена по ее областям 70 с нанесенным клеем к правому и левому внутренним вторым концевым клапанам 62, которые, в свою очередь, прикреплены по их областям 70a с нанесенным клеем к нижней закрытой поверхности 34 (внешний клапан 38). Таким образом, нижний концевой участок боковой стенки корпуса также имеет высокую эффективность герметизации. В результате, корпус 2 может сохранять качество сигарет с фильтром в качестве содержимого 14 в течение более длительного периода, несмотря на отсутствие оберточной пленки.
Настоящее изобретение не ограничено вышеизложенным вариантом осуществления и может быть модифицировано различным образом.
Как показано на фиг.12, внутренний каркас 16 может иметь область 76 для образования отверстия 20 вместо собственно отверстия 20 для доступа. Образующая отверстие область 76 ограничена U-образной надрезанной линией 74. Когда образуют корпус 2, внутренняя сторона и внешняя сторона образующей отверстие области 76 прикрепляется по областям 70 с нанесенным клеем с отделяемой областью 36 обертки 18 и передней панелью 64, соответственно.
Когда крышку 28 открывают впервые с разрыванием корпуса 2, отделяемая область 36 содержимого 14 и образующая отверстие область 76 внутреннего каркаса 16 отделяются, таким образом образуя вышеупомянутое отверстие 20 во внутреннем каркасе 16. В этом случае отрывная деталь 76A (см. фиг.3), полученная в результате отделения образующей отверстие области 76, остается соединенной с внутренней поверхностью крышки 28 вместе с отдельной деталью 36A.
Отделяемую область 36 обертки 18 можно использовать для нанесения печатной информации на ее внутренней стороне. В этом случае, когда крышка 28 открыта, на внутренней поверхности крышки 28 появляется информация.
Формула изобретения
1. Пачка с шарнирной крышкой для стержнеобразных курительных изделий, содержащая коробчатый корпус, включающий переднюю стенку, заднюю стенку, верхнюю стенку, нижнюю стенку, а также правую и левую боковые стенки, содержимое, содержащееся в упомянутом корпусе, причем упомянутое содержимое включает группу стержнеобразных курительных изделий и обертку, обертывающую эту группу, внутренний каркас, размещенный внутри упомянутого корпуса, причем упомянутый внутренний каркас имеет передний участок, расположенный между передней стенкой и содержимым, боковые участки, расположенные между соответствующими боковыми стенками и упомянутым содержимым, и одно по существу U-образное отверстие для доступа, образованное в переднем участке, открывающееся к нижней стенке и имеющее нижнюю часть, расположенную ближе к верхней стенке, чем к центру передней стенки, и образующую отверстие область, ограниченную надрезанной линией для образования отверстия для доступа, поперечную надрезанную линию, продолжающуюся через переднюю стенку и позволяющую разделять переднюю стенку, причем упомянутая поперечная надрезанная линия расположена между нижней частью отверстия для доступа или участком образующей отверстие области, соответствующей нижней части, и верхней стенкой, косую надрезанную линию, продолжающуюся наискось через каждую из боковых стенок от упомянутой поперечной надрезанной линии к нижней стенке и позволяющую разделять соответствующую боковую стенку, и шарнирное соединение, продолжающееся через заднюю стенку и соединяющее упомянутые косые надрезанные линии соответствующих боковых стенок, причем упомянутое шарнирное соединение расположено ближе к нижней стенке, чем к центру задней стенки, причем, когда упомянутая поперечная надрезанная линия и упомянутые косые надрезанные линии разорваны, упомянутый корпус разделяется на коробку, имеющую верхнюю стенку и содержащую упомянутое содержимое, и крышку, имеющую нижнюю стенку и способную поворачиваться вокруг упомянутого шарнирного соединения.
2. Пачка с шарнирной крышкой по п.1, в которой упомянутый внутренний каркас продолжается от верхней стенки до нижней стенки.
3. Пачка с шарнирной крышкой по п.2, в которой каждая из боковых стенок имеет участок, который расположен ближе к верхней стенке, чем упомянутая косая надрезанная линия, и на котором боковая стенка соединена с соответствующим боковым участком упомянутого внутреннего каркаса.
4. Пачка с шарнирной крышкой по п.1, в которой стержнеобразные курительные изделия представляют собой сигареты с фильтром, а упомянутое содержимое содержится в упомянутом корпусе таким образом, что фильтры сигарет расположены у нижней стенки.
5. Пачка с шарнирной крышкой по п.4, в которой упомянутое содержимое включает верхнюю и нижнюю закрытые поверхности, образованные сгибанием обертки и покрытием соответствующих концов упомянутого содержимого, отделяемую область, образованную в виде части обертки, ограниченную надрезанной линией и имеющую форму, соответствующую форме отверстия для доступа или форме образующей отверстие области, и область с нанесенным клеем, соединяющую отделяемую область с внутренней поверхностью передней стенки через отверстие для доступа или через образующую отверстие область.
6. Пачка с шарнирной крышкой по п.5, в которой отделяемая область дополнительно включает часть нижней закрытой поверхности.
7. Пачка с шарнирной крышкой по п.6, в которой нижняя закрытая поверхность включает правый и левый торцевые клапаны и внутренний и внешний клапаны, последовательно наложенные на торцевые клапаны, причем внешний клапан составляет часть отделяемой области, и пачка с шарнирной крышкой дополнительно включает область с нанесенным клеем, соединяющую внешний клапан и внутреннюю поверхность нижней стенки друг с другом.
8. Заготовка для образования корпуса по п.1, содержащая заднюю панель для образования задней стенки упомянутого корпуса, причем упомянутая задняя панель имеет противоположные концевые края, противоположные боковые края и упомянутое шарнирное соединение, расположенное близко к одному из противоположных концевых краев, пару внутренних боковых клапанов, соединенных с соответствующими боковыми краями упомянутой задней панели с линией сгиба между ними, внутреннюю надрезанную линию, продолжающуюся наискось через каждый из упомянутых внутренних боковых клапанов, первую внешнюю концевую панель, соединенную с другим из противоположных концевых краев упомянутой задней панели с линией сгиба между ними, причем упомянутая первая внешняя концевая панель имеет концевой край, расположенный против упомянутой задней панели, пару первых внутренних концевых клапанов, расположенных с обеих сторон упомянутой первой внешней концевой панели и соединенных с упомянутыми соответствующими внутренними боковыми клапанами с линией сгиба между ними, причем упомянутые первые внутренние концевые клапаны образуют верхнюю стенку упомянутого корпуса вместе с упомянутой первой внешней концевой панелью, вторую внешнюю концевую панель, соединенную с одним концевым краем упомянутой задней панели с линией сгиба между ними, причем упомянутая вторая внешняя концевая панель имеет концевой край, расположенный напротив упомянутой задней панели, пару вторых внутренних концевых клапанов, расположенных с обеих сторон упомянутой второй внешней концевой панели и соединенных с упомянутыми соответствующими внутренними боковыми клапанами с линией сгиба между ними, причем упомянутые вторые внутренние концевые клапаны образуют нижнюю стенку упомянутого корпуса вместе с упомянутой второй внешней концевой панелью, соединительную панель, соединенную с концевым краем упомянутой первой внешней концевой панели с линией сгиба между ними и имеющую противоположные боковые края, пару соединительных боковых клапанов, соединенных с соответствующими боковыми краями упомянутой соединительной панели с линией сгиба между ними, переднюю панель, соединенную с концевым краем упомянутой второй внешней концевой панели с линией сгиба между ними и образующую переднюю стенку упомянутого корпуса вместе с упомянутой соединительной панелью, причем упомянутая передняя панель имеет противоположные боковые края, поперечную надрезанную линию, продолжающуюся поперечно упомянутой передней панели, пару внешних боковых клапанов, соединенных с соответствующими боковыми краями упомянутой передней панели с линией сгиба между ними и образующих боковые стенки упомянутого корпуса вместе с упомянутыми соединительными боковыми клапанами и упомянутыми внутренними боковыми клапанами, и внешнюю надрезанную линию, продолжающуюся наискось через каждый из упомянутых внешних боковых клапанов, причем упомянутые внешние надрезанные линии образуют косые надрезанные линии упомянутого корпуса вместе с упомянутыми внутренними надрезанными линиями.
РИСУНКИ
|
|