|
(21), (22) Заявка: 2005126426/12, 26.12.2003
(24) Дата начала отсчета срока действия патента:
26.12.2003
(30) Конвенционный приоритет:
20.01.2003 (пп.1-15) JP 2003-11361
(43) Дата публикации заявки: 27.01.2006
(46) Опубликовано: 20.03.2007
(56) Список документов, цитированных в отчете о поиске:
JP 53027896 А, 15.03.1978. ЕР 0895940 А, 10.02.1999. US 5123589 A, 23.06.1992. DE 4032870 A1, 23.04.1992. US 5462223 А, 31.10.1995.
(85) Дата перевода заявки PCT на национальную фазу:
22.08.2005
(86) Заявка PCT:
JP 03/16844 (26.12.2003)
(87) Публикация PCT:
WO 2004/064549 (05.08.2004)
Адрес для переписки:
129010, Москва, ул. Б.Спасская, 25, стр.3, ООО “Юридическая фирма Городисский и Партнеры”, пат.пов. Г.Б.Егоровой, рег.№ 513
|
(72) Автор(ы):
СЕНДО Макото (JP)
(73) Патентообладатель(и):
ДЖАПАН ТОБАККО ИНК. (JP)
|
(54) УПАКОВКА ДЛЯ СТЕРЖНЕОБРАЗНЫХ КУРИТЕЛЬНЫХ ИЗДЕЛИЙ
(57) Реферат:
Упаковка содержит коробку, включающую переднюю стенку, открывающийся конец, и либо отверстие для доступа, образованное в передней стенке, так чтобы продолжаться от переднего края открывающегося конца, либо надрезанную линию для образования отверстия для доступа, причем надрезанная линия ограничивает подлежащую открытию область в передней стенке. Упаковка также содержит обертку для обертывания группы стержнеобразных курительных изделий, образующую закрытую поверхность содержимого на стороне открывающегося конца, и отделяемую область, ограниченную в обертке разделительной линией, причем отделяемая область имеет передний участок, соответствующий отверстию для доступа или области, подлежащей открытию. Упаковка содержит крышку, шарнирно соединенную с задним краем открывающегося конца, причем крышка включает внутреннюю поверхность для закрытия отверстия для доступа или области, подлежащей открытию, и открываемого конца. Упаковка также содержит соединительную область для соединения внутренней поверхности крышки и отделяемой области друг с другом через отверстие для доступа или в области, подлежащей открытию. Предложенное изобретение обеспечивает создание упаковки для курительных изделий, в которой при первом открытии можно легко вытащить курительное изделие из упаковки, и не возникает отделенная часть, которая становится мусором после открытия упаковки. 14 з.п. ф-лы, 11 ил.
Настоящее изобретение относится к упаковке для стержнеобразных курительных изделий, таких как папиросы и сигареты с фильтром.
Упаковка такого типа описана в прошедшей экспертизу опубликованной заявке JP 55-26054. Эта хорошо известная упаковка включает коробку, имеющую открывающийся конец, открывающуюся/закрывающуюся крышку, шарнирно сочлененную с задним краем открывающегося конца, и содержимое, содержащееся в коробке. Содержимое представляет собой группу стержнеобразных курительных изделий, обернутую в обертку. Обертка имеет разделительную линию, которая определяет часть обертки как отделяемую область.
Сначала потребитель, а именно курильщик, открывает крышку упаковки, затем курильщик отделяет отделяемую область обертки. В результате часть группы стержнеобразных курительных изделий в содержимом открывается наружу через переднюю стенку коробки. Конкретнее, передняя стенка коробки включает внутренний каркас, и часть группы стержнеобразных курительных изделий открывается наружу через U-образное отверстие для доступа, образованное во внутреннем каркасе. Поэтому курильщик может легко вытащить стержнеобразное курительное изделие из коробки через отверстие для доступа во внутреннем каркасе.
В соответствии с упомянутой упаковкой, когда курильщик намеревается впервые открыть крышку упаковки и достать стержнеобразные курительные изделия, ему или ей необходимо отделить отделяемую область от обертки.
Поэтому курильщику неудобно вытаскивать стержнеобразное курительное изделие из упаковки в первый раз.
После отделения от обертки отделяемая область образует отделенную часть, которую требуется выбросить, что также создает неудобство для курильщика.
Задача изобретения состоит в обеспечении упаковки для стержнеобразных курительных изделий, в которой при первом открытии упаковки можно легко вытащить стержнеобразное курительное изделие из упаковки, и не возникает отделенная часть, которая становится мусором после открытия упаковки.
Для решения вышеупомянутой задачи упаковка по изобретению включает коробку, имеющую переднюю стенку, открывающийся конец, и одно из отверстий для доступа, оборудованное в передней стенке, продолжающееся от переднего края открывающегося конца, и надрезанную линию для образования отверстия для доступа, причем надрезанная линия ограничивает подлежащую открытию область в передней стенке, содержимое, содержащееся в коробке и включающее группу стержнеобразных курительных изделий, обертку для обертывания группы и образования закрытой поверхности содержимого со стороны открывающегося конца, и отделяемую область, обозначенную на обертке разделительной линией, причем отделяемая область имеет переднюю часть, соответствующую отверстию для доступа или области, подлежащей открытию, крышку, шарнирно сочлененную с задним краем открывающегося конца коробки, при этом крышка включает внутреннюю поверхность для закрытия отверстия для доступа или области, подлежащей открытию, и открывающегося конца, и соединительную область для соединения внутренней поверхности крышки и отделяемой области друг с другом через отверстие для доступа или область, подлежащую открытию.
После изготовления вышеописанной упаковки внутренняя поверхность крышки и отделяемая область обертки непосредственно или косвенно скреплены вместе через отверстие для доступа или область, подлежащую открытию. Когда крышку впервые открывают, так, что крышка откидывается, отделяемая область отделяется от другой части обертки или отделяется от нее вместе с отрыванием подлежащей открытию области от коробки, при этом образуя отделенную часть. Отделенная часть поддерживается в состоянии, прикрепленном непосредственно или через отделенную часть, полученную при отрывании подлежащей открытию области, к внутренней поверхности крышки.
Следовательно, при первом открытии упаковки не требуется выбрасывать отделенную часть, получению при отрывании отделяемой области и/или отделенную часть, полученную при отрывании области, подлежащей для открытия.
Конкретнее, упаковка является пачкой с откидной крышкой, снабженной внутренним каркасом. Коробка пачки может заранее включать отверстие для доступа.
В этом случае, соединительная область включает первую прикрепляющую область для прикрепления внутренней поверхности крышки и передней части отделяемой области друг к другу через отверстие для доступа.
В случае, если закрытая поверхность содержимого включает пару концевых створок, внутренние боковые створки и внешние боковые створки как часть отделяемой области, эти боковые створки последовательно перекрывают концевые створки, соединительная область может также включать вторую прикрепляющую область для прикрепления внешней боковой створки к внутренней поверхности крышки.
Если соединительная область включает как первую, так и вторую прикрепляющие области как описано выше, то отделяемая область отделяется очень надежно.
Разделительная линия предпочтительно имеет прорези для отделения внешней боковой створки от другой части обертки. Эти прорези дополнительно облегчают отделение отделяемой области.
Кроме того, упаковка по изобретению может являться пачкой, снабженной язычковой крышкой. В этом случае коробка имеет прорезь в ее передней стенке, причем эта прорезь расположена ближе к нижней стороне коробки, чем к отверстию для доступа или к области, подлежащей открытию. Язычковая крышка включает потолочную стенку для закрытия открывающегося конца коробки, язычок для закрытия отверстия для доступа или области, подлежащей открытию, причем язычок имеет кончик, способный вставляться в прорезь, и крышка также содержит упрочняющие элементы, приклеенные к внутренней поверхности потолочной стенки. Упрочняющие элементы отрываются от коробки, когда язычковую крышку открывают впервые.
В случае описанной упаковки с язычковой крышкой, соединительная область включает первую прикрепляющую область для прикрепления внутренней поверхности язычка к передней части отделяемой области непосредственно через отверстие для доступа или с областью, подлежащей открытию, расположенной между ними.
Если закрытая поверхность содержимого включает пару концевых створок, внутреннюю боковую створку и внешнюю боковую створку в качестве части отделяемой области, и эти боковые створки последовательно перекрывают концевые створки, то соединительная область может также включать вторую прикрепляющую область для прикрепления внешней боковой створки и упрочняющих элементов друг к другу.
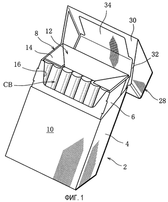
Фиг. 1 показывает вид в перспективе пачки с откидной крышкой в состоянии, когда ее крышка открыта;
Фиг. 2 – вид в перспективе содержимого, содержащегося в пачке;
Фиг. 3 – развернутый вид заготовки обертки содержимого;
Фиг. 4 – развернутый вид заготовки для формирования внешнего корпуса и крышки с Фиг. 1;
Фиг. 5 – 7 – виды, объясняющие процедуры сгибания заготовки по Фиг. 4, по порядку;
Фиг. 8 – вид в перспективе пачки с язычковой крышкой;
Фиг. 9 – развернутый вид заготовки пачки по Фиг. 8;
Фиг. 10 – вид, показывающий часть заготовки другого примера выполнения, и
Фиг. 11 – развернутый вид заготовки внутреннего каркаса.
На Фиг. 1 показана пачка с откидной крышкой для сигарет с фильтром. Пачка имеет форму прямоугольного параллелепипеда и обернута в пленку (не показано), имеющую отрывную ленту.
Пачка включает коробку 2, которая имеет внешний корпус 4 и внутренний каркас 6. Внешний корпус 4 имеет открытый верхний конец. Поверхность открытия верхнего конца наклонена вниз к передней стенке 10 коробки 2. Внутренний каркас 6 имеет U-образную форму в сечении и расположен во внешнем корпусе 4. Внутренний каркас 6 выступает от верхнего конца внешнего корпуса 4 и образует открывающийся конец 8 коробки 2 в соединении с внешним корпусом 4.
Коробка 2 включает содержимое 12, которое содержит группу сигарет СВ и обертку 14 для обертывания группы сигарет СВ. Например, группа сигарет СВ включает двадцать сигарет с фильтром.
Обертка 14 имеет основной слой, изготовленный из бумаги или подобного материала, и тонкий слой металла, нанесенный на поверхность основного слоя. Обертку 14 сортируют как сжигаемый отходный материал, так же как и заготовку коробки 2, а пленку сортируют как несжигаемый отходный материал.
Содержимое 12 имеет верхнюю закрытую поверхность, которая образуется сгибанием обертки 14. Верхняя закрытая поверхность содержимого 12 открыта из открывающегося конца 8 коробки 2. Верхний участок передней поверхности содержимого 12 также открыт из внутреннего каркаса 6. Конкретнее, внутренний каркас 6 имеет по существу U-образное отверстие для доступа 16 в его верхнем крае. Отверстие для доступа 16 открывает верхнюю часть передней поверхности содержимого 12.
Обертка 14 содержимого 12 имеет разделительную линию 18, показанную пунктиром на Фиг. 2. Разделительная линия 18 ограничивает часть обертки 14 как отделяемую область 20. Отделяемая область 20 включает участок, соответствующий отверстию для доступа 16 внутреннего каркаса 6 и части верхней закрытой поверхности содержимого 12.
Конкретнее, как показано на Фиг. 2, верхняя закрытая поверхность содержимого 12 имеет правую и левую концевые створки 22 обертки 14, и внутреннюю створку 24 и внешнюю створку 26, которые последовательно перекрывают концевые створки 22, а отделяемая область 20 включает внешнюю створку 26.
На фиг. 3 представлен развернутый вид обертки 14. Как понятно из развернутого вида, разделительная линия 18, ограничивающая отделяемую область 20, имеет две прорези 28 и ряд перфораций, соединяющий эти две прорези 28. Прорези 28 расположены между участком обертки 14, образующим внешнюю створку 26, и другими участками обертки 14, т.е. участками обертки 14 для формирования концевых створок 22. Прорези 28 таким образом отделяют внешнюю створку 26 от концевых сворок 22.
Ряд перфораций разделительной линии 18 ограничивает участок, соответствующий отверстию для доступа 16 внутреннего каркаса 6. Прорези 28 могут быть заменены рядами перфораций.
Пунктиром на Фиг. 3 обозначены линии сгибания обертки 14. Обертка 14 сгибается вокруг группы сигарет СВ вдоль линий сгиба с получением вышеупомянутого содержимого 12. На Фиг. 3 нижний участок обертки 14 образует нижнюю закрытую поверхность содержимого 12, т.е. его дно.
Вновь ссылаясь на Фиг. 1, пачка, кроме того, включает крышку 28, которая за одно целое сочленена с задним краем открывающегося конца 8 коробки 2 (внешнего корпуса 4) шарнирным соединением. Крышка 28 поэтому способна поворачиваться вокруг оси шарнира, таким образом открывая/закрывая открывающийся конец 8 коробки 2 откидным движением.
Когда она закрыта, крышка 28 закрывает часть внутреннего каркаса 6, выступающую от внешнего корпуса 4, и открывающийся край крышки 28 встречается с открывающимся краем внешнего корпуса 4. То есть открывающаяся поверхность крышки 28 также наклоняется вдоль наклона открывающейся поверхности внешнего корпуса 4.
Конкретнее, крышка 28 имеет переднюю внутреннюю поверхность 30, которая перекрывает переднюю поверхность, имеющую отверстие для доступа 16 внутреннего каркаса 6, потолочную поверхность 32, расположенную над верхней закрытой поверхностью содержимого 12, и внутренние боковые поверхности, которые перекрывают соответствующие боковые поверхности внутреннего каркаса 6.
Как показано на Фиг.1, когда крышка 28 открыта, отделяемая область 20 одновременно отделяется от обертки 14 с получением отделенной части 34. Отделенная часть 34 удерживается прикрепленной к передней внутренней поверхности 30 и потолочной поверхности 32 крышки 28. В результате, группа сигарет СВ содержимого 12 частично открывается через отверстие для доступа 16 внутреннего каркаса 6, позволяя вытащить сигарету с фильтром из группы сигарет СВ через отверстие для доступа 16.
Для получения отделенной части 34 отделяемая область 20 обертки 14 заранее прикрепляется к передней внутренней поверхности 30 и потолочной поверхности 32 крышки 28 в процессе изготовления упаковки. Такое прикрепленное состояние обеспечивается добавлением клеевых областей 38 и 40, показанных на фиг. 4, к заготовке 36 для производства внешнего корпуса 4 и крышки 28. На фиг. 4 показана обратная сторона заготовки 36. Области 38 и 40, на которые нанесен клей, заштрихованы на Фиг. 4.
На Фиг. 4 заготовка 36 включает нижнее отделение 36L для образования внешнего корпуса 4 и верхнее отделение 34U для образования крышки 28. Нижнее отделение 36L и верхнее отделение 36U соединены друг с другом по линии сгиба 37, образующей шарнир. В последующем описании другие линии сгиба показаны пунктиром на фиг. 4 таким же образом, как линия сгиба 37.
Нижнее отделение 36L имеет заднюю панель 40 в его верхней части. Задняя панель 40 служит для образования задней стенки внешнего корпуса 4. На Фиг. 4 передняя панель 44 соединена с нижней стороной задней панели 40 посредством внешней нижней панели 42, расположенной между ними. Внешняя нижняя панель 42 и передняя панель 44 служат для образования передней стенки 10 и нижней стенки внешнего корпуса 4 соответственно. Линии сгиба отделяют заднюю панель 40 от внешней нижней панели 42 и внешнюю нижнюю панель 42 от передней панели 44 соответственно.
Пара внутренних боковых створок 46 соединена с соответствующими боковыми краями задней панели 40 по линиям сгиба. Внутренние боковые створки 46 служат для образования внутренних боковых стенок внешнего корпуса 4. Внутренняя нижняя створка 48 соединена с нижним краем каждой из внутренних боковых створок 46 по линии сгиба. Внутренние нижние створки 48 расположены на соответствующих сторонах внешней нижней панели 42. Внутренние нижние створки 48 служат для упрочнения нижней стенки внешнего корпуса 4.
Пара внешних боковых створок 50 соединена с соответствующими боковыми краями передней панели 44 по линиям сгиба. Внешние боковые створки 50 служат для образования внешних боковых стенок внешнего корпуса 4. Другими словами, каждая боковая стенка внешнего корпуса 4 образована из внутренней и внешней боковых створок 46 и 50.
Верхнее отделение 36U имеет прямоугольный участок, соединенный с задней панелью 40 по линии сгиба 37. Этот прямоугольный участок разграничен на четыре панели линиями сгиба. Эти панели называются внутренней передней панелью 52, внешней передней панелью 54, внешней верхней панелью 56 и задней панелью 58, начиная сверху на Фиг. 4.
Внешняя передняя панель 54 является участком для образования передней стенки крышки 28. Боковые внешние створки 60 соединены с соответствующими боковыми краями внешней передней панели 54 по линиям сгиба.
Подобным образом внутренние боковые створки 62 соединены с соответствующими сторонами задней панели 58 по линиям сгиба. Внутренние боковые створки 62 и внешние боковые створки 60 служат для образования боковых стенок крышки 28 вместе.
Далее верхние внутренние створки 64 соединены с соответствующими внутренними боковыми створками 62 по линиям сгиба. Эти верхние внутренние створки 64 расположены на соответствующих сторонах внешней верхней панели 56 и служат как упрочнения для потолочной стенки крышки 28.
Вышеупомянутые панели и створки проклеиваются на определенных участках на их обратных поверхностях, а именно областях 66, которые заштрихованы на Фиг. 4. Области 66, на которые нанесен клей, используются для приклеивания содержимого 12 к заготовке 36 и для приклеивания перекрывающихся створок друг к другу.
Хотя, что области 66, на которые нанесен клей, также имеются на традиционной упаковке, упаковка по изобретению снабжена новыми клеевыми областями 38 и 40.
Как видно на Фиг. 4, клеевые области 38 образованы в части соответствующих верхних внутренних створок 64. Клеевые области 38 расположены согласно соответствующим концевым участкам внешней створки 26, которая образует верхнюю закрытую поверхность содержимого 12 (см. Фиг. 2).
Клеевая область 40 образована на передней поверхности внутренней передней панели 52 и расположена согласно отверстию для доступа 16 во внутренней створке 6.
Процесс изготовления упаковки поясняется ниже со ссылкой на Фиг.5-7.
Как показано на Фиг.5, содержимое 12 подают на обратную сторону заготовки 36. Содержимое 12 располагают на задней панели 40 и содержимое 12 и задняя панель 40 прикрепляют друг к другу клеевой областью 66.
Перед тем как содержимое 12 будет подано на заднюю панель 40, его снабжают внутренним каркасом 6 в его верхней поверхности, и внутренний каркас 6 и содержимое 12 прикрепляют друг к другу.
Затем внутренние боковые створки 46 сгибают к соответствующим боковым поверхностям содержимого 12 и накладывают на его боковые поверхности. В это время клеевые области 66 на соответствующих внутренних боковых створках 46 прикрепляют внутренние боковые створки 46 к боковым поверхностям содержимого 12.
Одновременно со сгибанием внутренних боковых створок 46 внутренние боковые створки 62 сгибают вместе с верхними внутренними створками 64 таким же образом. Поэтому внутренние боковые створки 62 выравнивают с соответствующими верхними внутренними створками 64 вместе с соответствующими внутренними боковыми створками 46.
На следующей стадии, как показано на Фиг.6, внутренние донные створки 48 сгибают к дну содержимого 12 и накладывают на его дно. В это же время внутренние верхние створки 64 также сгибают к верхней закрытой поверхности содержимого 12 и накладывают на его верхнюю закрытую поверхность. В это время клеевые области 38 прикрепляют внутренние верхние створки 64 к внешней створке 26 верхней закрытой поверхности.
Как показано на Фиг. 6, внутреннюю переднюю панель 52 сгибают к внешней передней панели 54 и накладывают на внешнюю переднюю панель 54.
Клеевая область 66 на внутренней передней панели 52 прикрепляет внутреннюю и внешнюю передние панели 52 и 54 друг к другу. Внутренняя и внешняя передние панели 52 и 54, скрепленные друг с другом, образуют переднюю стенку крышки 28.
Следует отметить, что клеевая область 40 появляется на обратной стороне поверхности заготовки 36 после сгибания внутренней передней панели 52.
После этого внешнюю нижнюю панель 42 сгибают к дну содержимого 12 вместе с передней панелью 44 и накладывают на его дно. Переднюю панель 44 сгибают к верхней поверхности содержимого 12 и накладывают на верхнюю поверхность так, что внутренний каркас 6 находится между содержимым 12 и передней панелью 44. Клеевая область 66 передней панели 44 прикрепляет переднюю панель 44 и нижний участок внутреннего каркаса 6 друг к другу.
Во время сгибания передней панели 44 внешнюю верхнюю створку 56 сгибают к верхней закрытой поверхности содержимого 12 и накладывают на его верхнюю закрытую поверхность так, что внутренние верхние створки 64 находятся между содержимым 12 и внешней верхней створкой 56. На этой стадии передняя стенка (внутренняя и внешняя передние панели 52 и 54) крышки 28 находится в вертикальном положении относительно верхней поверхности содержимого 12 с правой и левой внешними боковыми створками 60.
Затем переднюю стенку крышки 28 сгибают к верхней поверхности содержимого 12 вместе с боковыми внешними створками 60 и накладывают на верхнюю его поверхность.
В этом процессе передняя стенка крышки 28, то есть клеевая область 40 внутренней передней панели 52, приводится в контакт с отделяемой областью 20 обертки 14 содержимого 12 через отверстие для доступа 16 внутреннего каркаса 6, таким образом прикрепляя отделяемую область 20 и переднюю стенку крышки 28 друг к другу. Это положение показано на Фиг. 7.
В этом положении, как видно на Фиг. 7, внешние боковые створки 60 на стороне крышки 28 и внешние боковые створки 50 на стороне коробки 2 находятся в положении, выступающем от соответствующих боковых поверхностей содержимого 12.
После этого внешние боковые створки 60 и 50 сгибают к соответствующим боковым поверхностям содержимого 12 и накладывают на эти боковые поверхности или на внутренние боковые поверхности 62 и 46, которые уже сложены. Клеевые области 66 внешних боковых створок 60 и 50 прикрепляют внешние боковые створки 60 и 50 к внутренним боковым створкам 62 и 44 соответственно. На этом изготовление упаковки завершается.
Процедура сгибания заготовки 36 подобна процедуре сгибания традиционных заготовок. Поэтому упаковка по изобретению может быть легко изготовлена простым добавлением аппликатора клея (не показано) для образования клеевых областей 38 и 40 в традиционную упаковочную машину.
После этого упаковку подают в машину, обертывающую в пленку (не показано). Машина, обертывающая в пленку, обертывает упаковку в пленку, имеющую отрывную ленту.
В состоянии, когда крышка 28 упаковки еще не открыта, отделяемая область 20 обертки 14 прикреплена к потолочной поверхности 32 и внутренней поверхности 30 передней стенки крышки 28. В частности, внешняя створка 26 обертки 14, которая является частью отделяемой области 20, прикреплена к потолочной поверхности 32 (пара внутренних верхних створок 64) крышки 28 клеевыми областями 38. Другая часть отделяемой области 20 прикреплена к внутренней поверхности 30 (внутренняя передняя панель 52) передней панели крышки 28 клеевыми областями 40.
На Фиг. 2 участки прикрепления отделяемой области 20, в которых отделяемая область 20 прикреплена клеевыми областями 38 и 40, показаны буквой М.
Когда крышку 28 упаковки впервые поворачивают вокруг шарнира, т.е. когда крышку 28 впервые открывают, то поскольку отделяемая область 20 прикреплена к крышке 28, откидное движение крышки 28 отделяет отделяемую область 20 от обертки 14. Отделение отделяемой области 20 производит отделенную часть 34, как показано на Фиг. 1. Отделенная часть 34 удерживается в состоянии прикрепления к внутренней поверхности крышки 28.
Курильщик может отделить отделяемую область 20 обертки 14 простым образом при первом открывании крышки 28, так что курильщику не требуется выбрасывать удалять отделяемую область 20 рукой после открытия крышки 28. Это избавляет курильщика от проблемы отделения отделяемой области 20 и также облегчает открытие упаковки.
Так как отделенная часть 34 прикреплена к внутренней поверхности крышки 28, отделенная часть 34 не отделяется от крышки 28. Это устраняет необходимость выбрасывания отделенной части 34 при открывании упаковки. После того, как все сигареты с фильтром внутри упаковки будут израсходованы, отделенная часть 34 выбрасывается вместе с пустой упаковкой.
Так как отделяемая область 20 прикреплена к внутренней поверхности крышки 28 в трех местах, когда крышка 28 вращается, отделяемая область 20 надежно отделяется вдоль разделительной линии 18 (см. Фиг.2), и часть отделенной части 34 не выступает наружу от крышки 28.
Внешняя створка 26 отделяемой области 20 полностью отделена от другой части обертки 14 прорезями 28 (см. Фиг.2). Поэтому, когда отделяемая область 20 отделяется, внешняя створка 26 не зацепляет внутренний каркас 6 или внешний корпус 4 так, чтобы помешать отделению отделяемой области 20.
Изобретение не ограничено вышеописанным одним вариантом, но возможны различные модификации.
Например, разделительная линия 18, ограничивающая отделяемую область 20, может быть полностью сформирована из прорезей.
Отделяемая область может представлять собой область для отрывания, включенную в содержимое для традиционной упаковки. В этом случае, обертка 14 образует верхнюю закрытую поверхность содержимого 12 в обычном сложенном образце.
Хотя пачка, показанная на Фиг.1, является пачкой с откидной крышкой, изобретение применимо к пачкам, имеющим крышки различных видов, например к пачке с язычковой крышкой, показанной на Фиг.8.
В упаковке с язычковой крышкой по Фиг.8 коробка 2 состоит лишь из внешнего корпуса 4 и не имеет внутреннего каркаса 6. Поэтому внешний корпус 4 имеет отверстие для доступа 16, образованное в его передней стенке.
Прорезь 68 для вставки образована в передней стенке 10 внешнего корпуса 4. Прорезь для вставки 68 расположена под отверстием для доступа 16 и сформирована V-образной формы, расширяющейся к отверстию для доступа 16.
Внешний корпус 4 оборудован язычковой крышкой 70 вместо крышки 28 в форме коробки. Язычковая крышка 70 шарнирно соединена с задним краем открывающегося конца 8 внешнего корпуса 4.
Язычковая крышка 70 имеет потолочную стенку 72, которая закрывает верхнюю закрытую поверхность содержимого 12, и язычок 74 соединен с потолочной стенкой 72 по линии сгиба. Когда язычок 74 накладывают на переднюю стенку внешнего корпуса 4, язычок 74 может закрывать как отверстие для доступа 16, так и прорезь для вставки 68. Кончик язычка 74 образован как клиновидный вставляемый участок 76, который отделен линией сгиба от основания язычка 74. Вставляемый участок 76 может быть введен во внешний корпус 4 через прорезь для вставки 68 во внешнем корпусе 4.
Пачка по Фиг. 8 производится из заготовки 78, показанной на Фиг. 9. Заготовку 78 от заготовки 36 отличают следующие аспекты.
Передняя панель 44 заготовки 78 имеет отверстие для доступа 16 и прорезь для вставки 68. Язычковая крышка 70 соединена с задней панелью 40 по линии сгиба, образующей шарнир.
Клеевые области 38 образованы на передних поверхностях и обратных поверхностях внутренних верхних створок 64. Внутренние верхние створки 64 соединены с соответствующими внутренними боковыми створками 46 по надрезанным линиям 80 вместо линий сгиба.
Клеевая область 40 образована на обратной стороне язычка 74 и находится в положении, соответствующем отверстию для доступа 16.
Хотя процедура складывания заготовки 78 по существу идентична процедуре складывания заготовки 36, язычковую крышку 70 сгибают к передней панели 44 после завершения сгибания передней панели 44. Другими словами, язычок 74 язычковой крышки 70 накладывают на переднюю панель 44.
Когда упаковка с язычковой крышкой изготовлена, внешняя створка 26 (см. Фиг. 2) отделяемой области 20 прикреплена к внутренним верхним створкам 64 клеевыми областями 38, образованными на их обратных поверхностях, поскольку внутренние верхние створки 64 прикреплены к внутренней поверхности потолочной стенки 72 язычковой крышки 70 клеевыми областями 38, образованными на их передних поверхностях. Клеевая область 40 расположена внутри отверстия для доступа 16 и прикрепляет язычок 74 язычковой крышки 70 и отделяемую область 20 друг к другу.
Когда язычковая крышка 70 упаковки с язычковой крышкой впервые открывается, внутренние верхние створки 64 отрываются от соответствующих внутренних боковых створок 46, и в то же время отделяемая область 20 отделяется от обертки 14 с образованием отделенной части 34. Отделенная часть 34 удерживается в состоянии прикрепления к язычковой крышке 70.
Как показано на Фиг. 10, заготовка 78 может иметь надрезанную линию 82 вместо отверстия для доступа 16. Надрезанная линия 82 заранее формируется в передней панели 44 заготовки, таким образом ограничивая необходимую область 84, подлежащую открытию, для отверстия для доступа 16 в передней панели 44. Область 84, подлежащая открытию, имеет на своих передней и обратной поверхностях клеевые области 40.
После изготовления пачки отделяемая область 20 прикреплена к обратной поверхности области 84, подлежащей открытию, клеевыми областями 40. Область 84, подлежащая открытию, прикреплена к язычку 74 язычковой крышки 70 клеевой областью 40, образованной на ее передней поверхности.
Когда язычковая крышка 70 впервые открывается, отделяемая область 20 отделяется от обертки 14, и одновременно область 84, подлежащая открытию, отрывается от передней панели 44. Отрывание области 84, подлежащей открытию, образует отверстие для доступа 16 в передней части панели 44.
Отделенные части 34 и 86 (см. Фиг. 10), образованные отделением отделяемой области 20 и отрыванием области 84, подлежащей открытию, удерживаются в состоянии прикрепления к обратной поверхности язычковой крышки 70.
Внутренний каркас 6 может включать область, подлежащую открытию, которая идентична области 84, подлежащей открытию, вместо отверстия для доступа 16. Другими словами, Фиг. 11 показывает заготовку 86 для производства внутреннего каркаса 6. В заготовке 86 надрезанная линия 88 ограничивает область 90, подлежащую открытию. В этом случае, область 90, подлежащая открытию, имеет клеевую область 40 на обратной своей поверхности. Клеевая область 40 прикрепляет внутренний каркас 6 и отделяемую область 20 друг к другу.
Формула изобретения
1. Упаковка для стержнеобразных курительных изделий, содержащая коробку, включающую переднюю стенку, открывающийся конец и либо отверстие для доступа, образованное в передней стенке так, чтобы продолжаться от переднего края открывающегося конца, либо надрезанную линию для образования отверстия для доступа, причем надрезанная линия ограничивает подлежащую открытию область в передней стенке; содержимое, содержащееся в указанной коробке, причем указанное содержимое включает группу стержнеобразных курительных изделий, обертку для обертывания этой группы, образующую закрытую поверхность указанного содержимого на стороне открывающегося конца, и отделяемую область, ограниченную в обертке разделительной линией, причем отделяемая область имеет передний участок, соответствующий отверстию для доступа или области, подлежащей открытию; крышку, шарнирно соединенную с задним краем открывающегося конца в указанной коробке, причем указанная крышка включает внутреннюю поверхность для закрытия отверстия для доступа или области, подлежащей открытию, и открываемого конца; и соединительную область для соединения внутренней поверхности указанной крышки и отделяемой области друг с другом через отверстие для доступа или в области, подлежащей открытию.
2. Упаковка по п.1, в которой указанная упаковка является пачкой с откидной крышкой, снабженной внутренним каркасом.
3. Упаковка по п.2, в которой указанная упаковка заранее включает отверстие для доступа.
4. Упаковка по п.3, в которой указанная соединительная область включает первую прикрепляющую область для прикрепления внутренней поверхности указанной крышки и переднего участка отделяемой области друг к другу через отверстие для доступа.
5. Упаковка по п.4, в которой закрытая поверхность указанного содержимого включает пару концевых створок, внутреннюю боковую створку и внешнюю боковую створку в качестве части отделяемой области, причем указанные створки последовательно наложены на концевые створки и указанная соединительная область дополнительно включает вторую прикрепляющую область для прикрепления внешней боковой створки к внутренней поверхности указанной крышки.
6. Упаковка по п.5, в которой разделительная линия имеет прорези для отделения внешней боковой створки от другой части обертки.
7. Упаковка по п.1, в которой указанная упаковка является пачкой, оборудованной язычковой крышкой, указанная коробка имеет прорезь в ее передней стенке, причем прорезь расположена ближе к нижней стороне указанной коробки, чем отверстие для доступа или область, подлежащая открытию, и указанная язычковая крышка включает в себя потолочную стенку для закрытия открывающегося конца указанной коробки, язычок для закрытия отверстия для доступа или области, подлежащей открытию, в указанной коробке, при этом язычок имеет кончик, способный вводиться в прорезь, и упрочняющие элементы, приклеенные к внутренней поверхности потолочной стенки, причем упрочняющие элементы отрываются от указанной коробки при первом открывании язычковой крышки.
8. Упаковка по п.7, в которой указанная коробка заранее включает отверстие для доступа.
9. Упаковка по п.8, в которой указанная соединительная область включает первую прикрепляющую область для прикрепления внутренней поверхности язычка к передней части отделяемой области через отверстие для доступа.
10. Упаковка по п.9, в которой закрытая поверхность указанного содержимого включает пару концевых створок, внутреннюю боковую створку и внешнюю боковую створку в качестве части отделяемой области, причем боковые створки последовательно наложены на концевые створки, и указанная соединительная область дополнительно включает вторую прикрепляющую область для прикрепления внешней боковой створки к упрочняющим элементам.
11. Упаковка по п.10, в которой разделительная линия имеет прорези для отделения внешней боковой створки от остальной части обертки.
12. Упаковка по п.7, в которой указанная коробка включает область, подлежащую открытию.
13. Упаковка по п.12, в которой указанная соединительная область включает первую прикрепляющую область для прикрепления области, подлежащей открытию, к внутренней поверхности язычка и переднему участку отделяемой области соответственно.
14. Упаковка по п.13, в которой закрытая поверхность указанного содержимого включает пару концевых створок, внутреннюю боковую створку и внешнюю боковую створку в качестве части отделяемой области, причем боковые створки последовательно наложены на концевые створки, и указанная соединительная область дополнительно включает вторую прикрепляющую область для прикрепления внешней боковой створки к упрочняющим элементам.
15. Упаковка по п.14, в которой разделительная линия имеет прорезь для отделения внешней боковой створки от остальной части обертки.
РИСУНКИ
|