|
|
(21), (22) Заявка: 2005138649/11, 12.12.2005
(24) Дата начала отсчета срока действия патента:
12.12.2005
(46) Опубликовано: 20.03.2007
(56) Список документов, цитированных в отчете о поиске:
“Справочник по эксплуатации транспорта в сельском хозяйстве», М., Россельхозиздат, 1975, стр.20, рис.7. SU 1458251 А1, 15.02.1989. RU 2076807 C1, 10.04.1997. DE 4429986 A, 18.05.1995.
Адрес для переписки:
399770, Липецкая обл., г. Елец, ул. Коммунаров, 28, Елецкий государственный университет им. И.А. Бунина
|
(72) Автор(ы):
Сливинский Евгений Васильевич (RU), Мелихов Максим Николаевич (RU)
(73) Патентообладатель(и):
Государственное образовательное учреждение высшего профессионального образования “Елецкий государственный университет им. И.А. Бунина” (RU)
|
(54) ШАРНИРНО-СОЧЛЕНЕННОЕ ТРАНСПОРТНОЕ СРЕДСТВО
(57) Реферат:
Изобретение относится к области безрельсовых транспортных средств. Шарнирно-сочлененное транспортное средство состоит из автомобиля-тягача с опорно-сцепным устройством, выполненным в виде седла с шарнирно установленными в нем захватами и замковым устройством, взаимодействующими со шкворнем полуприцепа, снабженного опорным устройством, смонтированным на его раме. На каждом из захватов, на их торцевых поверхностях, обращенных в головную часть автомобиля-тягача, жестко закреплены вертикально расположенные пластины, переходящие в горизонтальные перекрещивающиеся между собой участки, несущие на своих концах полувтулки, образующие в соединении друг с другом коническое отверстие, продольная вертикальная ось которого совпадает с продольной осью симметрии стержня, подвижно размещенного в пустотелом шкворне. Упомянутый стержень шарнирно закреплен на одном из плеч подпружиненного двуплечего рычага, установленного с возможностью угловых поворотов на раме полуприцепа Другое плечо двуплечего рычага контактирует с опорной стойкой опорного устройства полуприцепа. Технический результат – улучшение условий труда людей при эксплуатации автопоездов. 4 ил.
Предлагаемое изобретение относится к области безрельсовых транспортных средств и может быть использовано в конструкциях автопоездов, состоящих из седельных автомобилей-тягачей и автомобильных полуприцепов.
Известна конструкция шарнирно-сочлененного транспортного средства автопоезда, описанного и показанного в книге М.С.Высоцкий и др. «Автомобильные и тракторные прицепы». – М.: Машгиз. 1962 г. на стр.93-94, фиг.58. Такой автопоезд, состоящий из автомобиля-тягача МАЗ-501В и полуприцепа МАЗ-5215Г, снабжен седельно-сцепным устройством (см. эту же книгу, стр.89 фиг.55), представляющим собой седло, взаимосвязанное шарнирно с нижней плитой, жестко закрепленной на раме автомобиля-тягача. На седле с помощью пальцев захвата шарнирно установлены захваты, с одной стороны взаимосвязанные с их запорным устройством, а с другой со шкворнем, жестко закрепленным на опорном листе уступа рамы полуприцепа (см. эту же книгу, стр.95, фиг.60). На раме полуприцепа размещено опорное устройство (стр.86, фиг.53), предназначенное для поддержания полуприцепа в горизонтальном положении при отцепленном тягаче. Сцепка звеньев автопоезда производится автоматически, когда автомобиль-тягач подают задним ходом и захваты седельного устройства, пропустив шкворень полуприцепа, фиксируются пружиной кулака. Расцепка же осуществляется путем поворота рукоятки замка захватов. Анализируя процесс сцепа и расцепа, видно, что надежность сцепа существенно зависит от технического состояния фиксатора захватов и в основном от его пружины. Поэтому в практике, в случае отказа пружины, возможен саморасцеп звеньев автопоезда. В то же время при расцепе водитель обязательно вручную должен распустить запорное устройство захватов, а это усложняет процедуру расцепа. Следует также отметить сложность процесса сцепки из-за того, что шкворень полуприцепа должен быть строго сориентирован по высоте относительно захватов так, чтобы он свободно прошел между ними, разводя их путем поворота на пальцах. В итоге необходимо отметить сложность конструкции сцепного устройства и трудоемкость операций при сцепе и расцепе звеньев автопоезда.
Известно также шарнирно-сочлененное транспортное средство (автопоезд), состоящий из седельного тягача КАЗ-608 и полуприцепа – хлопковоза ТМЗ-879, показанного на стр.20, рис, 7 книги «Справочник по эксплуатации транспорта в сельском хозяйстве» – М.: Россельхозиздат, 1975. – 400 с. Конструкция такого шарнирно-сочлененного транспортного средства аналогична в целом вышеописанной и поэтому недостатки их подобны.
Поэтому целью предлагаемого изобретения является повышение эффективности сцепа и расцепа звеньев автопоезда в эксплуатационных условиях.
Поставленная цель достигается тем, что на каждом из захватов, на их торцевых поверхностях, обращенных в головную часть автомобиля-тягача, жестко закреплены вертикально расположенные пластины, переходящие в горизонтальные перекрещивающиеся между собой участки, несущие на своих концах полувтулки, образующие в соединении друг с другом коническое отверстие, продольная вертикальная ось которого совпадает с продольной осью симметрии стержня, подвижно размещенного в пустотелом шкворне, и упомянутый стержень шарнирно закреплен на одном из плеч подпружиненного двуплечего рычага, установленного с возможностью угловых поворотов на раме полуприцепа, другое плечо которого контактирует с опорной стойкой опорного устройства полуприцепа.
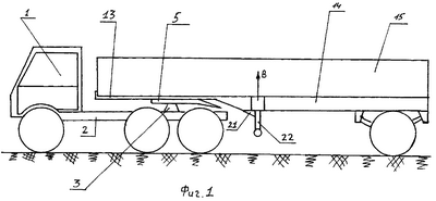
На фиг.1 показан общий вид шарнирно-сочлененного транспортного средства, вид сбоку, на фиг.2 – часть деталей опорно-сцепного устройства и опорного устройства автомобиля-тягача и полуприцепа, разрез, на фиг.3 – механизм управления захватами опорно-сцепного устройства в аксонометрии и на фиг.4 – одна из его деталей, вид сбоку.
Шарнирно-сочлененное транспортное средство состоит из автомобиля-тягача 1, снабженного на его раме 2 нижней плитой 3, которая с помощью шарнира 4 соединена с седлом 5. На седле 5 установлены пальцы 6, несущие на себе, с возможностью угловых поворотов, захваты 7, которые связаны между собой пружиной растяжения 8, с жестко присоединенными к ним вертикальными пластинами 9, переходящими в горизонтальные участки 10. На каждом из горизонтальных участков 10 пластин 9 жестко закреплены полувтулки 11, образующие в соединении между собой коническое отверстие 12. На опорном листе 13 рамы 14 полуприцепа 15 жестко закреплен пустотелый шкворень 16, внутри которого подвижно размещен стержень 17, шарнирно связанный с подпружиненным относительно опорного листа 13 пружиной сжатия 18 рычагом 19, шарнирно установленным на опоре 20. Другое плечо рычага 19 взаимосвязано с кронштейном 21, жестко закрепленным на опорной стойке 22 опорного устройства 23 полуприцепа 15. Пустотелый шкворень 16 выполнен из цилиндрической части 24 и бурта 25.
Работает шарнирно-сочлененное транспортное средство следующим образом.
Для того, чтобы сформировать его готовым к движению так, как это показано на фиг.1, автомобиль-тягач 1 подают задним ходом по стрелке А (см. фиг.2) до тех пор, пока шкворень 16 полуприцепа 15 не разместится над седлом 5. После этого широко известными способами с помощью механического или гидравлического привода, перемещают по стрелке В опорные стойки 22 опорного устройства 23, что позволяет опускаться по стрелке С полуприцепу 15 до тех пор, пока его опорный лист 13 не войдет в контакт с седлом 5 автомобиля-тягача 1. В дальнейшем перемещение опорных стоек 22 продолжают и наступает такой момент, когда кронштейн 21 не упрется в другое плечо рычага 19. За счет продолжающегося движения опорных стоек 22 по стрелке С происходит угловой поворот по стрелке Д рычага 19 относительно опоры 20, что способствует перемещению стержня 17 по стрелке Е. Такое движение стержня 17 в полом шкворне 16 обеспечит вход его в пространство, образованное полувтулками 11, а так как это пространство выполнено конусным, то по мере перемещения стержня 17 полувтулки 11 совместно с горизонтальными участками 10 получают угловой поворот по стрелкам F. Но горизонтальные участки 10 жестко связаны с вертикальными пластинами 9, следовательно, и они совместно с захватами 7 также начнут поворачиваться по стрелкам К на пальцах 6, охватывая цилиндрическую часть 24 шкворня 16. Как только захваты 7 соединятся между собой, подъем опорных стоек 22 прекращают. В итоге шкворень 16 будет надежно закреплен в захватах 7 седла 5, фиксируя тем самым от возможных вертикальных перемещений полуприцепа за счет наличия бурта 25 на шкворне 16.
Расцеп шарнирно-сочлененного транспортного средства производят в следующем порядке. Автомобиль-тягач 1 совместно с полуприцепом 15 располагают на горизонтальном участке площадки или дороги и опускают на грунт опорные стойки 22 в направлении, противоположном стрелке В. Как только кронштейн 21 отойдет от плеча рычага 19, последний, повернувшись под действием пружины сжатия 18 в направлении, обратном стрелке Д, увлекает за собой стержень 17 в направлении, обратном стрелке Е. Такое движение стержня 17 из полувтулок 11 приводит к тому, что последние поворачиваются в направлении, противоположном стрелке F, под действием усилия, создаваемого растянутой пружиной растяжения 8. Такое движение горизонтальных участков 10 совместно с вертикальными пластинами 9 приводит к угловому повороту захватов 7 в направлении, противоположном стрелкам К, что в итоге позволяет освободить шкворень 16 от контакта с последними. Так как движение опорных стоек 22 продолжается, то сам полуприцеп 15 приподнимается в направлении, обратном стрелкам С, и как только шкворень 16 выйдет из габаритов седла 5 и полуприцеп 15 и автомобиль-тягач 1 займут положение, показанное на фиг.2, последний отъезжает от полуприцепа 15 в направлении, противоположном стрелке А. В дальнейшем описанные операции по сцепу и расцепу звеньев шарнирно-сочлененного транспортного средства могут повторяться неоднократно подобно тому, как это описано выше.
Технико-экономическое преимущество предложенного технического решения в сравнении с известными очевидно, так как оно направлено на улучшение условий труда людей, занятых на эксплуатации автопоездов за счет автоматизации сцепа автомобилей-тягачей и полуприцепов.
Формула изобретения
Шарнирно-сочлененное транспортное средство, состоящее из автомобиля-тягача с опорно-сцепным устройством, выполненным в виде седла с шарнирно установленными в нем захватами, и замковым устройством, взаимодействующими со шкворнем полуприцепа, снабженного опорным устройством, смонтированным на его раме, отличающееся тем, что на каждом из захватов, на их торцевых поверхностях, обращенных в головную часть автомобиля-тягача, жестко закреплены вертикально расположенные пластины, переходящие в горизонтальные перекрещивающиеся между собой участки, несущие на своих концах полувтулки, образующие в соединении друг с другом коническое отверстие, продольная вертикальная ось которого совпадает с продольной осью симметрии стержня, подвижно размещенного в пустотелом шкворне, упомянутый стержень шарнирно закреплен на одном из плеч подпружиненного двуплечего рычага, установленного с возможностью угловых поворотов на раме полуприцепа, другое плечо которого контактирует с опорной стойкой опорного устройства полуприцепа.
РИСУНКИ
|
|