|
|
(21), (22) Заявка: 2003135220/11, 03.12.2002
(24) Дата начала отсчета срока действия патента:
03.12.2002
(30) Конвенционный приоритет:
04.12.2001 (пп.1-7) DE 10159376.7
(43) Дата публикации заявки: 27.04.2005
(46) Опубликовано: 20.03.2007
(56) Список документов, цитированных в отчете о поиске:
DE 8913394 U1, 26.04.1990. DE 4406706 A1, 07.09.1995. FR 2763918 A1, 04.12.1998. US 5012966 A, 07.05.1991.
(85) Дата перевода заявки PCT на национальную фазу:
03.12.2003
(86) Заявка PCT:
DE 02/04418 (03.12.2002)
(87) Публикация PCT:
WO 03/047938 (12.06.2003)
Адрес для переписки:
103735, Москва, ул. Ильинка, 5/2, ООО “Союзпатент”, пат.пов. И.М.Захаровой
|
(72) Автор(ы):
ФРОММХЕРЦ Бернд (DE)
(73) Патентообладатель(и):
ВАНЦЛЬ МЕТАЛЛЬВАРЕНФАБРИК ГМБХ (DE)
|
(54) МАГАЗИННАЯ ТЕЛЕЖКА
(57) Реферат:
Изобретение относится к магазинной тележке. Тележка имеет корзину, в которой лоток для мелких предметов крепится изнутри концевой стенки. Концевая стенка (3), начиная с ее верхнего края (7), имеет вырез, на котором установлен лоток (13) для мелких предметов. Зажимная полоска (20) предусмотрена с возможностью закрывать вырез и дополнительно прикреплять лоток (13) для мелких предметов. Лоток (13) для мелких предметов установлен посредством выступов, выполненных на передней стенке лотка (13) для мелких предметов. Зажимная полоска (20) соединена с концевой стенкой (3) корзины (2) за счет защелкивающей фиксации. Поперечное сечение зажимной полоски (20) имеет вид буквы U. Зажимная полоска (20) имеет переднюю и заднюю стороны. На задней стороне выполнены выступы, проходящие через отверстия, находящиеся в лотке (13) для мелких предметов, и оканчивающиеся в углублениях на внутренней стороне (4) концевой стенки (3). Техническим результатом изобретения является выбор и выполнение таких средств, которые необходимы для фиксирования лотка для мелких предметов к концевой стенке корзины таким образом, чтобы это не сказывалось отрицательно на внешнем виде. 6 з.п. ф-лы, 2 ил.
Изобретение относится к магазинной тележке, имеющей корзину, в которой лоток для мелких предметов крепится изнутри концевой стенки.
В известных магазинных тележках средства для установки лотка для мелких предметов выполнены типичными элементами с крюками или петлями, которые, будучи видимыми, отрицательно сказываются на ее внешнем виде, особенно на концевой стенке корзины.
В магазинной тележке предлагаемого типа задача изобретения заключается в том, чтобы выбрать и выполнить такие средства, которые необходимы для фиксирования лотка для мелких предметов к концевой стенке корзины таким образом, чтобы это не сказывалось отрицательно на внешнем виде.
Эта цель достигается за счет того, что концевая стенка, начиная с ее верхнего края, имеет вырез, на котором помещается лоток для мелких предметов; и за счет того, что обеспечена зажимная полоска, которая закрывает углубление и дополнительно прикрепляет лоток для мелких предметов.
Зажимная полоска особо важна, так как она предпочтительно используется не только для дополнительного крепления лотка для мелких предметов, но также и закрывает вырез в концевой стенке и те элементы на лотке для мелких предметов, которые предусмотрены для установки лотка для мелких предметов на углублении. Зажимная полоска не сказывается на внешнем виде, как это было бы в случае применения типичных элементов в виде крюков или петель; напротив, согласно одному из вариантов осуществления настоящего изобретения эта зажимная полоска специально выполнена в виде рукояточной полоски.
Изобретение далее описывается со ссылкой на чертежи, на которых
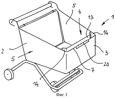
Фиг.1 показывает магазинную тележку, с видом концевой стенки корзины; и
Фиг.2 показывает способ монтирования и прикрепления лотка для мелких предметов.
Магазинная тележка 1 согласно Фиг.1, выполненная с возможностью вмещения в аналогичные тележки, соответствует общеизвестному распространенному типу магазинной тележки 1. Поэтому описание подробностей, необходимых для данного изобретения, будет здесь излишним. Лоток 13 для мелких предметов крепится к внутренней стороне 4 концевой стенки корзины 2 и предназначен для таких предметов, как упаковки сметаны или йогурта, которые легко мнутся. Две боковины 14 лотка 13 для мелких предметов оканчиваются у боковых стенок 5 корзины 2 и привинчиваются к ним. Зажимная полоска 20, имеющая сечение в виде буквы U и функция которой описывается ниже, расположена на верхнем крае 7 концевой стенки 3.
Фиг.2 показывает передний участок 6 корзины 2 вместе с концевой стенкой 3. Вырез 11 проходит вниз от верхнего края 7 концевой стенки 3. Лоток 13 для мелких предметов, устанавливаемый на концевой стенке 3 в направлении стрелки, изображен отстоящим вертикально от концевой стенки 3. Выступы 16 выполнены на передней стенке 15 лотка 13 для мелких предметов и предназначаются для установки на них лотка 13 для мелких предметов на горизонтальной части 12 углубления 11. В смонтированном состоянии лоток 13 для мелких предметов упирается во внутреннюю сторону 4 концевой стенки 3; при этом верхний край 17 лотка 13 для мелких предметов расположен приблизительно в той же горизонтальной плоскости, что и две верхние краевые части 8 концевой стенки 3. Зажимная полоска 20 изображена над лотком 13 для мелких предметов и выполнена с возможностью ее монтирования на лотке 13 для мелких предметов и на вырезе 11 концевой стенки 3 сверху. В смонтированном положении: зажимная полоска 20, ширина которой равна ширине выреза 11, зацепляется за верхний край 18 передней стенки 15 лотка 13 для мелких предметов, и ее передняя сторона 21 прилегает к узкому горизонтальному участку 9, который примыкает к вырезу 11 на внешней стороне концевой стенки 3. На внутренней стенке 23 задней стороны 22 обеспечены выступы 24, которые проходят через отверстия 19 в передней стенке 15 лотка 13 для мелких предметов при монтировании зажимной полоски 20. Выступы 24 оканчиваются в углублениях 10 на внутренней стороне 4 концевой стенки 3 непосредственно под вырезом 11. Выступы 24, имея соответствующую форму, входят в углубления 10 с защелкиваемой фиксацией, в результате чего зажимная полоска 20 соответствующей формы фиксируется к передней стенке 15 лотка 13 для мелких предметов и к концевой стенке 3 корзины 2. Таким образом, зажимная полоска 20 закрывает вырез 11 и дополнительно закрепляет лоток 13 для мелких предметов. Верх зажимной полоски 20 предпочтительно имеет рукояточные канавки 25, и поэтому зажимная полоска 20 не выглядит как средство крепления.
Корзина 2, лоток для мелких предметов 13 и зажимная полоска 20 предпочтительно выполнены из пластмассы.
Формула изобретения
1. Магазинная тележка (1) с корзиной (2), в которой лоток (13) для мелких предметов прикреплен к внутренней стороне (4) ее концевой стенки (3), отличающаяся тем, что концевая стенка 3, начиная с ее верхнего края (7), имеет вырез (11), на котором установлен лоток (13) для мелких предметов, и тем, что зажимная полоска (20) предусмотрена с возможностью закрывать вырез (11) и дополнительно прикреплять лоток (13) для мелких предметов.
2. Тележка по п.1, отличающаяся тем, что лоток (13) для мелких предметов установлен посредством выступов (16), выполненных на передней стенке (15) лотка (13) для мелких предметов.
3. Тележка по п.1, отличающаяся тем, что зажимная полоска (20) соединена с концевой стенкой (3) корзины (2) за счет защелкивающей фиксации.
4. Тележка по п.1, отличающаяся тем, что поперечное сечение зажимной полоски (20) имеет вид буквы U.
5. Тележка по п.1, отличающаяся тем, что зажимная полоска (20) имеет переднюю и заднюю стороны (21, 22), и тем, что на задней стороне (22) выполнены выступы (24), проходящие через отверстия (19), находящиеся в лотке (13) для мелких предметов, когда зажимная полоска (20) смонтирована, и оканчивающиеся в углублениях (10) на внутренней стороне (4) концевой стенки (3).
6. Тележка по п.5, отличающаяся тем, что верх зажимной полоски (20) имеет рукояточные канавки (25).
7. Тележка по п.2, отличающаяся тем, что лоток (13) для мелких предметов привинчен к боковым стенкам (5) корзины (2).
РИСУНКИ
|
|