|
|
(21), (22) Заявка: 2006105442/11, 21.02.2006
(24) Дата начала отсчета срока действия патента:
21.02.2006
(46) Опубликовано: 20.03.2007
(56) Список документов, цитированных в отчете о поиске:
RU 98105805 A1, 10.01.2000. SU 821815 A1, 15.04.1981. JP 55100440 А, 31.07.1980.
Адрес для переписки:
241015, г.Брянск, ул. Ульянова, 26, ЗАО УК БМЗ, ООТ
|
(72) Автор(ы):
Петров Владимир Федорович (RU), Волохов Григорий Михайлович (RU), Козин Виктор Александрович (RU), Простаков Михаил Михайлович (RU), Ермаков Александр Иванович (RU), Пономарев Юрий Константинович (RU), Котов Антон Сергеевич (RU)
(73) Патентообладатель(и):
Закрытое акционерное общество “Управляющая компания “Брянский машиностроительный завод” (ЗАО УК БМЗ) (RU)
|
(54) СПОСОБ УСТАНОВКИ ДИЗЕЛЬ-ГЕНЕРАТОРА НА РАМУ ТЕПЛОВОЗА
(57) Реферат:
Изобретение относится к транспортному машиностроению, а именно к способу установки дизель-генератора на раму тепловоза. Способ включает размещение на раме два ряда платиков, их приварку к раме, закрепление устройств для гашения вибрации и установку дизель-генератора на раму тепловоза. Перед установкой дизель-генератор приподнимают и к нижним опорным фланцам крепят виброизоляторы, предварительно установленные на промежуточных опорах. После позиционирования до необходимого совпадения опор с платиками дизель-генератор опускают и опоры приваривают к платикам. Технический результат заключается в ускорении технологического процесса за счет упрощения и удобства способа установки дизель-генератора на раму тепловоза. 4 ил.
Изобретение относится к транспортному машиностроению и может быть использовано при установке дизель-генератора на раму тепловоза.
Известен способ установки дизель-генератора на раму тепловоза, заключающийся в том, что на раме тепловоза установливают и закрепляют путем сварки два ряда платиков, обрабатывают верхние поверхности платиков до совпадения с единой горизонтальной плоскостью, размечают и изготавливают по чертежу резьбовые отверстия на платиках, затем вворачивают в резьбовые отверстия на платиках шпильки, крепят на шпильки устройства для гашения вибраций (амортизаторы), установливают дизель-генератора на устройства для гашения вибрации с одновременным попаданием всех шпилек на верхней поверхности устройств для гашения вибрации в отверстия на опорных фланцах дизель-генератора и фиксируют гайками, завертываемыми на шпильке (см. Г.А.Жилин, М.С.Малинов, А.М.Родов, И.И.Сулимцев, М.Г.Шифрин. «Пассажирский тепловоз ТЭП60». Всесоюзное издательско-полиграфическое объединение МПС, М., 1963, с.6-7) – прототип.
Поскольку амортизаторы, как правило, многоэлементны (между стальными пластинами устанавлены привулканизированные к ним слои синтетической резины), в корпусах амортизаторов нарезают (от 4-х до 12-ти) резьбовые отверстия, устанавливают в них сверху и снизу шпильки и крепят снизу к платикам рамы, а сверху – к опорным фланцам дизель-генератора.
Недостатком способа является то, что при больших габаритных размерах дизель-генераторов и рам существенно увеличивается количество отверстий и соответственно шпилек, чем затрудняется обеспечение совпадения всех отверстий на фланцах дизель-генератора со шпильками амортизаторов. Это приводит к тому, что на установку дизель-генератора на раму тепловоза уходит 2-3 дня монтажной работы бригадой из несколько человек.
Задача изобретения – ускорение технологического процесса за счет упрощения и удобства способа установки дизель-генератора на раму тепловоза.
Технический результат достигается тем, что в способе установки дизель-генератора на раму тепловоза, включающем размещение на раме два ряда платиков, их приварку к раме и обработку верхних поверхностей до совпадения с единой горизонтальной плоскостью, закрепление устройств гашения вибраций и установку дизель-генератора опорными фланцами на раму тепловоза, перед установкой дизель-генератор приподнимают и к нижним поверхностям опорных фланцев крепят устройства для гашения вибраций в виде виброизоляторов, предварительно установленных на промежуточных опорах, позиционируют дизель-генератор для совпадения его продольной оси с осью рамы, опускают на раму до совпадения нижних плоскостей промежуточных опор с верхними плоскостями платиков на раме и приваривают грани промежуточных опор к поверхностям платиков рамы.
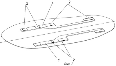
Сущность предлагаемого способа иллюстрируется чертежами, где:
на фиг.1 показано размещение платиков на раме тепловоза;
на фиг.2 показано закрепление устройств для гашения вибраций в виде виброизоляторов на промежуточной опоре;
на фиг.3 показана установка устройств для гашения вибраций в виде виброизоляторов на промежуточных опорах с нижней стороны опорных фланцев дизель-генератора;
на фиг.4 показана установка дизель-генератора с устройствами для гашения вибраций в виде виброизоляторов на раму тепловоза.
Способ осуществляется следующим образом. На раме 1 тепловоза (фиг.1) размещают и закрепляют с помощью сварки платики 2 в местах будущей установки устройств для гашения вибраций в виде виброизоляторов 3. Затем обрабатывают верхние поверхности платиков 2 таким образом, чтобы их верхние плоскости совпадали с единой горизонтальной плоскостью. Потом предназначенные для установки виброизоляторы 3 (фиг.2) закрепляют с помощью болтов 4 на промежуточных опорах 5, выполненных прямоугольной или кольцевой формы в плане. Для этого в промежуточных опорах 5 выполняют резьбовые отверстия 6, соосные с аналогичными отверстиями в корпусах виброизоляторов 3. С помощью крана приподнимают дизель-генератор 7 на некоторую высоту, достаточную, чтобы к нижней части опорных фланцев 8 можно было подвести виброизоляторы 3 с промежуточными опорами 5, устанавливают их в отверстия опорных фланцев и закрепляют гайками 9. Затем дизель-генератор 7 (фиг.4) опускают на раму 1 тепловоза, позиционируя промежуточные опоры 5 относительно платиков 2. При этом большой точности установки не требуется. Достаточно спозиционировать осевую линию дизель-генератора 7 относительно рамы 1 по двум точкам, используя отвесы. После установки дизель-генератора 7 с виброизоляторами 3 промежуточные опоры 5 приваривают к платикам 2 по ребрам 10 (фиг.4).
Описанный способ установки дизель-генератора на раму тепловоза обладает рядом преимуществ, по сравнению с прототипом:
– значительно сокращается время установки;
– упрощается процесс ремонтных работ в ходе эксплуатации, так как все виброизоляторы при ремонте дизель-генератора устанавливаются на свои прежние места.
Таким образом, предлагаемый способ может быть использован в транспортном машиностроении, других отраслях техники и осуществлен с помощью известных средств. Способ апробирован на Брянском машиностроительном заводе при установке дизель-генератора на раму нового магистрального тепловоза 2ТЭ25К «Пересвет». При этом время установки с двух-трех суток сократилось до 30 минут. Этим доказывается достижение усматриваемого заявителем технического результата – ускорение технологического процесса за счет упрощения и удобства установки дизель-генератора на раму подвижного средства с произвольным количеством виброизоляторов.
Формула изобретения
Способ установки дизель-генератора на раму тепловоза, включающий размещение на раме двух рядов платиков, их приварку к раме и обработку верхних поверхностей до совпадения с единой горизонтальной плоскостью, закрепление устройств для гашения вибраций и установку дизель-генератора опорными фланцами на раму тепловоза, отличающийся тем, что перед установкой дизель-генератор приподнимают и к нижним поверхностям опорных фланцев крепят устройства для гашения вибраций в виде виброизоляторов, предварительно установленных на промежуточных опорах, затем позиционируют дизель-генератор для совпадения его продольной оси с осью рамы, опускают на раму до совпадения нижних плоскостей промежуточных опор с верхними плоскостями платиков на раме и приваривают грани промежуточных опор к поверхностям платиков.
РИСУНКИ
|
|