|
|
(21), (22) Заявка: 2004128423/11, 24.09.2004
(24) Дата начала отсчета срока действия патента:
24.09.2004
(30) Конвенционный приоритет:
26.09.2003 DE 10344853.5
(43) Дата публикации заявки: 10.03.2006
(46) Опубликовано: 20.03.2007
(56) Список документов, цитированных в отчете о поиске:
DE 10144174 C1, 10.10.2002. ЕР 0184491 А1, 11.06.1986. WO 0240928 A1, 23.05.2002. SU 542074 A, 05.01.1977. GB 1151768 A, 14.05.1969.
Адрес для переписки:
103735, Москва, ул. Ильинка, 5/2, ООО “Союзпатент”, пат.пов. О.Ф.Ивановой
|
(72) Автор(ы):
ВЕТЦЛЬ Андреас (DE), ВАКСЕНЭГГЕР Хуберт (DE)
(73) Патентообладатель(и):
И.ЭБЕРШПЕХЕР ГМБХ УНД КО.КГ (DE)
|
(54) ТЕПЛООБМЕННОЕ УСТРОЙСТВО ДЛЯ ОБОГРЕВАТЕЛЯ, В ЧАСТНОСТИ ОБОГРЕВАТЕЛЯ ТРАНСПОРТНОГО СРЕДСТВА
(57) Реферат:
Изобретение относится к теплообменному устройству для обогревателя, в частности обогревателя транспортного средства. Теплообменное устройство содержит выполненную в корпусном устройстве (18) проточную камеру для обтекания термообрабатываемой средой. На корпусном устройстве предусмотрен, по меньшей мере, один присоединительный патрубок (38) для присоединения направляющей среду линии, при этом присоединительный патрубок (38) выполнен отдельно от корпусного устройства (18). В корпусном устройстве (18) выполнено посадочное отверстие (42) для присоединительного патрубка, в котором присоединительный патрубок (38) размещен и удерживается соединительным участком (44). Присоединительный патрубок (38) имеет на своем соединительном участке (44) первый соединительный отрезок (52), на котором присоединительный патрубок (38) удерживается на первом удерживающем отрезке (56) посадочного отверстия (42) за счет зажимного действия, и второй соединительный отрезок (54), на котором присоединительный патрубок (38) удерживается на втором удерживающем отрезке (58) посадочного отверстия (42) за счет материального замыкания. Технический результат заключается в повышении эксплуатационной надежности теплообменного устройства. 11 з.п. ф-лы, 2 ил.
Настоящее изобретение относится к теплообменному устройству для обогревателя, в частности обогревателя транспортного средства, содержащему выполненную в корпусе устройства проточную камеру для обтекания термообрабатываемой средой, причем на корпусе устройства предусмотрен, по меньшей мере, один присоединительный патрубок для присоединения направляющей среду линии.
Подобное теплообменное устройство известно, например, из DE 3400048 С2. Это известное теплообменное устройство содержит корпусное устройство, состоящее из двух корпусных деталей, выполненных, по существу, горшкообразными. В краевой зоне обе эти корпусные детали герметично соединены между собой, образуя проточную камеру для среды, по существу, соответствующую горшкообразной форме обеих корпусных деталей. Камера может обтекаться нагреваемой или термообрабатываемой средой, т.е., например, водой или воздухом. Внутрь этого корпусного устройства поступают образовавшиеся при сгорании топлива и воздуха для горения продукты сгорания или отработанные газы, так что переносимое этими продуктами сгорания тепло может передаваться через внутреннее пространство расположенных друг в друге корпусных деталей на среду, которая обтекает проточную камеру.
Для того чтобы среду можно было направить в проточную камеру или снова удалить из нее, предусмотрены два расположенных на расстоянии друг от друга присоединительных патрубка. К этим присоединительным патрубкам могут быть присоединены, например зажаты на них, направляющие среду линии. Оба присоединительных патрубка отформованы как одно целое с несущей их корпусной деталью, называемой, в целом, также водяной рубашкой. Это означает, что в процессе изготовления этой корпусной детали должны использоваться соответствующие формы. Это приводит, в целом, к сравнительно комплексной конструкции форм и накладывает на формообразование, в частности, в зоне присоединительных патрубков, значительные, технологически обусловленные ограничения. Так, например, также в зависимости от конструкционного материала этой корпусной детали может потребоваться выполнить присоединительные патрубки для обеспечения или облегчения извлечения из соответствующей формы скосами, вследствие чего эти присоединительные патрубки выполнены сужающимися в направлении от упомянутой корпусной детали и к их свободному концу. Это может привести, однако, к той проблеме, что линии, присоединяемые к подобным присоединительным патрубкам с использованием зажимов или хомутов и т.п., могут отделиться под влиянием вибрации во время эксплуатации подобного прибора.
Задачей настоящего изобретения является создание теплообменного устройства, которое при простом изготовлении может иметь повышенную эксплуатационную надежность.
Согласно изобретению эта задача решается посредством теплообменного устройства для обогревателя, в частности обогревателя транспортного средства, содержащего выполненную в корпусном устройстве проточную камеру для обтекания термообрабатываемой средой, причем на корпусном устройстве предусмотрен, по меньшей мере, один присоединительный патрубок для присоединения направляющей среду линии.
При этом также предусмотрено, что присоединительный патрубок выполнен отдельно от корпусного устройства и что в корпусном устройстве выполнено посадочное отверстие для присоединительного патрубка, в котором присоединительный патрубок размещен и удерживается соединительным участком.
Поскольку у теплообменного устройства согласно изобретению присоединительный патрубок или патрубки не выполнены как одно целое с несущим их корпусным устройством, т.е. не отформованы на нем, а выполнены отдельно от корпуса, а затем соединены с ним, ни сам корпус, ни размещаемые на нем присоединительные патрубки не подвержены каким-либо технологическим ограничениям, обусловленным необходимостью выполнения присоединительных патрубков. Как присоединительные патрубки или патрубок, так и корпусное устройство могут быть выполнены отдельно друг от друга в подходящем процессе изготовления, а именно также из соответственно подходящих для этих различных компонентов материалов, которые могут отличаться друг от друга. Лишь после отдельного изготовления этих обоих элементов за счет ввода соответствующего присоединительного патрубка в предусмотренное для этого посадочное отверстие и фиксации в нем осуществляется соединение этих обоих элементов.
Для того чтобы при соединении присоединительного патрубка с корпусным устройством создать как механически стабильное, так и защищенное от вытекания среды из проточной камеры соединение, предложено, что присоединительный патрубок имеет на своем соединительном участке первый соединительный отрезок, на котором присоединительный патрубок удерживается на первом удерживающем отрезке посадочного отверстия за счет зажимного действия, и второй соединительный отрезок, на котором присоединительный патрубок удерживается на втором удерживающем отрезке посадочного отверстия за счет материального замыкания. При этом прежде всего первый соединительный отрезок во взаимодействии с первым удерживающим отрезком выполняет функцию механического и точного по положению удержания присоединительного патрубка на корпусе, тогда как соединению с материальным замыканием на втором соединительном отрезке или удерживающем отрезке в качестве существенной функции придается создание герметичного соединения. Здесь следует указать, что за счет созданного на первом соединительном отрезке зажимного действия, само собой, уже возникает определенная герметичность соединения, тогда как и на втором соединительном отрезке, само собой, соединение с материальным замыканием создает определенную степень механической и передающей усилие связи между присоединительным патрубком и корпусом.
Для того чтобы при создании зажимного действия присоединительный патрубок можно было легко ввести в соответствующее посадочное отверстие и точно позиционировать в этом положении, предложено, что присоединительный патрубок выполнен на своем первом соединительном отрезке сужающимся в направлении ввода и что посадочное отверстие на своем первом удерживающем отрезке выполнено сужающимся в направлении ввода присоединительного патрубка в соответствии с первым соединительным отрезком. При этом предпочтительно, если первый соединительный и первый удерживающий отрезки выполнены конически сужающимися. Стабильное самостопорящееся удерживающее действие может быть достигнуто прежде всего тогда, когда угол конуса лежит в диапазоне 4-8°, преимущественно составляет около 6°.
У теплообменного устройства согласно изобретению может быть далее предусмотрено, что первый соединительный отрезок выполнен на части соединительного участка, вводимой в посадочное отверстие дальше, чем второй соединительный отрезок. Далее, согласно одной особенно предпочтительной форме выполнения предложено, что второй соединительный отрезок имеет соединительную поверхность, лежащую, по меньшей мере, частично на расстоянии от внутренней поверхности посадочного отверстия на втором удерживающем отрезке.
Для того чтобы в зоне второго соединительного отрезка или второго удерживающего отрезка можно было с высокой надежностью реализовать упомянутую функцию герметизации, далее предложено, что между внутренней поверхностью посадочного отверстия на втором удерживающем отрезке и соединительной поверхностью второго соединительного отрезка выполнен кольцеобразный объем для приема соединительного материала. Например, здесь может быть предусмотрено, что соединительная поверхность второго соединительного отрезка и/или внутренняя поверхность второго удерживающего отрезка выполнены, по существу, цилиндрическими.
Для того чтобы присоединительный патрубок в принимающем его посадочном отверстии даже при созданном зажимном действии на первом соединительном отрезке предохранить при сравнительно массивном силовом воздействии от опрокидывания, далее предложено, что второй соединительный отрезок в своей удаленной от первого соединительного отрезка концевой зоне имеет центрирующее образование, взаимодействующее с внутренней поверхностью второго удерживающего отрезка посадочного отверстия. При этом может быть, например, предусмотрено, что центрирующее образование имеет, по меньшей мере, один центрирующий выступ, опирающийся на внутреннюю поверхность второго удерживающего отрезка. Для того чтобы при таком расположении можно было легко создать соединение с материальным замыканием на втором соединительном отрезке, далее предложено, что центрирующее образование образует отверстие для ввода соединительного материала.
Соединение с материальным замыканием может быть реализовано преимущественно за счет склеивания, причем в качестве клеев рассматриваются материалы, которые после своего отверждения обладают определенной гибкостью или упругостью, в равной мере очень сильно сцепляются с соединенными этим материалом элементами, как это происходит, например, у силиконовых клеящих материалов и т.п.
Настоящее изобретение подробно описано ниже со ссылкой на прилагаемые чертежи, на которых:
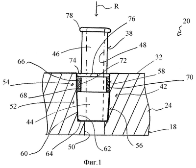
фиг.1 изображает реализованное согласно изобретению соединение между присоединительным патрубком и теплообменным корпусом;
фиг.2 – известный из уровня техники теплообменник, с помощью которого описана принципиальная конструкция подобного теплообменника.
Прежде чем подробно со ссылкой на фиг.1 изложить принцип настоящего изобретения, следует со ссылкой на фиг.2 описать известную из уровня техники принципиальную конструкцию подобного теплообменного устройства или содержащего его обогревателя транспортного средства.
Этот изображенный на фиг.2 обогреватель 10 имеет камеру 12 сгорания, в которой сжигают смесь воздуха для горения и испаренного или распыленного топлива. Отработанные газы сгорания протекают по жаровой трубе 14 и выходят из нее в концевой зоне 16. Жаровая труба 14 окружена корпусным устройством 18 теплообменного устройства 20, причем это корпусное устройство 18 состоит из двух вставленных друг в друга, выполненных, по существу, горшкообразными деталей 22, 24. Эти детали 22, 24 корпусного устройства соединены между собой в соответствующих краевых зонах 26, 28, образуя герметичное для среды замыкание, и ограничивают своими соответствующими боковыми 30, 32 и торцевыми 34, 36 стенками проточную камеру 37 для среды. Наружная горшкообразная деталь 24, называемая, в целом, водяной рубашкой, содержит два присоединительных патрубка 38, 40. Эти присоединительные патрубки 38, 40 служат для присоединения направляющих среду линий, по которым, например, жидкая среда может быть введена в проточную камеру 37 или снова удалена из этой проточной камеры 37, после того как среда, по меньшей мере, частично поглотит переданную через внутреннюю деталь 22 корпуса теплоту сгорания. У изображенного на фиг.2 и известного из уровня техники устройства, как уже пояснялось, присоединительные патрубки 38, 40 выполнены как одно целое с наружной деталью 24 корпуса.
Согласно изображенному на фиг.1 принципу настоящего изобретения предусмотрено, что, по меньшей мере, один из этих присоединительных патрубков, т.е., например, присоединительный патрубок 38, не выполнен как одно целое с деталью 24 корпуса или корпусным устройством 18. Напротив, присоединительный патрубок 38 выполнен в виде отдельной детали и прочно соединен с деталью 24 корпуса в изображенном примере в зоне его боковой стенки 32.
На фиг.1 видно, что в этой боковой стенке 32 наружной корпусной детали 24 выполнено обозначенное, в целом, поз. 42 посадочное отверстие для присоединительного патрубка. В это посадочное отверстие 42 соединительным участком 44 введен присоединительный патрубок 38. Присоединительный участок 46 присоединительного патрубка 38 лежит вне посадочного отверстия 42, так что на нем может быть неподвижно установлена присоединительная линия, например присоединительный шланг и т.п., а термообрабатываемая среда может протекать через сквозное отверстие 48 присоединительного патрубка 38 и выходящее в посадочное отверстие 42 отверстие 50 в боковой стенке 32 корпусной детали 24.
На фиг.1 видно, что соединительный участок 44 присоединительного патрубка 38 разделен, в основном, на два соединительных отрезка 52, 54. Первый соединительный отрезок 52 введен дальше в посадочное отверстие 42, чем второй соединительный отрезок 54, и позиционирован на первом удерживающем отрезке 56 посадочного отверстия 42. Второй соединительный отрезок 54, введенный менее далеко или менее глубоко в посадочное отверстие 42, лежит на втором удерживающем отрезке 58 посадочного отверстия 42.
Как первый соединительный отрезок 52, так и первый удерживающий отрезок 56 выполнены в направлении R ввода присоединительного патрубка, т.е. в том направлении, в котором присоединительный патрубок 38 должен быть введен в посадочное отверстие 42 для создания соединения, сужающимися, т.е. преимущественно конически сужающимися. При вводе или запрессовке присоединительного патрубка 38 в посадочное отверстие 42, например, коническая наружная боковая поверхность 60 присоединительного патрубка 38 на первом соединительном отрезке 52 и, например, выполненная соответственно конической внутренняя боковая поверхность первого удерживающего отрезка 56 посадочного отверстия 42 взаимно прилегают друг к другу, так что за счет создания соответствующего усилия запрессовки может быть достигнуто также зажимное действие. Для этого предпочтительно, если угол конусности первого соединительного отрезка 52 или первого удерживающего отрезка 56 выбран с возможностью создания самостопорящегося зажимно-удерживающего действия также с учетом выбора материала. Оказался предпочтительным выбор угла конуса около 6°. Далее глубина посадочного отверстия 42 может быть выбрана так, что даже при полностью введенном в него соединительном участке 44 присоединительного патрубка 38 дно 64 посадочного отверстия 42 еще, по меньшей мере, незначительно отстоит от присоединительного патрубка 38. Таким образом можно гарантировать, что в процессе запрессовки присоединительный патрубок 38 при создании нужного или определенного усилия запрессовки продвигается до тех пор, пока не будет создано соответствующее зажимное действие, которое полностью противодействует усилию запрессовки без возникновения опасности того, что процесс запрессовки закончится из-за упора присоединительного патрубка 38 в дно 64, прежде чем будет реализовано нужное зажимно-удерживающее действие. В равной степени может быть также предпочтительным выполнение присоединительного патрубка 38 и посадочного отверстия 42 согласованными между собой с возможностью осуществления процесса запрессовки до тех пор, пока первый соединительный отрезок 52 не упрется в дно 64 и, тем самым, присоединительный патрубок 38 не будет удерживаться на корпусной детали 24 с абсолютно определенным позиционированием.
Будучи обусловлено конструкцией, посадочное отверстие 42 может быть выполнено также без дна 64. Таким образом, возможно, чтобы присоединительный патрубок 38 заканчивался заподлицо с корпусным устройством 18, незначительно выступал за него или, будучи обусловлен системой, был слегка отведен назад.
На втором соединительном отрезке 54 соединение между присоединительным патрубком 38 и корпусной деталью 24 реализуют за счет материального замыкания, т.е., например, за счет склеивания. Для этого присоединительный патрубок 38 на своем втором соединительном отрезке 54 выполнен с соединительной поверхностью 66, которая незначительно отстоит от внутренней поверхности 68 посадочного отверстия 42 на втором удерживающем отрезке 58. Это приводит к изображенному на фиг.1 ступенчатому выполнению соединительного участка 44 в зоне перехода между первым 52 и вторым 54 соединительными отрезками. Таким образом, при цилиндрическом выполнении соединительной поверхности 66 и расположенной на расстоянии от нее внутренней поверхности 68 устанавливается кольцеобразный объем 70, в котором может быть размещен применяемый для реализации материального замыкания материал 72, т.е., например, клей.
На своем удаленном от первого соединительного отрезка 52 конце второй соединительный отрезок 54 выполнен с центрирующим образованием 74. Оно может иметь несколько расположенных на расстоянии друг от друга по периферии центрирующих выступов 76, которые выдаются за соединительную поверхность 66 настолько, что при правильном позиционировании присоединительного патрубка 38 на корпусной детали 24 они упираются во внутреннюю поверхность 68 или отстоят от нее лишь на небольшом расстоянии. Между расположенными на расстоянии друг от друга в направлении периферии центрирующими выступами 76 образованы проходные участки, на которых после вставки присоединительного патрубка 38 в посадочное отверстие 42 затем может быть введен применяемый для реализации соединения с материальным замыканием материал, т.е., например, клей. Таким образом, можно гарантировать полное заполнение всего объема 70 соединительным материалом 72 без возникновения опасности того, что поверхность 60 первого соединительного отрезка предварительно, по меньшей мере, локально будет загрязнена еще не отвержденным материалом 72 и без возникновения опасности некорректного создания зажимного действия.
За счет описанного выше выполнения теплообменного устройства 20 согласно изобретению достигаются различные технологические и функциональные преимущества. Так, за счет отдельного выполнения присоединительного патрубка 38 или каждого присоединительного патрубка 38 от имеющей или несущей его корпусной детали 24 можно выбрать для этих обоих элементов соответственно пригодный материал. Например, можно выполнить присоединительный патрубок 38 из алюминиевого или синтетического материала, тогда как корпусная деталь 24 выполнена из иного материала, например другого металлического или другого синтетического материала. Далее процесс изготовления, в частности, корпусной детали 24 легче осуществить, поскольку не приходится принимать меры по формовке как одно целое присоединительного патрубка. Посадочное отверстие 42, как и отверстие 50, может быть выполнено в корпусной детали 24 впоследствии с нужным позиционированием, однако может быть без проблем реализован также в процессе изготовления за счет придания соответствующей формы, причем, в частности, предпочтительной оказалась слегка коническая форма в зоне первого удерживающего отрезка 56, нежели для выполнения скоса для извлечения из формы. Также отверстие 50 и второй удерживающий отрезок 58 могут быть при необходимости выполнены с незначительными скосами для извлечения из формы, что, однако, прежде всего, в сравнении с конусностью первого удерживающего отрезка 56 в смысле настоящего изобретения можно в равной степени интерпретировать также, в основном, как цилиндрические. Цилиндрическое, в основном, выполнение прежде всего второго удерживающего отрезка 58 вызывает далее то преимущество, что присоединительный патрубок 38, который может быть выполнен, например, обработкой резанием из заготовки, имеет в зоне первого соединительного отрезка 52 и в зоне центрирующего образования 74 одинаковый максимальный диаметр или радиус по отношению к продольной средней оси присоединительного патрубка 38. Это упрощает, прежде всего, при обработке резанием процесс изготовления и ведет к экономии материала. Само собой, можно также изготовить присоединительный патрубок 38 иным образом, т.е., например, в процессе литья, а затем, при необходимости, подвергнуть обработке резанием.
Далее конструкция согласно изобретению дает, прежде всего, в зоне присоединительного патрубка 38 то преимущество, что он на своем предусмотренном для соединения с присоединительной линией присоединительном участке 46 может быть выполнен так, как это наиболее пригодно для стабильного соединения. На фиг.1, например, видно, что присоединительный патрубок 38 имеет в концевой зоне присоединительного участка 46 расширительный валик 78. Этот расширительный валик 78 предназначен для того, чтобы однажды надетая на этот присоединительный участок 46 гибкая линия стабильно удерживалась и чтобы, в частности, при ее фиксации хомутом или зажимом, который позиционирован между расширительным валиком 78 и центрирующим образованием 74, практически не могло возникнуть отделения линии от присоединительного участка 46. Само собой, можно также выполнить присоединительный патрубок 38 на присоединительном участке 46, например, с желобчатой или ребристой поверхностной структурой, с тем чтобы достичь еще более улучшенной функции удержания.
За счет выполнения центрирующего образования 74 на присоединительном патрубке 38 гарантируется его опирание также на расстоянии от первого соединительного отрезка стабильно на корпусную деталь 24, что, в частности, имеет значение тогда, когда соединительный материал 72 обладает определенной гибкостью. Таким образом, можно гарантировать, что действующие на присоединительный патрубок 38 в зоне его присоединительного участка 46 поперечные усилия не смогут привести к опрокидыванию и отделению присоединительного патрубка 38 на первом соединительном отрезке 52.
Формула изобретения
1. Теплообменное устройство для обогревателя, в частности обогревателя транспортного средства, содержащее выполненную в корпусном устройстве (18) проточную камеру (37) для обтекания термообрабатываемой средой, причем на корпусном устройстве предусмотрен, по меньшей мере, один присоединительный патрубок (38) для присоединения направляющей среду линии, при этом присоединительный патрубок (38) выполнен отдельно от корпусного устройства (18), а в корпусном устройстве (18) выполнено посадочное отверстие (42) для присоединительного патрубка, в котором присоединительный патрубок (38) размещен и удерживается соединительным участком (44), отличающееся тем, что присоединительный патрубок (38) имеет на своем соединительном участке (44) первый соединительный отрезок (52), на котором присоединительный патрубок (38) удерживается на первом удерживающем отрезке (56) посадочного отверстия (42) за счет зажимного действия, и второй соединительный отрезок (54), на котором присоединительный патрубок (38) удерживается на втором удерживающем отрезке (58) посадочного отверстия (42) за счет материального замыкания.
2. Теплообменное устройство по п.1, отличающееся тем, что присоединительный патрубок (38) выполнен на своем первом соединительном отрезке (52) сужающимся в направлении (R) ввода, при этом посадочное отверстие (42) на своем первом удерживающем отрезке (56) выполнено сужающимся в направлении (R) ввода присоединительного патрубка в соответствии с первым соединительным отрезком (52).
3. Теплообменное устройство по п.2, отличающееся тем, что первый соединительный (52) и первый удерживающий (56) отрезки выполнены конически сужающимися.
4. Теплообменное устройство по п.3, отличающееся тем, что угол конуса лежит в диапазоне 4-8°, преимущественно составляет около 6°.
5. Теплообменное устройство по п.1, отличающееся тем, что первый соединительный отрезок (52) выполнен на части соединительного участка (44), вводимой в посадочное отверстие (42) дальше, чем второй соединительный отрезок (54).
6. Теплообменное устройство по п.1, отличающееся тем, что второй соединительный отрезок (54) имеет соединительную поверхность (66), лежащую, по меньшей мере, частично на расстоянии от внутренней поверхности (68) посадочного отверстия (42) на втором удерживающем отрезке (58).
7. Теплообменное устройство по п.6, отличающееся тем, что между внутренней поверхностью (68) посадочного отверстия (42) на втором удерживающем отрезке (58) и соединительной поверхностью (66) второго соединительного отрезка (54) выполнен кольцеобразный объем (70) для приема соединительного материала (72).
8. Теплообменное устройство по п.7, отличающееся тем, что соединительная поверхность (66) второго соединительного отрезка (54) и/или внутренняя поверхность (68) второго удерживающего отрезка (58) выполнены, по существу, цилиндрическими.
9. Теплообменное устройство по п.6, отличающееся тем, что второй соединительный отрезок (54) в своей удаленной от первого соединительного отрезка (52) концевой зоне имеет центрирующее образование (74), взаимодействующее с внутренней поверхностью (68) второго удерживающего отрезка (58) посадочного отверстия (42).
10. Теплообменное устройство по п.9, отличающееся тем, что центрирующее образование (74) имеет, по меньшей мере, один центрирующий выступ (76), опирающийся на внутреннюю поверхность (68) второго удерживающего отрезка (58).
11. Теплообменное устройство по п.9, отличающееся тем, что центрирующее образование (74) образует, по меньшей мере, одно отверстие для ввода соединительного материала.
12. Теплообменное устройство по п.1, отличающееся тем, что соединение с материальным замыканием образовано за счет склеивания.
РИСУНКИ
|
|