|
|
(21), (22) Заявка: 2005113068/12, 29.04.2005
(24) Дата начала отсчета срока действия патента:
29.04.2005
(43) Дата публикации заявки: 10.11.2006
(46) Опубликовано: 20.03.2007
(56) Список документов, цитированных в отчете о поиске:
SU 636244 A1, 05.12.1978. RU 2019424 C1, 15.09.1994. RU 2031776 C1, 27.03.1995. RU 2071414 C1, 10.01.1997. RU 2212998 C1, 27.09.2003.
Адрес для переписки:
170044, г.Тверь, ул. Вагжанова, 14, АОЗТ ЦПТУ “Эффект”
|
(72) Автор(ы):
Крапивин Александр Николаевич (RU)
(73) Патентообладатель(и):
Крапивин Александр Николаевич (RU)
|
(54) СПОСОБ ИЗГОТОВЛЕНИЯ ДЕКОРАТИВНЫХ ИЗДЕЛИЙ ИЗ ДРЕВЕСИНЫ
(57) Реферат:
Способ изготовления декоративных изделий из древесины, заключающийся в том, что осуществляют изготовление заготовок, склеивание заготовок в блоки, выдержку блоков до затвердевания клея, отличающийся тем, что при изготовлении заготовок осуществляют пропилы заготовок для совмещения заготовок с образованием готового изделия, при этом при выполнении пропилов заготовки помещают в ложемент, ориентированный в соответствии с заданными установочными размерами: высотой центра симметрии сечения заготовки над плоскостью стола фрезерного станка, углом поворота продольной оси симметрии заготовки относительно плоскости стола и смещением центра симметрии сечения заготовки относительно вертикальной оси фрезы, а совмещение заготовок осуществляют в определенной последовательности, позволяющей собирать декоративные изделия, имеющие боковую поверхность наподобие гиперболоида вращения. Техническим результатом изобретения является получение готового изделия, имеющего боковую поверхность наподобие гиперболоида вращения. 6 ил.
Изобретение относится к изготовлению особых декоративных изделий из древесины: из деревянных заготовок особой формы – и может быть использовано, в частности, в производстве мебели.
Известен способ изготовления декоративных изделий (Авт. св. SU 636244, кл. опубл. 05.12.1978, прототип), включающий
– изготовление заготовок;
– склеивание заготовок в блоки;
– выдержку блоков до затвердевания клея;
– зачистку поверхности изделия.
Недостаток известного способа – традиционные ограничения в отношении формы боковой поверхности изделия.
Технический результат настоящего изобретения заключается в том, что готовое изделие имеет боковую поверхность наподобие гиперболоида вращения (см., например, Погорелов А.В. Геометрия. М., “Наука”, 1984, с.99).
Технический результат достигается тем,
– что при изготовлении заготовок осуществляют пропилы для совмещения заготовок с образованием готового изделия;
– что ложемент (Ложемент – устройство для крепления заготовок на столе фрезерного станка) ориентируют по заданным установочным размерам: высоте центра симметрии сечения заготовки над плоскостью стола фрезерного станка, углу поворота продольной оси симметрии сечения заготовки относительно плоскости стола и смещению центра симметрии сечения заготовки относительно вертикальной оси фрезы;
– что совмещение заготовок осуществляют в определенной последовательности, позволяющей собирать декоративные изделия, имеющие боковую поверхность наподобие гиперболоида вращения.
Исследованием уровня техники установлено, что способов изготовления декоративных изделий из древесины, имеющих боковую поверхность наподобие гиперболоида вращения, не обнаруживается.
Известен способ изготовления декоративных изделий (Авт. св. SU 636244, кл. опубл. 05.12.1978, прототип), включающий изготовление деревянных заготовок, склеивание заготовок в блоки, выдержку блоков до затвердевания клея.
Однако сравнение свойств совокупности признаков известного способа и заявляемого показывает, что
– в известном способе склеивание заготовок в блоки и их выдержка до затвердевания клея – начальные операции, следующие сразу же за изготовлением заготовок, а в заявляемом – конечные процедуры;
– известный способ не предназначен для изготовления декоративных изделий, имеющих боковую поверхность наподобие гиперболоида вращения.
Следовательно, заявляемый способ соответствует критерию “существенные отличия”.
Изобретение иллюстрируется графическими материалами (Фиг.1-6).
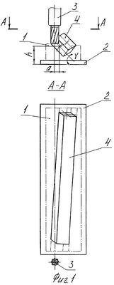
На Фиг.1 показано крепление заготовки в ложементе (вид спереди и вид сверху) в соответствии с заданными установочными размерами, где:
1 – ложемент, 2 – стол фрезерного станка, 3 – фреза, 4 – заготовка, h – высота центра симметрии сечения заготовки над плоскостью стола фрезерного станка, – угол поворота продольной оси симметрии заготовки относительно плоскости стола, – смещение центра симметрии сечения заготовки относительно вертикальной оси фрезы.
На Фиг.2, 3 показано определение установочных размеров h, , с помощью геометрических построений.
На фиг.4-6 – готовые изделия, выполненные в соответствии с заявляемым способом.
Сущность изобретения заключается в следующем.
Задаются площадь торцевых поверхностей и высота готового изделия. Определяются установочные размеры h, , (Фиг.2). Высота заготовок и их размеры выбираются исходя из потребительских целей. Для каждой заготовки h, , одинаковы. При выполнении изделий из заготовок непрямоугольного сечения можно упростить выполнение готового изделия, задав только – угол поворота продольной оси симметрии заготовки относительно плоскости стола фрезерного станка.
Затем выполняются пропилы, заготовки склеиваются и выдерживаются до затвердевания клея, после чего их поверхность зачищается.
Для пропилов заготовок прямоугольного сечения используется концевая фреза, имеющая диаметр, равный большей стороне прямоугольного сечения, например, Fantacci Indastrie серии 1022. Если сечение заготовки круглое, применяется насадная фреза, имеющая радиус округления, равный радиусу сечения заготовки, например, Fantacci Indastrie серии 692 с режущей головкой без ограничителей.
Формула изобретения
Способ изготовления декоративных изделий из древесины, заключающийся в том, что осуществляют изготовление заготовок, склеивание заготовок в блоки, выдержку блоков до затвердевания клея, отличающийся тем, что при изготовлении заготовок осуществляют пропилы заготовок для совмещения заготовок с образованием готового изделия, при этом при выполнении пропилов заготовки помещают в ложемент, ориентированный в соответствии с заданными установочными размерами: высотой центра симметрии сечения заготовки над плоскостью стола фрезерного станка, углом поворота продольной оси симметрии заготовки относительно плоскости стола и смещением центра симметрии сечения заготовки относительно вертикальной оси фрезы, а совмещение заготовок осуществляют в определенной последовательности, позволяющей собирать декоративные изделия, имеющие боковую поверхность наподобие гиперболоида вращения.
РИСУНКИ
|
|