|
|
(21), (22) Заявка: 2003121395/03, 20.11.2001
(24) Дата начала отсчета срока действия патента:
20.11.2001
(30) Конвенционный приоритет:
15.12.2000 (пп.1-8) US 09/736,340
(43) Дата публикации заявки: 10.12.2004
(46) Опубликовано: 20.03.2007
(56) Список документов, цитированных в отчете о поиске:
US 2992953 A1, 18.07.1961. US 4398979 A1, 16.08.1983. SU 1655919 A1, 15.06.1991. RU 94030110 A1, 27.05.1996.
(85) Дата перевода заявки PCT на национальную фазу:
15.07.2003
(86) Заявка PCT:
US 01/43190 (20.11.2001)
(87) Публикация PCT:
WO 02/47903 (20.06.2002)
Адрес для переписки:
129010, Москва, ул. Б.Спасская, 25, стр.3, ООО “Юридическая фирма Городисский и Партнеры”, пат.пов. С.А.Дорофееву
|
(72) Автор(ы):
КРОММЕН Ян Г. Л. (US), СВАМИНАТАН Калиана С. (US)
(73) Патентообладатель(и):
СОЛЮТИА ИНК. (US)
|
(54) УСТРОЙСТВО ДЛЯ ДЕАЭРАЦИИ МНОГОСЛОЙНОЙ СТРУКТУРЫ
(57) Реферат:
Изобретение относится к устройству, которое может быть использовано для деаэрации многослойных структур различных форм и размеров. Техническим результатом изобретения является создание устройства для легкой деаэрации многослойных структур различных форм и размеров, в том числе прямоугольных, многосторонних или выполненных в виде сочетаний скругленных и прямолинейных листов. Устройство для деаэрации многослойных структур различных форм и размеров содержит гибкий вакуумный обод, соединительный охватываемый элемент и отверстие для присоединения к источнику разрежения. Гибкий вакуумный обод, сопрягаемый с наружным контуром многослойной структуры, имеет два конца и продольный заглубленный в него канал. Соединительный охватываемый элемент, прикрепленный к одному концу гибкого вакуумного обода, имеет такую форму, чтобы взаимодействовать с продольным каналом гибкого вакуумного обода. Отверстие для присоединения к источнику разрежения расположено в гибком вакуумном ободе или канале соединительного охватываемого элемента. При этом гибкий вакуумный обод может скользить по соединительному охватываемому элементу в любом месте вдоль длины обода, образуя воздухонепроницаемое уплотнение и сохраняя возможность прохождения газового потока вокруг наружного контура многослойной структуры по части продольного канала гибкого вакуумного обода. 7 з.п. ф-лы, 6 ил.
Изобретение относится к устройству, которое может быть легко использовано для деаэрации многослойных структур различных форм, толщин и размеров. В настоящее время многослойные структуры широко используют в промышленности и в потребительских товарах. Например, лобовые стекла автомобилей и стекла в окнах некоторых зданий изготавливают из ламинированного стекла для повышения надежности или безопасности. В отличие от обычных стекол при ударе ламинированное стекло не разбивается вдребезги, а только раскалывается или растрескивается.
Ламинированное стекло обычно изготавливают из одного или большего числа слоев термопластического материала, например поливинилбутираля (PVB), приклеенного к двум листам стекла с образованием так называемой «сандвич-структуры». Ламинированное стекло, предназначенное для использования, например, в качестве автомобильного лобового стекла, должно быть изготовлено оптически прозрачным. Обычно поверхности прокладываемого между стеклами полимера неравные, и, когда стекла спрессовывают в процессе ламинирования, захватываются пузырьки воздуха в области неровных участков, уменьшая прозрачность готового изделия. Для удаления вредоносных пузырьков воздуха должно быть создано устройство для «деаэрации» многослойной структуры.
Типичная технология деаэрации включает заключение сборки в замкнутый обод, включающий один или большее число каналообразных элементов из непроницаемого для текучей среды материала (например, резины). Известны различные типы деаэрационных ободов.
В патенте США №1870284 описано использование жестких периферических камер для создания разрежения с двух соседних сторон сборки из листов стекла и промежуточных слоев для отсоса воздуха из межповерхностных пространств между слоями во время ламинирования. Эти камеры отсоса воздуха должны быть точно выставлены относительно боковых сторон сборки и предпочтительно должны точно соответствовать толщине сборки из-за недостаточно гибких губок, которые сопрягают с основными наружными поверхностями сборки.
В патенте США №2948645 описано использование деаэрационного обода, включающего бесконечный гибкий каналообразный элемент из непроницаемого для воздуха материала, снабженного гибкими губками, который насаживают на наружные краевые части сборки из изогнутых листов стекла и гибких промежуточных слоев, подвергаемых ламинированию. Согласно этому патенту требуется, чтобы канал для отсоса воздуха проходил вокруг всего контура сборки. Таким образом, для каждой иной формы наружного контура сборки, которую следует подвергнуть ламинированию, требуется каналообразный элемент иной формы, определяющий камеру для отсоса воздуха.
К числу других патентов, в которых описан охват наружного края сборки, которую следует подвергнуть ламинированию, губками деаэрационного обода, включающего гибкий каналообразный элемент, относятся следующие патенты США: №3074466 и №3074838, №3100173, №3234062, №3249479, №3281296, №3252136, №4624731.
В этих патентах гибкие каналообразные элементы обводят непрерывно вокруг наружного контура сборки, которую следует подвергнуть ламинированию. Недостатком такого решения является то, что при этом необходимо использовать обод другого размера для обработки многослойной структуры другого размера. Так как ободом необходимо охватывать наружный контур многослойной структуры и затем его необходимо присоединить к вакуумному насосу, то при использовании этого обода невозможно обеспечить его герметичное соединение со стеклом, если размеры многослойной структуры изменяют. Поэтому необходимо содержать склад гибких каналообразных элементов, предназначенных для каждого выпускаемого образца изделия. Хранение и подбор таких элементов является весьма сложным делом. Кроме того, изготовление таких каналообразных элементов является дорогостоящим процессом, при котором требуется отдельная форма для каждого образца, если каналообразный элемент изготавливают в виде единого элемента, или несколько форм, с последующим этапом вулканизации, если каналообразный элемент изготавливают из нескольких частей.
Кроме того, нет уверенности в том, что системы, описанные в перечисленных выше патентах, можно использовать для обработки острого угла без специального включенного в обод углового участка, который может быть или не может быть неотъемлемой частью конструкции обода. Есть также уверенность в том, что материалы, из которых выполняли каналообразные элементы для отсоса воздуха, и/или форма этих каналообразных элементов в известных решениях таковы, что при обработке острого угла без специально приспособленного углового участка обода скорее всего происходило бы блокирование потока воздуха или исключалось бы герметичное уплотнение между ободом и стеклом, в результате чего наблюдались бы потери в вакуумной системе, таким образом указывая на несоответствие устройства его назначению, заключающемуся в удалении воздуха.
В патенте США №2992953 описан деаэрационный обод, изготовленный из гибкой трубки, которую оборачивают вокруг большей части наружного контура многослойной структуры, и опорная полоса с канавкой, которую присоединяют к остальному открытому участку контура многослойной структуры. Изобретение, защищенное этим патентом, является усовершенствованным решением в сравнении с бесконечными ободами, описанными в других патентах, отличающимся тем, что такой обод для деаэрации не ограничен конкретным размером, и тем, что он, по утверждению авторов, не так сложен в применении или не требуется слишком большого времени для этого, как в случаях применения бесконечных ободов, описанных в других патентах. Обод для деаэрации согласно патенту монтируют путем установки нижнего края сборки в опорную полосу с канавкой, обвода гибкой трубки вокруг остальной части наружного контура сборки и плотного присоединения соответствующих частей гибкой трубки к концам опорной полосы с канавкой. Часть гибкой трубки оставляют за каждым местом плотного присоединения. При обработке различных образцов остаются участки гибкой трубки различной длины, в зависимости от длины периметра сборки, которую следует подвергнуть ламинированию.
Предложенный обод, однако, ограничен в применении с автомобильными лобовыми стеклами, которые имеют достаточно большой прямолинейный край, который можно вставлять в опорную полосу с канавкой, и углы, по существу скругленной формы, чтобы можно было охватывать гибкой трубкой с каналом наружный контур сборки без коробления трубки вблизи любых острых углов. Деаэрационные обода Тальбурта скорее всего не подходят для ламинирования стекол для окон прямоугольной или многоугольной конфигурации с острыми углами, например, окон зданий.
В патенте США №4398979 сделана попытка преодолеть многие из упомянутых выше недостатков устройств, используемых при изготовлении стекол для окон больших варьируемых размеров и с острыми углами. В данном патенте описан способ ламинирования с использованием множества каналообразных элементов и каналообразных соединительных приспособлений, прикрепляемых по наружному контуру многослойной структуры. Однако такое решение все же обладает недостатками. При его использовании требуются новые каналообразные и соединительные элементы для каждой многослойной структуры, отличающейся формой и размером. Это ведет к повышению стоимости, увеличению количества сохраняемых на складе элементов и приспособлений и увеличению продолжительности времени, требуемого для замены старых элементов для выполнения операций по обработке многослойной структуры, отличающейся по форме и размерам. Даже при обработке одной и той же многослойной структуры требуется множество элементов для проведения операции по ламинированию. Например, для обработки прямоугольной многослойной структуры потребуется четыре каналообразных элемента и четыре соединительных элемента, которые должны быть специально подобраны для углов и размеров для данной конкретной многослойной структуры. Это решение также ведет к значительному увеличению потенциально возможных утечек в системе отсоса воздуха из-за наличия множества соединяемых друг с другом элементов.
Использование ламинированного стекла широко распространено. Существует острая потребность в новых, эффективных в стоимостном отношении деаэрационных устройствах, которые можно было бы легко регулировать для их сочетания с многослойными структурами различных форм, размеров и толщин. Особенно заметная потребность наблюдается в устройстве для деаэрации многослойных структур с острыми углами и больших стеклопанелей для архитектурных сооружений. Настоящее изобретение отвечает этим требованиям.
Технической задачей настоящего изобретения стало создание деаэрационного обода, включающего: а) гибкий вакуумный обод, с продольным заглубленным в него каналом, который может быть сопряжен с контуром многослойной структуры; b) соединительный охватываемый элемент, присоединенный к одному концу гибкого вакуумного обода; с) по меньшей мере один проход для присоединения к вакууму, сообщенный с продольным каналом.
Данная техническая задача решается за счет того, что устройство для деаэрации многослойных структур различных форм и размеров согласно изобретению содержит гибкий вакуумный обод, имеющий два конца и продольный заглубленный в него канал и сопрягаемый с наружным контуром многослойной структуры соединительный охватываемый элемент, прикрепленный к одному концу гибкого вакуумного обода, имеющий такую форму, чтобы взаимодействовать с продольным каналом гибкого вакуумного обода, и отверстие для присоединения к источнику разрежения, расположенное в гибком вакуумном ободе или канале соединительного охватываемого элемента, при этом гибкий вакуумный обод может скользить по соединительному охватываемому элементу в любом месте по длине обода, образуя воздухонепроницаемое уплотнение и сохраняя возможность прохождения газового потока вокруг наружного контура многослойной структуры по части продольного канала гибкого вакуумного обода.
Предпочтительно источником разрежения является вакуумный насос.
Предпочтительно продольный канал гибкого обода выполнен из каучука с твердостью 20-45 единиц при измерении дюрометром.
Предпочтительно продольный канал гибкого обода имеет такую форму, чтобы исключить блокирование газового потока в нем при прохождении углов периферии многослойной структуры от 30° до 150°, при сохранении воздухонепроницаемого уплотнения между многослойной структурой и гибким вакуумным ободом.
Предпочтительно соединительный охватываемый элемент содержит канал соединительного элемента, сообщающийся с продольным каналом на одном конце гибкого вакуумного обода, для обеспечения прохождения газового потока по гибкому вакуумному ободу, установленному по периферии многослойной структуры.
Предпочтительно продольный канал имеет такую форму, чтобы сопрягаться с сегментом наружного контура многослойной структуры.
Предпочтительно соединительный охватываемый элемент дополнительно содержит опорный элемент для обеспечения целостности соединения соединительного охватываемого элемента с гибким вакуумным ободом.
Предпочтительно соединительный охватываемый элемент дополнительно содержит треугольный опорный элемент, на который опирается соединительный охватываемый элемент, прикрепленный к гибкому вакуумному ободу под углом около 90°.
Далее изобретение будет пояснено более подробно со ссылкой на прилагаемые чертежи, на которых:
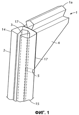
фиг.1 – вид в перспективе устройства согласно настоящему изобретению;
фиг.2 – вид в перспективе устройства согласно настоящему изобретению, сопряженного с многослойной структурой;
фиг.3 – поперечное сечение соединительного охватываемого элемента согласно настоящему изобретению;
фиг.4 – поперечное сечение канала гибкого вакуумного обода согласно настоящему изобретению;
фиг.5 – вид в перспективе еще одного варианта выполнения настоящего изобретения;
фиг.6А – вид в перспективе еще одного варианта выполнения настоящего изобретения;
фиг.6В – вид в перспективе еще одного варианта выполнения настоящего изобретения.
Настоящее изобретение направлено на создание устройства для легкой деаэрации многослойных структур различных форм и размеров.
Ламинированное стекло 9 изготавливают из одного или большего числа полимерных листов 7, обычно из поливинилбутираля (PVB), соединенных с обеих сторон с двумя листами стекла 6, 8 (см. фиг.2). Для изготовления ламинированного стекла воздух, который присутствует между полимерным листом 7 и листами стекла 6, 8, должен быть удален. Настоящим изобретением создано устройство, с помощью которого можно быстро и дешево произвести деаэрацию во время ламинирования, и это одно устройство можно легко приспосабливать и оно может быть применено для обработки многослойных структур различных форм, размеров и толщин. Это устройство включает соединительный охватываемый элемент 1, присоединенный, например, склеиванием, сваркой, формованием и т.д. к одному концу 14 гибкого вакуумного обода 2. Линия сварки 17, которой соединен конец 14 обода 2 с соединительным охватываемым элементом 1, показана на фиг.1. Присоединение соединительного охватываемого элемента 1 к ободу 2 может быть выполнено таким образом, чтобы упор 1а соединительного охватываемого элемента 1 образовал угол с ободом 2, составляющий около 30-150°, предпочтительно около 45-135°, а наиболее предпочтительно около 90°, т.е., чтобы упор 1а по существу был расположен перпендикулярно к ободу 2 в месте присоединения, показанном на фиг.1. В произвольном варианте воплощения предпочтительно, чтобы опору 4 можно было использовать для присоединения или для улучшения присоединения соединительного охватываемого элемента 1 к ободу 4. Опора 4 может быть выполнена за одно целое с соединительным охватываемым элементом 1, т.е. так, чтобы упор 1а и опора 4 являлись, например, одной сформованной частью; или опора 4 и упор 1а соединительного охватываемого элемента могут представлять собой две части, соединенные друг с другом, например, склеиванием, сваркой или скрепляющими средствами.
Обод снабжен продольным каналом 3 (см. фиг.1 и 2) с такими размерами, чтобы его можно было насадить, но не обязательно по точной посадке, по наружному контуру многослойной структуры 9. Гибкий вакуумный обод 2 последовательно насаживают по всему наружному контуру многослойной структуры 9, начиная с одного конца 14 обода.
Для удаления воздуха из многослойной структуры 9 вокруг многослойной структуры должна быть создана замкнутая система. Как показано на фиг.3 и 4, соединительному охватываемому элементу 1 придана такая форма, чтобы он по существу сочетался с формой продольного канала 3. Таким образом, когда гибким вакуумным ободом 2 полностью охватывают многослойную структуру 9, гибкий вакуумный обод может скользить по соединительному охватываемому элементу 1 в любом месте вдоль длины обода, образуя герметичное уплотнение, в то же время сохраняя возможность прохождения газового потока вокруг наружного контура многослойной структуры по части продольного канала 3, установленного на многослойной структуре 9.
Так как любую часть продольного канала 3 можно перемещать со скольжением по соединительному охватываемому элементу 1, то не требуется, чтобы устройство было ограничено какой-либо определенной длиной для того, чтобы его устанавливать на конкретной многослойной структуре; и, следовательно, его можно устанавливать на многослойных структурах различных форм, размеров и толщин. Выступающий конец 15 гибкого вакуумного обода 2 можно использовать для регулирования со скольжением обода для полного сопряжения по наружному контуру с многослойной структурой. Размер гибкого вакуумного обода 2 и продольного канала 3 выполняют такими, чтобы устройство можно было сопрягать с многослойной структурой с варьируемой толщиной. Кроме того, свойства материалов, используемых в конструкции деаэрационного устройства, позволяют сопрягать обод 2 с многослойной структурой с острыми, нескругленными углами без блокирования воздушного потока или нарушения герметичного уплотнения между ободом и стеклом, что неизбежно приводило бы к утечкам в системе отсоса воздуха. Следовательно, конструкция и материалы, используемые в данном изобретении, исключают необходимость применения обода с фиксированными размерами или множества специальных угловых частей, которые требуются в других системах деаэрации.
Для того чтобы устройство могло быть применено быстро и легко и для того чтобы вакуумный канал 3 был полностью герметизирован с помощью соединительного охватываемого элемента 1, предпочтительный вариант исполнения настоящего изобретения снабжен опорным элементом 4, выполненным в виде части соединительного охватываемого элемента 1, как показано на фиг.1 и 2. Опорный элемент служит для улучшения целостности соединения соединительного охватываемого элемента 1 с вакуумным ободом 2, и ему могут быть приданы любая форма и размеры. Опорный элемент 4 предпочтительно является треугольным по форме, и его изготавливают из эластичного гибкого материала. К числу таких материалов относятся (но их выбор не ограничен этим перечнем): силиконовый каучук, натуральный каучук, олефиновые каучуки, эластомеры и т.д.
После того как обод 2 установлен на многослойной структуре 9, требуется удалить воздух. С этой целью обод 2 снабжают по меньшей мере одним проходом 5 для присоединения к системе отсоса воздуха, который сообщен с продольным каналом 3. В предпочтительном варианте исполнения настоящего изобретения проход 5 для присоединения к системе отсоса воздуха расположен около или вблизи одного конца 14 гибкого вакуумного обода 2, около или вблизи соединительного охватываемого элемента 1, как показано на фиг.1. Источник системы отсоса воздуха (не показан), предпочтительно вакуумный насос, соединяют с проходом 5 для присоединения к системе отсоса воздуха. Источник системы отсоса воздуха используют для удаления остаточного воздуха для того, чтобы можно было изготавливать многослойную структуру без вредных воздушных пузырьков или без чрезмерного количества воздуха, растворенного в полимерном промежуточном слое. Предпочтительно, чтобы посредством продольного канала был обеспечен непрерывный тракт относительно многослойной структуры, хотя этот непрерывный тракт можно также и прерывать, например, соединительным охватываемым элементом.
Настоящим изобретением созданы средства для деаэрации многослойных структур различных размеров, например, прямоугольных, многосторонних или выполненных в виде сочетаний скругленных и прямолинейных листов. Обод предпочтительно имеет длину 0,9 м и предпочтительно больше 1,8 м так, чтобы с его помощью можно было обрабатывать многослойные структуры с относительно большими размерами по наружному контуру. При оптимально выполненном по форме продольном канале 3 (см. фиг.4) обод можно сопрягать с многослойными структурами, имеющими скругления или острые углы, без блокирования циркуляции воздуха или нарушения герметизации и поддерживать плотную посадку относительно наружного контура стекла. Конечно, могут быть использованы продольные каналы различных форм при условии обеспечения герметичного уплотнения относительно многослойной структуры.
Более конкретно, настоящее изобретение может быть использовано для обработки многослойных структур, имеющих острые углы, составляющие около 30-150°, предпочтительно около 45-135°. Гибкий вакуумный обод 2 предпочтительно изготавливают из каучука с твердостью 20-45 единиц при измерении дюрометром.
В отдельном варианте исполнения канал 11 соединительного элемента, выполненный как часть соединительного охватываемого элемента 1, сообщен с продольным каналом 3, как показано на фиг.5. В этом варианте исполнения упор 1а соединительного охватываемого элемента 1 может составлять угол с соединительной частью 1b в пределах, сходных с указанными ранее для соединительного охватываемого элемента 1 и обода 2, в варианте исполнения, представленном на фиг.1. Предпочтительно, чтобы соединительная часть 1b, включающая заглубленный канал 11 соединительного элемента, была расположена по существу перпендикулярно упору 1а соединительного охватываемого элемента 1. В еще более предпочтительном варианте исполнения опорным элементом 4 соединяют упор 1а и соединительную часть 1b, в результате чего можно повысить быстродействие соединительного охватываемого элемента 1. Дополнительная опора и эластичность соединительного охватываемого элемента 1 в этом варианте исполнения позволяют повысить скорость, с которой устройство может быть установлено на многослойной структуре без ухудшения гибкости устройства или сужения диапазона его применения.
В этом варианте исполнения канал 11 соединительного элемента имеет форму, по существу идентичную форме продольного канала 3. Это позволяет соединительную часть 1b соединительного охватываемого элемента 1 сопрягать по наружному контуру с многослойной структурой таким же точно образом, как и гибкий вакуумный обод 2. Один конец 14 обода присоединяют к соединительной части 1b соединительного охватываемого элемента 1. Это соединение может быть выполнено с использованием соединительного зажима 18. Аналогично, соединительная часть 1b может включать втулку для приема конца 14 обода 2 для выполнения требуемого соединения. Таким образом, когда обод последовательно насаживают на стеклянную многослойную структуру, а затем на упор 1а соединительного охватываемого элемента 1, то замкнутая система получается защищенной. Однако следует отметить, что замкнутая циркуляционная система не обязательна. Устройство будет функционировать даже в том случае, если продольный канал 3 заблокирован в одном или большем числе мест вдоль наружного контура многослойной структуры, до тех пор, пока может быть организован отсос воздуха от существенной части наружного контура многослойной структуры.
Как было сказано выше, проход 5 для присоединения к системе отсоса воздуха может быть выполнен в ободе 2. В альтернативном варианте исполнения проход 5 для присоединения к системе отсоса воздуха может быть выполнен либо в соединительной части 1b (как показано на фиг.6А), либо в упоре 1а, если продольный канал проходит через соединительную часть 1а (как показано на фиг.6 В). Точно так же должно быть ясно, что проход 5 для присоединения к системе отсоса воздуха может быть также выполнен в опоре 4 или упоре 1а в варианте исполнения, представленном на фиг.1.
Настоящим изобретением также создано деаэрационное устройство, которое может содержать множество проходов для подсоединения к системе отсоса воздуха, сообщенных с продольным каналом 3. Это позволяет ламинировать окна больших размеров без ограничения размера сборки, которая может быть удалена. Этот вариант исполнения предпочтительно применяют для обработки автомобильных стекол или остекления для архитектурных сооружений.
Следует иметь в виду, что изобретение не ограничено вариантами выполнения, описанными выше, так как возможны и другие варианты выполнения и модификации.
Формула изобретения
1. Устройство для деаэрации многослойных структур различных форм и размеров, содержащее гибкий вакуумный обод, имеющий два конца и продольный заглубленный в него канал и сопрягаемый с наружным контуром многослойной структуры, соединительный охватываемый элемент, прикрепленный к одному концу гибкого вакуумного обода, имеющий такую форму, чтобы взаимодействовать с продольным каналом гибкого вакуумного обода, и отверстие для присоединения к источнику разрежения, расположенное в гибком вакуумном ободе или канале соединительного охватываемого элемента, при этом гибкий вакуумный обод может скользить по соединительному охватываемому элементу в любом месте вдоль длины обода, образуя воздухонепроницаемое уплотнение и сохраняя возможность прохождения газового потока вокруг наружного контура многослойной структуры по части продольного канала гибкого вакуумного обода.
2. Устройство по п.1, в котором источником разрежения является вакуумный насос.
3. Устройство по п.1, в котором продольный канал гибкого обода выполнен из каучука с твердостью 20-45 единиц при измерении дюрометром.
4. Устройство по п.1, в котором продольный канал гибкого обода имеет такую форму, чтобы исключить блокирование газового потока в нем при прохождении углов периферии многослойной структуры от 30 до 150° при сохранении воздухонепроницаемого уплотнения между многослойной структурой и гибким вакуумным ободом.
5. Устройство по п.4, в котором соединительный охватываемый элемент содержит канал соединительного элемента, сообщающийся с продольным каналом на одном конце гибкого вакуумного обода, для обеспечения прохождения газового потока по гибкому вакуумному ободу, установленному по периферии многослойной структуры.
6. Устройство по п.5, в котором продольный канал имеет такую форму, чтобы сопрягаться с сегментом наружного контура многослойной структуры.
7. Устройство по п.1, в котором соединительный охватываемый элемент дополнительно содержит опорный элемент для обеспечения целостности соединения соединительного охватываемого элемента с гибким вакуумным ободом.
8. Устройство по п.1, в котором соединительный охватываемый элемент дополнительно содержит треугольный опорный элемент, на который опирается соединительный охватываемый элемент, прикрепленный к гибкому вакуумному ободу под углом около 90°.
РИСУНКИ
|
|