|
|
(21), (22) Заявка: 2005112365/12, 25.04.2005
(24) Дата начала отсчета срока действия патента:
25.04.2005
(43) Дата публикации заявки: 27.10.2006
(46) Опубликовано: 20.03.2007
(56) Список документов, цитированных в отчете о поиске:
ЕР 0596271 A1, 05.11.1994. US 5711971 A1, 27.01.1998. SU 1229058 A1, 07.05.1986. SU 679410 A1, 15.08.1979. SU 1654004 A1, 07.06.1991. SU 1720881 A1, 23.03.1992. SU 1426817 A1, 30.09.1988. DE 10059045 C1, 28.02.2002. WO 9011151 A1, 04.10.1990.
Адрес для переписки:
445633, Самарская обл., г. Тольятти, Южное ш., 36, ОАО “АВТОВАЗ”, ОИР, ПТУ, ДИТО, С.Н. Буренкову
|
(72) Автор(ы):
Чичкова Валентина Петровна (RU)
(73) Патентообладатель(и):
Открытое акционерное общество “АВТОВАЗ” (RU)
|
(54) УНИВЕРСАЛЬНАЯ БЛОК-ФОРМА
(57) Реферат:
Изобретение относится к переработке полимерных материалов, а именно к технологической оснастке, и может быть использовано в мелкосерийном и многономенклатурном производстве. Техническим результатом изобретения является расширение технологических возможностей блок-формы, повышение производительности труда, сокращение времени переналадки блок-формы непосредственно на литьевой машине, повышение качества изготавливаемых изделий. Универсальная блок-форма для изготовления изделий из полимерных материалов содержит неподвижную и подвижную плиты, основание, плиты крепления сменных пакетов, плиты выталкивающей системы с отверстиями под толкатели, сменный пакет, толкатели, хвостовик. Выталкивающая система представляет собой две комбинации узлов выталкивания, имеющих возможность взаимодействия друг с другом. Одна комбинация узлов выталкивания установлена в плите опорной, плите выталкивателей и основании по сетке отверстий. Отверстия выполнены в максимальном количестве и по заданным координатам. Эта комбинация узлов выталкивания состоит из толкателя центрального, пружин и толкателей промежуточных. Вторая комбинация узлов выталкивания размещена в сменном пакете по сетке отверстий, выполненных соосно сетке отверстий плиты выталкивателей и основания и в количестве, достаточном для выталкивания только конкретного изделия, и состоит из центрального толкателя, толкателей изделий, пружин возврата и фиксаторов. 1 з.п. ф-лы, 3 ил.
Изобретение относится к переработке полимерных материалов, а именно к технологической оснастке, и может быть использовано в мелкосерийном и многономенклатурном производстве.
Известна универсальная блок-форма (а.с. № 704802, 05.10.1977, В 29 С 1/00), содержащая плиты крепления формообразующих сменных пакетов, плиты выталкивающей системы блок-формы, толкающую плиту сменного пакета с выталкивателями изделий и узел крепления выталкивающей системы с толкающей плитой, выполненный в виде планки, установленной и перемещающейся между плитами выталкивающей системы, и пальца, закрепленного в толкающей плите и взаимодействующего с планкой и подпружиненного фиксатора.
Наличие в указанной блок-форме сложного узла крепления выталкивающей системы усложняет и всю конструкцию, а также создает неудобства при эксплуатации.
Известна форма (JP 218779, 27.01.1993, В 29 С 45/40), содержащая несколько полуформ, образующих при смыкании формующую полость, выталкивающий механизм с выталкивающими пальцами, один из которых установлен неподвижно в плитах выталкивания, а другой установлен в основании и имеет упругий элемент, усилие которого передает неподвижно установленному пальцу.
Указанная форма не является универсальной, а предназначена для изготовления конкретного изделия, что сужает ее технические возможности.
Технической задачей изобретения является расширение технических возможностей универсальной блок-формы, повышение производительности труда.
Техническим результатом использования изобретения является сокращение времени переналадки блок-формы непосредственно на литьевой машине, повышение качества изготавливаемых изделий.
Указанный технический результат достигается за счет того, что в блок-форме, содержащей неподвижную и подвижную плиты, основание, плиты крепления сменных пакетов, плиты выталкивающей системы с отверстиями под толкатели, сменный пакет, толкатели, хвостовик, выталкивающая система представляет собой две комбинации узлов выталкивания, имеющих возможность взаимодействия, причем одна комбинация узлов выталкивания установлена в плите опорной, плите выталкивателей и основании по сетке отверстий, выполненных в максимальном количестве и по заданным координатам, и состоит из толкателя центрального, пружин и толкателей промежуточных, а вторая комбинация узлов выталкивания размещена в сменном пакете по сетке отверстий, выполненных соосно сетке отверстий плиты выталкивателей и основания и в количестве, достаточном для выталкивания только конкретного изделия, и состоит из центрального толкателя, толкателей изделий, пружин возврата и фиксаторов, служащих опорой толкателям и выполненных в виде втулки с центральным отверстием и наружной резьбой.
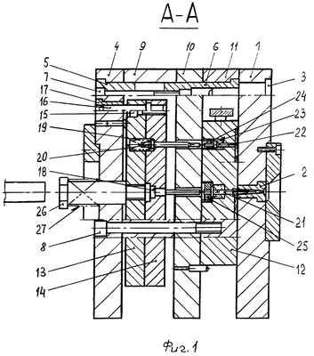
На фиг.1 изображена блок-форма в закрытом положении, разрез. На фиг.2 – блок-форма в раскрытом положении, на фиг.3 – сетка толкателей.
Универсальная блок-форма для изготовления изделий из полимерных материалов содержит неподвижную плиту 1 с литниковой втулкой 2 и колонками 3, подвижную плиту 4, жестко связанную втулками 5, 6 и винтами 7, 8 с брусьями 9, основанием 10 и плитами крепления сменных пакетов 11, на которых установлены сменные пакеты 12, плиту опорную 13, жестко связанную с плитой выталкивателей 14 винтами 15 и колонками 16, установленных с возможностью скольжения во втулках 17 подвижной плиты 4. Выталкивающая система состоит из двух комбинаций узлов выталкивания. Первая комбинация узлов выталкивания состоит из толкателя центрального 18, пружины 19, толкателей промежуточных 20 и установлена в плите опорной 13, плите выталкивателей 14 и основании 10 по сетке отверстий, выполненных в максимальном количестве и по заданным координатам. Вторая комбинация узлов выталкивания состоит из центрального толкателя 21, толкателей изделий 22, пружин возврата 23 и фиксаторов 24, 25 и установлена в сменном пакете 12 по сетке отверстий, выполненных соосно сетке отверстий плиты выталкивателей 14 и основания 10 в количестве, достаточном для выталкивания только конкретного изделия.
Хвостовик 26, закрепленный на резьбе в плите опорной 13, снабжен пружиной 27, установленной с возможностью осуществлять возврат всей выталкивающей системы в исходное положение.
Универсальная блок-форма работает следующим образом.
В блок-форме устанавливается необходимый сменный формообразующий пакет 12. В плите опорной 13, плите выталкивателей 14 и основании 10 устанавливают общее количество узлов выталкивания с центральным толкателем 18, пружинами 19 и толкателями промежуточными 20, а в сменном пакете 12 установлены узлы толкателя центрального 21 и толкателей изделия 22 с пружинами возврата 23 и фиксаторами 24, 25, которые служат опорой для толкателей 21, 22. Толкатели 22 необходимы для удаления конкретного типа изделий, причем их координаты соосны только части отверстий с узлами выталкивания в основании 10. Те же промежуточные толкатели 20, оси которых не соосны с осями толкателей изделия 22 в установленном сменном пакете 12, перекрыты им и остаются нерабочими для данного конкретного сменного пакета и поджимают пружины 19 в момент съема изделия.
После впрыска расплава и соответствующей выдержки форма раскрывается. При этом подвижная часть формы отходит от неподвижной. Хвостовик 26 наталкивается на упор машины и начинает толкать плиту опорную 13 с плитой выталкивателей 14 и установленными в них толкателем центральным 18, пружинами 19 и толкателями промежуточными 20 по направлению к сменному пакету 12. При этом толкатель центральный 18 подходит к толкателю центральному 21 сменного пакета 12, толкает его и заставляет начать удаление задержки центрального литника. Одновременно с этим сила сжатия пружин 23 сменного пакета 12 оказывает сопротивление пружинам 19 и задерживает движение толкателей промежуточных 20 на небольшое время, достаточное для начала удаления задержки центрального литника. Сила сжатия пружин 19 преодолевает силу сжатия пружин 23, толкает толкатели промежуточные 20 до соприкосновения с толкателями изделия 22. Происходит синхронное попарное движение толкателей центральных 18, 21 и толкателей промежуточных 20 и толкателей изделия 22, которые одновременно удаляют литниковую систему и изделие из формообразующих гнезд. При этом чуть поджатые вначале выталкивания пружинами 23 пружины 19, разжимаясь, передают отливке через толкатели изделия 22 импульс движения, что позволяет отделить отливку от толкателей изделия 22 и исключает залипание последней на толкателях изделия 22.
После выталкивания форма начинает смыкаться. При этом хвостовик 26 под действием пружины 27 возвращается в исходное положение и в свою очередь тянет за собой плиту опорную 13 и плиту выталкивателей 14 с находящимися в них толкателем центральным 18, пружинами 19 и толкателями промежуточными 20, а толкатель центральный 21 и толкатели изделия 22 под действием возвратных пружин 23 сменного пакета 12 также возвращаются в исходное положение.
Предлагаемая универсальная блок-форма обеспечивает надежное выталкивание изделия из формообразующих гнезд и работает в автоматическом режиме.
Формула изобретения
1. Универсальная блок-форма для изготовления изделий из полимерных материалов, содержащая неподвижную и подвижную плиты, основание, плиты крепления сменных пакетов, плиты выталкивающей системы с отверстиями под толкатели, сменный пакет, толкатели и хвостовик, отличающаяся тем, что выталкивающая система представляет собой две комбинации узлов выталкивания, имеющих возможность взаимодействия друг с другом, причем одна комбинация узлов выталкивания установлена в плите опорной, плите выталкивателей и основании по сетке отверстий, выполненных в максимальном количестве и по заданным координатам, и состоит из толкателя центрального, пружин и толкателей промежуточных, а вторая комбинация узлов выталкивания размещена в сменном пакете по сетке отверстий, выполненных соосно с сеткой отверстий плиты выталкивателей и основания и в количестве, достаточном для выталкивания только конкретного изделия, и состоит из центрального толкателя, толкателей изделия, пружин возврата и фиксаторов.
2. Универсальная блок-форма по п.1, отличающаяся тем, что фиксаторы выполнены в виде втулки с центральным отверстием и наружной резьбой.
РИСУНКИ
|
|