|
|
(21), (22) Заявка: 2005112156/02, 19.04.2005
(24) Дата начала отсчета срока действия патента:
19.04.2005
(30) Конвенционный приоритет:
19.04.2004 JP 2004-123501 18.02.2005 JP 2005-043281
(43) Дата публикации заявки: 27.10.2006
(46) Опубликовано: 20.03.2007
(56) Список документов, цитированных в отчете о поиске:
ЕР 0925880 А2, 30.06.1999. SU 1768024 A3, 21.01.1982. SU 740490 A, 15.06.1980. US 6247626 В1, 19.06.2001.
Адрес для переписки:
191186, Санкт-Петербург, а/я 230, “АРС-ПАТЕНТ”, пат.пов. В.М.Рыбакову, рег. № 90
|
(72) Автор(ы):
АКИБА Ёшитака (JP), НИШИКАВА Томомаса (JP), ЯМАМОТО Кунио (JP), ОЦУ Шинки (JP), ФУДЗИСАВА Харухиса (JP)
(73) Патентообладатель(и):
ХИТАЧИ КОКИ КО., ЛТД. (JP)
|
(54) МЕХАНИЗИРОВАННЫЙ ИНСТРУМЕНТ, ПРИВОДИМЫЙ В ДЕЙСТВИЕ ПРОДУКТАМИ СГОРАНИЯ
(57) Реферат:
Изобретение относится к области машиностроения. Механизированный инструмент для заколачивания крепежных элементов, приводимый в действие продуктами сгорания, содержат основной корпус, головку цилиндра, расположенную вблизи одной стороны основного корпуса, цилиндр, установленный внутри основного корпуса, поршень, расположенный в цилиндре с возможностью скольжения, поршень разделяет цилиндр на верхнюю полость цилиндра над поршнем и нижнюю полость цилиндра под поршнем, ударник, соединенный с поршнем, корпус камеры сгорания, установленный в основном корпусе, вентилятор, расположенный в камере сгорания, электродвигатель, имеющий выходной вал, соединенный с вентилятором, держатель электродвигателя, который вмещает в себя электродвигатель. Головка цилиндра выполнена с посадочным гнездом держателя электродвигателя, в котором размещен держатель электродвигателя с возможностью перемещения со скольжением. Пружинящий элемент расположен в промежутке, образованном между держателем электродвигателя и посадочным гнездом держателя электродвигателя. При использовании изобретения обеспечивается более технологичная и прочная конструкция крепления двигателя. 2 н. и 11 з.п. ф-лы, 14 ил.
Область техники, к которой относится изобретение
Настоящее изобретение относится к механизированному инструменту, приводимому в действие продуктами сгорания, например к гвоздезабивным пистолетам для заколачивания в заготовку крепежных элементов, таких как гвозди или шпильки, в которых осуществляется ослабление ускорения, сообщаемого электродвигателю в момент воспламенения топливно-газовой смеси в камере сгорания или в момент соударения поршня с амортизатором.
Уровень техники
В гвоздезабивном пистолете происходит поджиг воздушно-топливной смеси, заключенной в камере сгорания, и преобразование объемного расширения газа в механическую энергию. В камере сгорания установлен вентилятор для перемешивания воздуха и топлива с целью улучшения горючести газовой смеси.
Вентилятор вращается электродвигателем. Вентилятор создает вихревое движение газовой смеси в камере сгорания и способствует сгоранию газа. Взрывное воспламенение в камере сгорания приводит к объемному расширению газа и создает ударное действие. Созданное таким образом ударное действие передается на корпус гвоздезабивного пистолета, а также на электродвигатель для вращения вентилятора.
Поршень, который преобразует объемное расширение газа в механическую энергию, загоняет гвоздь в заготовку. Избыточная кинетическая энергия сверх той, которая необходима для забивания гвоздя в заготовку, поглощается в амортизаторе, расположенном в цилиндре, вдоль которого движется поршень, в тот момент, когда поршень ударяет по амортизатору. В этот момент времени ускорение, которое возникает, когда поршень ударяет по амортизатору, приложено к корпусу гвоздезабивного пистолета и передается на электродвигатель.
Ввиду того что электродвигатель является точным механизмом и не обладает вибропрочностью, он может быть поврежден приложенными к нему повторяющимися ударными нагрузками, что будет приводить к ухудшению его характеристик. Чтобы ударные нагрузки не передавались на электродвигатель, для крепежного элемента электродвигателя используют буферный материал. Крепежный элемент электродвигателя отделяет электродвигатель от корпуса гвоздезабивного пистолета, так что передача ударных нагрузок на электродвигатель может быть исключена, как это раскрыто в патенте США 6520397.
Более конкретно, как показано на фиг.1 и 2, электродвигатель 118 смонтирован в головке 111 цилиндра. Головка 111 цилиндра расположена с одной стороны корпуса 102 гвоздезабивного пистолета 101 и закрыта крышкой 103 головки. Вентилятор 119 закреплен на конце выходного вала 118b электродвигателя 118. Воспламенитель 112 неподвижно закреплен в головке 111 цилиндра вблизи электродвигателя 118, при этом один его конец выступает в камеру сгорания.
На наружной периферической поверхности электродвигателя 118 выполнены две канавки, отнесенные друг от друга в направлении оси электродвигателя 118 и охватывающие электродвигатель по всей окружности. Как показано на фиг.1, в каждой из этих двух канавок установлено стопорное кольцо 114. Между двумя стопорными кольцами 114 вставлено и удерживается внутреннее кольцо 113а буферного элемента 113.
Как показано на фиг.2, буферный элемент 113 включает в себя внутреннее кольцо 113а, металлический крепежный элемент 113с и литой резиновый элемент 113b, связывающий в одно целое и внутреннее кольцо 113а и металлический крепежный элемент 113с. Металлический крепежный элемент 113с неподвижно закреплен на головке 111 цилиндра. Электродвигатель 118 поддерживается на головке 111 цилиндра через буферный элемент 113.
При такой конструкции ударная нагрузка, созданная в гвоздезабивном пистолете 101, передается на металлический крепежный элемент 113с буферного элемента 113. Однако благодаря присутствию резинового элемента 113b удар, передаваемый на внутреннее кольцо 113а и на электродвигатель 118, который поддерживается внутренним кольцом 113а, зафиксированным между стопорными кольцами 114, гасится.
Вместе с тем, как описано выше, в случае гвоздезабивного пистолета традиционной конструкции на наружной периферической поверхности электродвигателя 118 необходимо формировать канавки, чтобы крепить электродвигатель 118 к буферному элементу 113. Следовательно, нельзя использовать электродвигатели общего назначения, применимы только имеющие высокую стоимость электродвигатели, выпускаемые по специальным техническим требованиям. Буферный элемент 113 представляет собой неразборный элемент, в котором два металлических кольца 113а и 113с соединены вместе при помощи резинового элемента 113b, расположенного между ними. Из-за разнородности материалов, формирующих неразборный буферный элемент 113, надежность литого резинового соединения невелика, так что есть вероятность отделения участков разнородных материалов друг от друга в случае некачественного резинового литья.
С учетом конструктивных требований воспламенитель 112 располагают вблизи электродвигателя. Соответственно резиновый элемент 113b не может проходить в том месте, где находится воспламенитель 112. Таким образом, из-за воспламенителя 112 нарушается непрерывность резинового элемента 113b, и в том месте, где установлен воспламенитель 112, у резинового элемента 113b имеется разрыв. Как следствие, буферный элемент 113 оказывается неспособным равномерно гасить ударные нагрузки, прикладываемые к электродвигателю 118. Таким образом, в месте крепления воспламенителя возникают сосредоточенные растягивающие нагрузки, и есть вероятность повреждения резинового элемента 113b.
В гвоздезабивном пистолете вышеописанного типа непрерывно повторяющиеся циклы заколачивания гвоздей приводят к накоплению тепла, вырабатываемого в моменты взрывного воспламенения. Камера 126 сгорания и цилиндр (не показан) являются основными источниками теплообразования. Выработанное таким образом тепло передается гвоздезабивному пистолету, включая электродвигатель 118, повышая их температуру. Приведение электродвигателя 118 во вращение также создает тепло в обмотках электродвигателя, что еще сильнее повышает температуру электродвигателя 118. Проблему повышения температуры электродвигателя 118, которое может приводить к его перегоранию, обычно решают, используя теплостойкие электродвигатели с большим ресурсом. Однако такие электродвигатели дороги.
Раскрытие изобретения
Таким образом, задачей, решаемой настоящим изобретением, является разрешение вышеописанных проблем, свойственных механизированному инструменту традиционной конструкции, и создание механизированного инструмента, приводимого в действие продуктами сгорания, имеющего более технологичную и прочную конструкцию крепления двигателя.
Другой задачей настоящего изобретения является создание недорогого механизированного инструмента, приводимого в действие продуктами сгорания и имеющего конструкцию крепления двигателя с более эффективным охлаждением.
Для решения вышеуказанных и других задач предлагается механизированный инструмент, приводимый в действие продуктами сгорания, который включает в себя основной корпус, головку цилиндра, цилиндр, поршень, ударник, корпус камеры сгорания, вентилятор, электродвигатель, держатель электродвигателя и пружинящий элемент. Головка цилиндра располагается вблизи одной стороны основного корпуса, и в ней сформировано отверстие впрыска топлива и впускное отверстие для воздуха. Цилиндр прикреплен к внутренней части основного корпуса. Поршень располагается в цилиндре и может скользить внутри него, совершая возвратно-поступательное движение в направлении оси цилиндра. Поршень разделяет цилиндр на верхнюю полость цилиндра над поршнем и нижнюю полость цилиндра под поршнем. Ударник соединен с поршнем и может перемещаться совместно с ним. В основном корпусе установлен с возможностью перемещения корпус камеры сгорания. Корпус камеры сгорания имеет одну сторону, которая может прилегать к головке цилиндра и отходить от нее. Корпус камеры сгорания, головка цилиндра и поршень в комплексе образуют камеру сгорания. Вентилятор расположен в камере сгорания. У электродвигателя имеется выходной вал, соединенный с вентилятором. Местоположение электродвигателя определяет держатель электродвигателя. В головке цилиндра предусмотрено место для посадки держателя электродвигателя (в дальнейшем – посадочное гнездо), в котором располагается держатель электродвигателя с возможностью скользящего перемещения. Пружинящий элемент, такой как спиральная пружина, располагается в промежутке, образованном в осевом направлении между держателем электродвигателя и посадочным гнездом держателя электродвигателя. Пружинящий элемент имеет возможность упруго деформироваться, когда держатель электродвигателя, скользя, перемещается относительно посадочного гнезда держателя электродвигателя.
Спиральная пружина, предпочтительно используемая в качестве пружинящего элемента, одной стороной крепится к держателю электродвигателя, а другой стороной – к посадочному гнезду держателя электродвигателя.
Желательно, чтобы на наружной поверхности держателя электродвигателя были сформированы выступы для прочного удержания электродвигателя.
Желательно также, чтобы в держателе электродвигателя, между корпусом электродвигателя и камерой сгорания, находился теплозащитный экранирующий элемент, например в форме диска, с целью предотвращения проникновения в двигатель нагретого газа, появляющегося в момент воспламенения, и увеличения срока службы электродвигателя.
Между внутренней поверхностью посадочного гнезда держателя электродвигателя и наружной поверхностью держателя электродвигателя предпочтительно установлен элемент с низким трением, при этом материал элемента с низким трением обладает коэффициентом трения, меньшим, чем коэффициент трения материала головки цилиндра.
Желательно, чтобы с целью рассеяния тепла держатель электродвигателя был выполнен из металла. Кроме того, держатель электродвигателя можно выполнить с охлаждающим ребром. Далее, с целью охлаждения желательно предусмотреть направляющий элемент, расположенный выше головки цилиндра, чтобы направлять поток свежего воздуха по верхней поверхности головки цилиндра, которая находится напротив элемента, направляющего поток воздуха.
Краткое описание чертежей
На прилагаемых чертежах:
фиг.1 представляет собой частичный разрез, показывающий головку цилиндра стандартной конструкции и связанные с ней элементы;
фиг.2 представляет собой вид сверху в разрезе, показывающий головку цилиндра стандартной конструкции и связанные с ней элементы;
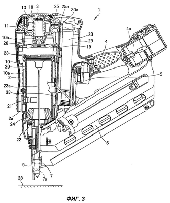
на фиг.3 в разрезе показан гвоздезабивной пистолет, приводимый в действие продуктами сгорания, соответствующий первому варианту осуществления настоящего изобретения;
на фиг.4 представлен, на виде спереди, гвоздезабивной пистолет, соответствующий первому варианту осуществления настоящего изобретения;
фиг.5 представляет собой вид сверху в разрезе, показывающий гвоздезабивной пистолет, соответствующий первому варианту осуществления настоящего изобретения;
фиг.6 представляет собой разрез плоскостью III-III (см. фиг.5), показывающий головку цилиндра и связанные с ней элементы в соответствии с первым вариантом осуществления настоящего изобретения;
фиг.7 представляет собой разрез плоскостью IV-IV (см. фиг.5), показывающий головку цилиндра и связанные с ней элементы в соответствии с первым вариантом осуществления настоящего изобретения;
на фиг.8 в разрезе представлена головка цилиндра и связанные с ней элементы в соответствии со вторым вариантом осуществления настоящего изобретения;
на фиг.9 в разрезе представлена головка цилиндра и связанные с ней элементы в соответствии с третьим вариантом осуществления настоящего изобретения;
на фиг.10 в разрезе представлена головка цилиндра и связанные с ней элементы в соответствии с четвертым вариантом осуществления настоящего изобретения;
на фиг.11 в разрезе показан гвоздезабивной пистолет, соответствующий пятому варианту осуществления настоящего изобретения;
фиг.12 представляет собой частичный вид в увеличенном масштабе гвоздезабивного пистолета по фиг.11;
на фиг.13 в разрезе представлена головка цилиндра и связанные с ней элементы в соответствии с пятым вариантом осуществления настоящего изобретения;
фиг.14 представляет собой вид сверху, показывающий защитный элемент головки в направлении D на фиг.12.
Осуществление изобретения
Механизированный инструмент, приводимый в действие продуктами сгорания, который соответствует первому варианту осуществления настоящего изобретения, будет далее описан со ссылками на фиг.3-7. Этот вариант осуществления относится к гвоздезабивному пистолету. В последующем описании термины «верхний», «нижний», «выше», «ниже», «наверх», «вниз», а также подобные им будут использоваться в предположении, что гвоздезабивной пистолет, приводимый в действие продуктами сгорания, расположен в такой ориентации, при которой гвоздь забивается в направлении вертикально вниз.
Гвоздезабивной пистолет 1, приводимый в действие продуктами сгорания и показанный на фиг.3, содержит основной корпус 2, образующий наружную обойму. Крышка 3 головки, в которой выполнено впускное отверстие 3а, установлена сверху основного корпуса 2. Рукоять 4 отходит от одной стороны основного корпуса 2. Рукоять 4 содержит спусковой рычаг 5 и вмещает в себе батарейный блок 4а, который можно снимать. На гвоздезабивном пистолете 1, приводимом в действие продуктами сгорания, на одной стороне основного корпуса 2, откуда отходит рукоять 4, имеется также корпус 29 баллончика. Газовый баллончик 30, содержащий горючий сжиженный газ, можно вставлять в корпус 29 баллончика и вынимать из него. Магазин 6, в котором размещается пакет гвоздей (не показан) располагается ниже рукояти 4.
Носовая часть 7 выступает от нижней стороны основного корпуса 2. Носовая часть 7 выполнена как одно целое с описываемым далее цилиндром 20 и имеет наконечник, который можно прижимать к заготовке 28. Конструкция носовой части 7 обеспечивает направляющую для скользящего перемещения ударника 23а, который описан далее, а также направляющую для гвоздей, забиваемых в заготовку 28. Толкающий рычаг 9 крепится к носовой части 7 и выступает от наконечника 7а носовой части 7, при этом толкающий рычаг 9 может совершать со скольжением возвратно-поступательное движение. У толкающего рычага 9 имеется верхний конец, который соприкасается с передаточным механизмом 8, прикрепленным к корпусу 10 камеры сгорания, который описывается далее. Спиральная пружина 22 сжатия, служащая в качестве смещающего элемента, расположена между передаточным механизмом 8 и цилиндром 20. Таким образом, толкающий рычаг 9, соприкасающийся с передаточным механизмом 8, поддавливается вниз за счет смещающего усилия со стороны спиральной пружины 22 сжатия.
Головка 11 цилиндра жестко прикреплена к верхней части основного корпуса 2 и, по существу, закрывает открытую верхнюю сторону основного корпуса 2. Как показано на фиг.5, электродвигатель 18 располагается с одной стороны головки 11 цилиндра, напротив камеры 26 сгорания, о чем будет сказано далее. Воспламенитель 12 располагается вблизи электродвигателя 18, и то место, где происходит зажигание, обращено в сторону камеры 26 сгорания.
Как показано на фиг.6, держатель 13 электродвигателя, служащий в качестве элемента, в котором размещается электродвигатель, имеет вид полого цилиндра и выполнен из полимерного материала, например пластмассы. Держатель 13 электродвигателя имеет отверстие, через которое выводятся наверх проводники питания электродвигателя 18. Для посадки держателя 13 электродвигателя в головке 11 цилиндра сформировано посадочное гнездо 11а держателя. Держатель 13 электродвигателя выполнен с канавкой 13а в нижней части внутренней поверхности держателя, в которую садится конец спиральной пружины 15. Посадочное гнездо 11а держателя электродвигателя также снабжено выполненной по окружности в его нижней внутренней части канавкой 11b, в которую садится другой конец спиральной пружины 15. Электродвигатель 18 вставляют в держатель 13 электродвигателя с его нижней стороны. Затем один конец спиральной пружины 15 вставляют в канавку 13а держателя 13 электродвигателя, а другой конец – в канавку 11b посадочного гнезда 11а держателя электродвигателя. Как показано на фиг.7, конец спиральной пружины 15, вставленный в канавку 11b посадочного гнезда 11а держателя электродвигателя, фиксируется винтом 32. Спиральная пружина 15, установленная между электродвигателем 18 и головкой 11 цилиндра, служит для гашения первоначального ускорения, которое может сообщаться двигателю 18.
Держатель 13 электродвигателя имеет такой размер, что его внутренний диаметр в месте сопряжения немного меньше, чем внутренний диаметр поверхности посадочного гнезда 11а держателя электродвигателя. Это позволяет держателю 13 электродвигателя со скольжением перемещаться вдоль окружающей его внутренней поверхности посадочного гнезда 11а держателя. Ударное усилие, создаваемое во время выстреливания гвоздей, передается на держатель 13 электродвигателя, перемещая держатель вперед-назад. Однако благодаря трению, которое имеет место между наружной поверхностью держателя 13 электродвигателя и внутренней поверхностью посадочного гнезда 11а держателя, электродвигатель 18 воспринимает лишь незначительный удар.
Диск 14, служащий в качестве теплозащитного экранирующего элемента, располагается в держателе 13 электродвигателя, между корпусом электродвигателя 18 и корпусом 10 камеры сгорания. Более конкретно, диск 14 выполнен с центральным отверстием, через которое проведен выходной вал 18b электродвигателя 18. Диск 14 располагается в месте, которое удалено от того конца выходного вала 18b, к которому крепится вентилятор 19. Диск 14 не дает тепловому потоку, созданному в камере 26 сгорания, пройти в электродвигатель 18 через зазор между головкой 11 цилиндра и выходным валом 18b электродвигателя.
Для определения крайней верхней точки хода корпуса 10 камеры сгорания (описывается далее), когда гвоздезабивной пистолет 1 прижат к заготовке 28, в основном корпусе 2 предусмотрен выключатель 33 (см. фиг.3). Таким образом, когда толкающий рычаг 9 поднят в определенное положение, выключатель 33 может быть приведен в состояние ВКЛЮЧЕН для того, чтобы электродвигатель 18 начал вращаться.
У головки 11 цилиндра со стороны рукояти образован канал 25 впрыска топлива, который позволяет горючему газу проходить сквозь головку. Один конец канала 25 впрыска открывается на нижней поверхности головки 11 цилиндра. Другой конец канала 25 впрыска работает в качестве соединительного участка 25а, связанного с газовым баллончиком 30.
Корпус 10 камеры сгорания устроен внутри основного корпуса 2 и может перемещаться по длине основного корпуса 2. Верхний край корпуса 10 камеры сгорания стыкуется с нижней поверхностью головки 11 цилиндра. Камера сгорания содержит камеру 10а и головную часть 10b камеры, соединенные в одно целое при помощи болта (не показан). Поскольку передаточный механизм 8 соединен с корпусом 10 камеры сгорания, корпус 10 камеры сгорания перемещается соответственно движению толкающего рычага 9. Цилиндр 20 прикреплен к основному корпусу 2. Наружная поверхность цилиндра 20 соприкасается с внутренней поверхностью корпуса 10 камеры сгорания с возможностью скольжения, причем последняя поверхность служит направляющей для движения корпуса 10 камеры сгорания. В осевом направлении цилиндр 20 имеет промежуточный участок, на котором предусмотрено выпускное отверстие 21. Для периодического закрывания выпускного отверстия 21 предусмотрен обратный клапан выходящих газов (не показан).
Как показано на фиг.3, в цилиндре 20 установлен поршень 23, который может совершать в цилиндре возвратно-поступательное движение. Поршень 23 разделяет внутренний объем цилиндра 20 на верхнюю полость над поршнем 23 и нижнюю полость под поршнем 23. Ударник 23а выступает вниз от нижней поверхности поршня 23 к носовой части 7, так что наконечник ударника 23а может наносить удар по гвоздю (не показан). Амортизатор 24, выполненный из упругого материала, такого как резина, располагается на нижней стороне цилиндра 20. Поршень 23 ударяется об амортизатор 24, когда поршень 23 совершает движение вниз в направлении нижней крайней точки.
Когда верхняя сторона корпуса 10 камеры сгорания прилегает к головке 11 цилиндра, головка 11 цилиндра, корпус 10 камеры сгорания и верхняя полость цилиндра над поршнем 23 образуют камеру 26 сгорания. Когда корпус 10 камеры сгорания отходит от головки 11 цилиндра, между головкой 11 цилиндра и верхним краем корпуса 10 камеры сгорания образуется первый газовый канал, сообщающийся с атмосферой, а между внутренней поверхностью корпуса 10 камеры сгорания и наружной поверхностью цилиндра 20 образуется второй газовый канал, сообщающийся с первым газовым каналом. У основного корпуса 2 имеется нижняя часть, в которой выполнено выпускное отверстие 2а. Первый и второй газовые каналы позволяют продуктам сгорания и свежему воздуху проходить вдоль наружной поверхности цилиндра 20 для последующего выпуска через выпускное отверстие 2а основного корпуса 2. Кроме того, для подачи свежего воздуха в камеру 26 сгорания предусмотрено вышеописанное впускное отверстие. При этом выпускное отверстие 21 выводит продукты сгорания, образующиеся в камере 26 сгорания.
Вентилятор 19 прикреплен к нижнему концу выходного вала 18b двигателя при помощи двух гаек. Вентилятор 19 расположен в камере 26 сгорания. За счет вращения вентилятора реализуются следующие три функции. Во-первых, вентилятор 19 перемешивает воздух с горючим газом, пока корпус 10 камеры сгорания остается в контакте с головкой 11 цилиндра. Во-вторых, после воспламенения газовой смеси вентилятор 19 создает вихревое движение воздушно-топливной смеси, способствуя турбулентному сгоранию воздушно-топливной смеси в камере 26 сгорания. В-третьих, вентилятор 19 осуществляет функцию очистки, удаляя отработавшие газы из камеры 26, а также производит охлаждение цилиндра 20, когда корпус 10 камеры сгорания движется от головки 11 цилиндра и когда образованы первый и второй газовые каналы.
Далее будет описана работа гвоздезабивного пистолета 1, приводимого в действие продуктами сгорания. В нерабочем состоянии гвоздезабивного пистолета 1 толкающий рычаг 9 сдвинут вниз смещающим усилием спиральной пружины 22 сжатия, так что толкающий рычаг 9 выступает от нижнего конца носовой части 7. При этом верхний край корпуса 10 камеры сгорания отодвинут от головки 11 цилиндра, потому что корпус 10 камеры сгорания связан с толкающим рычагом 9 через передаточный механизм 8. Кроме того, та часть корпуса 10 камеры сгорания, которая образует камеру 26 сгорания, также отодвинута от верхней части цилиндра 20. Следовательно, образованы первый и второй газовые каналы. В этом состоянии поршень 23 находится в крайней верхней точке цилиндра 20.
В таком состоянии гвоздезабивного пистолета 1, если работающий возьмется за рукоять 4 и нажмет толкающим рычагом 9 на заготовку 28, толкающий рычаг 9 переместится вверх навстречу смещающему усилию спиральной пружины 22 сжатия. Одновременно корпус 10 камеры сгорания, который соединен с толкающим рычагом 9 через передаточный механизм 8, также переместится вверх, закрывая первый газовый канал и герметично закрывая камеру 26 сгорания.
Соответственно движению толкающего рычага 9 газовый баллончик наклоняется в сторону головки 11 цилиндра. Таким образом, наконечник 30а впрыска газового баллончика 30 прижимается к соединительному участку 25а газового баллончика в головке 11 цилиндра. Вследствие этого происходит однократный выброс сжиженного горючего газа, содержащегося в баллончике 30, из выходного отверстия канала 25 топливного впрыска в камеру 26 сгорания.
Далее, при движении толкающего рычага 9 корпус 10 камеры сгорания достигает крайней верхней точки своего хода, и в этот момент выключатель 33 переводится в положение ВКЛЮЧЕН для подачи электрического питания на электродвигатель 18, чтобы начать вращение вентилятора 19. Вращение вентилятора 19 в камере 26 сгорания, в которой образована герметически закрытая полость, производит перемешивание введенного в камеру 26 сгорания горючего газа с воздухом. В этом состоянии, когда спусковой рычаг 5, предусмотренный на рукояти 4, переводят в положение ВКЛЮЧЕН, в воспламенителе 12 формируется искра для поджига горючего газа. В результате воспламенения в камере 26 сгорания происходит объемное расширение горючего газа, используемое для перемещения поршня 23 вниз. Ударник 23а соответственно осуществляет заколачивание гвоздя, находящегося в носовой части 7, в заготовку 28 до тех пор, пока не произойдет соударение поршня 23 с амортизатором 24.
После заколачивания гвоздя поршень 23 соударяется с амортизатором 24, и продукты сгорания выводятся из цилиндра 20 через выпускное отверстие 21 цилиндра 20. В выпускном отверстии 21 предусмотрен обратный клапан (не показан). Когда во внутренней полости цилиндра 20 и камере 26 сгорания устанавливается атмосферное давление, обратный клапан закрывается.
При воспламенении воздушно-топливной газовой смеси к вентилятору 19 прикладывается ударная нагрузка. Как следствие этого, ускорение сообщается и двигателю 18, соединенному с вентилятором 19. При ударе поршня 23 об амортизатор 24 поглощается та доля кинетической энергии поршня 23, которая превышает энергию, необходимую для заколачивания гвоздя. Ускорение, вызванное данной избыточной энергией, сообщается гвоздезабивному пистолету 1, включая электродвигатель 18. Электродвигатель 18 смонтирован на головке 11 цилиндра и удерживается в ней только при помощи упруго деформируемой пружины 15. Следовательно, несмотря на то что электродвигателю 18 сообщается большое ускорение, растяжение и сжатие пружины 15 поглощает энергию, передаваемую на электродвигатель 18. Таким образом, ударное воздействие, передаваемое на электродвигатель 18, в значительной степени уменьшается. Контакт наружной поверхности держателя 13 электродвигателя с внутренней стенкой посадочного гнезда 11а держателя электродвигателя гасит передачу ударного действия на электродвигатель 18.
В момент времени непосредственно после воспламенения продукты сгорания, все еще остающиеся в цилиндре 20 и камере 26 сгорания, имеют высокую температуру. Поглощение тепла происходит через внутренние поверхности цилиндра 20 и корпуса 10 камеры сгорания, при этом температура этих элементов также увеличивается. Поглощенное тепло высвобождается в атмосферу через наружные поверхности цилиндра 20 и корпуса 10 камеры сгорания.
Теплота сгорания горючего газа поглощается в таких элементах, как цилиндр 20, так что продукты сгорания испытывают резкое охлаждение и объем продуктов сгорания уменьшается. Таким образом, давление в герметически закрытой полости цилиндра 20 над поршнем 23 далее падает до значения меньше атмосферного давления, создавая так называемый «термический вакуум». В результате поршень 23 перемещается обратно в свое начальное верхнее положение.
Затем спусковой рычаг 5 переводят в положение ВЫКЛЮЧЕН, и работающий поднимает гвоздезабивной пистолет 1, пока толкающий рычаг 9 не отойдет от заготовки 28. В результате этого толкающий рычаг 9 и корпус 10 камеры сгорания движутся вниз за счет смещающего усилия спиральной пружины 22 сжатия. В этом случае вентилятор 19 продолжает вращаться в течение установленного периода времени, несмотря на то что спусковой рычаг 5 переведен в положение ВЫКЛЮЧЕН. Это обеспечивается устройством управления (не показано). В том состоянии, которое показано на фиг.3, на верхней стороне корпуса 10 камеры сгорания образованы первый и второй газовые каналы, так что свежий воздух поступает в камеру 26 сгорания через впускное отверстие 3а, устроенное в крышке 3 головки, а остаточные продукты сгорания удаляются через выпускное отверстие 2а за счет вращения вентилятора 19. Затем вращение вентилятора 19 останавливается, чтобы возвратить пистолет к первоначальному неподвижному состоянию. После этого может быть выполнена следующая операция заколачивания гвоздя путем повторения вышеописанного процесса.
В соответствии с описанным вариантом осуществления изобретения спиральную пружину 15 покрывают каким-либо упругим материалом, например резиной. Благодаря способности резины поглощать удар ударное действие, передаваемое на электродвигатель, можно ослабить или уменьшить, не полагаясь на трение между держателем 13 электродвигателя и посадочным гнездом 11а держателя.
Спиральную пружину можно выполнить с уменьшающимся диаметром в направлении ее нижней части. Использование спиральной пружины 15 такого вида дает возможность сократить вертикальное расстояние между держателем 13 электродвигателя и нижней частью посадочного гнезда 11а держателя и тем самым сделать гвоздезабивной пистолет 1 более компактным.
Между внутренней поверхностью посадочного гнезда 11а держателя электродвигателя и наружной поверхностью держателя 13 электродвигателя можно ввести гильзу, выполненную из полимерного материала, например из пластмассы, с целью улучшения скольжения при движении держателя 13 относительно данной гильзы. При наличии такой гильзы, которая соприкасается с держателем 13 электродвигателя, держатель 13 электродвигателя сможет двигаться возвратно-поступательно с меньшим трением. Материал гильзы выбирают среди материалов с низким коэффициентом трения.
Держатель электродвигателя, используемый в гвоздезабивном пистолете, приводимом в действие продуктами сгорания, соответствующий второму варианту осуществления изобретения, будет далее описан со ссылками на фиг.8. Фиг.8 представляет собой вертикальный разрез, показывающий держатель 13 электродвигателя и связанные с ним элементы.
Электродвигатель 18 помещен в держатель 13 электродвигателя, выполненный из материала с низким коэффициентом трения, например из пластмассы. Держатель 13 электродвигателя представляет собой полую цилиндрическую деталь, приспособленную для посадки в него электродвигателя 18. Электродвигатель 18 поддерживается держателем 13, при этом верхняя сторона электродвигателя 18 фиксируется посредством крючков 13b, предусмотренных над держателем 13 электродвигателя. Три выступа 13с, которые создают во время формовки держателя 13 электродвигателя, выдаются радиально в наружном направлении от средней части держателя 13 электродвигателя. Когда ударное воздействие передается на электродвигатель 18, выступы 13с движутся вверх и вниз, соприкасаясь при этом с внутренней стенкой посадочного гнезда 11а держателя электродвигателя, которое сформировано в головке 11 цилиндра. Трение между выступами 13с и посадочным гнездом 11а держателя электродвигателя моментально и существенным образом поглощает ударное усилие, передаваемое на электродвигатель 18.
В нижней части держателя 13 электродвигателя выполнена прорезь 13d, в которой закреплен верхний конец спиральной пружины 15. Нижний конец спиральной пружины 15 закреплен в канавке 11b, сделанной в нижней части посадочного гнезда 11а держателя электродвигателя (см. фиг.7). Спиральная пружина 15, помещенная между электродвигателем 18 и головкой 11 цилиндра, служит для гашения начального ускорения, сообщаемого электродвигателю 18.
Держатель электродвигателя, используемый в гвоздезабивном пистолете, приводимом в действие продуктами сгорания, соответствующий третьему варианту осуществления изобретения, будет описан со ссылками на фиг.9. Фиг.9 представляет собой вертикальный разрез, показывающий держатель электродвигателя и связанные с ним элементы. В третьем варианте осуществления один конец спиральной пружины 15 плотно вставлен в канавку 11b, сделанную в посадочном гнезде держателя электродвигателя, которое сформировано на головке 11 цилиндра, посредством чего держатель 13 электродвигателя поддерживается в головке 11 цилиндра. При использовании такого способа крепления головку 11 цилиндра можно легко изготовить станочной обработкой, ибо для канавки 11b, которая создается в головке 11 цилиндра, не требуется сложная форма, обеспечивающая захват пружины.
Держатель электродвигателя, используемый в гвоздезабивном пистолете, приводимом в действие продуктами сгорания, соответствующий четвертому варианту осуществления изобретения, будет описан со ссылками на фиг.10. Фиг.10 представляет собой вертикальный разрез, показывающий держатель электродвигателя и связанные с ним элементы. Четвертый вариант осуществления демонстрирует, как закрепить спиральную пружину 15 в посадочном гнезде 11а держателя электродвигателя. На верхней стороне посадочного гнезда 11а держателя электродвигателя сформирован торцевой кольцевой фиксирующий участок 11d для удержания гильзы 31. Гильза 31 имеет наружный диаметр, приблизительно равный внутреннему диаметру посадочного гнезда 11а держателя электродвигателя. Гильза 31, вставленная в посадочное гнездо 11а держателя электродвигателя, удерживает спиральную пружину 15 в посадочном гнезде 11а держателя электродвигателя. При использовании этого способа крепления можно легко осуществить сборку электродвигателя 18 со связанными с ним элементами, так как постановка гильзы 31 в посадочное гнездо 11а держателя электродвигателя дает возможность фиксировать спиральную пружину 15. Кроме того, меняя материал гильзы 31, можно регулировать трение между гильзой 31 и держателем 13 электродвигателя.
Гвоздезабивной пистолет, приводимый в действие продуктами сгорания, соответствующий пятому варианту осуществления изобретения, будет описан со ссылками на фиг.11-14. Гвоздезабивной пистолет, показанный на фиг.11-14, в основе своей имеет ту же конструкцию, что и пистолет, показанный на фиг.3-7, но отличается материалом и формой держателя 13 электродвигателя.
Держатель 13 электродвигателя в соответствии с пятым вариантом осуществления изобретения изготовляется из металла, например алюминия. На металлический держатель 13 электродвигателя возлагается роль элемента, рассеивающего теплоту сгорания, вырабатываемую во время выстреливания гвоздей, а также теплоту, создаваемую в двигателе 18. Как показано на фиг.13, электродвигатель 18 вставляют с верхней стороны держателя 13 электродвигателя и фиксируют в держателе при помощи штифта 49 так, чтобы получилось неразборное соединение. Один конец спиральной пружины 15 вставляют в канавку 13а, выполненную в нижней части держателя 13 электродвигателя, и фиксируют там. Другой конец спиральной пружины 15 вставляют в канавку 11b, выполненную в посадочном гнезде 11а держателя электродвигателя, и фиксируют там винтом 32.
Фиг.11 изображает гвоздезабивной пистолет 1 в начальном состоянии, когда он еще не был приведен в действие. Движение воздуха или движение продуктов сгорания во время удаления отработавших газов создается вентилятором 19. Воздух поступает во впускное отверстие 3а с верхней стороны крышки 3 головки, проходит через первый газовый канал 41, а затем поступает в камеру 26 сгорания через вентилятор 19. Продукты сгорания, остающиеся в камере 26 сгорания, выводятся из камеры 26 сгорания, проходят через второй газовый канал 42, проходят по наружной стороне цилиндра 20 и выпускаются из основного корпуса 2 через выпускное отверстие 2а, сформированное в нижней части основного корпуса 2.
Электродвигатель 18, предназначенный для вращения вентилятора 19, помещен в держатель 13 электродвигателя, выполненный из металла, например алюминия. Держатель 13 электродвигателя и посадочное гнездо 11а держателя электродвигателя, сформированное в головке 11 цилиндра, связаны между собой посредством упруго деформируемой спиральной пружины 15, которая установлена между ними. Спиральная пружина 15 служит для предотвращения прямой передачи на электродвигатель 18 ударных усилий, возникающих во время выстреливания гвоздей.
Металлический держатель 13 электродвигателя эффективно рассеивает теплоту, вырабатываемую во время работы гвоздезабивного пистолета, и теплоту, вырабатываемую в электродвигателе 18, тем самым ослабляя рост температуры электродвигателя 18. Кроме того, для улучшения рассеивания тепла на наружной поверхности держателя 13 электродвигателя выполнены охлаждающие ребра 13е.
Фиг.12 представляет собой разрез, показывающий верхнюю часть гвоздезабивного пистолета 1, причем относительно положения, показанного на фиг.11, здесь гвоздезабивной пистолет 1 развернут на 90° вокруг оси выходного вала электродвигателя. Внутри крышки 3 головки предусмотрен защитный элемент 44 головки. Фиг.14 изображает защитный элемент 44 головки (вид в направлении D на фиг.12). Защитный элемент 44 головки имеет, по существу, коническую форму и выполнен из пластмассы. Он включает в себя газопропускающую часть 44с и направляющую часть 44b. В газопропускающей части 44с выполнено множество продувочных отверстий 44а, позволяющих воздуху проходить через защитный элемент во время удаления отработавших газов. Направляющая часть 44b – это такая часть, где не сформировано никаких продувочных отверстий 44а.
Когда вентилятор 19 вращается для создания воздушного течения, воздух засасывается через впускное отверстие 3а, выполненное в крышке 3 головки 11 цилиндра. Втянутый таким образом воздух поступает в отверстие 11е головки 11 цилиндра через продувочные отверстия 44а, сделанные в защитном элементе 44 головки. Если продувочные отверстия 44а расположить непосредственно над отверстием 11а головки 11 цилиндра, то воздух будет течь вертикально вниз. Однако, поскольку непосредственно над отверстием 11а головки 11 цилиндра расположена направляющая часть 44b, воздух, всасываемый через впускное отверстие 3а, поступает в отверстие 11е головки 11 цилиндра, обтекая при этом держатель 13 электродвигателя. В соответствии с этим, если предусматривается установка защитного элемента 44 головки, то можно эффективно осуществлять охлаждение держателя 13 электродвигателя.
В вышеописанной конструкции, как показано на фиг.12, течение воздуха во время удаления отработавших газов таково, что воздух, втянутый через впускное отверстие 3а и направленный направляющей частью 44b, в которой не предусмотрено никаких продувочных отверстий 44а, обтекает охлаждающие ребра 13е, выполненные в верхней части держателя 13 электродвигателя, и затем вводится в камеру 26 сгорания. По существу, свежий воздух обтекает верхнюю часть держателя 13 электродвигателя, в силу чего рост температуры электродвигателя 18 может быть еще более ослаблен.
Хотя настоящее изобретение было подробно описано на примерах конкретных вариантов осуществления, для специалистов в данной области будет понятно, что в форму и детали осуществления изобретения могут быть внесены изменения, не выходящие за границы идеи и объема изобретения.
Формула изобретения
1. Механизированный инструмент для заколачивания крепежных элементов, приводимый в действие продуктами сгорания и содержащий основной корпус, головку цилиндра, расположенную вблизи одной стороны основного корпуса и выполненную с отверстием для впрыска топлива и впускным отверстием для воздуха, цилиндр, прикрепленный к внутренней части основного корпуса, поршень, расположенный в цилиндре с возможностью возвратно-поступательного движения в направлении оси цилиндра, при этом поршень разделяет цилиндр на верхнюю полость цилиндра над поршнем и нижнюю полость цилиндра под поршнем, ударник, соединенный с поршнем для перемещения совместно с поршнем, корпус камеры сгорания, установленный в основном корпусе с возможностью перемещения и имеющий одну сторону, которая имеет возможность прилегать к головке цилиндра и отходить от нее, при этом корпус камеры сгорания, головка цилиндра и поршень в комплексе образуют камеру сгорания, вентилятор, расположенный в камере сгорания, электродвигатель, имеющий корпус и выходной вал, соединенный с вентилятором, держатель электродвигателя, который вмещает в себя электродвигатель, при этом головка цилиндра выполнена с посадочным гнездом держателя электродвигателя, в котором размещен держатель электродвигателя с возможностью перемещения со скольжением, и пружинящий элемент, расположенный в промежутке, образованном в осевом направлении между держателем электродвигателя и посадочным гнездом держателя электродвигателя, при этом пружинящий элемент выполнен с возможностью упругой деформации при перемещении держателя электродвигателя со скольжением относительно посадочного гнезда держателя электродвигателя.
2. Механизированный инструмент по п.1, отличающийся тем, что пружинящий элемент содержит спиральную пружину, один конец которой закреплен в держателе электродвигателя, а другой конец – в посадочном гнезде держателя электродвигателя.
3. Механизированный инструмент по п.2, отличающийся тем, что содержит фиксирующий элемент, неподвижно крепящий другой конец спиральной пружины в посадочном гнезде держателя электродвигателя.
4. Механизированный инструмент по п.3, отличающийся тем, что фиксирующий элемент содержит винт.
5. Механизированный инструмент по п.3, отличающийся тем, что фиксирующий элемент содержит гильзу, которая помещена между держателем электродвигателя и посадочным гнездом держателя электродвигателя, причем у гильзы имеется торцевая поверхность, прижимающая другой конец спиральной пружины к посадочному гнезду держателя электродвигателя.
6. Механизированный инструмент по п.1, отличающийся тем, что держатель электродвигателя имеет наружную поверхность, снабженную выступами.
7. Механизированный инструмент по п.1, отличающийся тем, что дополнительно содержит теплозащитный экранирующий элемент, установленный в держателе электродвигателя между корпусом электродвигателя и камерой сгорания.
8. Механизированный инструмент по п.7, отличающийся тем, что теплозащитный экранирующий элемент состоит из диска с отверстием, через которое проведен выходной вал электродвигателя.
9. Механизированный инструмент по п.1, отличающийся тем, что дополнительно содержит элемент с низким трением, помещенный между внутренней поверхностью посадочного гнезда держателя электродвигателя и наружной поверхностью держателя электродвигателя, причем материал указанного элемента с низким трением имеет коэффициент трения меньший, чем коэффициент трения материала головки цилиндра.
10. Механизированный инструмент по п.1, отличающийся тем, что держатель электродвигателя выполнен из металла.
11. Механизированный инструмент по п.1, отличающийся тем, что держатель электродвигателя выполнен с охлаждающим ребром.
12. Механизированный инструмент по п.1, отличающийся тем, что дополнительно содержит направляющий элемент для воздушного потока, расположенный над головкой цилиндра для направления потока свежего воздуха по поверхности головки цилиндра, находящейся напротив указанного направляющего элемента.
13. Механизированный инструмент для заколачивания крепежных элементов, приводимый в действие продуктами сгорания и содержащий основной корпус, головку цилиндра, расположенную вблизи одной стороны основного корпуса, цилиндр, установленный внутри основного корпуса, поршень, расположенный в цилиндре с возможностью скольжения, при этом поршень разделяет цилиндр на верхнюю полость цилиндра над поршнем и нижнюю полость цилиндра под поршнем, ударник, соединенный с поршнем, корпус камеры сгорания, установленный в основном корпусе, вентилятор, расположенный в камере сгорания, электродвигатель, имеющий выходной вал, соединенный с вентилятором, держатель электродвигателя, который вмещает в себя электродвигатель, при этом головка цилиндра выполнена с посадочным гнездом держателя электродвигателя, в котором размещен держатель электродвигателя с возможностью перемещения со скольжением, и пружинящий элемент, расположенный в промежутке, образованном между держателем электродвигателя и посадочным гнездом держателя электродвигателя.
Приоритет по пунктам:
19.04.2004 по пп.1-9 и 13;
18.02.2005 по пп.10-12.
РИСУНКИ
|
|