|
|
(21), (22) Заявка: 2005110362/02, 11.04.2005
(24) Дата начала отсчета срока действия патента:
11.04.2005
(46) Опубликовано: 20.03.2007
(56) Список документов, цитированных в отчете о поиске:
SU 468758 A1, 07.01.1976. RU 2155659 C1, 10.09.2000. SU 152612 A1, 01.01.1963. SU 319434 A1, 10.01.1972. US 4214363 A, 29.07.1980. DE 2245024 A, 22.05.1974.
Адрес для переписки:
115580, Москва, Задонский пр., 16-2-433, пат.пов. А.Ф.Родионову, рег.№343
|
(72) Автор(ы):
Марин Владимир Михайлович (RU), Рябов Валентин Николаевич (RU), Яковлев Евгений Васильевич (RU), Плясов Валерий Иванович (RU), Выборнов Николай Николаевич (RU)
(73) Патентообладатель(и):
Закрытое акционерное общество “Научно-производственное объединение “РОСТЕХМАШ” (RU)
|
(54) ПРЕСС ДЛЯ РАСФОРМИРОВАНИЯ И ФОРМИРОВАНИЯ КОЛЕСНЫХ ПАР
(57) Реферат:
Изобретение относится к области железнодорожного машиностроения и может быть использовано при ремонте путевых машин. Устройство содержит силовую раму в виде основания и двух стоек, соединенных между собой двумя колоннами, рабочий цилиндр, смонтированный на одной из стоек, и силовую и опорную траверсы с роликами. Силовая и опорная траверсы расположены между стойками пресса и установлены с возможностью перемещения на роликах по колоннам силовой рамы. Силовая траверса установлена с возможностью фиксирования на колонах. В результате расширяются технологические возможности, повышается качество формирования колесных пар и упрощается конструкция пресса. 5 з.п. ф-лы, 4 ил.
Предлагаемое изобретение относится к железнодорожному машиностроению при ремонте путевых машин и может быть использовано в других отраслях народного хозяйства.
Известен пресс для демонтажа колесных пар, содержащий симметрично смонтированные на станине силовые цилиндры с плунжерами и механизмы установки и зажима демонтируемых деталей (Авт. свид 565803 по кл. В 23 Р 19/027, 1976 г.).
Недостатком известного пресса является то, что он не может быть использован для расформирования и формирования приводных колесных пар путевых машин, дрезин, автомотрис и мотовозов, так как в проеме его опорного блока невозможно разместить такие элементы колесных пар, как, например, приводные шестерни.
Кроме того, этот пресс имеет достаточно сложную конструкцию, поскольку содержит дополнительные гидроприводы возврата плунжеров силовых цилиндров в исходное положение, а также гидрозахваты с автономными гидроприводами для удержания колес при распрессовке.
Наиболее близким техническим решением к предлагаемому является пресс для расформирования и формирования колесных пар преимущественно путевых машин, содержащий силовую раму в виде основания и двух стоек, соединенных между собой двумя колонами, и рабочий цилиндр, смонтированный на одной из стоек, и силовую траверсу с роликами, расположенную между стойками пресса и установленную с возможностью перемещения на роликах по колоннам и фиксирования на них (Авт. свид 468758 по кл. В 23 Р 19/02, 1976 г.).
Недостаток указанного пресса состоит в том, что на нем невозможно осуществлять расформирование колесных пар из-за отсутствия опорного блока, являющегося упором для ступицы распрессовываемого колеса.
Кроме того, наличие возвратных цилиндров, обеспечивающих возврат плунжера рабочего цилиндра в исходное положение через промежуточную траверсу, значительно усложняет конструкцию пресса.
Цель заявляемого изобретения – расширение технологических возможностей, повышение качества формирования колесных пар и упрощение конструкции пресса.
Указанная цель достигается тем, что пресс для расформирования и формирования колесных пар, преимущественно путевых машин, содержащий силовую раму, состоящую из основания, двух стоек, соединенных между собой двумя колонами, и рабочий цилиндр, смонтированный на одной из стоек, снабжен силовой и опорной траверсами и роликами, причем траверсы расположены между стойками пресса, установлены с возможностью перемещения на роликах по колоннам силовой рамы и выполнены в виде прямоугольных треугольников со сквозными отверстиями в их острых углах, причем в средней части гипотенузы каждой траверсы выполнены соосные пазы для расположения в них оси колесной пары.
Кроме этого, ось паза траверсы пересекает линию, соединяющую центры сквозных отверстий, выполненных в углах траверс, силовая траверса выполнена с пальцами, а колонны с отверстиями, в которые входят пальцы. Также силовая траверса выполнена со ступенчатым проемом, предназначенным для размещения приводной шестерни путевой машины, а рабочий цилиндр выполнен с герметичной полостью, предназначенной для возврата плунжера рабочего цилиндра в исходное положение.
Заявляемый пресс для расформирования и формирования колесных пар поясняется чертежами, где:
на фиг.1 изображен общий вид пресса; на фиг.2 – вид А фиг.1;
на фиг.3 – разрез Б-Б фиг.1; на фиг.4 – разрез В-В фиг.3.
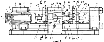
Пресс для расформирования и формирования колесных пар содержит силовую раму, состоящую из основания 1 (фиг.1), левой 2 и правой 3 стоек, соединенных между собой двумя горизонтальными колоннами 4 и 5.
На левой стойке 2 смонтирован рабочий цилиндр 6 с поршнем 7 и штоком 8, внутри которого выполнена цилиндрическая проточка 9, предназначенная для расположения в ней насадки 10, надеваемой на хвостовик 11 оси 12 колесной пары 13 и прилив 14, служащий посадочным местом для колес 15.
Между левой 2 и правой 3 стойками пресса расположены силовая 16 и опорная 17 траверсы, которые снабжены роликами 18-29, охватывающими и опирающимися на колонны 4 и 5, вследствие чего траверсы 16 и 17 свободно перемещаются по колоннам 4 и 5 вдоль оси пресса. Траверсы 16 и 17 выполнены в виде прямоугольных треугольников со сквозными отверстиями 30 и 31 (фиг.3) в их острых углах, а в средних частях каждой гипотенузы выполнены пазы 32 и 33 (фиг.3 и 4) для расположения в них оси 12 колесной пары 13. Пазы 32 и 33 траверс пересекают линию, соединяющую центры сквозных отверстий 30 и 31, выполненных в углах траверс 16 и 17. Силовая траверса выполнена с пальцами 34 и 35, а колонны с отверстиями 36 и 37, в которые входят пальцы. Силовая траверса также выполнена со ступенчатым проемом 38 (фиг.4), предназначенным для размещения в нем приводной шестерни 39 путевой машины, например дрезин, автомотрис и мотовозов. Между наружной поверхностью штока 8 и внутренней поверхностью рабочего цилиндра 6 расположена герметичная полость 40, предназначенная для возврата штока рабочего цилиндра в исходное положение.
Правая стойка 3 в центральной части выполнена с цилиндрическим углублением 41, в которое входит другой (правый) хвостовик 42 оси 12 колесной пары 13.
Силовая траверса 16 при расформировании колесной пары фиксируется на колоннах 4 и 5 пальцами 34 и 35, устанавливаемыми в совмещенные отверстия траверсы и колонн 36 и 37.
Привод рабочего цилиндра пресса гидравлический, а гидравлическая и электрическая схемы пресса обеспечивают возможность ускоренного подвода штока к изделию, переключение на рабочий ход с заданной скоростью и ускоренный его возврат в исходное положение в автоматическом и наладочном режимах.
Качество прессового соединения колеса с осью оценивается по диаграмме запрессовки, для чего на прессе предусмотрен прибор для записи диаграммы «давление-путь».
В режиме формирования дополнительно к установленному прибору (давление-путь) установлен электронный, например, цифровой датчик давления (на чертеже условно не показанный). Выход датчика подключен к компьютеру (промышленному ноутбуку). На экране компьютера в реальном масштабе времени отображается диаграмма «давление-путь» в необходимом масштабе для визуального контроля.
В ручном режиме работы пресса формирование и расформирование начинаются после нажатия на кнопку «Пуск». Заканчивается работа по команде «Стоп», которую выдает конечный выключатель (электронный), ограничивающий движение сформированного (расформированного) колеса на нужном расстоянии с точностью не менее ±0,5 мм.
В автоматическом режиме работы пресса расформирование и формирование начинается с помощью кнопки «Пуск», а заканчивается работа по команде «Стоп», которую выдает компьютер, если:
– пройден заранее установленный путь при условии, что вычисленная производная давления от пути не приняла значение меньшее или равное нулю;
– вычисленная производная давления от пути приняла значение, равное нулю на время большее, чем заданный интервал времени; при этом выдается команда «возврат быстрым ходом в исходное положение»;
Пресс работает следующим образом.
В режиме расформирования колесную пару 13 устанавливают в пазы 32 и 33 силовой 16 и опорной 17 траверс. Силовая траверса 16 фиксируется на колоннах 4 и 5 с помощью пальцев 34 и 35, устанавливаемых в совмещенные отверстия траверсы и отверстия 36 и 37 колонн 4 и 5.
На пульте управления, установленном на левой стойке, включается соответствующий режим работы пресса. При нажатии на кнопку «Пуск» насосная станция подает масло в поршневую полость рабочего цилиндра 6, шток 8 которого перемещается вправо и толкает через насадку 10 хвостовик 11 оси 12 колесной пары 13. При дальнейшем перемещении штока последний осуществляет распрессовку левого колеса. Затем колесную пару 13 краном-балкой (на чертеже условно не показан) разворачивают на 180 градусов и производят аналогичным способом распрессовку второго (правого) колеса. В режиме формирования предварительно собранную колесную пару подают на пресс для окончательного формирования, устанавливая ее в пазы 32 и 33 силовой 16 и опорной 17 траверс. Силовую траверсу 16 расфиксируют относительно колонн 4 и 5. Запрессовка колес происходит последовательно в два перехода: при первом переходе (ось-колесо) колесо 12 запресовывают в правое колесо колесной пары 13. При этом шток 8, перемещаясь вправо, через насадку 10 воздействует на ось 12, вследствие чего колесная пара 13 с силовой 16 и опорной 17 траверсами свободно перемещаются по колоннам пресса вправо. После того, как правое колесо 15 колесной пары 13 упрется в опору правой стойки 3, ось 12, продолжая перемещаться вправо под воздействием штока 8, напрессовывается на правое колесо колесной пары 13. По окончании запрессовки шток 8 гидроцилиндра 6 возвращают в исходное положение, колесную пару смещают влево, выводя правый хвостовик 42 оси 12 из цилиндрического углубления 41 правой стойки 3. Затем это углубление перекрывают откидным упором, а цилиндрическая проточка 9 штока 8 освобождается от насадки 10. После этого гидроцилиндр повторно включают на рабочий ход, его шток 8, перемещаясь вправо, воздействует теперь уже на ступицу левого колеса 15 колесной пары 13 и перемещает последнюю до упора ее оси 12 в откидной упор правой стойки 3. При этом шток гидроцилиндра, продолжая движение вправо, напрессовывает левое колесо на ось 12 колесной пары 13 (переход «колесо-ось»).
Конечные положения элементов колесной пары на оси фиксируют с помощью микропереключателей и датчиков (на чертеже условно не показаны), обеспечивающих отключение подачи масла в рабочий цилиндр.
Конструкцией пресса предусмотрена возможность ускоренного подвода штока к изделию, при этом начало перехода на рабочий ход с заданной скоростью и ускоренный обратный ход могут задаваться как по пройденному пути, так и по изменению давления в гидросистеме.
Использование предложенной конструкции пресса позволяет осуществлять расформирование и формирование приводных колесных пар путевых машин, дрезин, автомотрис и мотовозов, что расширяет технологические возможности пресса, а отсутствие дополнительных гидроприводов возврата штока рабочего цилиндра в исходное положение упрощает его конструкцию.
Формула изобретения
1. Пресс для расформирования и формирования колесных пар, преимущественно путевых машин, содержащий силовую раму в виде основания и двух стоек, соединенных между собой двумя колоннами, рабочий цилиндр, смонтированный на одной из стоек, и силовую траверсу с роликами, расположенную между стойками пресса и установленную с возможностью перемещения на роликах по колоннам и фиксирования на них, отличающийся тем, что он снабжен опорной траверсой с роликами, расположенной между стойками пресса и установленной с возможностью перемещения на роликах по колоннам силовой рамы.
2. Пресс по п.1, отличающийся тем, что силовая и опорная траверсы выполнены в форме прямоугольных треугольников со сквозными отверстиями в их острых углах, а в средней части гипотенузы упомянутых треугольников выполнены пазы для установки в них колесной пары.
3. Пресс по п.2, отличающийся тем, что пазы силовой и опорной траверс выполнены из условия пересечения ими линии, соединяющей центры сквозных отверстий.
4. Пресс по п.1, отличающийся тем, что силовая траверса снабжена пальцами для фиксирования ее на колоннах, а последние выполнены с отверстиями для размещения в них упомянутых пальцев.
5. Пресс по п.1, отличающийся тем, что силовая траверса выполнена со ступенчатым проемом для размещения приводной шестерни путевой машины.
6. Пресс по п.1, отличающийся тем, что рабочий цилиндр выполнен с герметичной полостью для возврата штока рабочего цилиндра в исходное положение.
РИСУНКИ
MM4A – Досрочное прекращение действия патента СССР или патента Российской Федерации на изобретение из-за неуплаты в установленный срок пошлины за поддержание патента в силе
Дата прекращения действия патента: 12.04.2007
Извещение опубликовано: 20.07.2008 БИ: 20/2008
|
|