|
(21), (22) Заявка: 2004108693/02, 16.08.2002
(24) Дата начала отсчета срока действия патента:
16.08.2002
(30) Конвенционный приоритет:
24.08.2001 DE 10141567.2
(43) Дата публикации заявки: 10.06.2005
(46) Опубликовано: 20.03.2007
(56) Список документов, цитированных в отчете о поиске:
US 3527425 A, 08.09.1970. JP 2000074051 А, 07.03.2000. WO 0164364 A1, 07.09.2001. SU 1809817 A3, 15.04.1993.
(85) Дата перевода заявки PCT на национальную фазу:
24.03.2004
(86) Заявка PCT:
EP 02/09193 (16.08.2002)
(87) Публикация PCT:
WO 03/022477 (20.03.2003)
Адрес для переписки:
129010, Москва, ул. Б.Спасская, 25, стр.3, ООО “Юридическая фирма Городисский и Партнеры”, пат.пов. Е.И.Емельянову
|
(72) Автор(ы):
ЛЯЙСТЕН Винфрид (DE)
(73) Патентообладатель(и):
СМС ДЕМАГ АКЦИЕНГЕЗЕЛЛЬШАФТ (DE)
|
(54) МОТАЛКА ДЛЯ МЕТАЛЛИЧЕСКИХ ПОЛОС, В ЧАСТНОСТИ СТАЛЬНЫХ ПОЛОС
(57) Реферат:
Изобретение относится к моталке для металлических полос, в частности стальных полос. Моталка содержит намоточный барабан, установленный с возможностью вращения в своих опорах, вокруг опоры намоточного барабана на наружном кольце вращательной опоры выполнен кольцевой зазор, при этом наружное кольцо вращательной опоры установлено с возможностью центрирования посредством замыкаемых внутрь зажимных элементов и при введенном намоточном барабане или с возможностью свободного движения внутри кольцевого зазора при отведенных наружу зажимных элементах. Изобретение обеспечивает надежное поворачивание, захват, центрирование и опирание намоточного барабана. 12 з.п. ф-лы, 6 ил.
Изобретение относится к моталке для металлических полос, в частности стальных полос, содержащей намоточный барабан, установленный с возможностью вращения в своих опорах.
Известные наружные опоры моталок в виде поворотных ворот не могут с надежной воспроизводимостью центрировать конец намоточного барабана, поскольку конец намоточного барабана изменяет свое положение относительно теоретической оси намоточного барабана. Неблагоприятные передаточные отношения рычага и принцип поворачивающихся друг к другу конусов (деталь на сферическом самоустанавливающемся роликоподшипнике) часто не позволяют полностью повернуть традиционные наружные опоры намоточного барабана, конец намоточного барабана из-за этого надежно не захватывается и вращение намоточного барабана неспокойное. В результате возникают технические и технологические проблемы при прокатке. Конец намоточного барабана может покинуть свое теоретическое положение относительно оси намоточного барабана за счет нагрузки на намоточный барабан (вес рулона, натяжение полосы) или за счет износа, или повреждения намоточного барабана и его опоры.
Из US 3527425 известна опора намоточного барабана без поворотных ворот. Подшипник качения своим наружным кольцом прочно вставлен в опорный кронштейн. Для ослабления натяга всего опорного кронштейна к неподвижному упору, лежащему на противоположной стороне, предусмотрен расширяющийся снизу под углом вверх к опорному кронштейну клин, который может быть возвратно-поступательно перемещен посредством цилиндро-поршневого блока. После отвода клина этим цилиндро-поршневым блоком привод смещения, лежащий на противоположной клину опорной стороне, выдвигает намоточный барабан из центрального отверстия рулона. За счет этого, однако, намоточный барабан не может быть надежно повернут, захвачен, центрирован и оперт.
Из JP-А-2000074051 также не известны поворотные ворота для опоры намоточного барабана. Речь идет скорее о двухрядном коническом роликоподшипнике (подшипнике качения), одно наружное кольцо которого прочно удерживается в корпусе подшипника, а второе наружное кольцо установлено с зазором. Воздействие на второе наружное кольцо с зазором может происходить в осевом направлении посредством одного или нескольких установочных винтов. За счет этого, однако, соответствующее наружное кольцо смещается только к соответствующему ряду конических роликов, с тем чтобы воздействовать на зазор.
В основе изобретения лежит задача предложения мер по более надежному поворачиванию поворотных ворот, захвату, центрированию и опиранию намоточного барабана.
Поставленная задача решается согласно изобретению за счет того, что опора намоточного барабана окружена на наружном кольце вращательной опоры кольцевым зазором и что наружное кольцо вращательной опоры установлено с возможностью центрирования посредством замыкаемых внутрь зажимных элементов и при введенном намоточном барабане или с возможностью свободного движения внутри кольцевого зазора при отведенных наружу зажимных элементах. За счет этого конец намоточного барабана может быть надежно введен в опору намоточного барабана, центрирован и оперт для работы. Зажатия конца намоточного барабана не происходит; предусмотрена осевая подвижность. Изгиб намоточного барабана должен учитывать форму опоры на конце намоточного барабана.
В усовершенствование изобретения предусмотрено, что кольцевой зазор настроен на отклонение от положения намоточного барабана, по меньшей мере, на 10 мм. Наружное кольцо вращательной опоры приобретает за счет этого достаточную свободу движения при вводе намоточного барабана.
Конструктивное выполнение предусматривает, что в образованном и закрепленном на опорном кронштейне опорном кольце с возможностью вращения размещено внутреннее кольцо, в котором расположены срабатывающие за счет вращения зажимные элементы.
Передача усилия привода вращения выполнена таким образом, что внутреннее кольцо установлено с возможностью вращательного перемещения посредством расположенного вне опорного кольца цилиндро-поршневого привода, который шарнирно соединен на расстоянии рычага от теоретического центра намоточного барабана.
Другие выполнения состоят в том, что цилиндро-поршневой привод установлен с возможностью перемещения из открытого положения, в котором шарнир для поршневого штока лежит в одной горизонтальной плоскости с теоретическим центром намоточного барабана, в закрытое положение ниже горизонтальной плоскости с теоретическим центром намоточного барабана, причем корпус цилиндро-поршневого привода шарнирно соединен с опорным кронштейном. За счет этого могут совершаться движения поворота с боковой составляющей.
В усовершенствование изобретения предложено предусмотреть во внутреннем кольце распределенные по окружности, каждая приблизительно по касательной к наружному кольцу вращательной опоры, управляющие поверхности для центрируемого намоточного барабана, к которому со скольжением прилегают зажимные элементы. Преимуществом является лишенная зазора передача зажимного усилия.
Зажимные элементы установлены с возможностью принудительного перемещения как для замыкания, так и для размыкания. За счет этого с высокой точностью достигаются начальные и конечные положения.
Другое выполнение обеспечивается за счет того, что каждый зажимной элемент состоит из зажимного сухаря, установленного с возможностью движения со скольжением по соответствующей управляющей поверхности.
Предпочтительно, кроме того, между внутренним кольцом и ползуном образовать механическую упорную поверхность.
Другое преимущество следует из того, что один участок управляющих поверхностей состоит соответственно из ползуна, закрепленного на опорном кольце. За счет этого образуется заменяемая при износе поверхность скольжения для зажимного сухаря.
Далее предпочтительно, чтобы зажимной сухарь, будучи обращен к центру, был пригнан к радиусу наружного кольца вращательной опоры. В соответствии с этим опорные усилия могут передаваться на наружное кольцо подшипника качения.
Предпочтительная установка ползуна в его практическое положение достигается за счет того, что зажимной сухарь соответственно посредством оси вращения, которая проходит через зажимной сухарь и заканчивается снаружи на жестко закрепленном опорном кольце, установлен в накладках с обеих сторон. Накладки вызывают принудительный возврат зажимных сухарей и их удаление от оси намоточного барабана в положение в соответствии с положением внутреннего кольца или полностью предотвращают выпадение верхнего зажимного сухаря.
Другое выполнение предусматривает, что опорное кольцо в опорном кронштейне выполнено в виде сменной кассеты. Кассета может сохраняться в виде запчасти, и производство значительно упрощается.
Пример выполнения изобретения более подробно поясняется ниже и изображен на чертеже, на котором представляют:
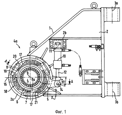
– фиг. 1: вид спереди поворотных ворот с опорой намоточного барабана;
– фиг. 2: разрез А-А по фиг. 1;
– фиг. 3: фрагмент фиг. 1 в качестве вида открытой опоры намоточного барабана;
– фиг. 4: фрагмент, как на фиг. 3, с предположением, что намоточный барабан примерно на 10 мм провис бы, и при закрытой опоре намоточного барабана;
– фиг. 5: увеличенный частичный разрез зажимного сухаря с ползуном;
– фиг. 6: вид сменной кассеты.
Поворотные ворота 1 предусмотрены для моталки для металлических полос, в частности стальных полос, наматываемых на намоточный барабан 4. Опорный кронштейн 2 состоит из сварной конструкции, например из полос и ребер 2b. Эта сварная конструкция включает в себя опорное кольцо 2а, в котором размещена опора 4а намоточного барабана.
Поворотные ворота 1 установлены с возможностью поворота вокруг поворотных опор 3а, 3b, причем намоточный барабан 4 может отклоняться от теоретического центра 9 так, чтобы ввод конца намоточного барабана в его опору 4а был бы невозможен или возможен с трудностями.
Ввод конца намоточного барабана обеспечивается за счет того, что опора 4а намоточного барабана окружена на наружном кольце 6 вращательной опоры кольцевым зазором 7. Наружное кольцо 6 вращательной опоры при отведенных наружу зажимных элементах 8 может свободно двигаться внутри кольцевого зазора 7, пока намоточный барабан 4 не найдет свою опору 4а. После этого наружное кольцо 6 вращательной опоры центрируют и опирают посредством замыкаемых внутрь зажимных элементов 8 при введенном намоточном барабане 4. При этом кольцевой зазор 7 рассчитан на отклонение положения намоточного барабана 4, по меньшей мере, на 10 мм.
Для выполнения зажимных элементов 8 возможны различные формы. Одна предпочтительная форма выполнения (фиг. 1) предусматривает образованное на опорном кронштейне 2, жестко соединенное со сварной конструкцией опорное кольцо 2а, в котором с возможностью вращения размещено внутреннее кольцо 5. Во внутреннем кольце 5 установлены перемещаемые путем вращения зажимные элементы 8. На внутреннем кольце 5 закреплен рычаг, который через вырез опорного кольца 2а проходит радиально наружу. На расстоянии рычага от теоретического центра 9 намоточного барабана вне опорного кольца 2а шарнирно установлен цилиндро-поршневой привод 10. Поршневой шток 12 закреплен на внутреннем кольце 5, причем внутреннее кольцо 5 образует параллельные направляющие 25 для зажимных сухарей 8а. В показанном на фиг. 3 открытом положении 13 шарнир 14 лежит в горизонтальной плоскости 15, в которой лежит также теоретический центр 9 намоточного барабана. Цилиндро-поршневой привод 10 перемещает внутреннее кольцо 5 с зажимными элементами 8 в закрытое положение 16, показанное на фиг. 4. Закрытое положение 16 определяется механической упорной поверхностью 20а между внутренним кольцом 5 и ползуном 20. При этом шарнир 14, как показано, оказывается примерно на 15о ниже горизонтальной плоскости 15, в которой лежит теоретический центр 9 намоточного барабана. Для того чтобы последовать за этим движением, корпус 11 цилиндро-поршневого привода 10 шарнирно установлен на опорном кронштейне 2, прилегая к ребрам 2b.
Шарнирное соединение поршневого штока 12 происходит посредством изображенной вильчатой головки.
Функции внутреннего кольца 5 при этом следующие.
Во внутреннем кольце 5 предусмотрены, например, три распределенные с промежутками в 120о управляющие поверхности 17, каждая приблизительно по касательной к наружному кольцу 6 вращательной опоры для центрируемого намоточного барабана 4. К этим управляющим поверхностям 17 со скольжением прилегают зажимные элементы 8. В этом примере выполнения зажимные элементы 8 принудительно направлены как для закрывания, так и для открывания опоры 4а намоточного барабана.
Зажимной элемент 8 образован зажимным сухарем 8а, который движется со скольжением по управляющей поверхности 17 на ползуне 20. Участок 19 управляющей поверхности 17 образован ползуном 20, закрепленным на внутреннем кольце 5. Ползун 20 обращен к центру 9, пригнан к радиусу наружного кольца 6 вращательной опоры, которое замыкает конический подшипник 6а качения. Зажимной сухарь 8а посредством оси 21 вращения, которая проходит через зажимной сухарь 8а и заканчивается снаружи на жестко закрепленном опорном кольце 2а, установлена с возможностью поворота в накладках 22 с обеих сторон (фиг. 2). На фиг. 3, кроме того, показан широкий шлиц 23, который учитывает накладывающиеся друг на друга радиальные и тангенциальные движения зажимного сухаря 8а.
На фиг. 5 в увеличенном изображении видно, что упорная поверхность 20а, поверхность 20b скольжения и направляющая поверхность 20с важны для описанных функций. Механическая упорная поверхность 20а между внутренним кольцом 5 и ползуном 20 однозначно устанавливает конечное положение зажимных элементов 8 и предотвращает их заклинивание.
На фиг. 6 изображена альтернативная форма выполнения в остальном такой же конструкции. Опорное кольцо 2а может быть выполнено в опорном кронштейне 2 в виде сменной в комплекте кассеты 24, благодаря чему возникает накапливаемая запчасть и значительно упрощается сборка. Кассета 24 может быть легко отделена посредством горизонтального и вертикального рядов резьбовых соединений 26 и заменена новой кассетой 24.
Перечень ссылочных позиций
1 – поворотные ворота
2 – опорный кронштейн
2а – опорное кольцо
2b – ребро
3а – поворотная опора
3b – поворотная опора
4 – намоточный барабан
4а – опора намоточного барабана
5 – внутреннее кольцо
6 – наружное кольцо вращательной опоры
6а – конический подшипник качения
7 – кольцевой зазор
8 – зажимной элемент
8а – зажимной сухарь
9 – теоретический центр намоточного барабана
10 – цилиндро-поршневой привод
11 – корпус цилиндро-поршневого привода
12 – поршневой шток с вильчатой головкой
13 – открытое положение
14 – шарнир поршневого штока
15 – горизонтальная плоскость
16 – закрытое положение
17 – управляющая поверхность
18 – наплавленный сегмент
19 – участок
20 – ползун
20а – упорная поверхность
20b – поверхность скольжения
21 – ось вращения
22 – накладка
23 – широкий шлиц
24 – кассета
25 – параллельные направляющие
26 – резьбовые соединения
Формула изобретения
1. Моталка для металлических полос, в частности стальных полос, содержащая намоточный барабан (4), установленный с возможностью вращения в своих опорах (4а), отличающаяся тем, что опора (4а) намоточного барабана окружена на наружном кольце (6) вращательной опоры кольцевым зазором (7), при этом наружное кольцо (6) вращательной опоры установлено с возможностью центрирования посредством замыкаемых внутрь зажимных элементов (8) и при введенном намоточном барабане (4) или с возможностью свободного движения внутри кольцевого зазора (7) при отведенных наружу зажимных элементах (8).
2. Моталка по п.1, отличающаяся тем, что кольцевой зазор (7) рассчитан на отклонение положения намоточного барабана (4), по меньшей мере, на 10 мм.
3. Моталка по любому из пп.1 и 2, отличающаяся тем, что в образованном и закрепленном на опорном кронштейне (2) опорном кольце (2а) с возможностью вращения размещено внутреннее кольцо (5), в котором расположены срабатывающие за счет вращения зажимные элементы (8).
4. Моталка по п.3, отличающаяся тем, что внутреннее кольцо (5) установлено с возможностью вращательного перемещения посредством расположенного вне опорного кольца (2а) цилиндро-поршневого привода (10), который шарнирно соединен на расстоянии рычага от теоретического центра (9) намоточного барабана.
5. Моталка по п.4, отличающаяся тем, что цилиндро-поршневой привод (10) установлен с возможностью перемещения из открытого положения (13), в котором шарнир (14) для поршневого штока (12) лежит в одной горизонтальной плоскости (15) с теоретическим центром (9) намоточного барабана, в закрытое положение (16) ниже горизонтальной плоскости (15) с теоретическим центром (9) намоточного барабана, причем корпус (11) цилиндро-поршневого привода (10) шарнирно соединен с опорным кронштейном (2).
6. Моталка по п.3, отличающаяся тем, что во внутреннем кольце (5) предусмотрены распределенные по окружности, каждая приблизительно по касательной к наружному кольцу (6) вращательной опоры, управляющие поверхности (17) для центрируемого намоточного барабана (4), к которому со скольжением прилегают зажимные элементы (8).
7. Моталка по п.1, отличающаяся тем, что зажимные элементы (8) установлены с возможностью принудительного перемещения как для замыкания, так и для размыкания.
8. Моталка по п.1, отличающаяся тем, что каждый зажимной элемент (8) состоит из зажимного сухаря (8а), установленного с возможностью движения со скольжением по соответствующей управляющей поверхности (17).
9. Моталка по п.6, отличающаяся тем, что она содержит ползун и между внутренним кольцом (5) и ползуном (20) образована механическая упорная поверхность (20а).
10. Моталка по п.6, отличающаяся тем, что один участок (19) управляющих поверхностей (17) состоит из ползуна (20), закрепленного на опорном кольце (2а).
11. Моталка по п.8, отличающаяся тем, что зажимной сухарь (8а), будучи обращен к центру (9), пригнан к радиусу наружного кольца (6) вращательной опоры.
12. Моталка п.8, отличающаяся тем, что зажимной сухарь (8а) соответственно установлен в накладках (22) с обеих сторон посредством оси (21) вращения, которая проходит через зажимной сухарь (8а) и заканчивается снаружи на жестко закрепленном опорном кольце (2а).
13. Моталка по п.3, отличающаяся тем, что опорное кольцо (2а) в опорном кронштейне (2) выполнено в виде сменной кассеты (24).
РИСУНКИ
|