|
|
(21), (22) Заявка: 2004109162/02, 02.09.2002
(24) Дата начала отсчета срока действия патента:
02.09.2002
(30) Конвенционный приоритет:
04.09.2001 IT MI2001A001860
(43) Дата публикации заявки: 10.06.2005
(46) Опубликовано: 20.03.2007
(56) Список документов, цитированных в отчете о поиске:
US 4918964 А, 24.04.2000. SU 1417946 A1, 23.08.1988. SU 1623808 A1, 30.01.1991. RU 2171725 C1, 10.08.2001. SU 1838009 A3, 30.08.1993.
(85) Дата перевода заявки PCT на национальную фазу:
05.04.2004
(86) Заявка PCT:
EP 02/09787 (02.09.2002)
(87) Публикация PCT:
WO 03/020453 (13.03.2003)
Адрес для переписки:
107023, Москва, ул. Б.Семеновская, 49, оф.404, Фирма патентных поверенных ООО “ИННОТЭК”, пат.пов. О.В.Аргасову
|
(72) Автор(ы):
ЛАВАРОНИ Джорджо (IT), ВЕРДЖЕНДО Альдо (IT), МАЭСТРУТТИ Лорис (IT)
(73) Патентообладатель(и):
ДАНИЭЛИ Э К. ОФФИЧИНЕ МЕККАНИКЕ С.П.А. (IT)
|
(54) УНИВЕРСАЛЬНАЯ ПРОКАТНАЯ СТАНИНА С КОНТРОЛИРОВАНИЕМ ЗАЗОРОВ МЕЖДУ ВАЛКАМИ
(57) Реферат:
Изобретение относится к оборудованию для обработки металлов давлением и может быть использовано в прокатном производстве. Задача изобретения – уменьшение количества ручных типовых операций и упрощение конструкции станины. Универсальная прокатная станина с контролированием зазора между валками содержит пару горизонтальных валков и один или большее количество вертикальных валков с соответствующими клиньями, позиционирующими корпусами и направляющей для клиньев с соединительными тягами, закрепленными с одной стороны к корпусам и воздействующими на клинья для регулирования и позиционирования валков. Регулирование выполняется с помощью гидравлических капсул с двумя гидравлическими камерами двойного действия и с помощью спаренного хвостовика на концах каждой соединительной тяги. Изобретение обеспечивает увеличение жесткости клети и улучшение динамических рабочих характеристик. 10 з.п. ф-лы, 6 ил.
Область техники, к которой относится изобретение
Настоящее изобретение относится к способу контролирования зазора между валками и к универсальной прокатной станине для контролирования этого зазора.
Предшествующий уровень техники
Универсальные прокатные станины, главным образом, используются при изготовлении прокатных профилей с изогнутыми кромками, а также тавровых балок, двутавровых балок и др. Вообще универсальные прокатные станины выпускаются с парой валков, имеющих горизонтальную ось, и с одним или с двумя валками, выполненными с вертикальной осью и размещенными с одной или с двух сторон по отношению к валкам с горизонтальной осью. Универсальная прокатная станина одного типа, известного из предшествующего уровня техники, содержит конструкцию для поддержания валков, состоящую из двух моноблочных соединительных элементов, которые параллельны осям горизонтальных валков и соединены друг с другом посредством боковых кожухов станины. Кожухи, в свою очередь, поддерживают клинья, которые включают в себя подшипники для поддержания и вращения валков с горизонтальными осями. Вместо этого валки с вертикальными осями устанавливаются в клиньях, размещенных между колоннами кожухов, находясь между клиньями валков с горизонтальными осями.
Одна из задач, которая должна решаться у прокатной станины этого типа, заключается в способе нахождения компромисса между жесткостью конструкции станин, реагирующей на усилия, создаваемые во время выполнения рабочих операций прокатки, легкостью станин и простотой их конструкции для того, чтобы позволять осуществлять рабочие операции технического обслуживания и замены изношенных частей станин, либо станин в целом в возможно наикратчайшие промежутки времени для того, чтобы уменьшать простои.
В прошлом различные типы технических решений предлагались для того, чтобы ускорять рабочие операции замены или технического обслуживания, а также уменьшать время, необходимое для замены прокатных станин.
В Заявке IT-UD92A000110 на патент Италии описывается универсальная прокатная станина с кожухом, состоящим из общих элементов с резьбовым шпинделем, который гарантирует наличие регулирования расстояния между центрами валков. В этой станине вращательное движение резьбового шпинделя преобразуется в поперечное перемещение опор, которые поддерживают клинья горизонтальных валков.
В Заявке IT-UD92A000022 на патент Италии описывается система для регулирования перекрытия вертикальных валков, которая может быть установлена в универсальной прокатной станине в совокупности с опорной конструкцией для горизонтальных валков, описанной в Заявке IT-UD92A000110 на патент Италии.
В патенте США №4918964 А описывается универсальная прокатная станина, оборудованная системами для регулирования зазоров между валками. Гидравлические цилиндры являются цилиндрами простого действия, и по одному из цилиндров применяется для каждого из клиньев верхнего горизонтального валка и для каждого из вертикальных валков.
Основная проблема, которая существует у станины этих типов, заключается в уменьшении напряжения, которое возникает под действием силовой нагрузки и которое остается в пределах допусков, подлежащих соблюдению при осуществлении рабочих процессов, которые должны выполняться с помощью станины этих типов. Максимальными общими напряжениями, существующими в станине этих типов, являются те, которые получаются от изменения зазора между валками и вызываются деформацией упругих элементов, из которых выполняется станина, во время подачи и ввода полосы проката и освобождения самой этой полосы.
Сущность изобретения
Основная задача настоящего изобретения заключается в устранении вышеописанных недостатков посредством разработки универсальной прокатной станины с контролированием зазоров между валками, которая обладает увеличенной жесткостью и улучшенными динамическими рабочими характеристиками.
Другая задача изобретения состоит в создании станины вышеуказанного типа, которая позволяет уменьшить износ ее деталей, уменьшить количество выполняемых типовых ручных рабочих операций и упростить конструкцию станины.
Эти задачи наряду с другими, которые станут очевидными из последующего описания изобретения, достигаются с помощью универсальной прокатной станины с регулированием зазоров между валками, имеющей признаки, описанные в п.1 формулы изобретения.
Благодаря наличию этих признаков, имеющихся в универсальной прокатной станине, две пары вертикальных соединительных тяг, воспринимающих силовую нагрузку при прокатке, имеют сокращенную длину и уменьшенные расширения по той причине, которая состоит в том, что гидравлические рабочие камеры расположены весьма близко по отношению к оси самих горизонтальных валков. Компоновка рабочих камер, предусмотренная в новой универсальной станине, позволяет силовую нагрузку, создаваемую во время прокатки, замкнуть по более короткой траектории, чем та, которая существует в станинах традиционных прокатных станов с корпусами, которые способствуют образованию замкнутой петли усилий. В результате, вообще говоря, это приводит к увеличенной жесткости всей станины.
Благодаря особому предпочтительному варианту воплощения станины согласно изобретению сферическое соединение, расположенное между соединительными поперечными элементами приводных цилиндров, вместе с последними и с клиньями горизонтальных валков позволяет клиньям наклоняться относительно оси соединительных тяг. Таким образом, даже в том случае, когда валки подвергаются воздействию на них силового нагружения, и клинья стремятся наклоняться, соединительные тяги остаются прямолинейными. Таким образом только аксиальные усилия, но не радиальные силы, оказывают свое воздействие на приводные силовые цилиндры, что в результате увеличивает срок эксплуатации прокладок самих приводных цилиндров.
По сравнению с традиционными техническими решениями, при которых используются поддерживающие болты, которые вращаются вокруг их собственных осей для регулирования расстояния между центрами валков, приводные гидравлические цилиндры позволяют использовать неповоротные болты или соединительные тяги. Это создает преимущества, состоящие в том, что соединительные тяги могут выполняться с увеличенным диаметром и с квадратным сечением в их центральной части, что дополнительно увеличивает жесткость этих элементов. Вместе с тем, все прокладки, связанные с соединительными тягами, подвергаются действию статических напряжений таким образом, что их эффективность и длительность эксплуатации увеличиваются по отношению к таким показателям вращающихся прокладок, используемых при других известных технических решениях.
Применение гидравлических цилиндров двойного действия со спаренным хвостовиком позволяет улучшать динамические рабочие характеристики станины по той причине, что значительно уменьшаются реакция исполнительного механизма и промежутки времени регулировок при вводе и освобождении полосы проката, при этом повышаются допуски, которые могут быть получены у изделия. Дополнительные преимущества, связанные с использованием приводных силовых цилиндров, заключаются в том, что удваивается жесткость приводного силового цилиндра двойного действия по сравнению с силовым приводным цилиндром простого действия, и в том, что устраняются дополнительные наружные балансировочные валки и соответствующие средства для их гидравлического регулирования.
Использование приводного гидравлического цилиндра на опоре в соответствии с изобретением, размещенного при согласовании с соединительными тягами, также устраняет проблемы, связанные с пиковыми силовыми нагрузками. Это происходит по той причине, что соединительные тяги всегда работают при растяжении и никогда не испытывают сжатие при их работе, которое случается в противоположность этому в станинах с закрытыми корпусами, известных из предшествующего уровня техники, когда рабочие ходы должны уменьшаться в связи с наличием нестабильности пиковых силовых нагрузок. Соответственно устраняется необходимость установки регулировочных прокладок между приводным силовым цилиндром и клиньями для того, чтобы перекрывать весь интервал величин, которые могут допускаться для расстояния между центрами валков.
Благодаря наличию признака, который также обеспечивает механическое предварительное силовое нагружение с помощью пружин, существует возможность устранения зазора между сферическим соединением и клином. При конкретном варианте воплощения изобретения предварительное силовое нагружение также обеспечивается для того, чтобы позволить колебание клина, и предварительное силовое нагружение регулируется таким образом, чтобы адекватно сбалансировать массу валка и клина.
Гидравлические исполнительные механизмы двойного действия с двойным хвостовиком имеют сечения с незначительно отличающимися размерами в двух рабочих камерах таким образом, что в случае аварийной ситуации пространство между валками автоматически открывается с помощью аварийной гидравлической цепи.
При предпочтительном варианте реализации изобретения, поскольку станина имеет модульную конструкцию и автоматические или полуавтоматические гидравлические средства управления, требуется уменьшенное вмешательство операторов при уменьшенном риске для безопасности последних. Также намного упрощается конструкция станины.
В станине, выполненной согласно изобретению, устраняются определенные ручные операции, а другие рабочие операции уменьшаются и упрощаются таким образом, что время для изменения положения валков намного сокращается по сравнению с тем временем, которое требуется у других станин, известных из предшествующего уровня техники.
Другое преимущество изобретения заключается в том, что применение силовых приводных гидравлических цилиндров в универсальных станинах, выполненных в соответствии с настоящим изобретением, позволяет осуществлять независимое регулирование валка, например регулирование зазора между верхним горизонтальным валком и нижним горизонтальным валком. Это, в частности, важно по сравнению со всем вышеуказанным в том случае, когда осуществляется прокатка балок с сечениями, которые являются несимметричными по отношению к горизонтальной оси.
Краткое описание фигур сопроводительных чертежей
Дополнительные характеристики и преимущества изобретения станут очевидными из подробного описания предпочтительного, но не исключительного варианта воплощения универсальной прокатной клети с контролированием зазоров между валками, показанного здесь с помощью не ограничивающего примера и с помощью чертежей, на которых:
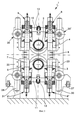
фиг.1 представляет собой разрез вдоль плоскости, ортогональной относительно осям горизонтальных валков универсальной прокатной станины, выполненной в соответствии с изобретением;
фиг.2 представляет собой поперечный разрез элемента станины, показанной на фиг.1;
фиг.3 представляет собой боковой вид другого элемента станины, показанной на фиг.1;
фиг.4, 5 и 6 представляют собой виды сверху на элементы станины, показанной на фиг.1.
Описание предпочтительного варианта воплощения изобретения
Конкретно, обращая внимание на вышеупомянутые фигуры сопроводительных чертежей, можно видеть, что универсальная прокатная станина, в общем обозначенная ссылочной позицией 1, содержит два валка 2, 3 с горизонтальной осью, установленных на клиньях 4, 5, причем по два клина используются для каждого из горизонтальных валков, из которых на фиг.1 видны только те, которые размещены у одной боковой стороны станины. Других два клина, которые расположены на скрытой боковой стороне станины, представленной на фиг.1, являются абсолютно идентичными предшествующим валкам и далее подробно не описываются.
На каждой боковой стороне станины размещаются две вертикальные соединительные тяги 6, 6 , 7, 7 , которые фиксируют два клина 4, 5 горизонтальных валков 2, 3. На каждой из двух соединительных тяг 6, 7 установлены два приводных гидравлических цилиндра 8, 8 , 9, 9 , при этом один из них находится вблизи верхнего валка 2, а другой – около нижнего валка 3.
Четыре соединительные тяги станины 1 установлены по две на видимой и скрытой ее частях и не могут поворачиваться вокруг их собственной оси в противоположность поддерживающим болтам станин, известных из существующего уровня техники.
С каждой боковой стороны станины 1 имеются два поперечных элемента 10, 11, причем один элемент находится вверху, а другой – у нижней части станины, и каждый из них соединяет два соответствующих приводных цилиндра 8, 9 и 8 , 9 . Верхний поперечный элемент 10 предназначен для работы в качестве опоры для верхнего клина 4, а нижний поперечный элемент 11 служит в качестве опоры для нижнего клина 5, причем в обоих случаях они имеют поддержку со стороны шарового шарнира 12, 13. Преимущественно за шаровым шарниром могут располагаться пружины или гидравлические устройства для устранения зазора, который может образоваться в соединениях с поперечными элементами.
Станина также содержит два валка 14, 15 с вертикальной осью, более хорошо показанные особенно на фиг.4 и 5. Они смонтированы также на соответствующих клиньях 16, 17, которые распределены по одному для каждого валка. Вслед за каждым вертикальным валком размещены две соответствующие соединительные тяги 18, 18 , 19, 19 , которые также не поворачиваются вокруг их собственной оси. На каждой из соединительных тяг 18, 18 , 19, 19 установлен соответствующий силовой приводной гидравлический цилиндр 20, 20 , 21, 21 такого же типа, как те, которые используются на соединительных тягах горизонтальных валков.
Соединительные тяги вертикальных и горизонтальных валков соединены друг с другом посредством четырех корпусов 22, 23, 24, 25, при этом два из них размещены на стороне управления, а два других корпуса находятся на стороне оператора и на них зафиксированы соединительные тяги. Корпусы предпочтительно предусматриваются с тележками 30, 31, скользящими по направляющим для облегчения перемещения корпусов и их технического обслуживания во время монтажа и демонтажа станины 1.
Станина 1 оканчивается корзиной 26 для поддержания валков и направляющих. Кроме того, корзина 26 преимущественно снабжается тележками 27, 28 для передвижения всей станины 1.
Приводные цилиндры, используемые в станине в соответствии с изобретением, выполнены из двух гидравлических камер 32, 33 двойного действия со спаренным штоком, разделенных промежуточным поршнем 34, при этом масло под давлением посылается в две камеры способом, пригодным для уравновешивания усилий прокатки.
Основными деталями, которые образуют станину, являются корпуса и клинья для горизонтальных и вертикальных валков на стороне управления (LC), корпуса и клинья для горизонтальных и вертикальных валков на стороне оператора управления (LO), поярусно расположенные удерживающая корзина и ее тележка, а станина, в свою очередь, содержит горизонтальные валки, вертикальные валки с соответствующей опорой, стержни для поддерживания оборудования и направляющие для прокатки. Эти части могут соответственно перемещаться, сдвигаясь воедино и открываясь гидравлически, последовательно и полуавтоматически для выполнения операций с целью замены как вертикальных, так и горизонтальных валков.
Стержни для поддерживания оборудования соединены с корпусами на стороне управления (LC) и на стороне оператора управления (LO), а также с четырьмя соединительными тягами 35, 36, которые блокированы гидравлически управляемыми клиньями и имеют предварительное натяжение с помощью гидравлических корзин, подробно не показанных на фигурах сопроводительных чертежей.
Формула изобретения
1. Универсальная прокатная станина с контролированием зазора между валками, содержащая верхний (2) и нижний (3) валки и имеющая горизонтальную ось, определяющую плоскость прокатки, причем верхний (2) и нижний (3) валки связаны с соответствующими первыми клиньями (4, 5), при этом станина содержит, по меньшей мере, один валок с вертикальной осью (14, 15), предусмотренный с собственными позиционирующими и направляющими вторыми клиньями (16, 17), а также некоторое количество корпусов (22, 23, 24, 25) для размещения и направления указанных первых (4, 5) и вторых (16, 17) клиньев и множество соединительных тяг (6, 6 , 7, 7 , 18, 18 , 19, 19 ), каждая из которых прикреплена к указанным корпусам и функционально соединена с указанными первыми и вторыми клиньями, причем указанные соединительные тяги связаны со средствами для регулирования и размещения указанных первых и вторых клиньев, расположенными на каждом конце соединительных тяг (6, 6 , 7, 7 , 18, 18 , 19, 19 ), отличающаяся тем, что
a) указанные средства для регулирования и размещения первых клиньев (4, 5) содержат приводные гидравлические цилиндры двойного действия (8, 8 , 9, 9 ) для регулирования и расположения указанных верхнего (2) и нижнего (3) валков, причем
b) указанные приводные гидравлические цилиндры (8, 8 , 9, 9 ) связаны с первыми клиньями (4, 5) и соединены посредством соединительных поперечных элементов (10, 11), действующих в качестве опоры для первых клиньев,
с) при этом между указанными соединительными поперечными элементами (10, 11) и соответствующими первыми клиньями (4, 5) расположены шаровые шарниры (12, 13).
2. Прокатная станина по п.1, отличающаяся тем, что указанные средства для регулирования и размещения вторых клиньев содержат приводные гидравлические цилиндры двойного действия для регулирования и расположения указанных валков с вертикальной осью.
3. Прокатная станина по одному из предыдущих пунктов, отличающаяся тем, что каждый клин (4, 5, 16, 17) валков с вертикальной осью и с горизонтальной осью предусмотрен с соответствующей парой приводных гидравлических цилиндров (8, 8 , 9, 9 , 20, 20 , 21, 21 ).
4. Прокатная станина по п.1, отличающаяся тем, что в ней для согласования указанных шаровых шарниров (12, 13) установлены пружины или гидравлические устройства для устранения существующего в шарнирах зазора.
5. Прокатная станина по п.1, отличающаяся тем, что в ней предусмотрено средство управления для независимого регулирования гидравлических камер указанных приводных гидравлических цилиндров (8, 8 , 9, 9 , 20, 20 , 21, 21 ).
6. Прокатная станина по п.1, отличающаяся тем, что указанные приводные гидравлические цилиндры (8, 8 , 9, 9 , 20, 20 , 21, 21 ) приспособлены для гидравлической балансировки, по меньшей мере, одного валка.
7. Прокатная станина по п.1, отличающаяся тем, что указанные приводные гидравлические цилиндры (8, 8 , 9, 9 , 20, 20 , 21, 21 ) имеют спаренный хвостовик.
8. Прокатная станина по п.1, отличающаяся тем, что она содержит два валка (14, 15) с вертикальными осями.
9. Прокатная станина по п.1, отличающаяся тем, что в ней предусмотрено наличие четырех корпусов (22, 23, 24, 25), два из которых размещены на стороне управления прокатной станиной, а два других – на стороне оператора, и они оборудованы тележкой (30, 31), скользящей по направляющим.
10. Прокатная станина по п.1, отличающаяся тем, что в ней предусмотрено наличие корзины (26) с тележками (27, 28) для поддержания валков с горизонтальной осью и направляющих для выполнения рабочих операций сборки/демонтажа прокатной станины.
11. Прокатная станина по п.1, отличающаяся тем, что в ней предусмотрены один или большее количество указанных приводных гидравлических цилиндров (8, 8 , 9, 9 , 20, 20 , 21, 21 ) двойного действия, выполненных с двумя соответствующими гидравлическими камерами, имеющими незначительно отличающиеся сечения.
РИСУНКИ
|
|