|
(21), (22) Заявка: 2005101265/02, 20.01.2005
(24) Дата начала отсчета срока действия патента:
20.01.2005
(43) Дата публикации заявки: 27.06.2006
(46) Опубликовано: 20.03.2007
(56) Список документов, цитированных в отчете о поиске:
DE 3107296 A 28.01.1982. SU 551063 A 25.03.1977. SU 994067 A 07.02.1983. SU 997872 A 23.02.1983. US 2003218548 A1 27.11.2003. ЕР 1212061 А2 12.06.2002.
Адрес для переписки:
144005, Московская обл., г. Электросталь, ул. Красная, 19, ОАО “ЭЗТМ”, нач. патентно-информационного отдела З.С. Вольшонку
|
(72) Автор(ы):
Кудрявцев Сергей Николаевич (RU), Кудрявцев Максим Сергеевич (RU), Никитин Арнольд Самуйлович (RU)
(73) Патентообладатель(и):
Открытое акционерное общество “Электростальский завод тяжелого машиностроения” (RU)
|
(54) ПОДШИПНИКОВАЯ ОПОРА ПРОКАТНОГО ВАЛКА
(57) Реферат:
Изобретение может быть использовано в прокатном производстве, а именно в подшипниковых опорах прокатных валков. Подшипниковая опора прокатного валка содержит подшипник жидкостного трения, втулка-цапфа которого насажена на коническую часть шейки прокатного валка и соединена с ней одной или несколькими шпонками, установленными в шпоночные пазы, выполненные на втулке-цапфе и конической шейке валка. Основание каждого шпоночного паза выполнено параллельным образующей сопрягаемых конических поверхностей втулки-цапфы и шейки валка. Изобретение позволяет повысить жесткость опоры прокатного валка и уменьшить влияние его прогиба в момент прохождения шпоночного соединения через плоскость нагрузки на точность прокатываемого металла. 2 ил.
Изобретение относится к прокатному производству, а именно к конструкции подшипниковых опор прокатных станов.
Известна подшипниковая опора прокатного валка, содержащая подшипник жидкостного трения, втулка-цапфа которого насажена на коническую шейку прокатного валка и соединена с ней для исключения поворота одной или несколькими шпонками, установленными в шпоночные пазы, выполненные во втулке-цапфе и на конической шейке валка (авт. свид. СССР №1268226, кл. В 21 В 31/02, заявл. 11.06.85, опубл. 07.11.86).
На конической шейке валка выполнен прямоугольный шпоночный паз, а во втулке-цапфе прямоугольный шпоночный паз открыт в сторону бочки валка для обеспечения возможности монтажа подшипника жидкостного трения на валок и его демонтажа целиком. Основание каждого шпоночного паза (или продольная ось шпонки) параллельно продольной оси валка.
Недостатком этой опоры является то, что наличие протяженного шпоночного паза во втулке-цапфе снижает жесткость подшипниковой опоры.
Для увеличения жесткости в последнее время в подшипниковых опорах шпонку располагают на цилиндрической части шейки прокатного валка (пат. США №6123461, кл.384-441, заявл. 24.08.98, опубл. 26.09.2000; №6149309 кл.384-276, заявл. 26.02.99, опубл. 14.11.2000).
Однако это значительно увеличивает габариты валка и усложняет условия монтажа и демонтажа подшипника жидкостного трения.
Наиболее близкой по технической сущности является подшипниковая опора прокатного валка, содержащая подшипник жидкостного трения, втулка-цапфа которого насажена на коническую шейку прокатного валка и соединена с ней для исключения проворота одной или несколькими шпонками, установленными в шпоночные пазы, выполненные на втулке-цапфе и на шейке валка (пат. ФРГ №3107296, кл. В 21 В 31/07, заявл. 26.02.81, опубл. 28.01.82).
Показаны несколько вариантов шпоночного соединения между втулкой-цапфой и конической шейкой валка, дающих возможность вынести шпоночное соединение из зоны действия максимальных нагрузок на подшипниковую опору, а именно, максимально приблизить шпоночное соединение к торцам втулки-цапфы и конической шейке валка или разместить ее на цилиндрической части шейки валка. Основание каждого шпоночного паза параллельно продольной оси валка.
Недостаток известной конструкции подшипниковой опоры прокатного стана заключается в том, что шпонки, находящиеся в шпоночных пазах, выполненных во втулке-цапфе и на конической шейке прокатного валка и основание которых параллельно продольной оси валка, испытывают значительные нагрузки на срез и смятие, поэтому они должны иметь большое поперечное сечение и, следовательно, глубокие шпоночные пазы, а это приведет к снижению жесткости подшипниковой опоры валка. Если шпонка расположена на цилиндрической части шейки валка, то это приводит к увеличению габаритов подшипниковой опоры в продольном направлении, а также ее массы.
Задача настоящего изобретения состоит в создании подшипниковой опоры прокатного валка, обладающей более высокой жесткостью за счет уменьшения влияния на нее шпоночного соединения.
Поставленная задача достигается тем, что в подшипниковой опоре прокатного валка, содержащей подшипник жидкостного трения, втулка-цапфа которого насажена на коническую часть шейки прокатного валка и соединена с ней одной или несколькими шпонками, установленными в шпоночные пазы, выполненные на втулке-цапфе и конической части шейки валка, согласно изобретению основание каждого шпоночного паза выполнено параллельным образующей сопрягаемых конических поверхностей втулки-цапфы и шейки валка.
Такое конструктивное выполнение подшипниковой опоры прокатного стана обеспечит повышение жесткости благодаря тому, что становится возможным сделать минимальными размеры шпонки и соответствующих ей шпоночных пазов, обеспечив при этом прочность соединения, и уменьшить до минимума изменение жесткости втулки-цапфы и прокатного валка при вращении.
Повышение жесткости опорного узла обеспечивает производство проката со сниженными допусками по толщине с лучшей плоскостностью, то есть более высокого качества.
Для пояснения изобретения ниже приводится конкретный пример выполнения изобретения со ссылкой на прилагаемые чертежи, на которых:
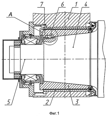
на фиг.1 изображена подшипниковая опора прокатного валка, общий вид в разрезе;
на фиг.2 – узел А на фиг.1.
Подшипниковая опора прокатного валка состоит из подушки 1, подшипника жидкостного трения, содержащего втулку-вкладыш 2, сопрягаемую своей внутренней поверхностью с втулкой-цапфой 3, которая насажена на коническую часть шейки 4 прокатного валка 5. Для исключения проворота втулки-цапфы 3 относительно шейки 4 они соединены одной или несколькими шпонками 6, установленными в шпоночных пазах 7. Шпоночный паз на конической шейке 4 валка открыт с торца шейки. Основание каждого шпоночного паза 7 выполнено параллельным образующей конической поверхности втулки-цапфы 3 и шейки 4 прокатного валка 5.
Подшипниковая опора работает следующим образом. Валок 5 вращается в процессе прокатки. Через шпонку 6 вращение передается втулке-цапфе 3. При прохождении шпонки 6 через плоскость нагрузки (соответствует плоскости разреза на чертеже) жесткость валка 5 и, следовательно, его прогиб меняются незначительно.
Предложенная подшипниковая опора прокатного валка по сравнению с известными позволяет повысить жесткость опоры прокатного валка и уменьшить влияние его прогиба в момент прохождения шпоночного соединения через плоскость нагрузки на точность прокатываемого металла.
Формула изобретения
Подшипниковая опора прокатного валка, содержащая подшипник жидкостного трения, втулка-цапфа которого насажена на коническую часть шейки прокатного валка и соединена с ней одной или несколькими шпонками, установленными в шпоночные пазы, выполненные на втулке-цапфе и конической шейке валка, отличающаяся тем, что основание каждого шпоночного паза выполнено параллельным образующей сопрягаемых конических поверхностей втулки-цапфы и шейки валка.
РИСУНКИ
MM4A – Досрочное прекращение действия патента СССР или патента Российской Федерации на изобретение из-за неуплаты в установленный срок пошлины за поддержание патента в силе
Дата прекращения действия патента: 21.01.2008
Извещение опубликовано: 20.10.2009 БИ: 29/2009
|