|
|
(21), (22) Заявка: 2005107369/03, 16.03.2005
(24) Дата начала отсчета срока действия патента:
16.03.2005
(43) Дата публикации заявки: 27.08.2006
(46) Опубликовано: 20.03.2007
(56) Список документов, цитированных в отчете о поиске:
RU 94035710 A1, 27.05.1997. RU 2162916 C1, 10.02.2001. SU 1811920 A1, 30.04.1993. RU 2238806 C1, 27.10.2004. SU 1030469 A1, 23.07.1983. RU 2098549 C1, 10.12.1997. SU 1772315 A1, 30.10.1992.
Адрес для переписки:
660017, г. Красноярск, пр. Мира, 94, Институт “Красноярскгидропроект”, В.П. Ягину
|
(72) Автор(ы):
Ягин Василий Петрович (RU), Оголь Виктор Григорьевич (RU), Аржеуцкий Александр Владимирович (RU), Брюшинина Татьяна Владимировна (RU)
(73) Патентообладатель(и):
Открытое акционерное общество “Сибирский энергетический научно-технический центр” (RU)
|
(54) СПОСОБ ОЧИСТКИ ЗАГРЯЗНЕННОГО НЕФТЬЮ И/ИЛИ НЕФТЕПРОДУКТОМ ГРУНТА
(57) Реферат:
Изобретение относится к способам очистки территорий от нефтезагрязнений, произошедших в результате аварийного разлива нефти или нефтепродукта. Согласно способу место загрязнения локализуют обвалованием, а в подстилающий водоносный слой под напором подают воду с интенсивностью, обеспечивающей в месте загрязнения поднятие уровня грунтовой воды с вымываемой из грунта нефтью и/или нефтепродуктом на его дневную поверхность. После чего нефть и/или нефтепродукт удаляют с дневной поверхности. Воду в подстилающий водоносный слой под напором подают посредством гидрозавесы, выполненной в виде канавы, расположенной вдоль обвалования с ее наружной по отношению к месту загрязнения стороны и гидравлически сообщенной с подстилающим водоносным слоем. Канаву заполняют водой до уровня, превышающего уровень дневной поверхности грунта места загрязнения и уровень жидкой фазы на этом месте загрязнения и обеспечивающего в месте загрязнения изменение направления движения жидкой фазы в подстилающем водоносном слое на противоположное. Канаву по длине разделяют на участки перемычками, обеспечивающими возможность создания перепада уровней воды между смежными участками канавы. Дополнительно осуществляют подачу воды под напором в подстилающий водоносный слой путем ее закачки, по меньшей мере, через одну скважину, выполненную в средней части места загрязнения с площадки, образованной насыпью и/или возвышенным участком рельефа. Повышается эффективность очистки загрязненного нефтью грунта за счет ускорения локализации места загрязнения и подачи в подстилающий водоносный слой воды под напором. 2 з.п. ф-лы, 3 ил.
Изобретение относится к способам ликвидации территорий от нефтезагрязнений, произошедших в результате аварийного разлива нефти (нефтепродукта) при разработке месторождения нефти, ее транспортировке или при ее использовании в различных отраслях промышленности.
Известен способ очистки загрязненного нефтью (нефтепродуктом) грунта [1], который сводится к следующему: место загрязнения локализуют, разлитую нефть собирают различными средствами, после чего загрязненную территорию обрабатывают бактериальными препаратами и проводят техническую и биологическую рекультивацию почвы одним из известных специалистам способов, раскрытых, например, в патентах РФ №2182049, №2143954, №2137559, №2057724, №2009626.
Основным недостатком такого способа является то, что очистке подвергается только верхний почвенный слой территории, что не предотвращает загрязнение подстилающих водоносных пород.
Известен способ очистки загрязненного нефтью грунта [2], согласно которому место загрязнения локализуют обвалованием (насыпью), разлитую нефть собирают средствами, после чего в образованную обвалованием грунтовую емкость, вмещающей в плане все место загрязнения, подают воду и посредством сети законтурных и внутриконтурных откачных скважин осуществляют промывку подстилающих пород.
Недостатки этого способа заключаются в следующем:
– в процессе промывки существенно увеличивается область подземного нефтезагрязнения, для ликвидации которого необходима промывка всей этой увеличенной области;
– в водооборот включается большое количество законтурной чистой природной воды, что увеличивает объем работ по разделению водонефтяной смеси на нефть и воду;
– в процессе промывки в результате механического перемешивания водонефтяной смеси на насосах и в трубопроводе происходит эмульгирование нефти в воде, что усложняет последующее разделение такой смеси на нефть и воду;
– грунтовая емкость может быть образована обвалованием только на относительно равнинном и не застроенном участке местности.
Указанные недостатки только частично устраняются в также сложных следующих двух способах. По первому из них [3] промывочную воду подают в загрязненный грунт через питающие скважины (колодцы), а ее отвод осуществляют через откачные скважины (колодцы). По второму [4] – промывку осуществляют суспензией, содержащей в заданном количестве микроорганизм – биодеструктор и биогенные элементы, которой обильно орошают поверхность грунта над подземным загрязнением, а откачку фильтрующей жидкости из подстилающего водоносного слоя осуществляют через откачные скважины.
Наиболее близким техническим решением к предлагаемому является способ очистки загрязненного нефтью или нефтепродуктом грунта, включающий локализацию обвалованием места загрязнения, подачу в подстилающий водоносный слой воды под напором с интенсивностью, обеспечивающей в месте загрязнения поднятие уровня грунтовой воды с вымываемой из грунта нефтью и/или нефтепродуктом на его дневную поверхность, и удаление нефти и/или нефтепродукта с дневной поверхности. При этом локализацию места загрязнения в этом способе осуществляют путем намораживания от водоносного слоя по контуру загрязнения непроницаемой для жидкости льдогрунтовой стенки, а последующую подачу в подстилающий слой воды под напором осуществляют путем закачки воды через нагнетательные скважины.
Основным недостатком этого известного способа является то, что для создания по контуру загрязнения (разлива) нефти затратных и трудоемких льдогрунтовой стенки и внутриконтурной системы нагнетательных скважин, необходимых для осуществления способа, требуется длительное время. За это время происходит растекание нефти по большой площади и ее проникновение в грунт на большую глубину, что обуславливает загрязнение большого объема подстилающих водонасыщенных грунтов. Поэтому этот способ не позволяет быстро и малыми затратами ликвидировать последствия аварийного выброса нефти или нефтепродукта в большом количестве на грунтовую поверхность, что обуславливает низкую эффективность способа.
Задачей, на решение которой направлено предлагаемое изобретение, является повышение эффективности способа очистки загрязненного грунта при аварийном разливе нефти или нефтепродукта. Технический же результат от использования изобретения заключается в ускорении локализации места загрязнения и подачи в подстилающий водоносный слой воды под напором, что обеспечивает предотвращение дальнейшего проникновения нефти в грунт, причем простыми и низкозатратными средствами.
Задача решается, а технический результат достигается тем, что в способе очистки загрязненного нефтью и/или нефтепродуктом грунта, включающем локализацию обвалованием места загрязнения, подачу в подстилающий водоносный слой воды под напором с интенсивностью, обеспечивающей в месте загрязнения поднятие уровня грунтовой воды с вымываемой из грунта нефтью и/или нефтепродуктом на его дневную поверхность, и удаление нефти и/или нефтепродукта с дневной поверхности, согласно изобретению подачу воды в подстилающий водоносный слой осуществляют посредством гидрозавесы, выполненной в виде канавы, расположенной вдоль обвалования с ее наружной по отношению к месту загрязнения стороны, и гидравлически сообщенной с подстилающим водоносным слоем. Канаву заполняют водой до уровня, превышающего уровень дневной поверхности грунта места загрязнения и уровень жидкой фазы на этом месте загрязнения и обеспечивающего в месте загрязнения изменение направления движения жидкой фазы в подстилающем водоносном слое на противоположное. Канаву по длине разделяют на участки перемычками, обеспечивающими возможность создания перепада уровней воды между смежными участками канавы. Одновременно с этим осуществляют подачу воды под напором в подстилающий водоносный слой путем ее закачки, по меньшей мере, через одну скважину, выполненную в средней части места загрязнения с площадки, образованной насыпью и/или возвышенным участком рельефа. Обычно канаву выполняют в полунасыпи-полувыемке, а в случае нахождения внутри места загрязнения не загрязненного возвышенного участка рельефа этот участок рельефа обваловывают, а внутри его вдоль обвалования выполняют гидрозавесу.
Сущность технического решения заключается, прежде всего, в том, что в случае высокого уровня грунтовых вод в месте загрязнения (по данным источника [6] 90% трасс трубопроводов для большинства нефтяных месторождений Западной Сибири проходят по болотам) практически сразу с момента задействования гидрозавесы предотвращается дальнейшее проникновение нефти в грунт и начинается его промывка, при этом низкозатратная гидрозавеса функционально полностью и более качественно заменяет высокозатратную льдогрунтовую стенку и в существенной мере заменяет систему нагнетательных скважин. При этом разделение канавы по длине перемычками на участки позволяет выполнить гидрозавесу на неровном рельефе местности, а возникшая при большой площади места загрязнения неравномерность в интенсивности промывки грунта в существенной мере устраняется путем задействования в средней части места загрязнения, по меньшей мере, одной нагнетательной скважины.
Использование гидрозавесы для защиты местности от загрязнения вообще и выполненной в виде заполненной водой канавы (канала), в частности, специалистам известно. Работа канавной (траншейной) гидрозавесы раскрыта, например, в авторских свидетельствах СССР №1490219, №1030469, №855115, №853000. Однако в этих и других известных источниках гидрозавеса выполняет только функцию противофильтрационного элемента, в предлагаемом же способе гидрозавеса дополнительно обеспечивает промывку загрязненного грунта, вследствие того что естественное направление движения жидкости в грунте изменяется на противоположное.
Одновременно с этим разделение канавы по длине на участки перемычками и закачивание воды через скважину, выполненную в средней части места загрязнения, существенно влияют на указанный технический результат. Поэтому эти признаки обеспечивают предложенному техническому решению изобретательский уровень.
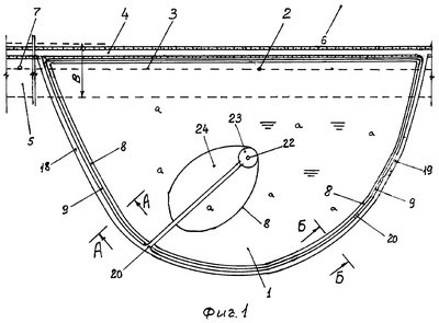
Способ поясняется чертежом, где на фиг.1 схематично изображено место загрязнения, план; на фиг.2 и фиг.3 – разрезы А-А и Б-Б на фиг.1, варианты выполнения гидрозавесы.
Пример. Место загрязнения 1 (фиг.1) образовалось на заболоченном лугу с редколесьем в результате аварийного разлива нефти из повреждения 2 магистрального нефтепровода 3. Это место 1 ограничено с одной стороны насыпью автодороги 4, расположенной с нефтепроводом 3 в одном отведенном коридоре 5 шириной В, а с других сторон – рельефом местности и в зависимости от объема пролитой нефти. Насыпь автодороги 4 расположена в непосредственной близости к нефтепроводу 3 и отгораживает от него заливную пойму 6. Именно при подобном загрязнении таких водонасыщенных, обводненных грунтов и грунтов с высоким уровнем грунтовых вод возникают наибольшие трудности при их очистке [3, с.55].
В таком случае, прежде всего в ближайших колодцах 7 перекрывают нефтепровод 3, а от дальнейшего растекания нефти в плане место загрязнения 1 локализуют обвалованием 8, с наружной стороны которого по контуру места загрязнения 1 в полунасыпи-полувыемке выполняют канаву 9. Откосы 10 канавы 9 выполняют с превышением их гребней 11 над дневной поверхностью 12 грунта места загрязнения 1 и на заданную величину “ ” над уровнем жидкой фазы 13 на месте загрязнения 1. Полость канавы 9 гидравлически, при необходимости, сообщают с подстилающим водоносным слоем 14. После этого из источника (на чертеже источник не показан) в канаву 9 подают воду с интенсивностью, обеспечивающей превышение уровня воды 15 в канаве 9 над уровнем дневной поверхности 12 грунта места загрязнения 1 и над уровнем 13 жидкой фазы (водонефтяная смесь) на этом месте загрязнения.
Обвалование 8 и канаву 9 выполняют следующим образом. Если верхний слой 16 грунта обладает достаточной несущей способностью для прохождения землеройной техники (фиг.2), то сначала выполняют обвалование 8 с одновременным образованием в грунте углубления 17 с наружной стороны обвалования 8, после чего из насыпного грунта завершают выполнение канавы в полунасыпи-полувыемке с образованием вдоль канавы проезда 18. При этом углубление 17 прорезает верхний слой 16, что обеспечивает гидравлическую связь канавы 9 с более водонепроницаемым подстилающим водоносным слоем 14. Если слой 16 не обладает достаточной несущей способностью (фиг.3), то сначала из слабопроницаемого грунта выполняют уширенную подсыпку 19, после чего ее вместе с верхним слоем 16 прорезают канавой 9. По длине канаву 9, обычно при заполнении ее водой, разделяют на участки слабофильтрующими перемычками 20, обеспечивающими возможность создания перепада уровней воды между смежными участками канавы 9 в зависимости от неровности дневной поверхности 12 грунта. При задействовании канавы 9 в зимне-весеннее время года ее гидравлически сообщают с подстилающим водоносным слоем 14 путем нарушения сплошной монолитности сезонно-мерзлого дна канавы 9.
После наполнения канавы 9 водой до заданного на каждом ее участке уровня 15 естественным путем происходит напорная фильтрация воды из канавы 9 в водоносный слой 14, а из него в место загрязнения 1, что сопровождается поднятием уровня грунтовой воды 21 до встречи ее с инфильтрующей вниз нефтью. После этого проникновение нефти в грунт прекращается, и по мере инфильтрации воды из канавы 9 происходит плавное без перемешивания вымывание (вытеснение) нефти из грунта на дневную поверхность 12.
Одновременно с этим дополнительно осуществляют подачу воды под напором в подстилающий водоносный слой 14 путем ее закачки, по меньшей мере, через одну скважину 22, выполненную в средней части места загрязнения с площадки, образованной насыпью 23 и/или возвышенным участком 24 рельефа. Этот возвышенный участок 24 локализуют от дальнейшего загрязнения в весенне-осенний период обвалованием 8, а внутри него вдоль обвалования 8 выполняют гидрозавесу – не показана. Все это повысит как равномерность вымывания нефти из грунта на его дневную поверхность, так и эффективность способа в целом.
Скопившуюся над дневной поверхностью 12 водонефтяную смесь собирают различными известными средствами и направляют в предварительно подготовленные емкости (не показаны), где ее разделяют на нефть и воду. После чего территорию обрабатывают препаратами и, при необходимости, проводят техническую и биологическую рекультивацию почвы одним из известных способов.
Использованные источники
1. Патент RU №2160642 С1, МПК В 09 С 1/100, опубликованный 20.12.2000.
2. Патент RU №2238806 С1, МПК В 09 С 1/00, опубликованный 27.10.2004.
3. Телегин Л.Г., Ким Б.Н., Зоненко В.И. Охрана окружающей среды при сооружении и эксплуатации газонефтепроводов. М.: «Недра», 1988. С.55-56.
4. Патент RU №2238806 С1, МПК В 09 С 1/00, опубликованный 20.03.2003.
5. Заявка (формула) RU №94035710 A1, МПК В 09 С 1/00, опубликованный 27.05.97 (прототип).
Формула изобретения
1. Способ очистки загрязненного нефтью и/или нефтепродуктом грунта, включающий локализацию обвалованием места загрязнения, подачу в подстилающий водоносный слой воды под напором с интенсивностью, обеспечивающей в месте загрязнения поднятие уровня грунтовой воды с вымываемой из грунта нефтью и/или нефтепродуктом на его дневную поверхность, и удаление нефти и/или нефтепродукта с дневной поверхности, отличающийся тем, что подачу воды в подстилающий водоносный слой осуществляют посредством гидрозавесы, выполненной в виде канавы, расположенной вдоль обвалования с ее наружной по отношению к месту загрязнения стороны, гидравлически сообщенной с подстилающим водоносным слоем и заполненной водой до уровня, превышающего уровень дневной поверхности грунта места загрязнения и уровень жидкой фазы на этом месте загрязнения и обеспечивающего в месте загрязнения изменение движения жидкой фазы в подстилающем водоносном слое на противоположное, причем канаву по длине разделяют на участки перемычками, обеспечивающими возможность создания перепада уровней воды между смежными участками канавы, при этом дополнительно осуществляют подачу воды под напором в подстилающий водоносный слой путем ее закачки, по меньшей мере, через одну скважину, выполненную в средней части места загрязнения с площадки, образованной насыпью и/или возвышенным участком рельефа.
2. Способ по п.1, отличающийся тем, что канаву выполняют в полунасыпе-полувыемке.
3. Способ по п.1, отличающийся тем, что в случае нахождения внутри места загрязнения не загрязненного возвышенного участка рельефа, этот участок рельефа обваловывают, а внутри него вдоль обвалования выполняют гидрозавесу.
РИСУНКИ
MM4A – Досрочное прекращение действия патента СССР или патента Российской Федерации на изобретение из-за неуплаты в установленный срок пошлины за поддержание патента в силе
Дата прекращения действия патента: 17.03.2007
Извещение опубликовано: 27.06.2008 БИ: 18/2008
|
|