|
(21), (22) Заявка: 2005123748/12, 26.07.2005
(24) Дата начала отсчета срока действия патента:
26.07.2005
(46) Опубликовано: 20.03.2007
(56) Список документов, цитированных в отчете о поиске:
SU 1183208 А1, 07.10.1985. SU 1834720 A3, 15.08.1993. RU 2200067 C1, 10.03.2003. RU 2160641 C1, 20.12.2000. US 4146406 A, 27.03.1979. US 3104672 A, 24.09.1963. US 1838634 A, 29.12.1931.
Адрес для переписки:
197374, Санкт-Петербург, ул. Беговая, 5, корп.2, кв.229, пат.пов. М.И.Лифсону
|
(72) Автор(ы):
Смолянов Владимир Михайлович (RU), Журавлев Алексей Викторович (RU), Новосельцев Дмитрий Вячеславович (RU), Груздев Сергей Геннадиевич (RU), Рыжов Игорь Лазаревич (RU)
(73) Патентообладатель(и):
Общество с ограниченной ответственностью ООО Компания “Чистые технологии” (RU)
|
(54) КРЫШКА ТЕХНОЛОГИЧЕСКАЯ УНИВЕРСАЛЬНАЯ
(57) Реферат:
Изобретение относится к запорным устройствам, в частности к технологическим крышкам, предназначенным для фиксации положения моечного устройства внутри горловины железнодорожных цистерн. Крышка содержит корпус крышки с фланцем, в котором выполнено отверстие для установки опуска, снабженного устройством для подвода моющего раствора к моечной головке, приспособление для сброса избыточного давления в цистерне, выполненное в виде вертикального лабиринта, устройство подвеса для транспортировки крышки, а к нижней части корпуса прикреплен кожух, выполненный из эластичного упругого материала, внутри которого размещена резиновая камера с ниппелем, выведенным наружу крышки. Опуск выполнен в виде конструкции труба в трубе, верхняя часть внешней трубы снабжена приспособлением для подвода воздуха в межтрубное пространство. Приспособление для сброса избыточного давления выполнено с возможностью размещения в нем ключа для открытия нижнего клапана цистерны и снабжено приспособлением для крепления шланга. Моющая головка установлена на внутренней трубе опуска, для подачи моющего раствора, посредством специальных шарнирных насадок, обеспечивающих изменение положения моечной головки. Приспособления для подачи моющего раствора и воздуха в межтрубное пространство выполнены в виде гидравлического вращающегося контактного узла. К преимуществам предлагаемого технического решения следует отнести простоту конструкции, удобство в эксплуатации, универсальность применения и надежную герметизацию горловины цистерны. 3 з.п. ф-лы, 5 ил.
Изобретение относится к запорным устройствам, в частности к технологическим крышкам, предназначенным для фиксации положения моечного устройства внутри горловины железнодорожных цистерн. Оно может быть использовано на емкостях, работающих под давлением, автотранспортных цистернах и других резервуарах, внутреннюю поверхность которых необходимо отмывать от различного рода загрязнений.
В соответствии с требованиями, предъявляемыми к железнодорожным и автоцистернам, предназначенным для перевозки жидких продуктов, например нефтепродуктов, внутренняя поверхность их после слива очищается от загрязнений посредством мойки и/или пропарки.
В процессе очистки необходимо применять различное оборудование и обеспечивать безопасность обслуживающего персонала, причем время мойки и сушки поверхности цистерн должно быть минимизировано, без снижения качества мойки.
В зависимости от преследуемых целей собственная крышка цистерны заменяется на технологическую, при этом герметизация ее с горловиной цистерны должна быть обеспечена.
Известна крышка, которая содержит корпус в виде колпака 1, внутри которого установлен поршень 2, во фланце которого размещена кольцевая герметизирующая прокладка 3, по торцу – уплотнение 4. Поршень подпружинен пружиной 5, создающей предварительное поджатие по месту герметизации. В корпусе крышки установлены ручка 6, предохранительный клапан 7 и упорное кольцо 8. Поршень имеет сквозное отверстие 9 на своем торце.
В каждом поршне с внутренней стороны установлены предохранительные клапаны 7. Заглушки 12 и 13 могут быть установлены с предохранительными клапанами на соответствующее давление. Причем предохранительные клапаны при необходимости имеют фиксированное состояние в положении “Открыто”. Крышка устанавливается на емкость, диаметр по месту герметизации которого не превышает диаметра уплотнения 4. Нажимая на крышку сверху, дают предварительное усилие герметизации и запорными элементами 15 закрепляют ее на емкости.
При диаметре по месту герметизации меньше, чем диаметр поршня 10, снимают заглушку 12, а с поршня 11 заглушку 13, т.е. тем самым уменьшают усилие по месту герметизации. При повышении давления, при котором усилие необходимо уменьшить, открывается клапан на заглушке 12, а позже и на заглушке 13, при условии, что диаметр емкости по месту герметизации меньше диаметра уплотнения 16 поршня 10, но больше диаметра поршня 11, при этом должен срабатывать клапан только заглушки 12, а в заглушке 13 не должен, так как в противном случае сосуд разгерметизируется.
Винтовые зажимы 15 обеспечивают установку крышки на емкость с любым диаметром не больше внешнего диаметра уплотнения 4, но и не меньше его внутреннего диаметра. Эти зажимы могут быть выполнены и на крышке (Патент РФ №2044943).
Это устройство обладает сложной конструкцией, причем герметизация обеспечивается за счет регулирования пружин, которые подвержены старению, поэтому не позволяют достигнуть надежной герметизации.
Все усилия по прижатию крышки к сосуду осуществляются за счет поршня, расположенного в колпаке, т.е. только сверху, поэтому существует опасность при большом давлении внутри сосуда и неисправности клапана сброса крышки и полной разгерметизации резервуара.
Известные крышки для железнодорожных или автоцистерн содержат уплотняющую кольцевую прокладку горловины люка, ограничители уровня налива, огневой предохранитель, выполненный различными способами, либо посредством алюминиевого кольца, размещенного в периферийном канале фланца крышки, или изготовления крышки из цветного материала. Крышка содержит приспособления для установки устройства верхнего слива (УВС) и устройства сброса давления. Сама крышка крепится к фланцу горловины с помощью болтового соединения, а между фланцами крышки и горловины размещено уплотнительное кольцо (Вагоны. Учебник для вузов железнодорожного транспорта. Под. ред. Л.А.Шадурова, М. “Транспорт”, 1980 г., изд. 3-е перераб. и допол.).
При отмывке внутренней поверхности цистерн применяются экологически чистые замкнутые технологии, осуществляемые с применением технических моющих средств. В связи с этим изменяется и конструкция технологических крышек цистерн, резервуаров и т.п. Некоторые конструкции технологических крышек приведены в брошюре “Отмывка котлов железнодорожных цистерн, пассажирских вагонов, локомотивов и ходовой части подвижного состава”, “Чистые технологии”, Санкт-Петербург, 2002 г., с.20.
При очистке внутренней поверхности цистерны в отверстие крышки для УВС подводится пар. Однако такой метод очистки внутренней поверхности цистерн в настоящее время не является экологически чистым, поэтому технологически он устарел.
В дополнение к ранее известным элементам крышка снабжена приспособлением для подвода моющего раствора и опуском, с закрепленными на нем моечными головками. В изобретении ” Способ подготовки газовых цистерн к ремонту и/или техническому освидетельствованию и устройство для его реализации” (Патент РФ №2205709) крышка горловины цистерны выполнена из цветного материала и снабжена, кроме уже известных элементов, также барботером.
Наиболее близким к заявляемому техническому решению по назначению и существенным признакам является техническое решение, защищенное патентом РФ №44974 на полезную модель.
Крышка технологическая горловины железнодорожной цистерны содержит корпус с фланцем, в котором выполнено заглушенное отверстие для установки устройства верхнего налива, отверстие для установки опуска, снабженного моечной головкой и устройством подвода моющего раствора, приспособление для сброса избыточного давления, выполненное в виде вертикального лабиринта, двумя стяжными механизмами, расположенными по диагонали симметрично оси фланца, к нижней части корпуса прикреплен кожух, выполненный из упругого эластичного материала, внутри которого размещена резиновая камера, снабженная ниппелем, выведенным на поверхность крышки.
Несмотря на простоту достижения герметизации крышки, в процессе ее эксплуатации, по различным причинам, резиновая камера выходит из строя и ее приходится заменять, но из-за крепления крышки к горловине цистерны специальными стопорами эта операция требует достаточно много времени.
Технологическая крышка имеет ограниченное применение, т.к. не все операции по подготовке цистерн к наливу можно реализовать, в частности сушку ее после мойки внутренней поверхности. Отсутствует возможность изменения положения моечной головки при осуществлении мойки внутренней поверхности цистерны.
При снижении давления возможен выхлоп газа или моющего раствора в зону нахождения обслуживающего персонала.
Технической задачей, решаемой предполагаемым изобретением, является создание универсальной конструкции крышки горловины цистерны, обеспечивающей удобство эксплуатации, надежную герметизацию и широкое применение при отмывке или обработке внутренней поверхности как железнодорожных цистерн, так и автоцистерн и других резервуаров, работающих под давлением.
Технический результат достигается за счет того, что в известную конструкцию крышки технологической для мойки внутренней поверхности цистерны, содержащей корпус крышки с фланцем, в котором выполнено отверстие для установки опуска, снабженного устройством для подвода моющего раствора к моечной головке, приспособление для сброса избыточного давления в цистерне, выполненное в виде вертикального лабиринта, устройство подвеса для транспортировки крышки, а к нижней части корпуса прикреплен кожух, выполненный из эластичного упругого материала, внутри которого размещена резиновая камера с ниппелем, выведенным наружу крышки, внесены изменения и дополнительные элементы, а именно:
– опуск выполнен в виде конструкции труба в трубе, причем верхняя часть внешней трубы снабжена приспособлением для подвода воздуха в межтрубное пространство;
– в нижней части межтрубного пространства установлены рассекатели воздуха;
– в нижней части наружной трубы, находящейся ниже корпуса крышки, на разной высоте, выполнены отверстия для регулирования воздушного потока, закрываемые заглушками;
– приспособление для сброса избыточного давления выполнено с возможностью размещения в нем ключа для открытия нижнего клапана цистерны и снабжено приспособлением для крепления шланга;
– моющая головка установлена на внутренней трубе опуска, для подачи моющего раствора, посредством специальных шарнирных насадок, обеспечивающих изменение положения моечной головки;
– приспособления для подачи моющего раствора и воздуха в межтрубное пространство выполнены в виде гидравлического вращающегося контактного узла;
– устройство подвеса выполнено с возможностью изменения его положения.
Предлагаемая конструкция опуска значительно расширяет возможности применения крышки, т.к. благодаря подводу воздуха во внешнюю трубу опуска можно обеспечить вентиляцию внутренней поверхности цистерны перед ее мойкой и осуществить процесс сушки после окончания мойки внутренней поверхности.
Возможность удаления загрязненного моющего раствора через нижний клапан цистерны более предпочтительна, чем использование устройства верхнего слива (УВС), т.к. не требует специального насоса для откачки загрязненного моющего раствора, тем самым облегчает эксплуатацию оборудования и позволяет расширить функциональные возможности крышки за счет более рационального использования ее для размещения дополнительного оборудования.
Размещение рассекателей в нижней части межтрубного пространства позволяет создать направленный поток воздуха (пара и т.п.) через патрубки в нижней части опуска, а отверстия, снабженные заглушками, позволяют регулировать поток воздуха по высоте цистерны.
Установка моющей головки посредством специальных шарнирных насадок, закрепленных на нижнем патрубке внутренней трубы, позволяет расширить ассортимент типоразмеров моющих головок, в зависимости от размера котла цистерны, отмываемого продукта и условий мойки.
Возможность изменения положения подвеса позволяет оцентровать крышку по весу перед установкой ее в горловине цистерны.
Использование гидравлических вращающихся контактных узлов в качестве приспособлений для подачи моющего раствора, воздуха и на выходе вертикального лабиринта позволяет быстро осуществить их сочленение с соответствующими шлангами и оперативно фиксировать крышку независимо от положения цистерны.
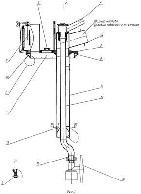
Конструкция технологической универсальной крышки представлена на фигурах 1-5.
На фиг.1 приведен общий вид универсальной крышки, а на фиг.2 показана проекция крышки с отдельными сборочными деталями. На фиг.3 показано размещение ниппеля резиновой камеры, а на фиг.4-5 – соответствующие сечения нижней части опуска.
На фиг.1 и 2 показаны корпус крышки 1 с фланцем 2, в одно из отверстий которого вставлена заглушка 3, приспособление 4 для подвода моющего раствора, втулка с фланцем 5 для крепления опуска 6 на крышке, вертикальный лабиринт 7, эластичный кожух 8, прикрепленный лентой 9 с помощью заклепок к корпусу крышки 1, резиновая камера 10 с ниппелем 11 (фиг.3), наружная труба 12 опуска, внутренняя труба 13 опуска, приспособление 14 для подвода воздуха, патрубки отвода воздуха 15, трубчатые насадки 16, приспособление для крепления шланга выхлопного устройства 17, приспособление 18 для крепления подвеса 19, моечная головка 20.
На фиг.2 показаны также вращающиеся контактные узлы для подвода воздуха 24, отвода выхлопов 26, заглушка 25 и крепление 23 насадки 16.
На фиг.3 кроме ниппеля 11 показана ниппельная резинка 21 подвода воздуха к резиновой камере и кольцевая прокладка 22, которая расположена между камерой 10 и фланцем 2 корпуса крышки 1.
На фиг.4 показано относительное расположение выходных патрубков 15 наружной трубы и крепление 23 насадки 16 к внутренней трубе, а также моечная головка 20. На фиг.5 показан рассекатель воздуха 27, который является экраном, направляющим воздушный поток в патрубки 15.
Устройство работает следующим образом. Перед установкой крышки на горловину цистерны к фланцу 2 крышки прикрепляется посредством втулки 5 опуск со всеми его узлами. Затем при помощи грузоподъемного механизма, снабженного пневмоприводом (не показан), крышку посредством подвеса 19, предварительно закрепленного на планке 18, перемещают к горловине цистерны. Для достижения строго вертикального положения имеется возможность отрегулировать положение подвеса 19.
Крышка устанавливается в отверстие горловины железнодорожной цистерны таким образом, чтобы отверстия для крепления в обоих фланцах (крышки и горловины) совпадали.
К ниппелю 11 подсоединяют шланг от компрессора и накачивают резиновую камеру 10. Под давлением воздуха эластичный кожух 8 перекроет пространство между корпусом 1 и горловиной, обеспечивая хорошую герметизации цистерны. За счет прижатия фланца 2 корпуса крышки 1 и кольцевого уплотнения (прокладки) 22 достигается герметизация верхней части горловины.
К устройству 4 подвода моющего раствора и устройству 14 для подвода воздуха в межтрубное пространство, снабженному вращающимся контактным узлом 24, крепятся соответствующие шланги. С выходного патрубка 17 выхлопного устройства (вертикальный лабиринт 7) снимают заглушку 25 и устанавливают приспособление 26 для крепления шланга для отвода возможных выбросов загрязненного моющего раствора или воздуха.
Цистерна готова к отмывке от остатков нефтепродуктов или других углеводородных загрязнений.
В случае необходимости проводят вентиляции внутреннего объема цистерны, для чего в наружную трубу 12 подают воздух в течение определенного времени.
Затем во внутреннюю трубу 13 подается моющий раствор марки ОБИС или ОБИСМ и начинается процесс отмывки.
Отмывка внутренней поверхности цистерны осуществляется при давлении струи 1,0-1,5 МПа при температуре моющего раствора 40-55°С, при этом внутри цистерны возникает избыточное давление, под действием которого моющий раствор через отверстие в крышке попадает в лабиринт 7, представляющий вертикальную емкость, разделенную по высоте горизонтальными перегородками, расположенными навстречу друг другу. В результате энергия струи гасится, а потери моющего раствора значительно снижаются и выводятся из зоны нахождения обслуживающего персонала.
За счет крепления моечной головки 20 посредством специальных шарнирных трубчатых насадок 16 моющая головка 20 под действием струй изменяет свое положение и, тем самым, обеспечивается качество отмывки внутренней поверхности цистерны. В случае необходимости такое крепление моющей головки позволяет легко заменить одну моющую головку на другую, в зависимости от условий и качества отмывки поверхности.
Как правило, слив загрязненного моющего раствора из котла цистерны осуществляется через нижний клапан цистерны. Клапан открывают с помощью специального ключа через отверстия вертикального лабиринта 7. Не исключено, что при его неисправности удаление моющего раствора необходимо будет осуществить через верхнее отверстие в крышке. В этом случае удаляется заглушка 3, а на ее место устанавливается устройство верхнего слива.
После окончания промывки внутренней поверхности котла цистерны и слива загрязненного моющего раствора осуществляют сушку внутренней поверхности цистерны.
Сушка осуществляется следующим образом.
Через устройство подвода 14 в межтрубное пространство, образованной внутренней 13 и наружной 12 трубами опуска, вводят горячий воздух с температурой не менее 70°С. Часть воздуха через отверстия, выполненные в наружной трубе 12 (заглушки с них снимаются перед установкой крышки в горловину цистерны), а основная масса рассекателями 27 направляется внутрь цистерны через патрубки 15. В случае выхлопа горячий воздух через лабиринт и шланг удаляется из зоны возможного нахождения обслуживающего персонала.
После окончания процесса сушки и приемки цистерны технологическая крышка удаляется в обратной последовательности, а цистерна направляется под налив.
К преимуществам предлагаемого технического решения следует отнести простоту конструкции, удобство в эксплуатации, универсальность применения и надежную герметизацию горловины цистерны.
Практически аналогичные конструкции крышек могут применяться для горловины автоцистерн или других резервуаров, работающих под давлением.
В настоящее время изготовлено несколько универсальных технологических крышек горловины железнодорожных цистерн, которые находятся в опытно-промышленной эксплуатации.
Формула изобретения
1. Крышка технологическая универсальная для мойки внутренней поверхности цистерны, содержащая корпус с фланцем, в котором выполнено отверстие для установки опуска, закрепленного на нем и снабженного устройством подвода моющего раствора к моющей головке, выхлопное устройство, выполненное в виде вертикального лабиринта и устройство подвеса, причем к нижней части корпуса прикреплен кожух, выполненный из эластичного упругого материала, внутри которого размещена резиновая камера с ниппелем, выведенным из крышки, отличающаяся тем, что опуск выполнен в виде конструкции труба в трубе, причем верхняя часть наружной трубы снабжена устройством для подачи воздуха в межтрубное пространство, в нижней части которого установлены рассекатели воздуха и выходные патрубки, выхлопное устройство выполнено с возможностью размещения в нем ключа для открывания нижнего клапана цистерны и снабжено приспособлением для крепления шланга, а моющая головка крепится к внутренней трубе опуска посредством специальных насадок с возможностью свободного изменения ее положения.
2. Крышка по п.1, отличающаяся тем, что устройство подвеса размещено в пазах с возможностью изменения места его крепления.
3. Крышка по любому из пп.1 и 2, отличающаяся тем, что устройства для подачи моющего раствора и воздуха выполнены в виде гидравлического вращающего контактного узла.
4. Крышка по п.1, отличающаяся тем, что в наружной трубе опуска ниже корпуса крышки выполнены отверстия для выхода воздуха, снабженные заглушками.
РИСУНКИ
|