|
|
(21), (22) Заявка: 2005125135/28, 08.08.2005
(24) Дата начала отсчета срока действия патента:
08.08.2005
(46) Опубликовано: 20.03.2007
(56) Список документов, цитированных в отчете о поиске:
SU 1310040 А, 15.05.1987. ЕР 1120889 А, 08.01.2001. RU 31113 U, 20.07.2003. RU 2253136 C, 27.05.2005.
Адрес для переписки:
630092, г.Новосибирск, пр. Карла Маркса, 20, НТГУ
|
(72) Автор(ы):
Алексеев Анатолий Семенович (RU), Малахов Алексей Петрович (RU), Гилета Виктор Павлович (RU), Малахов Александр Александрович (RU)
(73) Патентообладатель(и):
Новосибирский Государственный Технический Университет (RU)
|
(54) ВИБРОСЕЙСМОИСТОЧНИК
(57) Реферат:
Изобретение относится к вибрационной технике, а именно к устройствам мощных, регулируемых вибросейсмоисточников. Вибросейсмоисточник содержит излучающую плиту, связанную с пригрузочной массой пружинами, корпус с инертной массой, связанной и с корпусом, и с поршневыми группами в цилиндрах штатных ДВС (карбюраторных двигателей внутреннего сгорания) через свои толкатели, все поршневые группы имеют все вспомогательные агрегаты газо- и искрообразования, причем кулачки распределительных валов и прерыватели систем зажигания верхних и нижних поршневых групп каждого цилиндра поршневых групп выполнены идентично, распределительные валы обеих поршневых групп соединены с общим приводом их вращения, а впускные, выпускные клапаны и система искрообразования обеих поршневых групп снабжены соответствующими приводами возвратно-поступательного движения, а каждая свеча системы зажигания снабжена соответствующим электронным прерывателем и катушкой зажигания. Технический результат – упрощение конструкции и повышение коэффициента полезного действия вибросейсмоисточника. 1 з.п. ф-лы, 1 ил.
Изобретение относится к вибрационной технике, а именно к устройствам мощных регулируемых вибросейсмоисточников.
Известен вибросейсмоисточник [Регулируемый эксцентриковый вибровозбудитель. Патент РФ №2240871. Бюл. №33 от 27.11.2004, Малахов А.П., Чичинин И.С., Малахов А.А., Аносов В.Н., 4 с.], в котором внутри силового вала перпендикулярно его оси запрессован гидроцилиндр. Шток гидроцилиндра связан обоими концами с внутренней поверхностью эксцентрика. Обе полости гидроцилиндра заполнены жидкостью и связаны между собой в крайних положениях гибким трубопроводом. На внешнюю поверхность эксцентрика напрессовано внутреннее кольцо силового подшипника, а внешнее кольцо этого же подшипника через тягу-толкатель и подвижную скалку связано с инертной массой вибровозбудителя.
Недостатком такого вибросейсмоисточника является зависимость усилий колебаний от частоты вращения силового вала и поддержание усилий колебаний на заданном уровне возможно только при снижении их частоты от максимального значения вниз.
Наиболее близким к изобретению по технической сущности и достигаемому результату является вибросейсмоисточник (прототип), содержащий систему управления, насосную станцию, гидравлический усилитель, исполнительный механизм в виде массивного поршня, выполняющего роль инертной массы, помещенной в средней части корпуса гидроцилиндра, опирающейся на излучающую платформу, прижатую к грунту через пружины пригрузочной массой [Шагинян А.С. Создание вибрационных источников большой мощности для глубинного зондирования Земли. – Проблемы вибрационного просвечивания Земли. М., «Наука», 1977, с.131-133].
Недостатками этого вибросейсмоисточника являются сложность конструкции и низкий коэффициент полезного действия.
Задачей изобретения является упрощение конструкции и повышение коэффициента полезного действия вибросейсмоисточника.
Указанная задача достигается тем, что в вибросейсмоисточник, содержащий излучающую плиту, связанную с пригрузочной массой пружинами, корпус с установленной в его средней части инертной массой, систему управления, введены карбюраторные двигатели внутреннего сгорания с блоками и головками цилиндров, поршневыми группами и всеми вспомогательными агрегатами газо- и искрообразования пружины с амортизаторами, связанными с корпусом и инертной массой с обеих сторон, а кроме того, указанная инертная масса, помещенная в середину корпуса с возможностью относительно него перемещения с обеих сторон (верхом и низом), жестко связана шатунами с поршнями, установленными в средних частях цилиндров с возможностью продольного относительно них перемещения, причем кулачки распределительных валов головок цилиндров и прерыватели систем зажигания верхних и нижних поршневых групп выполнены идентично, распределительные валы обеих поршневых групп соединены с общим приводом их вращения, а каждая свеча системы зажигания имеет свою катушку зажигания, катушки зажигания объединены в группы, которые снабжены групповыми прерывателями.
Кроме того впускные и выпускные клапаны обеих поршневых групп могут быть снабжены соответствующими приводами возвратно-поступательного движения, а прерыватели групп катушек зажигания могут быть выполнены электронными.
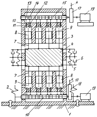
На чертеже дан поперечный разрез предлагаемого вибросейсмоисточника со средним положением инертной массы в корпусе вибросейсмоисточника и поршней в цилиндрах.
Вибросейсмоисточник содержит излучающую плиту 1, связанную с пригрузом (не показан) силовыми пружинами 2, корпус 3 с подвижной инертной массой 4, связанной с корпусом 3 пружинами 5 и амортизаторами 6. Инертная масса 4 с обеих сторон (сверху и снизу) толкателями 7 жестко связана с поршнями 8, установленными с возможностью продольного перемещения в цилиндрах 9. Все цилиндры снабжены свечами зажигания 10, впускными 11 и выпускными 12 клапанами с соответствующими кулачками 13, 14 на распределительных валах 15, 16. Распределительные валы 15,16 соответственно установлены с возможностью вращения в верхней и нижней частях корпуса 3. Все кулачки 13 впускных клапанов 11 и кулачки 14 выпускных клапанов 12 между собой имеют пространственный угол в 90°, пространственный угловой сдвиг верхнего распределительного вала 15 по отношению к нижнему распределительному валу 16 имеет угол, равный 180°. Свечи зажигания 10 верхних и нижних поршней подключены к катушкам зажигания 17, 18, прерыватели которых вместе с распределителями зажигания (не показаны) связаны с соответствующими приводами.
Вибросейсмоисточник работает следующим образом. С помощью специальных приводов запускаются все вспомогательные агрегаты вибросейсмоисточника. Затем одновременно с началом подачи бензовоздушной смеси в соответствующие поршневые группы системой управления одновременно включаются приводные синхронные электродвигатели 19 распределительных валов 15, 16, которые через свои кулачки 13, открывая клапаны 11, подают бензовоздушную смесь одновременно во все верхние или нижние цилиндры поочередно. После полного закрытия всасывающих клапанов на все верхние свечи зажигания от верхних групп катушек зажигания 17 (на чертеже показана одна катушка) подаются повышенные напряжения. После зажигания горючей смеси во всех верхних цилиндрах создаются повышенные давления сгорающих газов. Эти повышенные давления создают усилия на торцы поршней 8, которые через пальцы и толкатели 7, жестко связанные с инертной массой 4, передают на нее суммарное усилие. При этом одновременно через верхнюю крышку цилиндров усилия сгоревших газов передаются на корпус 3 вибросейсмоисточника, что приводит к соответствующей передаче суммарного усилия через излучающую плиту 1 на грунт. Это усилие формируется в течение 90° половины периода создаваемого колебания. Затем распределительным валом через кулачки 14 открываются все выхлопные клапаны 12 и газ повышенного давления сбрасывается в емкость пониженного давления (не показана) и выхлопную трубу. Инертная масса 4 пружинами 5 возвращается в исходное положение. Затем вновь, через 90° во времени, все аналогичные процессы происходят с нижним комплектом поршней и цилиндров и создается другая полярность колебаний на грунт. При этом распределительные валы 15, 16 вращаются двигателями 19 синхронно и синфазно и дополнительно могут быть связаны между собой, например, цепной передачей. В этом случае двигатели будут загружены более равномерно в течение каждого цикла создаваемых колебаний. Причем системой управления и двигателями 19 и, соответственно, всем вибросейсмоисточником могут создаваться колебания и с повышением и с понижением этих частот колебаний при постоянстве их усилий. В целом, из-за исключения вращающихся силовых элементов упрощается конструкция вибросейсмоисточника, а из-за однократного преобразования энергии сгоревших газов в энергию вибраций плиты значительно повышается его коэффициент полезного действия.
Конструкция вибросейсмоисточника еще более упрощается, если все группы впускных и выпускных клапанов снабдить приводами возвратно-поступательного движения, а все группы катушек зажигания снабдить соответствующими групповыми электрическими прерывателями. Такое выполнение вибросейсмоисточников необходимо выполнять при их применении в сейсморазведочных работах, где требуется создавать частоты виброколебаний до 250 Гц. Последнее определяет частоту вращения приводных двигателей 19, которая будет достигать величин в 15000 об/мин, что на серийно выпускаемых электродвигателях трудно выполнимо.
Вибросейсмоисточник выполняется на основе серийных (штатных) ДВС. Так, например, для создания передвижного вибросейсмоисточника на амплитуду усилий 30 тс (тонносил) в диапазоне частот 5÷200 Гц используются 4 поршневые группы (две вверху и две внизу) двигателей внутреннего сгорания для автомобилей ВА3-2103 или ВА3-2106 с диаметрами поршней 76 или 79 мм.
Вибросейсмоисточник снабжен всем штатным комплектом вспомогательных агрегатов выбираемого для его построения типа ДВС с соответствующим приводом (не показан) и, в том числе, вибросейсмоисточник снабжается дополнительным автоматизированным приводом дроссельных заслонок карбюраторов газообразования горючей смеси (не показаны).
Формула изобретения
1. Вибросейсмоисточник, содержащий излучающую плиту, связанную с пригрузочной массой пружинами, корпус с установленной в его средней части инертной массой, систему управления, отличающийся тем, что в него введены карбюраторные двигатели внутреннего сгорания с блоками и головками цилиндров, поршневыми группами и всеми вспомогательными агрегатами газо- и искрообразования, пружины с амортизаторами, связанными с корпусом и инертной массой с обеих ее сторон, а кроме того, указанная инертная масса, помещенная в середину корпуса с возможностью относительно него перемещения с обеих сторон, жестко связана шатунами с поршнями, установленными в средних частях цилиндров с возможностью продольного относительно них перемещения, причем кулачки распределительных валов головок цилиндров и прерыватели систем зажигания верхних и нижних поршневых групп каждого цилиндра поршневых групп выполнены идентично, распределительные валы обеих поршневых групп соединены с общим приводом их вращения, а каждая свеча системы зажигания имеет свою катушку зажигания, катушки зажигания объединены в группы, которые снабжены групповыми прерывателями.
2. Вибросейсмоисточник по п.1, отличающийся тем, что впускные и выпускные клапаны обеих поршневых групп снабжены соответствующими приводами возвратно-поступательного движения, а прерыватели групп катушек зажигания выполнены электронными.
РИСУНКИ
|
|