|
|
(21), (22) Заявка: 2005129101/03, 20.09.2005
(24) Дата начала отсчета срока действия патента:
20.09.2005
(43) Дата публикации заявки: 27.01.2006
(46) Опубликовано: 20.03.2007
(56) Список документов, цитированных в отчете о поиске:
SU 829188 A1, 15.05.1981. SU 507292 A1, 25.03.1976. SU 335007 A1, 01.01.1972. SU 1349794 A1, 07.11.1987. SU 1142170 A1, 28.02.1985.
Адрес для переписки:
109456, Москва, Рязанский пр-кт, 73, кв.230, С.Б. Бабакину
|
(72) Автор(ы):
Бабакин Сергей Борисович (RU), Бабакин Борис Сергеевич (RU)
(73) Патентообладатель(и):
Бабакин Сергей Борисович (RU), Бабакин Борис Сергеевич (RU)
|
(54) КРИОЭЛЕКТРОСЕПАРАТОР ДЛЯ РАЗДЕЛЕНИЯ ПИЩЕВОГО СЫРЬЯ
(57) Реферат:
Изобретение может быть использовано в пищевой, рыбной, мясо-молочной промышленности для криоразделения пищевых сыпучих влагонасыщенных смесей. Позволяет повысить эффективность разделения измельченного сырья с влажной структурой на фракции. Криоэлектросепаратор содержит теплоизолированную камеру, питатель, вертикально установленные коронирующий, заземленный и электростатический электроды. Криокамера оснащена трубопроводом с форсунками для подачи жидкого хладагента. В теплоизолированной камере оборудована криокамера с вибропитателем и трубопроводом с форсунками для подачи жидкого хладагента и создания в криокамере температуры ниже, чем температура в теплоизолированной камере. Сырье поступает сначала в криокамеру, где составные компоненты приобретают на вибропитателе трибозаряд, а затем уже направляются в межэлектродное пространство для окончательного разделения. Под действием электрических сил частицы шелухи и мякоти разделяются в отдельные сборники и мякоть отправляется на хранение при отрицательных температурах. 1 з.п. ф-лы, 2 ил.
Изобретение относится к разделению диспергированных смесей по электрофизическим свойствам и может быть использовано для криоразделения пищевых сыпучих смесей.
Известен электрический сепаратор для разделения пищевых сыпучих материалов, включающий морозильную камеру, систему электродов, загрузочный бункер и приемники продуктов разделения [SU №507292, кл. А 22 С 17/04, 1974].
Наиболее близким к изобретению по технической сущности и достигаемому эффекту является электрический сепаратор для разделения пищевых сыпучих материалов, содержащий камеру, выполненную с термоизоляцией, систему электродов, загрузочный бункер, приемники продуктов разделения, холодильную и вакуумную установки для охлаждения заземленного электрода и приемников сырья и вакуумирования холодильной камеры [SU №829188, кл. B 03 С 3/00, 15.05.81].
Недостатком данных сепараторов является сложность системы и низкая эффективность процесса разделения материалов с повышенным содержанием влаги.
Предложенное изобретение направлено на решение технической задачи, заключающейся в повышении эффективности разделения измельченного сырья с влажной структурой на фракции.
Согласно изобретению криоэлектросепаратор для разделения пищевого сырья, содержащий теплоизолированную камеру, питатель, вертикально установленные коронирующий и заземленные электроды и приемники для продуктов разделения, снабжен электростатическим электродом, установленным между коронирующим и заземленным электродами, а заземленный и электростатический электроды выполнены в виде трубчатых элементов, закрепленных на рамах, при этом коронирующий электрод установлен перед электростатическим электродом и выполнен с игольчатыми элементами с меньшим шагом игл в нижней части для создания неравномерного воздушного потока, причем камера оснащена трубопроводом с форсунками для подачи жидкого хладагента, при этом внутри теплоизолированной камеры оборудована криокамера с размещенными в ней вибропитателем и трубопроводом с форсунками для подачи жидкого хладагента.
Для достижения этого технического результата камерный криоэлектросепаратор для разделения пищевого сырья включает теплоизолированную камеру, питатель, вертикально установленные коронирующий и заземленные электроды и приемники для продуктов разделения, согласно изобретению он снабжен электростатическим электродом, установленным между коронирующим и заземленным электродами, выполненными в виде трубчатых элементов, закрепленных вертикально на рамах, коронирующий электрод выполнен с переменным шагом игольчатых элементов, причем камера оснащена форсунками для подачи жидкого хладагента, а внутри камеры смонтирована криокамера с размещенными в ней вибропитателем и трубопроводом с форсунками для подачи жидкого хладагента.
Возможна горизонтальная установка трубчатых элементов на электростатическом и на заземленных электродах.
Целесообразно в коронирующем электроде игольчатые элементы расположить на высоте [0,5-0,75]·Н (Н – высота коронирующего электрода) с шагом между иглами, равным 1l1 (l1 – шаг между иглами коронирующего электрода; H1 – высота верхней части электрода с шагом между иглами l1), а в нижней части электрода с шагом между иглами 0,5 l1, равным l2. Это способствует увеличению скорости воздушного потока, создаваемой электрическим ветром.
Следует отметить, что на траекторию частиц плоской формы положительный эффект оказывает «парусность», т.е. каждая плоская частица, например шелуха, содержащаяся в сыпучем пищевом сырье, ориентируется вдоль силовых линий электрического поля и с меньшим сопротивлением движется в сторону заземленного электрода.
При движении смеси в межэлектродном пространстве для повышения эффективности отделения шелухи от смеси подают потенциал на коронирующий электрод, который создает воздушный поток (электрический ветер), тем самым способствует значительному отклонению траектории движения шелухи в сторону заземленного электрода. Скорость движения воздушного потока (электрического ветра), направлена в сторону электростатического и заземленного электродов, при этом на коронирующий электрод подается одноименный потенциал, соответствующий потенциалу электростатического электрода, значение которого превышает величину потенциала подаваемого на электростатический электрод.
По высоте коронирующего электрода создается электрическое поле с переменной напряженностью, позволяющее увеличивать скорость воздушного потока (электрического ветра) от минимального значения до максимального. Это необходимо для того, чтобы частицы большей крупности могли ориентироваться и двигаться в сторону заземленного электрода. Так как при классификации сырья по размерам с помощью сит невозможно получить одинаковый класс крупности, например, крупность фракции – 3…+2 мм, это означает, что верхнее сито расположено с отверстиями 3 мм, а нижнее – 2 мм. Заземленный электрод может быть выполнен секционированным по количеству составных компонентов сырья.
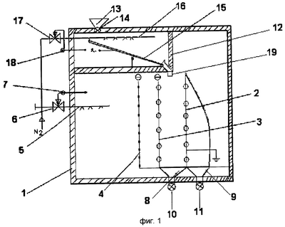
На фиг.1 представлен схематически предлагаемый криоэлектросепаратор, общий вид. На фиг.2 представлен коронирующий электрод.
Предлагаемый криоэлектросепаратор включает теплоизолированную камеру 1, заземленный электрод с трубчатыми элементами, выполненный с возможностью секционирования 2, электростатический трубчатый электрод 3, трубопровод с форсунками для подачи хладагента (азота) 5, соленоидный вентиль 6, термореле 7, приемники продуктов разделения 8, 9, шлюзовые затворы 10, 11. В верхней части камеры 1 смонтирована криокамера 12 с питателем 13 и шлюзовым затвором 14. В криокамере 12 размещены вибропитатель 15 и трубопровод с форсунками для подачи хладагента 16, соленоидный вентиль 17, термореле 18, направляющая и регулирующая поток сырья 19.
Криоэлектросепаратор работает следующим образом. Одновременно в камеру 1 и криокамеру 12 подают соответственно по трубопроводам с форсунками 5, 16 хладагент через соленоидные вентили 6, 17. С помощью термореле 18 поддерживают заданную температуру в камере 12 для осуществления процесса трибоэлектризации компонентов сырья, а в камере 1 с помощью термореле 7 поддерживают заданную температуру, например -10÷-20°С для криоразделения сырья. Затем по питателю 13 через шлюзовой затвор 14 на вибропитетель 15 подают диспергированное замороженное сырье, например замороженные до -20°С и измельченные луковицы, очищенные от корневищ. Составные компоненты сырья (мякоть и шелуха) приобретают на вибропитателе 15 разный по величине трибозаряд, причем чем ниже температура, тем выше величина приобретаемого трибозаряда.
Например, при температуре – 50°С величина трибозаряда измельченных частиц лука крупностью -3…+2 мм составляет для шелухи 4,3-10-7 Кл/кг, для мякоти 2,2-10-7 Кл/кг.
Криоразделение осуществляется в камере 1 при температуре выше, чем температура трибоэлектризации диспергированного (измельченного) сырья в криокамере 12.
Частицы смеси с помощью направляющей 19 и регулирующей поток сырья поступают в межэлектронное пространство электродов 2 и 3. Под действием электрических сил частицы шелухи отклоняются в сторону заземленного электрода 2 и пролетают через межтрубное пространство заземленного электрода 2, который с трех сторон закрыт кожухом. Частицы шелухи под действием силы тяжести осаждаются и поступают в сборник 9, откуда через шлюзовой затвор 11 удаляются из криоэлектросепаратора. Частицы мякоти получают меньший по величине заряд, практически не меняют своей траектории движения, под действием силы тяжести поступают в сборник сырья 8 и затем через шлюзовой затвор 10 удаляются из криоэлектросепаратора. Далее, очищенные от шелухи, замороженные и диспергированные частицы мякоти при температуре -5÷-10°С упаковывают в полиэтиленовые пакеты (мешки), например, при температуре -5÷-15°С, отправляют на длительное хранение в холодильные камеры с температурой -15÷-20°С и ниже.
Таким образом, предлагаемый криоэлектросепаратор позволяет разделять влагонасыщенные диспергированные смеси с большей эффективностью за счет трибоэлектризации смеси при пониженных температурах и предложенной системы электродов и охлаждения.
Формула изобретения
1. Криоэлектросепаратор для разделения пищевого сырья, содержащий теплоизолированную камеру, питатель, вертикально установленные коронирующий и заземленные электроды и приемники для продуктов разделения, отличающийся тем, что он снабжен электростатическим электродом, установленным между коронирующим и заземленным электродами, а заземленный и электростатический электроды выполнены в виде трубчатых элементов, закрепленных на рамах, при этом коронирующий электрод установлен перед электростатическим электродом и выполнен с игольчатыми элементами с меньшим шагом игл в нижней части для создания неравномерного воздушного потока, причем камера оснащена трубопроводом с форсунками для подачи жидкого хладагента, при этом внутри теплоизолированной камеры оборудована криокамера с размещенными в ней вибропитателем и трубопроводом с форсунками для подачи жидкого хладагента.
2. Криоэлектросепаратор по п.1, отличающийся тем, что трубчатые элементы на электростатическом и заземленном электродах установлены горизонтально.
РИСУНКИ
MM4A – Досрочное прекращение действия патента СССР или патента Российской Федерации на изобретение из-за неуплаты в установленный срок пошлины за поддержание патента в силе
Дата прекращения действия патента: 21.09.2007
Извещение опубликовано: 20.05.2009 БИ: 14/2009
|
|