|
|
(21), (22) Заявка: 2005126990/03, 26.08.2005
(24) Дата начала отсчета срока действия патента:
26.08.2005
(46) Опубликовано: 20.03.2007
(56) Список документов, цитированных в отчете о поиске:
SU 1651966 A1, 30.05.1991. SU 655432 A1, 04.05.1979. SU 774599 A1, 30.10.1980. SU 1801586 A1, 15.03.1993. RU 2116137 C1, 27.07.1998. RU 96110172 A1, 20.08.1998.
Адрес для переписки:
109383, Москва, ул. Полбина, 54, кв.34, В.А.Аверьянову
|
(72) Автор(ы):
Семенов Игорь Анатольевич (RU), Лукьянов Дмитрий Дмитриевич (RU)
(73) Патентообладатель(и):
Общество с ограниченной ответственностью “Эрвинг” (RU)
|
(54) УСТРОЙСТВО ДЛЯ МАГНИТНОЙ СЕПАРАЦИИ МЕЛКОДИСПЕРСНОГО СЫРЬЯ
(57) Реферат:
Устройство предназначено для выделения из любой инертной мелкодисперсной среды сильномагнитных, парамагнитных и диамагнитных примесей и может быть использовано для обогащения полезных ископаемых, при переработке отвалов отходов горнодобывающей промышленности, а также для извлечения магнитных, парамагнитных и диамагнитных примесей в пищевой и перерабатывающей промышленности и т.д. Позволяет одновременно выделять из очищаемой инертной среды и разделять на фракции примеси с различными магнитными свойствами. Устройство содержит конусный вибропитатель, сепарационную камеру, вращающуюся магнитную систему, выполненную в виде полого вертикально ориентированного диэлектрического цилиндра с расположенными радиально вдоль его оси чередующимися рядами блоков постоянных магнитов одной полярности в ряду. Сепарационная камера представляет собой расположенный соосно внутри магнитной системы полый перфорированный цилиндр из диэлектрического материала с отверстиями диаметром не более 2-3 мм, которые расположены в части, находящейся в области действия магнитной системы. Вокруг перфорированного цилиндра сепарационной камеры по ходу расположения отверстий спирально навиты ребра из диэлектрического материала, ширина которых на 1-2 мм меньше расстояния между внутренним перфорированным цилиндром и магнитной системой. 2 ил.
Устройство для сепарации мелкодисперсного сырья предназначено для выделения из любой инертной мелкодисперсной среды сильномагнитных, парамагнитных и диамагнитных примесей и может быть использовано для обогащения полезных ископаемых, при переработке отвалов отходов горнодобывающей промышленности, а также для извлечения магнитных, парамагнитных и диамагнитных примесей в пищевой и перерабатывающей промышленности и т.д.
Известны различные способы обогащения полезных ископаемых – гравитационные, электрические, радиометрические, флотационнные, магнитные, адгезионные, химические и комбинированные.
Магнитные способы обогащения основаны на различии в магнитных свойствах и магнитной восприимчивости разделяемых минералов. В зависимости от среды, в которой производят разделение минералов, существуют сухие и мокрые способы магнитной сепарации.
Отрицательной особенностью мокрой сепарации, которой, как правило, подвергается материал меньше 3-6 мм, является более высокое сопротивление водной среды продвижению как магнитных, так и немагнитных частиц (по сравнению с воздушной). Особенно неблагоприятно это сказывается на разделении тонких частиц, в результате чего часть наиболее тонких частиц теряется с немагнитным продуктом.
Сухой сепарации подвергается материал крупностью от 3 до 50-100 мм, т.к. при обогащении более мелкого материала наблюдается сильное пылеобразование (Абрамов А.А. «Переработка, обогащение и комплексное использование твердых полезных ископаемых», Москва, Изд. Московского гос. горного университета, 2004 г.).
Обычно для извлечения сильномагнитных минералов из руд используют барабанные сепараторы с низкой напряженностью магнитного поля, создаваемой неподвижно закрепленной внутри вращающегося барабана открытой магнитной системой, полярности которой чередуются по периметру барабана для обеспечения магнитного перемешивания материала. Недостатком таких устройств является то, что при сепарации мелкозернистых сильномагнитных материалов с уменьшением размеров частиц в дополнение к пылеобразованию усиливается их флокуляция и неселективное слипание, что приводит к резкому ухудшению качества концентрата за счет захвата флокулами немагнитных зерен и сростков. Разрушения флокул в существующих устройствах добиваются использованием увеличенной частоты вращения барабана вокруг многополюсной системы из постоянных магнитов. Такими сепаратарами являются зарубежные сепараторы «Мартсел» и «Лаурила», в СНГ – быстроходные сепараторы типа ПБСЦ-63/50.
Сепаратор ПБСЦ-63/50 имеет многополюсную магнитную систему с полюсами из ферритобариевых магнитов. Шаг полюсов системы составляет 50 мм, частота вращения барабана – 300 об/мин, создаваемая частота магнитного поля – 90 Гц (Абрамов А.А. «Переработка, обогащение и комплексное использование твердых полезных ископаемых», Москва, Изд. Московского гос. горного университета, 2004 г.).
Общим недостатком известных устройств является то, что они не позволяют разделять выделяемые примеси по фракциям в зависимости от их магнитных свойств.
Наиболее близким по технической сущности к заявляемому устройству является магнитный сепаратор-анализатор периодического действия по авторскому свидетельству №1651966, МПК 5 В 03 С 1/06, публ. 30.05.1991 г., содержащий конусный питатель, сепарационную камеру, вращающуюся магнитную систему, выполненную в виде вращающейся вокруг вертикальной оси обоймы, на которой радиально расположены с чередующейся полярностью основные и дополнительные магниты, причем дополнительные магниты короче основных, а внешние торцы всех магнитов расположены на одной окружности. В этом устройстве материал, подлежащий разделению в сепарационной камере, попадает под действие знакопеременного бегущего магнитного поля, в результате магнитные частицы перемещаются навстречу полю по спирали к центру обоймы. У концов дополнительных магнитов собираются частицы с наибольшей намагниченностью, у концов основных магнитов – частицы с меньшей намагниченностью, в центре – частицы с минимальной намагниченностью, по периферии обоймы собираются немагнитные частицы. Скорость вращения диска в этом устройстве равна 5-10 об/с. Данное устройство предназначено для повышения качества анализа за счет разделения продукта на фракции с различными магнитными свойствами. Однако недостатком этого устройства является недостаточно полное разделение, т.е. присутствие в разделенных фракциях минералов частиц из других фракций. Кроме того, оно не может быть использовано в промышленных масштабах, т.к. для деления магнитной фазы на отдельные компоненты для каждого конкретного случая необходимо подбирать расстояние между магнитной системой и сепарационной камерой.
Задачей предлагаемого технического решения является расширение арсенала устройств для сухой магнитной сепарации с возможностью одновременного разделения примесей инертного сырья на магнитные, слабомагнитные, парамагнитные и диамагнитные составляющие.
Задача решается за счет использования вращающихся переменно-полюсных магнитных полей, которые получают в устройстве, содержащем конусный вибропитатель, сепарационную камеру, вращающуюся магнитную систему с радиальным расположением постоянных магнитов с чередующейся полярностью, в котором, в отличие от прототипа, вращающаяся магнитная система выполнена в виде полого вертикально ориентированного диэлектрического цилиндра, на внешней стороне которого радиально вдоль его оси расположены чередующиеся по полярности ряды постоянных магнитов одной полярности в ряду. Сепарационная камера представляет собой расположенный соосно внутри магнитной системы полый перфорированный цилиндр из диэлектрического материала, в котором отверстия диаметром не более 2-3 мм расположены в части, находящейся в области магнитного цилиндра. Вокруг цилиндра сепарационной камеры по ходу расположения отверстий спирально навиты ребра из диэлектрического материала, ширина которых на 1-2 мм меньше расстояния между внутренним перфорированным цилиндром сепарационной камеры и магнитной системой.
Предлагаемое устройство можно признать соответствующим критериям «новизна» и «изобретательский уровень», так как ему присущи следующие отличительные признаки:
– выполнение магнитной системы в виде полого вертикально ориентированного диэлектрического цилиндра с расположенными радиально на его внешней стороне вдоль оси цилиндра чередующимися по полярности рядами блоков постоянных магнитов одной полярности в ряду;
– выполнение магнитной системы с возможностью вращения со скоростью от 1000 до 5000 об/мин для того, чтобы (сдвиг фазы частиц) превышал критический. Это техническое решение позволяет добиться перемагничивания магнитных частиц, а также вызвать электрические напряжения и токи в электропроводящих частицах, что способствует разделению частиц даже с близкими значениями магнитной восприимчивости за счет их интенсивного магнитного перемешивания, препятствует образованию флокул, т.е. приводит к более тщательному разделению среды на фракции;
– выполнение сепарационной камеры в виде полого перфорированного цилиндра из диэлектрического материала, расположенного соосно внутри магнитной системы, в котором отверстия диаметром не более 2-3 мм расположены в части, находящейся в области действия магнитной системы;
– наличие на перфорированном цилиндре сепарационной камеры ребер из диэлектрического материала с шириной на 1-2 мм меньше расстояния между внутренним перфорированным цилиндром и магнитной системой, спирально навитых по ходу расположения отверстий и предназначенных для отведения прошедших через отверстия магнитных, слабомагнитных и парамагнитных частиц в специальный сборник.
Таким образом, предлагаемое устройство благодаря совокупности вышеперечисленных признаков позволяет одновременно выделять из очищаемой инертной среды и разделять на фракции примеси с различными магнитными свойствами. Магнитные, слабомагнитные и парамагнитные частицы (благодаря совпадению направления возникающего магнитного момента в парамагнитных частицах с направлением действующего поля) в результате притяжения к магнитной системе проходят через отверстия в перфорированном цилиндре и стекают по спиральным ребрам. Они не прилипают к цилиндру магнитной системы, именно благодаря тому, что при высокой скорости вращения магнитной системы создается переменный характер внешнего магнитного поля, которое действует на частицы то силой притяжения, то силой отталкивания, что приводит к созданию “кипящего слоя” магнитных частиц около внутренней части стенок цилиндра. Диамагнитные частицы, за счет того, что направление магнитного момента, возникающего в них под действием магнитного поля, противоположно направлению действующего магнитного поля, концентрируются в центре сепарационной камеры, а инертная среда ссыпается вертикально вниз. Устройство экологично и его использование улучшает условия труда, т.к. оно заключено в герметичный кожух и все выделенные фракции сразу же ссыпаются в предназначенные для них емкости по специальным отводным трубам, что является дополнительным преимуществом предлагаемого устройства, т.к. исключается пыление. И даже для очистки очень мелкодисперсного сырья нет необходимости проводить предварительное обеспылевание или вводить в конструкцию сепаратора пылеотсос.
Техническое решение характеризуется следующими фигурами:
Фиг.1 – чертеж устройства;
Фиг.2 – общий вид устройства.
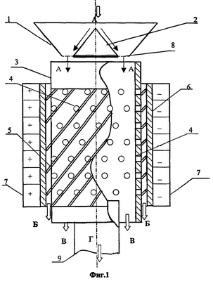
Устройство состоит из вибропитателя 1, снабженного диэлектрическим конусом 2, сепарационной камеры в виде полого перфорированного диэлектрического цилиндра 3 с расположенными на нем в шахматном порядке отверстиями 4, снабженного ребрами 5, навитыми спирально по ходу расположения отверстий 4. Диэлектрический цилиндр 3 сепарационной камеры расположен соосно внутри вращающейся магнитной системы, которая представляет собой полый вертикально ориентированный цилиндр 6 из диэлектрического материала, содержащий на его внешней стороне чередующиеся по полярности ряды расположенных радиально вдоль оси цилиндра 6 блоков постоянных магнитов 7 одной полярности в ряду. Причем отверстия 4 диаметром не более 2-3 мм расположены в части диэлектрического цилиндра 3, находящейся в области действия магнитной системы, а ширина ребер 5 на 1-2 мм меньше расстояния между внутренним перфорированным цилиндром 3 сепарационной камеры и магнитной системой.
Сепаратор работает следующим образом. Сухой мелкодисперсный порошок А подается на вибропитатель 1, откуда по диэлектрическому конусу 2 равномерным потоком через отверстия 8 ссыпается вертикально вниз в сепарационную камеру, не касаясь стенок перфорированного цилиндра 3 сепарационной камеры, и попадает под действие вращающегося переменно-полюсного магнитного поля, которое создается при вращении со скоростью от 1000 до 5000 об/мин магнитной системы, состоящей из полого вертикально ориентированного диэлектрического цилиндра 6 и расположенных радиально на его внешней стороне вдоль оси чередующихся по полярности рядов блоков постоянных магнитов 7 одной полярности в ряду. Изменяющиеся при вращении магнитной системы магнитные поля самой магнитной системы и намагниченного поля частиц, попавших под действие этих полей, при высокой частоте вращения цилиндра 6 достигают превышения критического сдвига фазы . Поэтому частицы Б: магнитные, слабомагнитные и даже парамагнитные (благодаря совпадению направления возникающего магнитного момента в парамагнитных частицах с направлением действующего поля) в результате притяжения к магнитной системе проходят через отверстия 4 в перфорированном цилиндре 3 и стекают по спиральным ребрам 5, через отводящую трубу (фиг.2) в специальный контейнер для магнитных частиц. Эти частицы не прилипают к стенкам магнитной системы, т.к. из-за частой смены направленности магнитного поля на них действуют то силы магнитного притяжения, то силы магнитного отталкивания, что приводит к созданию “кипящего слоя” магнитных частиц около внутренней части стенок цилиндра 6. Диамагнитные частицы Г за счет того, что направление магнитного момента, возникающего в них под действием магнитного поля, противоположно направлению действующего магнитного поля концентрируются в центре сепарационной камеры и удаляются через отводящую трубу 9, которая входит в магнитное поле не менее чем на 1 см, а инертная среда В ссыпается вертикально вниз и удаляется отводящей трубой (Фиг.2).
Предлагаемое устройство позволяет одновременно выделять из очищаемой инертной среды и разделять на фракции примеси с различными магнитными свойствами. Причем, благодаря исключению пыления, даже для очистки очень мелкодисперсного сырья нет необходимости проводить предварительное обеспылевание или вводить в конструкцию сепаратора пылеотсос.
Формула изобретения
Устройство для магнитной сепарации мелкодисперсного сырья, содержащее конусный вибропитатель, сепарационную камеру, вращающуюся магнитную систему с радиальным расположением постоянных магнитов с чередующейся полярностью, отличающееся тем, что вращающаяся магнитная система выполнена в виде полого вертикально ориентированного диэлектрического цилиндра с расположенными радиально на его внешней стороне вдоль оси цилиндра рядами блоков постоянных магнитов одной полярности в ряду, сепарационная камера представляет собой расположенный соосно внутри магнитной системы полый перфорированный цилиндр из диэлектрического материала с отверстиями диаметром не более 2-3 мм, которые расположены в части, находящейся в области действия магнитной системы, причем вокруг перфорированного цилиндра сепарационной камеры по ходу расположения отверстий спирально навиты ребра из диэлектрического материала, ширина которых на 1-2 мм меньше расстояния между внутренним перфорированным цилиндром и магнитной системой.
РИСУНКИ
MM4A – Досрочное прекращение действия патента СССР или патента Российской Федерации на изобретение из-за неуплаты в установленный срок пошлины за поддержание патента в силе
Дата прекращения действия патента: 27.08.2007
Извещение опубликовано: 10.03.2009 БИ: 07/2009
|
|