|
| На основании пункта 3 статьи 13 Патентного закона Российской Федерации от 23 сентября 1992 г. № 3517-I патентообладатель обязуется передать исключительное право на изобретение (уступить патент) на условиях, соответствующих установившейся практике, лицу, первому изъявившему такое желание и уведомившему об этом патентообладателя и федеральный орган исполнительной власти по интеллектуальной собственности, – гражданину РФ или российскому юридическому лицу. |
|
(21), (22) Заявка: 2005124887/03, 28.07.2005
(24) Дата начала отсчета срока действия патента:
28.07.2005
(46) Опубликовано: 20.03.2007
(56) Список документов, цитированных в отчете о поиске:
SU 688230 A1, 30.09.1979. RU 2115283 C1, 20.07.1998. SU 1250329 A1, 15.08.1986. SU 122448 A1, 1959. RU 2042441 C1, 27.08.1995. GB 1002615 A, 25.08.1965.
Адрес для переписки:
420095, г.Казань, ул. Восстания, 61, кв.16, Е.В. Бусыгину
|
(72) Автор(ы):
Бусыгин Евгений Васильевич (RU)
(73) Патентообладатель(и):
Бусыгин Евгений Васильевич (RU)
|
(54) МАГНИТНЫЙ СЕПАРАТОР
(57) Реферат:
Изобретение относится к технологии магнитного отделения твердых материалов от разделяемого вещества и может быть использовано для отделения ферромагнитных включений, например стальной и/или чугунной стружки из фарша, шквары и биологического корма в мясоперерабатывающей промышленности или из цветных металлов в горнодобывающей промышленности. Позволяет повысить качество отделения ферромагнитных включений из продукта разделения. Сепаратор включает два расположенных друг под другом взаимно перекрещивающихся ленточных транспортера с приводными и натяжными барабанами, магнитную систему в виде неподвижного магнита, расположенного между ветвями ленты верхнего транспортера в зоне перекрещивания транспортеров и магнитных блоков в приводном барабане нижнего транспортера, устройство встряхивания ленты транспортера, несущей продукт, выполненное в виде кулачковых валиков и размещенное между его ветвями, питатель и приемники продуктов разделения. Снизу ленты нижней ветви нижнего транспортера дополнительно установлена щетка удаления частиц ферромагнитных включений, прижимаемая щетиной к ленте транспортера на уровне дальней стенки приемника ферромагнитных включений, которая выполнена в виде валика, вращаемого в направлении, противоположном движению контактирующей с ней ленты транспортера. Привод вращения валика щетки имеет кинематическую связь с приводным барабаном нижнего транспортера. Над приводным барабаном нижнего транспортера установлена зубовая борона, прижимаемая вершинами зубьев к ленте транспортера. Вершины зубьев бороны расположены с охватом внешней стороны ленты транспортера по дуге окружности на приводном барабане. Борона выполнена с возможностью возвратно-поступательных перемещений перпендикулярно направлению движения ленты транспортера. Над верхней ветвью нижнего транспортера между верхним транспортером и питателем установлен скребок на высоте выравнивания продукта разделения, который выполнен зигзагообразной формы на ширине ленты нижнего транспортера с расположением крайних бортов и средней вершины скребка навстречу направлению движения ленты. 4 з.п. ф-лы, 3 ил.
Изобретение относится к технологии магнитного отделения твердых материалов от разделяемого вещества и может быть использовано для отделения ферромагнитных включений, например стальной и/или чугунной стружки, из фарша, шквары и биологического корма в мясоперерабатывающей промышленности или из цветных металлов в горнодобывающей промышленности.
Известен магнитный сепаратор, включающий два расположенных друг над другом взаимно перекрещивающихся ленточных транспортера с приводными и натяжными барабанами, магнитную систему в виде неподвижного магнита, расположенного между ветвями ленты верхнего транспортера в зоне перекрещивания транспортеров и магнитных блоков в приводном барабане нижнего транспортера, устройством встряхивания ленты транспортера, несущей продукт, выполненным в виде кулачковых валиков и размещенным между его ветвями, питатель и приемники продуктов разделения. (Авторское свидетельство СССР №688230. Магнитный сепаратор. – МПК2: В 03 С 1/20. – Бюл. №36 от 30.09.79). Данное изобретение принято за прототип.
Недостатком известного магнитного сепаратора, принятого за прототип, является низкое качество отделения ферромагнитных включений, в частности, частиц мелкой стальной и/или чугунной стружки, которые прилипают к ленте транспортера и остаются в несущем продукте.
Основной задачей, на решение которой направлено заявляемое изобретение, является повышение качества отделения ферромагнитных включений из продуктов разделения.
Техническим результатом, достигаемым при осуществлении заявляемого технического решения, является повышение качества отделения ферромагнитных включений из продуктов разделения.
Указанный технический результат достигается тем, что в известном магнитном сепараторе, включающем два перпендикулярно расположенных друг к другу ленточных транспортера с приводными и натяжными барабанами, магнитную систему, расположенную между ветвями ленты верхнего транспортера в зоне перекрещивания транспортеров и в приводном барабане нижнего транспортера, устройство встряхивания ленты, несущей продукт, выполненное в виде кулачковых валиков и размещенное между ветвями ленты нижнего транспортера, питатель и приемники продуктов разделения, согласно предложенному техническому решению, над приводным барабаном нижнего транспортера установлена зубовая борона, прижимаемая вершинами зубьев к ленте транспортера, вершины зубьев которой расположены с охватом внешней стороны ленты транспортера по дуге окружности на приводном барабане, причем борона выполнена с возможностью возвратно-поступательных перемещений перпендикулярно направлению движения ленты транспортера, а снизу ленты нижней ветви нижнего транспортера дополнительно установлена щетка для удаления частиц ферромагнитных включений, прижимаемая щетиной к ленте транспортера на уровне стенки приемника ферромагнитных включений;
щетка выполнена в виде валика, вращаемого в направлении, противоположном движению контактирующей с ней ленты транспортера;
привод вращения валика щетки имеет кинематическую связь с приводным барабаном нижнего транспортера;
над верхней ветвью нижнего транспортера между верхним транспортером и питателем установлен скребок на высоте выравнивания продукта разделения;
скребок выполнен зигзагообразной формы на ширине ленты нижнего транспортера с расположением крайних бортов и средней вершины скребка навстречу направлению движения ленты.
Приведенный заявителем анализ уровня техники позволил установить, что аналоги, характеризующиеся совокупностями признаков, тождественными всем признакам заявленного магнитного сепаратора, отсутствуют. Следовательно, заявленное техническое решение соответствует условию патентоспособности «новизна».
Результаты поиска известных решений в данной области техники с целью выявления признаков, совпадающих с отличительными от прототипа признаками заявляемого технического решения, показали, что они не следуют явным образом из уровня техники. Из определенного заявителем уровня техники не выявлена известность влияния предусматриваемых существенными признаками из заявляемого технического решения преобразований на достижение указанного технического результата. Следовательно, заявляемое техническое решение соответствует условию патентоспособности «изобретательский уровень».
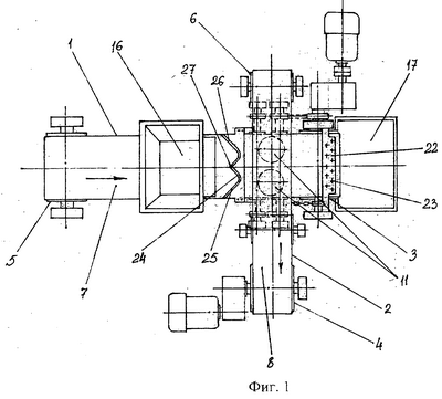
На фиг.1 показан общий вид в плане предложенного магнитного сепаратора, на фиг.2 – вид на верхний транспортер сбоку, на фиг.3 – вид на нижний транспортер сбоку.
Магнитный сепаратор содержит два расположенных друг под другом взаимно перекрещивающихся ленточных транспортера 1 и 2 с приводными барабанами 3 и 4. Натяжные барабаны 5 и 6 обеспечивают натяжение ветвей лент 7 и 8 транспортеров 1 и 2. (Фиг.1). На ленте 8 верхнего транспортера 2 закреплены перегородки 9, обеспечивающие смещение ферромагнитных включений от продукта разделения в приемник 10, расположенный под нижней ветвью ленты 8. В зоне перекрещивания транспортеров между ветвями ленты 8 верхнего транспортера 2 установлен неподвижный магнит 11, а под верхней ветвью ленты 7 нижнего транспортера 1 – устройство 12 встряхивания ленты 7 с продуктом разделения, выполненным в виде кулачковых валиков 13. (Фиг.2). Встряхивающее устройство 12 приводится в движение при помощи цепной передачи 14 от приводного барабана 3 нижнего транспортера 1, внутри которого установлен набор магнитных блоков 15. Над верхней ветвью ленты 7 нижнего транспортера 1 установлен питатель 16, а под нижней ветвью ленты 7 размещены приемники 17 и 18 продуктов разделения. Снизу ленты 7 нижней ветви нижнего транспортера 1 дополнительно установлена щетка 19 для удаления с ленты 7 частиц ферромагнитных включений, прижимаемая к ленте щетиной 20 на уровне дальней стенки приемника 18 частиц ферромагнитных включений, которая выполнена в виде валика, вращаемого в направлении, противоположном движению контактирующей с ней ленты 7. Привод вращения валика щетки 19 имеет кинематическую связь 21 с приводным барабаном 3 нижнего транспортера 1. Над магнитным барабаном 3 установлена зубовая борона 22, прижимаемая к ленте 7 вершинами зубьев 23, которые расположены с охватом внешней стороны ленты 7 на магнитном барабане 3. Борона 22 выполнена с возможностью возвратно-поступательных перемещений перпендикулярно направлению движения ленты 7. Над верхней ветвью ленты 7 нижнего транспортера 1 за питателем 16 перед нижней ветвью ленты 8 верхнего транспортера 2 установлен скребок 24 для выравнивания продукта разделения на высоте h, который выполнен зигзагообразной формы на ширине ленты нижнего транспортера с расположением крайних бортов 25 и 26 и средней вершины 27 скребка 24 навстречу направлению движения ленты 7 (Фиг.3).
Магнитный сепаратор работает следующим образом.
Смешанный дробленый продукт с ферромагнитными включениями подается питателем 16 на ленту 7 нижнего транспортера 1, который выравнивается скребком 24 на ширине ленты 7 слоем высотой h и перемещается в зону магнитного поля, создаваемого неподвижным магнитом 11 верхнего транспортера 2. Установленное под нагруженной верхней ветвью ленты 7 нижнего транспортера 1 встряхивающее устройство 12, приводимое в работу от приводного барабана 3, кулачковыми валиками воздействуют на ленту 7 снизу, перетряхивают слой продукта путем подбрасывания его вверх, сообщая ферромагнитным включениям некоторую начальную скорость, и под действием магнитного поля, создаваемого неподвижным магнитом 11, ферромагнитные включения с верхнего слоя притягиваются к движущейся нижней ветви ленты 8 верхнего транспортера 2, что способствует более эффективному разделению смешанного продукта. Притянутые магнитным полем неподвижного магнита 11 к нижней ветке ленты 8 верхнего транспортера 2 ферромагнитные включения при помощи перегородок 9 смещаются из зоны магнитного поля, где они свободно падают в приемник 10. Оставшийся на верхней ветви ленты 7 нижнего транспортера 1 продукт перемещается в зону приводного барабана 3 с магнитными блоками 15, где производится окончательное его разделение. Для этого слой продукта разрыхляется возвратно-поступательными перемещениями бороны 22 перпендикулярно направлению движения ленты 7 транспортера 1, прижимаемой вершинами зубьев 23 к ленте 7 с охватом ее внешней стороны на приводном барабане 3 транспортера 1, и ферромагнитные включения притягиваются магнитным полем магнитного барабана 3 к движущейся ленте 7, при этом очищенный продукт по траектории движения ленты 7 разгружается в приемник 17, а ферромагнитные включения, притянутые к движущейся ленте 7 под действием магнитного поля барабана 3 перемещаются вниз транспортера 1, где при выходе из зоны действия магнитного поля падают в приемник 18, а прилипшие мелкие частицы ферромагнитных включений сметаются вращающейся щеткой 19, приводимой в работу от приводного барабана 3.
Формула изобретения
1. Магнитный сепаратор, содержащий два расположенных друг под другом взаимно перекрещивающихся ленточных транспортера с приводными и натяжными барабанами, магнитную систему в виде неподвижного магнита, расположенного между ветвями ленты верхнего транспортера в зоне перекрещивания транспортеров, и магнитных блоков в приводном барабане нижнего транспортера, устройство встряхивания ленты транспортера, несущей продукт, выполненное в виде кулачковых валиков и размещенное между его ветвями, питатель и приемники продуктов разделения, отличающийся тем, что над приводным барабаном нижнего транспортера установлена зубовая борона, прижимаемая вершинами зубьев к ленте транспортера, вершины зубьев которой расположены с охватом внешней стороны ленты транспортера по дуге окружности на приводном барабане, причем борона выполнена с возможностью возвратно-поступательных перемещений перпендикулярно направлению движения ленты транспортера, а снизу ленты нижней ветви нижнего транспортера дополнительно установлена щетка для удаления частиц ферромагнитных включений, прижимаемая щетиной к ленте транспортера на уровне стенки приемника ферромагнитных включений.
2. Магнитный сепаратор по п.1, отличающийся тем, что щетка выполнена в виде валика, вращаемого в направлении, противоположном движению контактирующей с ней ленты транспортера.
3. Магнитный сепаратор по п.2, отличающийся тем, что привод вращения валика щетки имеет кинематическую связь с приводным барабаном нижнего транспортера.
4. Магнитный сепаратор по п.1, отличающийся тем, что над верхней ветвью нижнего транспортера между верхним транспортером и питателем установлен скребок на высоте выравнивания продукта разделения.
5. Магнитный сепаратор по п.4, отличающийся тем, что скребок выполнен зигзагообразной формы на ширине ленты нижнего транспортера с расположением крайних бортов и средней вершины скребка навстречу направлению движения ленты.
РИСУНКИ
|
|