|
|
(21), (22) Заявка: 2005134152/15, 03.11.2005
(24) Дата начала отсчета срока действия патента:
03.11.2005
(46) Опубликовано: 20.03.2007
(56) Список документов, цитированных в отчете о поиске:
RU 2258563 C1, 20.08.2005. WO 89/00453 A1, 26.01.1989. SU 558684 A, 20.06.1977. SU 1678771 A1, 23.09.1991.
Адрес для переписки:
432027, г.Ульяновск, Северный Венец, 32, ГОУ ВПО “Ульяновский государственный технический университет”, проректору по научной работе
|
(72) Автор(ы):
Худяков Анатолий Васильевич (RU), Сухотина Екатерина Анатольевна (RU)
(73) Патентообладатель(и):
Государственное образовательное учреждение высшего профессионального образования “Ульяновский государственный технический университет” (RU)
|
(54) СПОСОБ МОДИФИКАЦИИ ИЛИ РЕГЕНЕРАЦИИ ЦЕОЛИТОВ И УСТРОЙСТВО ДЛЯ ЕГО ОСУЩЕСТВЛЕНИЯ
(57) Реферат:
Изобретение относится к способам и устройствам модификации и регенерации цеолитов, относящихся к группе ионообменников – катионитов. Способ заключается в том, что ванну разделяют на две камеры перегородкой, имеющей свойства фильтра тонкой очистки воды, в камеры вводят электроды, в одну из камер загружают цеолиты, ванну заполняют водой, в камеру с цеолитами загружают соли, катионами которых модифицируют и регенерируют цеолиты, в количествах, необходимых и достаточных для получения в воде концентрации этих солей 1-10%, подают на электроды напряжение постоянного тока 5-35 В, минусовое – на электрод в камере с цеолитами, плюсовое – на другой электрод, включают устройство для обмывания цеолитов, обмывают в ванне цеолиты водными растворами солей в течение 3-10 часов. Предложено устройство для осуществления способа. Технический результат – увеличение интенсивности процессов ионного обмена в цеолитах, сокращение времени процесса, уменьшение расхода количества солей для регенерации. 2 н.п. ф-лы, 1 ил.
Изобретение относится к способам и устройствам модификации и регенерации цеолитов, т.е. модификации и регенерации соединений кремния – подготовки сорбентов – цеолитов, относящимся к группе ионообменников – катионитов, для их эксплуатации в промышленных установках при осуществлении ионообменных процессов в водных средах, а именно их модификации в какую-нибудь ионную форму или регенерации после окончания срока эксплуатации, определяемого степенью заполнения их статической ионообменной емкости.
Известны способы модификации и регенерации цеолитов, заключающиеся в том, что цеолиты омывают в течение не менее трех суток водными растворами тех солей, катионами которых необходимо заполнить ионообменные емкости цеолита [см. Сборник тезисов докладов Всероссийского совещания по применению цеолитов в народном хозяйстве. – Н., 1997, 75 с.].
Недостатком известных способов-аналогов является большая длительность процесса модификации и регенерации цеолитов из-за слабой интенсивности проходящих в них процессов ионного обмена, высокий расход необходимых для осуществления способа исходных солей, высокая концентрация исходных солей в сточных от модификации или регенерации водах, высокая стоимость процесса модификации и регенерации.
Известны устройства для осуществления модификации и регенерации цеолитов, включающие водяную емкость для цеолитов, приспособление для обмывания цеолитов водными растворами солей, которое состоит либо из замкнутого контура, через который водные растворы солей пропускают через цеолиты, либо из устройства для перемешивания гранул цеолитов в водных растворах солей [Сборник тезисов докладов Всероссийского совещания по применению цеолитов в народном хозяйстве. – Н., 1997, 75 с.].
Недостатком этих устройств является большая длительность проводимых в них процессов модификации и регенерации цеолитов из-за слабой интенсивности проходящих в них процессов ионного обмена, высокий расход необходимых для осуществления способа исходных солей, высокая концентрация исходных солей в сточных от модификации и регенерации водах, что ухудшает экологическую безопасность окружающей среды, высокая стоимость осуществляемых в известных устройствах-аналогах способов модификации и регенерации цеолитов.
Наиболее близким техническим решением того же назначения к заявленному способу по совокупности существенных признаков является способ модификации и регенерации цеолитов, включающий загрузку в ванну цеолитов, заполнение ванны водой, загрузку в ванну солей, катионами которых необходимо заполнить ионообменные емкости цеолитов, обмывание цеолитов водными растворами солей в течение 1-3 суток [Сборник тезисов докладов Всероссийского совещания по применению цеолитов в народном хозяйстве. – Н., 1997, 75 с.].
Недостатками данного способа-прототипа являются: слабая интенсивность проходящих процессов ионного обмена при осуществлении способа, большая длительность процесса модификации и регенерации цеолитов, высокий расход необходимых для осуществления способа исходных солей, высокая концентрация исходных солей в сточных от модификации и регенерации водах, что ухудшает экологическую безопасность окружающей среды, высокая стоимость осуществляемого способа-прототипа модификации и регенерации.
Наиболее близким техническим решением того же назначения к заявленному устройству по совокупности существенных признаков является устройство модификации и регенерации цеолитов, включающее ванну для обмывания в ней цеолитов водными растворами солей, катионами которых необходимо заполнять ионообменные емкости цеолитов, приспособление для обмывания цеолитов водными растворами солей [см. Сборник тезисов докладов Всероссийского совещания по применению цеолитов в народном хозяйстве. – Н., 1997, 75 с.].
Недостатками данного устройства-прототипа являются: слабая интенсивность процессов ионного обмена в цеолитах, проходящих в данном устройстве, большая длительность и высокая стоимость процессов модификации и регенерации цеолитов, осуществляемых в данном устройстве, высокий расход в этом устройстве исходных солей, высокая концентрация исходных солей в сточных водах, сбрасываемых из установки, что повышает экологическую опасность для окружающей среды.
Единый технический результат группы изобретений – увеличение интенсивности процессов ионного обмена в цеолитах, проходящих при применении заявляемого способа в заявляемом устройстве, сокращение времени и уменьшение стоимости процессов модификации и регенерации цеолитов, уменьшение расхода количества исходных солей, снижение концентрации исходных солей в сточных водах, сбрасываемых при осуществлении заявляемого способа из заявляемого устройства, что улучшает экологическую безопасность.
Указанный единый технический результат при осуществлении группы изобретений по объекту-способу достигается тем, что ванну разделяют на две камеры перегородкой, имеющей свойства фильтра тонкой очистки воды, в камеры вводят электроды, в одну из камер загружают цеолиты, ванну заполняют водой, в камеру с цеолитами загружают соли, катионами которых модифицируют и регенерируют цеолиты, в количествах, необходимых и достаточных для получения в воде концентраций этих солей 1-10%, подают на электроды напряжение постоянного тока 5-35 В, минусовое – на электрод в камере с цеолитами, плюсовое – на другой электрод, включают приспособление для обмывания цеолитов, обмывают в ванне цеолиты водными растворами солей в течение 3-10 часов.
Указанный единый технический результат при осуществлении группы изобретений по объекту-устройству достигается тем, что устройство включает в себя: ванну для обмывания в ней цеолитов водными растворами солей, катионами которых модифицируют и регенерируют цеолиты, приспособление для обмывания цеолитов водными растворами солей, причем ванна разгорожена на две камеры перегородкой, имеющей свойства фильтра тонкой очистки воды, в камере для обмывания цеолитов водными растворами солей содержится катод, во второй камере с водой содержится анод, электроды предназначены для подачи на них напряжения постоянного тока величиной 5-35 В.
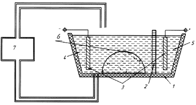
Сущность изобретения поясняется чертежом.
Ванна 1 для модификации и регенерации цеолитов разделена на две камеры перегородкой 2, имеющей свойства фильтра тонкой очистки воды, в обеих камерах имеются электроды 3, камера 4 содержит катод, в эту камеру загружают цеолиты 6 для модификации и регенерации, камера 5 содержит анод, имеется приспособление для обмывания в ванне цеолитов водными растворами солей.
Устройство работает следующим образом.
В ванну 1, в ее камеру 4, загружают цеолиты 5, заполняют обе камеры водой, в камеру 4 с цеолитами загружают соли в количествах, необходимых для получения концентрации этих солей 1-10%, включают на электроды 3 напряжение постоянного тока величиной 5-35 В, причем отрицательное напряжение включают на электрод в камере 4 с цеолитами, положительное напряжение – на электрод в камере 5, включают в действие приспособление для обмывания цеолитов раствором солей, обмывают цеолиты в течение 3-10 часов.
Указанные в формуле пределы величин параметров обработки выбраны по следующим соображениям. Нижний предел подаваемого напряжения на электроды 5 В необходим и достаточен для модификации и регенерации цеолитов при введении в воду максимально большого количества солей, обеспечивающих получение в воде их концентрации 10%, при длительности обработки в течение 10 часов. Верхний предел напряжения не более 35 В выбирается из соображений соблюдения мер техники безопасности, он необходим и достаточен для полной модификации и регенерации цеолитов при введении в воду минимального количества солей, обеспечивающих получение 1%-ной концентрации в воде солей, обмывания цеолитов водными растворами солей в течение минимального времени – в течение 3 часов.
Пример. Ванну 1 из пластиката разделяют на две камеры перегородкой 2, имеющей свойства фильтра тонкой очистки воды, являющейся пластикатовым листом толщиной 0,005 м, со сквозной открытой пористостью диаметром отверстий 0,0005 м, с шагом 0,005 м, в камеры вводят электроды 3, в камеру 4 загружают цеолиты 6, ванну заполняют водой, в камеру 4 с цеолитами загружают поваренную соль (NaCl) в количестве 10 г/л, необходимом и достаточном для получения в воде 5% концентрации соли, подают на электроды 3 напряжение 20 В, причем отрицательное напряжение подают на электрод в камере 4 с цеолитами, на второй электрод в камере 5 подают положительное напряжение, включают приспособление 7 для обмывания цеолитов водой, обработку проводят в течение 6 часов. После окончания процесса модификации и регенерации цеолита в сточных водах от производства имеется остаточное количество поваренной соли 5 г/л.
Если применить для модификации и регенерации способ-прототип с применением устройства-прототипа, то для достижения такой же степени насыщения цеолитов ионами натрия, что и в приведенном примере, потребовалось бы выдерживать цеолиты в растворе поваренной соли в количестве 20 г/л в течение 48 часов, т.е. потребовалось бы в два раза больше поваренной соли и в 8 раз больше времени обработки, после окончания процесса модификации и регенерации цеолитов в сточных водах от производства имелось бы 15 г/л остаточного количества поваренной соли, т.е. в три раза больше, чем в предлагаемом способе и устройстве для его осуществления. Сокращение в 8 раз времени на модификацию и регенерацию, уменьшение в два раза количества необходимой для регенерации и модификации поваренной соли в приведенном способе и устройстве приводит к существенному уменьшению стоимости затрат на производство.
Использование предлагаемого способа и устройства для его осуществления позволяет реализовать единый технический результат группы изобретений – увеличение интенсивности процессов ионного обмена в цеолитах, проходящих при применении заявляемого способа в заявляемом устройстве, сокращение времени и уменьшение стоимости процессов модификации и регенерации цеолитов, уменьшение расхода количества исходных солей, снижение концентрации исходных солей в сточных водах, сбрасываемых при осуществлении заявляемого способа из заявляемого устройства, что улучшает экологическую безопасность.
Формула изобретения
1. Способ модификации и регенерации цеолитов, включающий заполнение ванны водой, загрузку в ванну цеолитов, загрузку в ванну солей, катионами которых необходимо заполнить ионообменные емкости цеолитов, обмывание в ванне цеолитов водными растворами этих солей, отличающийся тем, что ванну разделяют на две камеры перегородкой, имеющей свойства фильтра тонкой очистки воды, цеолиты вводят в одну из камер, в камеру с цеолитами загружают соли в количествах, необходимых и достаточных для получения в воде концентрации этих солей 1-10%, подают на электроды напряжение постоянного тока 5-35 В, причем отрицательное напряжение подают на электрод в камере с цеолитами, положительное напряжение подают на второй электрод, обмывание в ванне гранул цеолита водными растворами солей осуществляют в течение 3-10 ч.
2. Устройство для осуществления способа модификации и регенерации цеолитов, включающее ванну для обмывания в ней гранул цеолитов водными растворами солей, катионами которых необходимо заполнить ионообменные емкости цеолитов, приспособление для обмывания гранул цеолитов водными растворами этих солей, отличающийся тем, что ванна разгорожена на две камеры перегородкой, имеющей свойства фильтра тонкой очистки воды, в камере для обмывания водными растворами солей цеолитов содержится катод, во второй камере с водой содержится анод, электроды предназначены для подачи на них напряжения постоянного тока величиной 5-35 В.
РИСУНКИ
MM4A – Досрочное прекращение действия патента СССР или патента Российской Федерации на изобретение из-за неуплаты в установленный срок пошлины за поддержание патента в силе
Дата прекращения действия патента: 04.11.2007
Извещение опубликовано: 10.05.2009 БИ: 13/2009
NF4A – Восстановление действия патента СССР или патента Российской Федерации на изобретение
Дата, с которой действие патента восстановлено: 20.03.2010
Извещение опубликовано: 20.03.2010 БИ: 08/2010
|
|