|
|
(21), (22) Заявка: 2004122423/15, 20.12.2002
(24) Дата начала отсчета срока действия патента:
20.12.2002
(30) Конвенционный приоритет:
21.12.2001 (пп.1-15) GB 0130792.5
(43) Дата публикации заявки: 10.05.2005
(46) Опубликовано: 20.03.2007
(56) Список документов, цитированных в отчете о поиске:
SU 1725988 A1, 15.04.1992. SU 212170 А, 17.05.1968. WO 9913966 A1, 25.03.1999. WO 9913969 A1, 25.03.1999. ЕР 0204847 А2, 17.12.1986.
(85) Дата перевода заявки PCT на национальную фазу:
21.07.2004
(86) Заявка PCT:
GB 02/05878 (20.12.2002)
(87) Публикация PCT:
WO 03/072226 (04.09.2003)
Адрес для переписки:
129010, Москва, ул. Б.Спасская, 25, стр.3, ООО “Юридическая фирма Городисский и Партнеры”, пат.пов. С.А.Дорофееву
|
(72) Автор(ы):
ЛИНГА Харальд (NO), НИЛЬСЕН Инге Сверре Лунд (NO), НИЛЬСЕН Финн Патрик (NO), ХЕЙЛАНД Тронд Олав (NO)
(73) Патентообладатель(и):
СТАТОЙЛ АСА (NO)
|
(54) СПОСОБ УДАЛЕНИЯ КИСЛОГО ГАЗА И УСТРОЙСТВО ДЛЯ ЕГО ОСУЩЕСТВЛЕНИЯ
(57) Реферат:
Изобретение относится к способу и устройству для одновременной абсорбции выбранных компонентов кислого газа из потока газа и отгона легких фракций углеводородов, унесенных в потоке жидкости, который включает растворитель или реактив для выбранного компонента газа. Способ включает подачу потока газа и потока жидкости в первый смеситель, где они входят в контакт в прямотоке и подвергаются турбулентным условиям смешения, проход многофазного потока из первого смесителя во второй смеситель и разделение многофазного потока из второго смесителя на газовую фазу и жидкую фазу. Второй смеситель содержит корпус 102 с входным 122 и выходным 123 отверстием. Корпус снабжен, по меньшей мере, одним внутренним подвижным герметично установленным регулирующим элементом 104, частично включающим центральную камеру для создания части первой стенки, соединенной со стороной входа корпуса, и части второй стенки, соединенной со стороной выхода корпуса. Указанные части стенок снабжены рядом сквозных протоков 106А и 107В. Изобретение позволяет обеспечить отгон большей части унесенных в потоке жидкости углеводородов и увеличить абсорбционную способность существующих установок по кислому газу. 9 ил., 1 табл., 2 н. и 13 з.п. ф-лы.
Настоящее изобретение относится к способу для одновременного удаления компонентов кислого газа и углеводородов из потока газа. В частности, изобретение относится к выборочному удалению H2S сверх CO2, с использованием амина.
Традиционно компоненты кислого газа удаляют, используя большие абсорбционные колонны. Эти колонны выполнены с возможностью обработки подаваемого газа при определенном расходе и содержании кислого газа. Однако изменения в условиях подачи вызывают проблемы в работе, и абсорбер должен быть существенно модифицирован для достижения удовлетворительной или оптимальной производительности. Проблемы, где требуется его модификация, являются следующими, но не ограничиваются ими: увеличение объемного расхода высокосернистого газа; требование более низкой концентрации кислого газа в очищаемом газе; более низкая скорость циркуляции растворителя для той же самой величины очистки; увеличение концентрации кислого газа в подаваемом газе; любое сочетание вышеупомянутого. Эти проблемы с существующими установками, которые более не соответствуют изменившимся рабочим требованиям, сводятся к сужению, а их решение сводится к ликвидации сужения установки.
Модификации существующих абсорбционных колонн и связанного с ними устройства являются дорогими и занимают много времени, а многие из вышеупомянутых требований могут изменяться на постоянной основе. Одним из общепринятых решений, используемых для того, чтобы решить проблему увеличения производительности по очистке от кислого газа, является замена используемого растворителя. Однако это не всегда является подходящим и может ввести вторичные проблемы, такие как регенерация и проблемы коррозии. Другим решением является замена внутренних частей колонны, например тарелок, на неупорядоченную или структурированную насадку. Это решение имеет ограниченную способность увеличения удаления кислого газа только в связи с габаритным размером колонны.
Задачей настоящего изобретения является создание способа для увеличения абсорбционной способности существующей установки по кислому газу и посредством этого ликвидации сужения установок.
Дальнейшая проблема с установками, которая связана с их сужением, состоит в том, что углеводороды и двуокись углерода могут быть унесены и/или абсорбированы в растворителе кислого газа (например, в амине) и поэтому впоследствии подаются в расположенные ниже по потоку блоки для очистки, такие как блок Клауса для регенерации серы. Такие дополнительные компоненты в подаче в блок Клауса снижают эффективность установки десульфуризации и могут создать дополнительное сужение далее вниз по процессу. Имеются также дополнительные нагрузки на установку, включающие прокачивание этого избыточного газа вокруг установки для регенерации растворителя кислого газа и установки для десульфуризации. Это может перегрузить существующие насосы и требует добавления большего количества или замены насосов.
Поэтому имеется необходимость в способе, в котором уменьшены или устранены коабсорбция двуокиси углерода и/или унос углеводородов. Настоящим изобретением предусмотрен такой способ.
В соответствии с настоящим изобретением, предложен способ для одновременной абсорбции выбранных компонентов кислого газа из потока газа и отгона легких фракций углеводородов, унесенных в потоке жидкости, включающем растворитель или реактив для отобранного компонента газа, в котором поток газа и поток жидкости подают в первый смеситель, где они входят в контакт в прямотоке и подвергаются турбулентным условиям смешивания; затем многофазный поток из первого смесителя пропускают ко второму смесителю, содержащему корпус, выполненный с возможностью его размещения в трубе для пропускания потока текучей среды, проходящей через нее, причем указанный корпус содержит входное и выходное отверстия соответственно, корпус снабжен по меньшей мере одним внутренним подвижным герметично смонтированным регулирующим элементом, частично включающим центральную камеру для создания части первой стенки, соединенной со стороной входа указанного корпуса, и части второй стенки, соединенной со стороной выхода указанного корпуса, причем указанные части стенок снабжены рядом сквозных протоков, каждый из которых имеет существенно меньшую площадь поперечного сечения, чем поперечное сечение потока входных и выходных отверстий соответственно, и в котором регулирующий элемент выполнен подвижным относительно указанного корпуса; и многофазный поток из второго смесителя разделяют на газовую фазу и жидкую фазу после второго смесителя.
При использовании способа по настоящему изобретению значительные уменьшения количества уноса углеводорода в потоке жидкости могут быть получены без потери производительности по абсорбции кислого газа. Поэтому возможно использовать наполовину насыщенные потоки жидкости, которые имеют унесенные углеводороды, для очистки потоков газа путем абсорбции компонентов кислого газа. Способ также является эффективным при удалении углеводородов, посредством этого сводя к минимуму проблемы дальнейшего нисходящего потока, где углеводороды могут блокировать установку или создавать дополнительное узкое место.
По выбору первый смеситель представляет собой турбулентный смеситель, имеющий секцию сужающейся трубы, через которую проходит поток газа, вход жидкости, расположенный так, чтобы образовать кольцевое пространство из жидкости вокруг внутреннего периметра трубы, острую кромку на конце сужающейся трубы и дополнительную секцию трубы ниже по потоку после острой кромки.
Альтернативно первый смеситель может содержать сосуд, включающий впуск для газа, впуск для жидкости и выход, причем выход ведет к проходу трубки Вентури, и трубу, простирающуюся от выхода обратно вверх по потоку, причем труба является перфорированной и/или отделена промежутком от периферии выхода.
Альтернативно первый смеситель является таким же, как второй смеситель.
Предпочтительно, чтобы H2S был выборочно абсорбирован предпочтительнее, чем СО2, из потока газа. Более предпочтительно, чтобы величина H2S в потоке газа, выходящем из второго смесителя, была меньше чем 1,5 об.%, даже более предпочтительно меньше чем 1 об.%.
Предпочтительно поток жидкости представляет собой поток амина, включающий унесенные углеводороды. По выбору поток жидкости (включающий унесенные углеводороды) подается непосредственно в первый смеситель из агрегата из последовательных элементов для десульфуризации сжиженного нефтяного газа (СНГ). Предпочтительно амин выбирают из МЭА, ДЭА, ДИПА и МДЭА.
Предпочтительно жидкую фазу очищают для удаления любого компонента абсорбированного газа. Эта очистка может производиться любыми подходящими известными средствами. Очищенный амин, в котором теперь нет компонентов высокосернистого газа, может быть рециркулирован в систему очистки газов. Смесь высокосернистого газа из очищенного амина можно проходить в любую подходящую установку для очистки ниже по потоку, такую как установки Клауса для преобразования Н2S в приемлемые с точки зрения окружающей среды продукты.
Предпочтительно, чтобы по меньшей мере 70%, более предпочтительно 80% и еще более предпочтительно 90% углеводородов в подаваемой жидкости отгонялись как легкие фракции в поток газа в блоке смесителя.
Настоящее изобретение также относится к устройству для использования в способе по настоящему изобретению. В частности, согласно настоящему изобретению, предусмотрено устройство для одновременной абсорбции выбранных компонентов кислого газа из потока газа и отгона легких фракций углеводородов, унесенных в потоке жидкости, включающем растворитель или реактив для выбранного компонента газа, содержащее первый прямоточный смеситель, в котором поток газа и поток жидкости подвергают турбулентным условиям смешивания; второй прямоточный смеситель, содержащий корпус, выполненный с возможностью его размещения в трубе для прохождения потока текучей среды, проходящий через нее, причем указанный корпус содержит входное и выходное отверстия соответственно, корпус снабжен по меньшей мере одним внутренним подвижным герметично выполненным регулирующим элементом, частично включающим центральную камеру для создания части первой стенки, соединенной со стороной входа корпуса, и части второй стенки, соединенной со стороной выхода корпуса, причем указанные части стенок снабжены рядом сквозных протоков, каждый из которых имеет существенно меньшую площадь поперечного сечения, чем поперечное сечение потока входных и выходных отверстий соответственно, и в котором регулирующий элемент выполнен подвижным относительно корпуса; и средство для разделения многофазного потока из второго смесителя на газовую фазу и жидкую фазу.
По выбору первый смеситель представляет собой турбулентный смеситель, имеющий секцию сужающейся трубы, через которую проходит поток газа, вход жидкости, расположенный так, чтобы образовать кольцевое пространство из жидкости вокруг внутреннего периметра трубы, острую кромку на конце сужающейся трубы и дополнительную секцию трубы ниже по потоку после острой кромки.
Альтернативно первый смеситель содержит сосуд, включающий вход газа, вход жидкости и выход, причем выход ведет к проходу трубки Вентури, и трубу, простирающуюся от выхода обратно вверх по потоку, причем труба является перфорированной и/или отделена промежутком от периферии выхода, или первый смеситель является таким же, как и второй смеситель.
Изобретение может быть осуществлено на практике различными способами, и несколько конкретных конструктивных вариантов выполнения изобретения описано посредством примера, чтобы иллюстрировать изобретение со ссылкой на прилагаемые чертежи, на которых изображено:
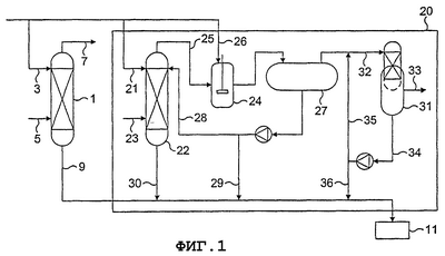
Фиг.1 – конфигурация процесса для части возможной существующей установки для очистки от кислого газа, имеющей сужение;
Фиг.2 – конфигурация процесса согласно настоящему изобретению, с использованием интеграции растворителя;
Фиг.3а – мешалка, используемая как вторая мешалка и по выбору также используемая как первая мешалка в способе по настоящему изобретению, причем этот вид является осевым продольным разрезом, перпендикулярным к общей оси вращения мешалки;
Фиг.3b – мешалка по фиг.3а в осевом продольном разрезе, но с осью, совпадающей с осью вращения;
Фиг.3с – поперечный разрез мешалки по фиг.3а, выполненный через общую ось вращения;
Фиг.4а – представляет собой вид турбулентного смесителя, подходящего для использования в качестве первой мешалки в способе по настоящему изобретению;
Фиг.4b – представляет собой схематическое представление разрыва жидкостной пленки на капельки в 10 турбулентном смесителе по фиг.4а;
Фиг.4с – представляет собой вид второго конструктивного выполнения турбулентного смесителя, подобного смесителю по фиг.4a, подходящего для использования в способе по настоящему изобретению;
Фиг.4d – представляет собой увеличенный вид части входа потока жидкости в смеситель, показанный на фиг.4c, обведенной окружностью A;
Фиг.5a – представляет собой вид другого смесителя, подходящего для использования в качестве первой мешалки в способе по настоящему изобретению;
Фиг.5b – представляет собой вариант смесителя, показанного на фиг.5a;
Фиг.5c – представляет собой вид смесителя, подобного показанному на фиг.5a, но с перфорированной трубой, расположенной так, чтобы вся текучая среда, которая проходит через выход, производила это посредством трубы;
Фиг.5d – представляет собой вариант смесителя, показанного на фиг.5c;
Фиг.6 – устройство, используемое для измерения одновременной производительности блока смесителя при удалении СНГ из подаваемого амина, и выборочной абсорбции H2S из подаваемого отходящего газа;
Фиг.7 – результаты калибровки устройства для измерения СНГ;
Фиг.8 – содержание углеводородов в потоке амина перед и после обработки в блоке смесителя; и
Фиг.9 – содержание H2S и СО2 в подаваемом отходящем газе по времени, после того, как он был подан в блок смесителя.
На фиг.1 изображен пример установки для очистки от кислого газа, которая выполнена с сужением. В обычную противоточную абсорбционную колонну 1 подается истощенный растворитель амин через поток 3 и подаваемый газ через поток 5. Очищенный газ удаляется через поток 7 и, как известно, может быть подвергнут дальнейшей очистке. Использованный амин удаляют через поток 9 и подают в блок 11 регенерации амина.
Истощенный растворитель амин также подают в блок очистки сжиженного нефтяного газа (СНГ), обозначенный прямоугольником 20 на фиг.1. Амин подают через поток 21 в противоточную колонну 22, в которую также подают газ СНГ через поток 23. Очищенный газ подают в мешалку 24 через поток 25, где он смешивается с дополнительным истощенным амином, подаваемым через поток 26, перед тем, как он пройдет в отстойник 27, где двухфазная смесь имеет возможность осаждаться. Часть удаленного использованного амина может быть подана обратно в колонну 22 через поток 28, но большая часть из нее проходит в блок 11 регенерации амина через поток 29. Использованный амин из колонны 22 также проходит непосредственно в блок 11 регенерации через поток 30. Поток газа из отстойника затем проходит в коагулятор 31 через поток 32. Очищенный газ затем отбирают через поток 33 и, может быть подвергнут дальнейшей очистке или использован непосредственно, если он соответствует. Поток жидкости 34 из коагулятора 31 частично рециркулирует в коагулятор через поток 35 и частично направляется в блок 11 регенерации через поток 36. Можно увидеть, что значительное количество амина используется один раз и впоследствии направляется непосредственно в блок регенерации. Это создает тяжелую нагрузку по жидкости на установку, которая контролируется насосами и клапанами (не показаны).
На фиг.2 изображена подобная работающая установка, в которой блок в соответствии с настоящим изобретением добавлен перед традиционной противоточной колонной 1 для очистки подаваемого газа. Вместо потоков 29, 30 и 36, проходящих непосредственно к блоку 11 регенерации амина, они подаются к дополнительной блоку 50 смесителя через поток 51. Часть из них будет все еще проходить непосредственно в блок 11 регенерации через поток 52. В блок 50 смесителя также подают часть использованного амина из смесителя 1 через поток 53. Этот наполовину истощенный амин из четырех источников подают в блок 50 смесителя, где он входит в контакт прямотоком с подаваемым газом 5. Блок содержит две мешалки, вторая из которых является встроенной мешалкой, такой как показана на фиг.3a, 3b и 3c. Первой мешалкой может быть любой подходящий смеситель, и выбор может зависеть от таких переменных, как располагаемое пространство, расход жидкости, расход газа и т.д.
После второй мешалки двухфазная смесь грубо разделяется, причем насыщенный амин проходит в блок 11 регенерации через поток 54, и очищенный газ проходит в существующую колонну 1 через поток 5a. Разделение в блоке 50 смесителя таково, что меньше чем 1% жидкости уносится с отделенным газом, и незначительное количество газа уносится с отделенной жидкостью.
Очистка в блоке 50 смесителя увеличивает насыщение амина перед его прохождением в блок 11 регенерации, а также снижает содержание кислого газа в подаваемом газе перед его прохождением в противоточную колонну 1, где он очищается истощенным амином. Новая подача в традиционную колонну 1 может теперь иметь содержание кислого газа, например, только 1% по сравнению с 2,5% в типичной подаче высокосернистого газа. Это означает, что истощенный амин используется для снижения содержания кислого газа от более низкой начальной концентрации и поэтому он сосредотачивается на гораздо более трудном его удалении. Увеличенное насыщение амина перед тем, как он проходит в блок 11 регенерации, обозначает, что используется большая производительность по амину, и поэтому расходы в блоке 11 регенерации уменьшаются, и подача свежего растворителя в установку в целом значительно уменьшается, например, на 30-50%.
Подача амина из блока очистки СНГ включает часть унесенных в нем углеводородов. При прохождении в блоки ниже по потоку, в то время как высокосернистый газ был отделен от амина, эти углеводороды могут значительно понизить эффективность блоков, например, дезактивируя катализаторы, блокируя реакторы. Кроме того, они увеличивают нагрузку на систему в расположенных ниже по потоку установках, например установку десульфуризации Клауса. Блок 50 смесителя поэтому также имеет функцию отгона легких фракций большинства или всех унесенных углеводородов из потока жидкого амина в поток газа. Этот поток газа можно впоследствии проходить в обычную противоточную колонну, где углеводороды будут проходить с очищенным газом к выходу 7 газа. Поэтому когда поток использованного амина проходит в блок 11 регенерации, в нем имеется мало унесенного углеводорода, проходящего к блокам ниже по потоку, или он отсутствует. Блок смесителя предпочтительно уменьшает содержание углеводорода в потоке амина по меньшей мере на 80%, более предпочтительно по меньшей мере на 90% и наиболее предпочтительно по меньшей мере на 95%.
Поскольку блок 20 очистки СНГ работает при более высоком давлении, чем колонна 1 абсорбции кислого газа и блок 50 смесителя, не будет требоваться дополнительного нагнетания, и поток амина из блока 20 в дополнительный блок 50 смесителя может регулироваться путем использования вентилей дистанционного управления (не показаны).
Как обозначено выше, блок 50 смесителя для ликвидации узкого места существующего процесса или для выборочного удаления одного или большего количества компонентов кислого газа из потока газа и одновременного отгона легких фракций углеводородов состоит из двух смесителей или мешалок, вторым из которых является показанный на фиг.3a-3c. Первый смеситель или мешалка могут быть любыми из тех, которые показаны на фиг.3, 4 и 5 (включая вторую мешалку типа, показанной на фиг.3), хотя любые другие подходящие турбулентные смесители также могут быть использованы. Если требуется увеличенный расход газа, может использоваться один или более смесителей либо последовательно либо параллельно с существующей колонной. Небольшой размер смесителей означает, что они могут быть установлены на существующих участках, где не будет места для дополнительных традиционных колонн.
На фиг.3a изображена встроенная мешалка, в которой корпус 102 мешалки размещен в трубе 101A, 101B посредством фланцевых соединений 103A, 103B. Направление потока текучей среды через трубу обозначено стрелками F1 и F2. Эта мешалка может быть легко вмонтирована в существующий трубопровод без необходимости в существенном дополнительном помещении, которое потребовалось бы для дополнительных традиционных колонн. Корпус 102 имеет внутреннюю стенку 121, которая изображена, по существу, цилиндрической, которая прерывается входным отверстием 122 и выходным отверстием 123. Корпус включает два регулирующих элемента 104 и 105, которые являются коаксиальными и имеют форму (цилиндрическую), подобную форме корпуса. Эти элементы 104 и 105 могут по отдельности поворачиваться в корпусе 102, и каждый включает каналы 106A, 106B и 107A, 107B в их соответствующих стенках. Каналы предпочтительно имеют существенно большую длину, чем поперечные размеры. Общая ось АХ корпуса 102 и регулирующих элементов 104 и 105 изображена как ориентированная под 90° к общему направлению потока, хотя это не существенно. Вообще общая ось расположена, главным образом, поперек направления потока.
На стороне входа входные протоки 106A и 106B имеют сходящуюся ориентацию так, что они направлены в общем к центральному участку в корпусе 102. Это представляет собой идеальный случай. На стороне выхода выходящие протоки 107A и 107B в значительной степени параллельны в соответствующем направлении к направлению сквозного потока. При повороте регулирующих элементов 104 и 105 из положения, показанного на фигурах, протоки через мешалку будут изменяться. Как показано, каналы, идущие как вверх по потоку, так и вниз по потоку, находятся на одной линии друг с другом и центрированы относительно отверстий 122 и 123 так, чтобы текучая среда проходила через них с наименьшим сопротивлением. Это представляет собой мешалку в полностью открытом положении, где каналы образуют непрерывный путь потока без кромок. Поворот одного или обоих регулирующих элементов может изменить размер и число каналов и посредством этого воздействует на скорость текучей среды, и, следовательно, смешение. Это также приведет в результате к большему перепаду давления в связи с более высоким сопротивлением потоку.
Протоки (например, каналы 107А) могут иметь круглое поперечное сечение, как показано на фиг.3с, или могут иметь альтернативную конфигурацию, такую, как, например, узкое или щелевидное устройство. Каналы также могут быть выполнены таким образом, что они имеют скорее коническую, чем цилиндрическую форму, что может создать эффект типа сопла по направлению к центру корпуса 102. Каналы, показанные на фиг.3с, имеют правильное расположение поперек всей площади отверстий 122 и 123. Однако в некоторых случаях может быть предпочтительно отклонение от правильного распределения, в частности на стороне входа в мешалку. Для увеличения пропускной способности каналов, то есть для снижения сопротивления потоку через мешалку корпус 102 может быть выполнен с расширяющимся поперечным сечением потока по направлению к одному или обоим отверстиям 122 и 123 с соответствующим увеличением поверхности стенок перфорированных участков.
На фиг.3b и 3с показаны регулирующие элементы 104 и 105, имеющие коаксиальные шпиндели 114 и 115 соответственно, для контроля взаимного перемещения элементов относительно друг друга и корпуса. Регулирование относительных положений регулирующих элементов будет контролировать поток через мешалку. В одном крайнем положении проход через протоки будет полностью закрыт.
В дополнение к каналам, упомянутым выше, регулирующие элементы 104 и 105 имеют отверстия 104A, 104B и 105A, и 105B соответственно, диаметр которых соответствует диаметру трубы и отверстий 122 и 123. Эти отверстия имеют ось, находящуюся в основном под углом 90° к центральной оси соответствующих частей стенок с протоками. Эти отверстия 104A, 104B, 105A и 105B могут быть расположены на одной линии с отверстиями 122 и 123 для создания, по существу, свободного и прямого участка трубы. Деталь 112 сердечника типа пробки может быть выполнена так, чтобы герметично взаимодействовать с внутренней стороной регулирующего элемента 104 у наружной стенкой 112A детали сердечника. Через деталь сердечника 112 проходит отверстие 112B, которое предпочтительно находится на одной линии с входным отверстием 122 и выходным отверстием 123 и в котором предусмотрено такое же поперечное сечение потока.
Расположение каналов, которые сходятся по направлению к центральной точке корпуса 102, создает хорошее смешение для целого диапазона структур потока. Любые компоненты жидкости, которые расположены на дне потока в секции трубы 101A, поднимаются наклонными каналами в центр корпуса 102. Аналогично любые газы, которые расположены в верхней части трубы во входной секции, вытесняются по направлению вниз к центральному участку. Фазы поэтому смешиваются эффективно в центре корпуса 102 и затем подаются равномерным образом через параллельные выходящие протоки 107A и 107B. Поэтому имеется полностью гомогенная смесь фаз в поперечном сечении секции трубы 101B.
На фиг.4a изображено первое конструктивное выполнение смесителя, который может быть первым из ряда мешалок в блоке 50 смесителя. Смеситель 201 включает вход 202 потока газа, вход 203 потока жидкости и выход 204. Поток газа подается на вход потока газа, который ведет к сходящейся секции 205 трубы. Сходящаяся секция 205 трубы ускоряет поток газа, когда он проходит через вход 203 потока жидкости в конце секции 205 трубы, где имеется острая кромка 206. Ниже по потоку после этой острой кромки 206 имеется зона 207 реакции, где газ и жидкость предпочтительно образуют гомогенную смесь.
Жидкость подводится ко входу 203 жидкости, откуда она подается регулируемым способом во внутреннюю часть сходящейся секции 205 трубы. Жидкость присутствует в трубе в виде кольцевого пространства вокруг внутренней поверхности трубы. В начальной фазе скорость жидкости, обращенной к потоку газа, управляется расходом жидкости, величиной зазора 208 и величиной кольцевого пространства 209. Величина зазора 208 может быть изменена движением блоков 210. Зазор будет изменяться с учетом используемого жидкого растворителя, свойства которого изменяются значительно. Диаметр 209 кольцевого пространства жидкости может быть изменен путем изменения угла сходящейся трубы или путем перемещения положения кольцевого пространства жидкости относительно конца сходящейся трубы.
Кольцевое пространство жидкости, присутствующей на внутренней поверхности трубы, растягивается вдоль внутренней поверхности трубы в форме пленки 211 потоком газа. Это лучше всего показано на фиг.4b. Пленка 211 жидкости тесно прилипает к стороне секции 205 трубы до тех пор, пока она не достигнет острой кромки 206. В этой точке пленка жидкости разрывается для образования волокна 212. Образование волокон и их последующий вектор скорости определяются относительной скоростью между газовой и жидкой фазами, поверхностным натяжением между газом и жидкостью и острой кромкой 206. В связи с условиями чрезвычайной турбулентности в зоне реакции 207 волокна 212 далее разбиваются на очень маленькие капельки 213, которые обеспечивают очень высокое отношение площади поверхности к объему, посредством этого делая чрезвычайно эффективным использование подаваемой жидкости. Если это подходит, создается возможность использовать значительно меньшие объемы жидкости, чем требуются при традиционных процессах по известному уровню техники, в то же время еще осуществляя подобную абсорбцию кислого газа. Образованию капелек в зоне реакции благоприятствует высокое число Вебера (We) и, следовательно, высокий расход газа.
Маленькие капельки жидкости и поток газа тесно смешиваются в зоне 207 реакции, и многофазный поток проходит через конический диффузор 215 (см. фиг.4a), где часть давления, которое падает при ускорении потока газа в сходящейся секции 205 трубы, восстанавливается. Многофазный поток затем проходит ко второму смесителю (как показано на фиг.3a, 3b и 3c) без разделения на отдельные фазы.
На фиг.4c изображено второе конструктивное выполнение смесителя, подходящего для использования в способе по настоящему изобретению в качестве первой мешалки в блоке 50 смесителя. Смеситель 220 содержит вход 222 потока газа, вход 223 потока жидкости и выход 224. Поток газа подается ко входу потока газа, который ведет к сходящейся секции 225 трубы для ускорения потока газа. В конце сходящейся секции трубы имеется острая кромка 226, после которой, ниже по потоку имеется зона 227 реакции, где газ и жидкость предпочтительно образуют гомогенную смесь. Одним различием между смесителем по фиг.4a и смесителем по фиг.4c является размещение входа жидкости относительно кольцевого пространства жидкости. В этом случае жидкость подается на вход 223, откуда она проходит через проходы 223a и 223b к резервуару 223c, который проходит вокруг периметра трубы. Затем жидкость выходит через канал 223d, который снова проходит вокруг всего периметра трубы (см. фиг.4d) к кольцевому пространству на внутренней поверхности сходящейся секции трубы. Из-за условий напряжений сдвига и динамического давления, передаваемого газом к жидкости, поток жидкости все еще прилипает к поверхности трубы, пока не достигнута острая кромка 226.
Другим различием между двумя смесителями является наклон сходящихся секций трубы 205, 225. В смесителе 220 сходящаяся секция 225 трубы имеет значительно более крутой наклон, чем наклон в смесителе 201, и поэтому достигается меньшая площадь поперечного сечения при той же самой длине трубы. Отношение диаметров между горловиной и трубой, так же как угол сходящегося конуса, могут быть изменены независимо. Эта уменьшенная площадь поперечного сечения приведет в результате к большему ускорению потока газа, когда он достигает острой кромки, но также приведет, следовательно, к большему перепаду давления. Также на выбор угла сходящейся трубы будет воздействовать постоянный перепад давления, который может быть распределен по всему этому устройству. Как обозначено ранее, разрыв жидкости на волокна и впоследствии на капельки регулируется числом Вебера. На него влияет квадрат относительной скорости между газовой и жидкой фазами. Поэтому небольшое изменение скорости потока газа, частично регулируемое ускорением, создаваемым углом сходящейся секции трубы, может иметь существенное воздействие на разрыв жидкости и, следовательно, эффективность установки.
На фиг.4d изображено увеличенное поперечное сечение площади в пределах круга А на фиг.4c. На ней изображен более подробно проход жидкости через вход 223 потока жидкости. Жидкость проходит через проходы 223a и 223b к камере 223c, которая проходит вокруг периметра трубы. Затем жидкость подается через узкий проход 223d к внутренней поверхности конической секции 225 трубы. Проход 223d изображен очень узким и может иметь ширину порядка только 0,2 мм. Перепад давления в этом проходе тщательно контролируется и регулируется для обеспечения непрерывного потока жидкости с гомогенным распределением вокруг всего периметра трубы в сходящейся секции 225 трубы. Как указано выше, размер прохода 223d регулируется движением блоков 230 и 231. Пунктирная линия 225a показывает альтернативный наклон сходящейся секции 225 трубы, который дает более высокую скорость газовой фазы и, следовательно, улучшенное смешение, но увеличивает постоянный перепад давления в устройстве. Это изменение может быть произведено просто заменой одной части устройства на другую.
После того, как газ и жидкость были тесно смешаны в зоне реакции 227 сразу ниже по потоку после острой кромки 226, может быть расходящаяся секция 228 для восстановления части перепада давления. Длина секции 228 может быть изменена для регулирования степени восстановления давления. После расходящейся секции 228 выборочно имеется прямая труба значительной длины для поддержания образованной структуры потока и для создания места дальнейшей реакции (см. фиг.4c). Длина прямой трубы рекомендуется равной от 15 до 20 стандартных диаметров трубы.
Типичные размеры смесителей могут быть в диапазоне 51-1016 мм (2-40 дюймов) в диаметре. В частности, устройство для удаления примесей из природного газа может иметь диаметр трубы 216 (см. фиг.4a), равный 610 мм (24 дюйма), с диаметром острой кромки 217, равным 253 мм (10 дюймов). Начальный диаметр 218 расходящейся трубы может быть 370 мм (14,5 дюймов). Как указано выше, диаметр острой кромки может быть изменен вместе с наклоном сходящейся трубы, и другие диаметры острой кромки, которые могут использоваться, включают 296 мм (11,7 дюймов), подобно показанному на фиг.4c, и 272 мм (10,7 дюймов).
Пример другого смесителя, который может использоваться как первая в ряду мешалок в блоке 50 смесителя, изображен на фиг.5a. Турбулентный смеситель 300 содержит сосуд 301, имеющий первый вход 302 текучей среды, второй вход 303 текучей среды и выход 304, ведущий к проходу 305 трубки Вентури. Имеется труба 306 (которая может быть выполнена перфорированной или неперфорированной), проходящая от выхода 304 обратно в сосуд 301. Труба 306 может быть соединена непосредственно со входом 303 текучей среды.
В первом устройстве смесь газов подают в сосуд 301, а жидкость подают в трубу 306 по выбору непосредственно, посредством чего газ вовлекается в трубку Вентури жидкостью, и две фазы смешиваются.
Во втором устройстве жидкость подают в сосуд 301, а смесь газов подают в трубу 306 по выбору непосредственно, посредством чего жидкость вовлекается в трубку Вентури газом, и две фазы смешиваются.
В третьем устройстве жидкость и смесь газов подают в сосуд 301, причем жидкость подают на уровень выше уровня выхода 304, посредством чего газ вытесняется через выход 304 по трубе 306, тем самым вовлекая жидкость в трубку Вентури так, что две фазы смешиваются.
Четвертый вариант изображен на фиг.5b. Это конструктивное выполнение подобно показанному на фиг.5a, но смеситель 310 преобразован. Он включает сосуд 311 со входом 312 жидкости, входом 313 газа и выходом 314, ведущим к проходу 315 трубки Вентури. Имеется труба 316 (которая может быть выполнена перфорированной или неперфорированной), проходящая от выхода 314 обратно в сосуд 311. Труба 316 может быть соединена непосредственно со входом 313 газа. В этом конструктивном выполнении жидкость вытесняется в трубу 316, и газ вовлекается в проход 315 трубки Вентури посредством жидкости, и две фазы смешиваются. Когда труба 316 перфорирована, газ может быть вовлечен в трубу 316 через перфорации.
Дополнительный пример смесителя, который может использоваться как первая мешалка в способе по настоящему изобретению, изображен на фиг.5с. Турбулентный смеситель 320 содержит сосуд 321, имеющий первый вход 322 текучей среды, второй вход 323 текучей среды и выход 324, ведущий к проходу 325 трубки Вентури. Имеется перфорированная труба 326, проходящая от выхода 324 обратно в сосуд 321. Перфорированная труба 326 расположена так, что она не имеет зазора у выхода 324 сосуда 321 для прохода текучих сред через нее. Результатом этого устройства является то, что вся текучая среда выходит из сосуда 321 через перфорированную трубу 326. Труба 326 может быть соединена непосредственно со входом 323 текучей среды.
В первом устройстве смесь газов подают в сосуд 321, а жидкость подают в трубу 326 по выбору непосредственно, посредством чего газ вовлекается в трубку Вентури жидкостью, и две фазы смешиваются.
Во втором устройстве жидкость подают в сосуд 321, а смесь газов подают в трубу 326 по выбору непосредственно, посредством чего жидкость вовлекается в трубку Вентури газом, и две фазы смешиваются.
В третьем устройстве жидкость и смесь газов подают в сосуд 321, причем жидкость подают на уровень выше уровня выхода 324, посредством чего газ вытесняется через выход 324 по трубе 326, тем самым вовлекая жидкость в трубку Вентури так, что две фазы смешиваются.
Четвертый вариант изображен на фиг.5d. Это конструктивное выполнение подобно показанному на фиг.5c, но смеситель 330 преобразован. Он содержит сосуд 331 с входом 332 жидкости, входом 333 газа и выходом 334, ведущим к проходу 335 трубки Вентури. Имеется перфорированная труба 336, проходящая от выхода 334 обратно в сосуд 331. Как в конструктивном выполнении, показанном на фиг.5с, перфорированная труба 336 расположена так, что она не имеет зазора у выхода 334 сосуда 331 для прохода смеси газов через него. Все текучие среды должны проходить через перфорированную трубу 336 к проходу 335 трубки Вентури.
В этом конструктивном выполнении жидкость вытесняется в трубу 336, и газ вовлекается в проход 335 трубки Вентури посредством жидкости, и две фазы смешиваются. Поскольку труба 336 перфорирована, газ может быть вовлечен в трубу 336 через перфорации.
Как указано выше, трудно модернизировать многочисленные подачи в существующие колонны, и во многих случаях не имеется достаточного помещения для размещения дополнительных колонн. Путем введения блока 50 прямоточного смесителя возможно предварительно очистить подаваемый в абсорбер газ с использованием наполовину истощенного амина из разнообразных источников. Поэтому поток подаваемого газа (например, природного газа) предварительно очищается в блоке 50 прямоточного смесителя интегрированным потоком амина. Это означает, что газ, входящий в существующую противоточную колонну 1, имеет значительно уменьшенное содержание кислого газа, который затем очищается истощенным амином. Чрезмерное насыщение амина посредством рециркуляции обозначает, что количество требуемого истощенного амина уменьшается вплоть до 50% и, следовательно, снижается циркуляция жидкости в установке.
Как указано выше, смесители по настоящему изобретению имеют значительное преимущество при выборочном удалении Н2S из потока газа и одновременном мгновенном испарении унесенных жидких углеводородов из растворителя. Это особенно полезно в ситуациях, где Н2S удаляется из сжиженного нефтяного газа (СНГ), например, в экстракторах. При использовании традиционных колонн углеводороды уносятся с жидким растворителем, снижая эффективность аминов, и степень абсорбции Н2S соответственно уменьшается. Также СНГ, мгновенно испаренный в регенераторе, занимает емкость обрабатывающего оборудования ниже по потоку, такого как установки Клауса (блоки переработки серы). Путем использования способа по настоящему изобретению и подачи его вместе с растворителем из экстрактора, то есть вводя дополнительные прямоточные смесители перед существующими колоннами, большой процент Н2S может быть удален перед традиционной колонной, и унесенные углеводороды в значительной степени удаляются. Эффективность традиционной колонны поэтому увеличивается, и скорость циркуляции амина в колонне уменьшается, посредством этого уменьшается нагрузка на установку в целом.
В молекулах амина, используемого в этих установках, обнаруживаются как полярные, так и в неполярные участки, поэтому молекулы будут проникать как в фазу жидких углеводородов, так и в водную фазу. Для такой смеси углеводороды-амины предсказание характеристик мгновенного испарения СНГ не возможно без экспериментальных данных, полученных с участием текучих сред.
Компоненты жидкого C3+ в амине из агрегата СНГ с последовательными элементами не находятся в равновесии с компонентами C3+ в газе, подаваемом для очистки. Основными компонентами газа являются C1, C2 и H2, и подаваемый газ имеет вначале низкое содержание компонентов C3+.
Поскольку блок 50 смесителя по настоящему изобретению характеризуется очень высокой площадью граничной поверхности газ-жидкость (на единицу длины) и соответствующими высокими скоростями массообмена, предполагается, что многофазная установка должна приблизиться к равновесию гораздо быстрее, чем сопоставляемый сосуд для мгновенного испарения. Одной причиной для этого является высокая движущая сила, передаваемая сжиженному СНГ, подвергающемуся воздействию газовой фазы. Другой причиной является то, что объем сжиженного СНГ подвергается воздействию газовой фазы посредством непрерывного перераспределения сжиженного СНГ, диспергированного в амине. Воздействие и перераспределение усиливаются в связи с высокими скоростями уноса жидкости и осаждения, связанными с потоком газ-капельки и смешением газ-жидкость в блоке 50 смесителя. В результате количества жидких углеводородов значительно уменьшаются по направлению к концу блока 50 смесителя.
Предполагается, что к сосуду для мгновенного испарения относятся следующие предположения:
(i) легкие углеводороды (C1, C2) и водород абсорбируются или уносятся как газ и будут легко отделяться от амина в сосуде для мгновенного испарения в связи со сдвигом условий равновесия (например, давления) и благоприятными условиями для гравитационного разделения пузырьков газа в жидкости;
(ii) жидкий C3+ должен быть подвергнут воздействию атмосферы при достаточно низком парциальном давлении C3+ для испарения. Этот процесс является медленным, и массообмен зависит от площади граничной поверхности газ-жидкость и времени пребывания. Таким образом предполагается, что скорость испарения C3+ в сосуде является низкой.
В итоге массовый поток C3+ с амином является функцией начального потока C3+ с амином (перед взаимодействием с контактирующим газом); площади граничной поверхности газ-жидкость и времени пребывания в блоке смесителя; и концентрации газообразного C3+ в смеси газов.
Блок смесителя по настоящему изобретению способствует значительному уменьшению потока C3+ в сосуд для мгновенного испарения. Также интеграция потока амина уменьшает скорость циркуляции и, следовательно, увеличивает время пребывания в сосуде для мгновенного испарения.
На фиг.6 изображено устройство, используемое для того, чтобы испытать одновременную работу блока смесителя по настоящему изобретению для удаления СНГ из подачи амина путем мгновенного испарения в продолжение процесса взаимодействия газа и жидкости и выборочного удаления Н2S из отходящего газа нефтеперерабатывающего завода с использованием наполовину истощенного амина из экстрактора СНГ. СНГ подается через поток 420 в экстрактор 421 СНГ вместе с истощенным амином через поток 422. Продукт с верха проходит в дополнительную мешалку 423, куда добавляется дополнительный истощенный амин. Многофазная текучая среда проходит в отстойник 424, откуда наполовину истощенный амин может подаваться обратно в экстрактор 421 СНГ. Газообразный продукт проходит из отстойника в коагулятор 425, из которого извлекается большее количество наполовину истощенного амина. Значительная часть этого наполовину истощенного амина действует как подача в блок 430 смесителя через поток 426. В блоке 430 смесителя наполовину истощенный амин реагирует с отходящим газом нефтеперерабатывающего завода (поток 427), производя потоки очищенного газа 428 и насыщенного амина, который должен пройти в блок 429 регенерации.
Для измерения количества СНГ, удаленного из потока амина, подаваемого в смеситель, должно быть определено начальное содержание СНГ в потоке амина. Образцы жидкости приблизительно 0,5 дм3, поэтому отбирают из потока амина в расширяющийся поршневой цилиндр в условиях процесса. СНГ мгновенно испаряется из образца амина в предварительно вакуумированный ресивер газа посредством повторного выполнения следующей последовательности: вакуумирование, встряхивание и осаждение отобранной жидкости до тех пор, пока газа не будет больше мгновенно испаряться. Объем мгновенно испарившегося газа, собранного в ресивере для образцов, измеряют, и состав смеси газов смеси определяют, используя газовую хроматографию.
Этот способ анализа был оценен путем отбора образцов известных объемов из чистого восстановленного амина и смесей восстановленного амина и СНГ. Способ был далее оценен путем повторения испытаний. Как можно увидеть из результатов, показанных на фиг.7, неопределенность в анализе жидкости имеет порядок ±10%, который считается приемлемым. Результаты некоторых из проведенных испытаний приведены в таблице 1 ниже.
| Таблица 1 |
| Концентрации высокосернистого газа (объемные %) |
Удаленный высокосернистый газ (%) |
Углеводороды, удаленные из амина (%) |
| H2S на входе |
H2S на выходе |
CO2 на входе |
CO2 на выходе |
H2S |
CO2 |
|
| 2,78 |
0,58 |
1,55 |
1,46 |
79 |
6 |
81 |
| 2,72 |
0,61 |
1,61 |
1,49 |
78 |
7 |
90 |
Как можно увидеть из вышеупомянутых результатов, приблизительно 90% углеводородов, унесенных амином, и 78% H2S в высокосернистом газе могут быть удалены одновременно в блоке смесителя по настоящему изобретению. Кроме того, совместная абсорбция СО2 составляет только 7%. Данные для второго комплекта результатов в таблице 1 представлены на графиках на фиг.8 и 9.
Настоящее изобретение поэтому обеспечивает эффективное решение проблемы углеводородов, унесенных в подаваемом жидком амине, и также обеспечивает эффективный способ выборочной абсорбции H2S из потока газа предпочтительнее, чем СО2, в то же время производя отгон легких фракций большей части, если не всех унесенных углеводородов в потоке рециркулирующего интегрированного амина.
Формула изобретения
1. Способ для одновременной абсорбции выбранных компонентов кислого газа из потока газа и отгона легких фракций углеводородов, унесенных в потоке жидкости, включающем растворитель или реактив для отобранного компонента газа, в котором поток газа и поток жидкости подают в первый смеситель, где они входят в контакт в прямотоке и подвергаются турбулентным условиям смешивания, многофазный поток из первого смесителя пропускают ко второму смесителю, содержащему корпус, выполненный с возможностью его размещения в трубе для прохождения потока текучей среды через нее, причем указанный корпус содержит входное и выходное отверстия, соответственно, корпус снабжен, по меньшей мере, одним внутренним подвижным герметично установленным регулирующим элементом, частично включающим центральную камеру для создания части первой стенки, соединенной со стороной входа корпуса, и части второй стенки, соединенной со стороной выхода корпуса, причем указанные части стенок снабжены рядом сквозных протоков, каждый из которых имеет существенно меньшую площадь поперечного сечения, чем поперечное сечение протока входных и выходных отверстий, соответственно, и в котором регулирующий элемент выполнен подвижным относительно корпуса, и многофазный поток из второго смесителя разделяют на газовую фазу и жидкую фазу после второго смесителя.
2. Способ по п.1, в котором используют первый смеситель, представляющий собой турбулентный смеситель, имеющий секцию сужающейся трубы, через которую проходит поток газа, вход жидкости, расположенный так, чтобы образовать кольцевое пространство из жидкости вокруг внутреннего периметра трубы, острую кромку на конце сужающейся трубы и дополнительную секцию трубы ниже по потоку после острой кромки.
3. Способ по п.1, в котором используют первый смеситель, содержащий сосуд, включающий вход газа, вход жидкости и выход, причем выход ведет к проходу трубки Вентури, и трубу, простирающуюся от выхода обратно вверх по потоку, причем труба является перфорированной и/или отделена промежутком от периферии выхода.
4. Способ по п.1, в котором используют первый смеситель, являющийся таким же, как второй смеситель.
5. Способ по любому из предшествующих пунктов, в котором H2S выборочно абсорбирован предпочтительнее, чем CO2.
6. Способ по п.5, в котором величина H2S в потоке выходящего газа меньше, чем 1,5 об.%, предпочтительно меньше, чем 1 об.%.
7. Способ по п.1, в котором поток жидкости представляет собой поток амина, включающий унесенные углеводороды.
8. Способ по п.7, в котором поток жидкости подают непосредственно в первый смеситель из агрегата из последовательных элементов для десульфуризации сжиженного нефтяного газа (СНГ).
9. Способ по п.7, в котором амин выбирают из МЭА, ДЭА, ДИПА и МДЭА.
10. Способ по п.1, в котором жидкую фазу впоследствии очищают для удаления любого компонента абсорбированного газа.
11. Способ по п.1, в котором 70%, предпочтительно 80% и более предпочтительно 90% углеводородов в подаваемой жидкости отгоняются как легкие фракции в поток газа.
12. Устройство для одновременной абсорбции выбранных компонентов кислого газа из потока газа и отгона легких фракций углеводородов, унесенных в потоке жидкости, включающем растворитель или реактив для выбранного компонента газа, содержащее первый прямоточный смеситель, где поток газа и поток жидкости подвергают турбулентным условиям смешивания, второй прямоточный смеситель, содержащий корпус, выполненный с возможностью его размещения в трубе для прохождения потока текучей среды через нее, причем корпус содержит входное и выходное отверстия, соответственно, корпус снабжен, по меньшей мере, одним внутренним подвижным герметично установленным регулирующим элементом, частично окружающим центральную камеру для создания части первой стенки, соединенной со стороной входа корпуса, и части второй стенки, соединенной со стороной выхода корпуса, причем указанные части стенок снабжены рядом сквозных протоков, каждый из которых имеет существенно меньшую площадь поперечного сечения, чем поперечное сечение потока входных и выходных отверстий, соответственно, и в котором регулирующий элемент выполнен подвижным относительно указанного корпуса, и средство для разделения многофазного потока из второго смесителя на газовую фазу и жидкую фазу.
13. Устройство по п.12, в котором первый смеситель представляет собой турбулентный смеситель, имеющий секцию сужающейся трубы, через которую проходит поток газа, вход для жидкости, расположенный так, чтобы образовать кольцевое пространство из жидкости вокруг внутреннего периметра трубы, острую кромку на конце сужающейся трубы и дополнительную секцию трубы ниже по потоку после острой кромки.
14. Устройство по п.12, в котором первый смеситель содержит сосуд, включающий вход газа, вход жидкости и выход, причем выход ведет к проходу трубки Вентури, и трубу, простирающуюся от выхода обратно вверх по потоку, причем труба является перфорированной и/или отделена промежутком от периферии выхода.
15. Устройство по п.12, в котором первый смеситель является таким же, как и второй смеситель.
РИСУНКИ
PC4A – Регистрация договора об уступке патента СССР или патента Российской Федерации на изобретение
Прежний патентообладатель:
СТАТОЙЛ АСА (NO)
(73) Патентообладатель:
ПроПуре АС (NO)
Договор № РД0030101 зарегистрирован 11.12.2007
Извещение опубликовано: 20.01.2008 БИ: 02/2008
|
|