|
(21), (22) Заявка: 2004105854/15, 26.07.2002
(24) Дата начала отсчета срока действия патента:
26.07.2002
(30) Конвенционный приоритет:
27.07.2001 (пп.1-16) DE 20112395.9
(43) Дата публикации заявки: 10.05.2005
(46) Опубликовано: 20.03.2007
(56) Список документов, цитированных в отчете о поиске:
JP 8322770 А, 10.12.1996. JP 03-092123 A, 17.04.1991. JP 03-066344 А, 22.03.1991. JP 8317887 A, 03.12.1996. SU 1805908 A3, 30.03.1993. RU 2135067 C1, 27.08.1999.
(85) Дата перевода заявки PCT на национальную фазу:
27.02.2004
(86) Заявка PCT:
EP 02/08366 (26.07.2002)
(87) Публикация PCT:
WO 03/011430 (13.02.2003)
Адрес для переписки:
129010, Москва, ул. Б. Спасская, 25, стр.3, ООО “Юридическая фирма Городисский и Партнеры”, пат.пов. Ю.Д.Кузнецову, рег.№ 595
|
(72) Автор(ы):
БРАУНМИЛЛЕР Йозеф (DE)
(73) Патентообладатель(и):
БРАУНМИЛЛЕР Йозеф (DE)
|
(54) УСТРОЙСТВО ДЛЯ ОЧИСТКИ ВОЗДУХА И ПОМЕЩЕНИЯ
(57) Реферат:
Устройство (1) для очистки воздуха и помещения включает механизм (15) прососа воздуха, водяной затвор (8), а также вращающийся смачиваемый водой сепаратор, через который проходит воздух. В устройстве для очистки предусмотрено устройство управления (17), которое при выключении сепаратора (11) тормозит двигатель механизма (15) прососа воздуха. Изобретение позволяет улучшить устройство так, чтобы при включении и при выключении устройства из него выходил только очищенный воздух. 15 з.п. ф-лы, 3 ил.
Изобретение относится к устройству для очистки воздуха и помещения, включающему механизм прососа воздуха с двигателем и водяной затвор, а также вращающийся увлажняемый водой сепаратор, через который проходит воздух.
Подобные устройства на практике известны, и хотя они очень хорошо показали себя, но они имеют существенный недостаток.
Из документа JP 03-092123, 17.04.1991 известно устройстве для очистки воздуха и помещения, включающее механизм прососа воздуха с двигателем, водяной затвор, а также вращающийся смачиваемый водой сепаратор, через который проходит воздух, при этом предусмотрено устройство управления. Такое устройстве является ближайшим аналогом заявленного изобретения.
При запуске двигателя механизма прососа воздухе и при его выключении, поскольку сепаратор еще или уже не работает, из устройства для очистки воздуха выходит неочищенный или не оптимально очищенный воздух.
В основе изобретения лежит задача улучшить устройство вышеуказанного типа так, чтобы при включении и при выключении устройства из него выходил только очищенный воздух.
В соответствии с изобретением данная задача решается посредством того, что предусмотрено устройство управления, которое, в частности, при включении или перед включением сепаратора затормаживает двигатель механизма прососа воздуха.
В частности, при работе двигателя по инерции механизм прососа воздуха еще обладает производительностью, а сепаратор достигает достаточной эффективности только при очень высокой частоте вращения.
Когда сепаратор выключается, производительность механизма прососа воздуха с двигателем также уменьшается настолько, что он уже не может просасывать неочищенный воздух.
При этом преимущественным является то, что в соответствии с вариантом выполнения изобретения двигатель механизма прососа воздуха снабжен тормозом, который срабатывает перед выключением сепаратора или по меньшей мере одновременно с ним.
Тормоз может иметь различные варианты выполнения.
Предпочтительный вариант выполнения изобретения характеризуется тем, что на сепараторе установлен двигатель, независимый от двигателя механизма прососа воздуха.
При этом двигатель механизма прососа воздуха может быть заторможен уже до выключения привода сепаратора так, что при снижении производительности сепаратора уже отсутствует просасывание. Также и перед включением устройства для очистки можно вначале запускать сепаратор прежде, чем вводить в работу двигатель механизма прососа воздуха.
При этом в соответствии с другим вариантом осуществления изобретения преимущественным оказалось то, что устройство управления включает и выключает двигатель механизма прососа воздуха в зависимости от частоты вращения двигателя сепаратора.
Также возможно, чтобы устройство управления выключало двигатель механизма прососа воздуха раньше двигателя сепаратора и включало позднее него.
Такая временная последовательность достаточна для того, чтобы предотвратить просасывание неочищенного воздуха.
Также преимущественным является то, что в соответствии с изобретением сепаратор установлен с возможностью вращения над водяным затвором.
Предпочтительный вариант выполнения изобретения характеризуется также тем, что сепаратор установлен в проходном отверстии для воздуха, которое ведет в полость просасывания, в которой установлена крыльчатка вентилятора механизма прососа воздуха.
Также преимущественным является то, что в соответствии с изобретением сепаратор и крыльчатка вентилятора механизма прососа воздуха имеют общий привод и снабжены тормозным устройством.
Другой предпочтительный вариант выполнения изобретения заключается в том, что сепаратор и крыльчатка вентилятора механизма прососа воздуха установлены на общем валу, на который воздействует тормоз.
Преимущественным является также следующий вариант выполнения изобретения, в соответствии с которым тормоз выполнен в виде электрического тормоза, например в виде электродинамического тормоза.
В соответствии с изобретением тормоз может выполняться механическим.
В соответствии с изобретением преимущественным является такой вариант выполнения, при котором на участке водяного затвора предусмотрено по меньшей мере одно направляющее устройство.
Данное направляющее устройство может отклонять и направлять поток входящего в очистительный прибор загрязненного воздуха.
При этом, преимущественно, в качестве направляющего устройства предусмотрен по меньшей мере один отражательный лист.
Также преимущественным является то, что направляющее устройство предусмотрено по существу параллельным поверхности пола.
Другой преимущественный вариант осуществления изобретения заключается в том, что водяной затвор разделен по меньшей мере на две камеры.
Кроме того, преимущественным является также и то, что направляющее устройство выполнено съемным.
Все эти варианты направляющего устройства имеют целью увеличение времени нахождения воздуха в водяном зазоре, благодаря чему он очищается лучше.
На фигурах изобретение поясняется с помощью трех примеров выполнения. Показано:
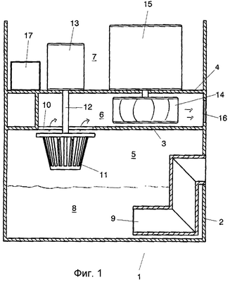
на фиг.1 – схематическое изображение устройства для очистки воздуха и помещения с двумя раздельными двигателями,
на фиг.2 – также схематическое изображение устройства с общим двигателем для просасывающего механизма и сепаратора,
на фиг.3 – еще одно схематическое изображение устройства для очистки воздуха и помещения с направляющим устройством, выполненным в виде отражательного листа.
В позиции 1 на фиг.1 обозначено устройство, имеющее корпус 2. В данном корпусе 2 предусмотрены две проходящие горизонтально перегородки 3 и 4, разделяющие корпус на три части 5, 6 и 7. В самой нижней части 5 предусмотрен водяной затвор 8, в который входит воздухозаборный патрубок 9. Этот воздухозаборный патрубок вставлен над водяным затвором 8 в наружную стенку корпуса 2 так, что предотвращается выход воды через данный патрубок. В перегородке 3 предусмотрено проходное отверстие для воздуха 10, перед которым установлен сепаратор 11, соединенный приводные валом 12 с двигателем 13. Проходное отверстие для воздуха 10 входит во вторую часть 6 корпуса 2, которая ограничена перегородками 3 и 4. В данной части 6 установлена крыльчатка 14 вентилятора механизма 15 прососа воздуха, который обеспечивает просасывание воздуха через воздухозаборный патрубок 9 и продувает его через выпускное отверстие 16 в наружной стенке корпуса 2.
Поток воздуха при прохождении водяного затвора увлекает за собой капли воды, на которых оседают содержащиеся в воздухе частицы пыли. При попадании на вращающийся с большой скоростью (около 25.000 мин-1) сепаратор 11 капли воды со связанной пылью отбрасываются, при этом неотброшенная вода стекает вниз, причем пыль по меньшей мере частично прилипает к сепаратору.
Проходящий через сепаратор 11 воздух очищается и просасывается при помощи крыльчатки 14 вентилятора к выпускному отверстию 16 для воздуха.
При включении устройства 1 за счет сигнала от неизображенного устройства управления 17 вначале запускается сепаратор 11, 12, 13; только тогда, когда будет достигнута его эффективная скорость вращения, включается также двигатель механизма 15 прососа воздуха. Этим исключается выход неочищенного воздуха через выпускное отверстие 16. Также и при выключении сепаратор остается включенным до тех пер, пока крыльчатка 14 вентилятора механизма 15 прососа воздуха еще транспортирует воздух через выпускное отверстие наружу. Только после этого двигатель 13 сепаратора выключается устройством управления 17.
В примере выполнения, показанном на фиг.2, устройство 21 для очистки воздуха и помещения также снабжено корпусом 22. Обе перегородки 3 и 4 также в данном случае разделяют корпус 22 на три части 5, 6 и 7. В самой нижней части 5 корпуса также предусмотрен водяной затвор 8, в которой входит водозаборный патрубок 9. Установленный над водяным затвором 8 в нижней части 5 корпуса сепаратор 11 закреплен вместе с установленной во второй части крыльчаткой 14 вентилятора на общем валу 12, который приводится в движение от общего двигателя 23.
Данный двигатель 23 выполнен так, что при запуске устройства 21 он очень быстро достигает своей максимальной скорости вращения, при которой сепаратор 11 максимально эффективен, поэтому при запуске устройства 21 из него выходит незначительное количество неочищенного воздуха.
Двигатель 23 снабжен тормозом 24, который при выключении устройства приводит к очень быстрой останове так, что и при этом транспортируется незначительное количество неочищенного воздуха.
Для тормоза 24 возможны разные варианты выполнения. С одной стороны, возможен электрический тормоз, например электродинамический тормоз. Могут применяться также электронные схемы торможения. Но можно также использовать механический тормоз.
Сепаратор 11 и крыльчатка 14 вентилятора также имеют различные формы выполнения, например они могут быть соединены между собой ременным приводом и приводиться в действие одним единственным двигателем. При этом необходимы те же меры, какие были описаны выше для случая с общим приводным валом.
На участке водяного затвора 8 можно предусмотреть установленный горизонтально отражательный лист 31, который увеличивает продолжительность пребывания всасываемого через отверстие 10 для прохода воздуха. Также возможно при помощи соответствующим образом выполненных направляющих устройств еще более продлить путь воздуха через водяной затвор 8. Например, можно выполнить канал через водяной затвор 8. Отражательная плита 31 выполнена съемной. Тем самым обеспечивается легкая очистка.
Также можно, чтобы часть 5 корпуса, содержащая водяной затвор, была разделена над водяным затвором 8 направляющим устройством по меньшей мере на две части, и чтобы воздухозаборный патрубок 9 был выполнен в виде отверстия через наружную стенку корпуса 2. Внутри воздухозаборный патрубок входит в обе нижние части. Для того чтобы воздух мог попадать из одной нижней части к другой, он должен проходить через водяной затвор 8.
Формула изобретения
1. Устройство (1, 21) для очистки воздуха и помещения, включающее механизм прососа воздуха с двигателем, водяной затвор (8), а также вращающийся смачиваемый водой сепаратор, через который проходит воздух, при этом предусмотрено устройство управления, отличающееся тем, что устройство управления (17) при выключении сепаратора (11) тормозит двигатель механизма (15, 23) прососа воздуха.
2. Устройство по п.1, отличающееся тем, что двигатель механизма (23) прососа воздуха снабжен тормозом (24), который включается до или, по меньшей мере, одновременно с выключением сепаратора (11).
3. Устройство по п.1, отличающееся тем, что сепаратор (11) соединен с независимым от двигателя механизма (15) прососа воздуха двигателем (13).
4. Устройство по п.3, отличающееся тем, что устройство управления (17) включает и выключает двигатель механизма (15) прососа воздуха в зависимости от скорости вращения двигателя (13) сепаратора.
5. Устройство по п.3, отличающееся тем, что устройство управления (17) включает двигатель механизма (15) прососа воздуха раньше двигателя сепаратора и выключает позднее двигателя сепаратора.
6. Устройство по п.1, отличающееся тем, что сепаратор (11) установлен с возможностью вращения над водяным затвором (8).
7. Устройство по п.6, отличающееся тем, что сепаратор (11) установлен в отверстии (10) для прохода воздуха, которое ведет в полость просасывания (6), в которой установлена крыльчатка (14) механизма (15) для прососа воздуха.
8. Устройство по п.1, отличающееся тем, что сепаратор (11) и крыльчатка (14) механизма (15) для прососа воздуха имеют общий привод.
9. Устройство по п.8, отличающееся тем, что сепаратор (11) и крыльчатка (14) механизма (15) для прососа воздуха установлены на общем валу (12), на который может воздействовать тормоз (24).
10. Устройство по п.9, отличающееся тем, что тормоз (24) выполнен в виде электрического тормоза, например электродинамического тормоза.
11. Устройство по п.9, отличающееся тем, что тормоз (24) выполнен в виде механического тормоза.
12. Устройство по любому из п.1, или 6, или 8, отличающееся тем, что на участке водяного затвора (8) предусмотрено, по меньшей мере, одно направляющее устройство для потока воздуха.
13. Устройство по п.12, отличающееся тем, что в качестве направляющего устройства для потока воздуха предусмотрен один отражательный лист (31).
14. Устройство по п.12, отличающееся тем, что направляющее устройство расположено, по существу, параллельно поверхности основания.
15. Устройство по п.12, отличающееся тем, что направляющее устройство установлено так, что водяной затвор (8) разделен, по меньшей мере, на две камеры.
16. Устройство по п.12, отличающееся тем, что направляющее устройство выполнено съемным.
РИСУНКИ
|