|
|
(21), (22) Заявка: 2002100565/63, 03.01.2002
(24) Дата начала отсчета срока действия патента:
03.01.2002
(43) Дата публикации заявки: 10.07.2003
(46) Опубликовано: 20.03.2007
(56) Список документов, цитированных в отчете о поиске:
US 6315672 B1, 13.11.2001. JP 10-109696 A, 28.04.1998. DE 4339580 A1, 14.04.1994. US 4578037 А, 25.03.1986. WO 96/27866 A1, 12.09.1996. GB 2288772 A1, 01.11.1995. GB 2094162 A, 15.09.1982.
Адрес для переписки:
603077, г.Нижний Новгород, ул. Лескова, 52, кв.31, В.Г. Савиновскому
|
(72) Автор(ы):
Савиновский Виталий Георгиевич (RU)
(73) Патентообладатель(и):
Савиновский Виталий Георгиевич (RU)
|
(54) СПОСОБ ПРОВЕДЕНИЯ ЗРЕЛИЩНОГО ПРЕДСТАВЛЕНИЯ
(57) Реферат:
Изобретение относится к индустрии развлечений. Аттракцион заключается в демонстрации свободного парения человека в вертикальном положении в воздушном потоке. Человек снабжен поясом для устойчивого вертикального парения в сосуде, выполненном в виде бутылки с расширяющимся кверху коническим участком. Воздух подают с помощью вентилятора через отверстие в днище сосуда. В верхней части сосуда выполнено выпускное отверстие. В сосуд человек проходит через боковую дверь. Конический участок ограничен снизу и сверху решетками. Количество подаваемого воздуха регулируют шибером. 5 з.п. ф-лы, 1 ил.
Область применения – индустрия развлечений, цирковые представления.
Назначение – цирковой номер, парковый аттракцион, устройство для развлечения.
Цель – повышение зрелищного интереса.
Известны демонстрационные подвижные фигуры, см. например «Плоская шарнирная кукла «русская балерина»”, патент RU №2071374 С1, кл. А 63 Н 3/18, которая представляет собой устройство для развлечения, аттракцион. Недостатки известного аттракциона: демонстрационная подвижная фигура представляет плоскую фигуру, отсутствует объемное восприятие зрелищного представления. Для устранения отмеченных недостатков известного аттракциона предназначен предлагаемый аттракцион «Человек в бутылке», далее просто аттракцион.
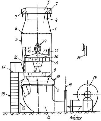
Аттракцион изображен на прилагаемом чертеже.
Аттракцион состоит из прозрачного вертикального сосуда 1 в виде бутылки, внизу с днищем 2, в середине с направленным вверх конусом коническим участком 3, вверху с горловиной 4, пробкой 5; в днище 2 выполнено отверстие 6, в горловине 4 выполнены отверстия 7, выходящие над пробкой 5; внутри конического участка 3 внизу смонтирована нижняя решетка 8, вверху установлена верхняя решетка 9; сосуд 1 фиксируется планкой 10, опираясь днищем 2 на площадку 11 опорной тумбы 12, при этом планка 10 соединена с опорной тумбой 12; в отверстие 6 днища 2 смонтирован патрубок 13 подачи воздуха от среднего давления вентилятора 14 с регулированием количества подаваемого воздуха шибером 15; сбоку конического участка 3 смонтирована плотная дверь 16, доступ к двери 16 с площадки 17 трапа 18; внутри расширяющегося вверх конического участка 3 размещается человек 19 с надетым на него поясом 20, либо муляж-робот 21 тела человека с поясом 20; для безопасности человек 19 снабжен защитными шлемом 22 и костюмом 23; человек 19 снабжен радиотелефоном 24, связанным с размещенным в помещении громкоговорителем 25.
Аттракцион работает следующим образом.
Монтируют трап 18 с площадкой 17 перед дверью 16. Пояс 20 размещают на нижней площадке 8. Человек 19 с радиотелефоном 24 по трапу 18 поднимается на площадку 17, через дверь 16 входит во внутреннюю полость сосуда 1 в его расширяющейся вверх конический участок 3 на нижнюю решетку 8; человек 19 надевает пояс 20, либо на муляж-робот 21 тела человека надевают пояс 20, закрывают дверь 16, по радиотелефону 24 дают команду на подъем, включают среднего давления вентилятор 14; от среднего давления вентилятора 14 воздух поступает к шиберу 15, через открытый шибер 15 воздух поступает в патрубок 13, через отверстие 6 воздух поступает во внутреннюю полость сосуда 1, проходит через нижнюю решетку 8, поступает в расширяющийся кверху конический участок 3, воздействует на человека 19 с поясом 20, либо на муляж-робот 21 тела человека с поясом 20, поднимая их вверх до установившейся высоты, выходя в зазор «А», образующийся между внутренней стенкой расширяющегося вверх конического участка 3 и наружной поверхностью пояса 20, по мере подъема человека 19 с поясом 20, либо муляжа-робота 21 тела человека с поясом 20 в расширяющемся сечении конического участка 3 зазор «А» увеличивается, а сила подъема уменьшается, таким образом, подъем происходит до установившегося равновесия – висения в потоке воздуха человека 19 с поясом 20, либо муляжа-робота 21 с поясом 20; при увеличении подачи воздуха с увеличением давления от среднего давления вентилятора 14 путем открытия шибера 15 происходит подъем вверх человека 19 с поясом 20, либо муляжа-робота 21 тела человека с поясом 20; при уменьшении подачи воздуха с уменьшением давления от среднего давления вентилятора 14 происходит снижение высоты висения человека 19 с поясом 20, либо муляжа-робота 21 тела человека с поясом 20; из зазора «А» воздух по внутренней полости расширяющегося вверх конического участка 3 поднимается вверх, проходит через верхнюю решетку 9, горловину 4, через отверстие 7 выходит в помещение.
Человек 19 защищен защитными шлемом 22 и костюмом 23. Речь человека по радиотелефону 24 передается на громкоговоритель 25.
Техническая реальность висения человека с поясом либо муляжа-робота с поясом в сосуде с коническим расширяющимся участком подтверждается аэродинамическим расчетом.
Аэродинамический расчет
Зададимся следующими исходными данными:
Вес человека Gч=55 кгс.
Вес пояса Gп=5 кгс.
Суммарный вес Gc=60 кгс.
Наружный диаметр пояса Дп=1,4 м.
Площадь человека с поясом Fn=ПДn2/4=П/4·1,42=1,54 м.
Зазор “А” равен =0,09Дn=0,09·1,4=0,126 м.
Примем перепад статического давления до и после зазора A Hc=20 кгс/м2.
Запишем уравнение для полного, статического и динамического давления
Нп=Нст+Нд, где
Нп – полное давление, кгс/м2.
Нст, Нд – статическое, динамическое давление, кгс/м2.
Уравнение для динамического давления
Нд= Vn2/2, где
=0,125 кгс·с2/м4 – плотность воздуха,
Vп – скорость потока, м/с.
Сопротивление человека с поясом потоку
где
R – сопротивление человека с поясом потоку, кгс.
Сах – коэффициент аэродинамического сопротивления.
Для шара Сах=0,31, для человека с поясом примем Сах=0,36.
Режим висения человека с поясом может быть описан уравнением равновесия
где
Pa – сумма действующих на человека с поясом аэродинамических сил, кгс.
Откуда для потребной скорости потока Vn получим:
, м/с
Подсчитаем
что соответствует скорости движения обычного автомобиля, что приемлемо для пребывания человека в потоке воздуха.
Подсчитаем потребные полный напор Нп и расход воздуха Qпв вентилятора.
Потребный полный напор Нп=Нст+Нд.
Потребный динамический напор 
Подсчитаем Нд=0,125·29,032/2=52,6 кгс/м2.
Статический напор Нст при работе вентилятора на режиме примерно равен динамическому напору Нд, откуда потребный полный напор Нп=52,6+52,6=105,2 кгс/м2.
Для нового проекта, когда трудно учесть потери напора, полный напор берут с запасом при коэффициенте запаса Кз=1,25-1,3, принимаем Кз=1,25, откуда потребный полный расчетный напор принимаем Нрп=Кз·Нп.
Нрп=1,25·105,2=131,5 кгс/м2.
Подсчитаем потребный расход воздуха Qпв по формуле
Qпв=Vп·Fп·3600, м3/ч.
Подсчитаем Qпв=29,03·1,54·3600=160900 м3/ч.
Режим Нрп=131,5 кгс/м, Qпв=160900 м3/ч обеспечит вентилятор Ц9-55 №14 с работой на режиме:
Нрп=131,5 кгс/м2, Qпв=160900 м3/ч, КПД вентилятора в 0,5, число оборотов вала вентилятора nв=600 об/мин (см. в кн. С.А.Рысин. «Вентиляторные установки машиностроительных заводов» Справочник, 2-е издание, ГНТИМА, М., 1961, стр.444).
Потребную мощность для вентилятора подсчитаем по формуле

Подсчитаем 
Потребную мощность обеспечит электродвигатель А-92-2 мощностью Nэ=125 кВт, с числом оборотов nэ=2950 об/мин – см. там же, стр.645.
Висение предмета в коническом расширяющемся сосуде при подаче воздушного потока в сосуд снизу проверено экспериментально. Этот принцип висения предмета в потоке используется в ротаметрах, см. например, описание его работы в кн. «Наладка и регулирование систем вентиляции и кондиционирования воздух». Справочное пособие. Под ред. Б.А.Журавлева. М., Стройиздат, 1980, с.28.
Подсчитаем скорость потока воздуха в зазоре «А» по формуле
где
Vз – скорость потока в зазоре, м/с,
Fз= ·Дп·П – площадь зазора, м2,
Fз=0,126·1,4·3,14=0,55 м2.
Подсчитаем что соответствует скорости движения спортивного автомобиля. Учитывая, что человек защищен защитными шлемом и костюмом, может быть допущена такая скорость потока в зазоре.
Формула изобретения
1. Способ проведения зрелищного представления, при котором демонстрируют подвижную фигуру человека, снабженного поясом и расположенного в прозрачном вертикальном сосуде в виде бутылки с расширяющимся кверху коническим участком, человек при этом не соприкасается с внутренней стенкой сосуда, и для подъема человека до установления равновесия – “висения” в потоке воздуха – воздух подают от вентилятора через отверстие в днище сосуда с выходом воздуха через отверстия в горловине сосуда, при этом количество подаваемого воздуха регулируют шибером.
2. Способ по п.1, отличающийся тем, что снабженный поясом человек пользуется защитным шлемом и костюмом.
3. Способ по пп.1 и 2, отличающийся тем, что снабженный поясом человек в защитном шлеме и костюме пользуется радиотелефоном.
4. Способ по п.1, отличающийся тем, что ограничение конического участка произведено решетками вверху и внизу.
5. Способ по п.1, отличающийся тем, что в вертикальный сосуд человек проходит через расположенную сбоку дверь.
6. Способ по п.1, отличающийся тем, что воздушный поток в вертикальном сосуде регулируется величиной открытия шибера.
РИСУНКИ
MM4A – Досрочное прекращение действия патента СССР или патента Российской Федерации на изобретение из-за неуплаты в установленный срок пошлины за поддержание патента в силе
Извещение опубликовано: 27.04.2009 БИ: 12/2009
|
|