|
|
(21), (22) Заявка: 2004134118/12, 23.11.2004
(24) Дата начала отсчета срока действия патента:
23.11.2004
(43) Дата публикации заявки: 10.05.2006
(46) Опубликовано: 20.03.2007
(56) Список документов, цитированных в отчете о поиске:
US 5564588 A, 15.10.1996. US 4532997 A, 06.08.1985. DE 3428797 A, 13.02.1986. SU 885689 A1, 30.11.1981. RU 2162189 C1, 20.01.2001.
Адрес для переписки:
141300, Московская обл., г.Сергиев Посад, пр.Красной Армии 80, ЗАО “Теплоогнезащита”
|
(72) Автор(ы):
Страхов Валерий Леонидович (RU), Крутов Александр Михайлович (RU), Заикин Сергей Вениаминович (RU), Авдеев Виктор Васильевич (RU), Годунов Игорь Андреевич (RU), Кузнецов Николай Григорьевич (RU), Моисеев Валерий Андреевич (RU)
(73) Патентообладатель(и):
Закрытое акционерное общество “Теплоогнезащита” (RU)
|
(54) РАЗБОРНАЯ ЗАЩИТНАЯ КОНСТРУКЦИЯ И СПОСОБ ХРАНЕНИЯ РЕЗЕРВУАРОВ С ОГНЕОПАСНЫМИ ВЕЩЕСТВАМИ
(57) Реферат:
Разборная защитная конструкция содержит несущий каркас, термостойкий теплоизолирующий слой и защитно-декоративную облицовку. Несущий каркас состоит из продольных и кольцевых элементов и замыкается тросами, соединенными с полюсными кольцами. Каждый кольцевой элемент состоит из верхней и нижней полок, нижняя из которых представляет собой два соединенные между собой полукольца, а верхняя – выполнена из двух стальных полос, концентрически установленных на полукольцах нижней полки посредством шпилек для образования единого двутаврового полукольца. Термостойкий теплоизолирующий слой состоит из наружных тканых слоев, на поверхности одного из которых, обращенного к огневому воздействию, нанесен слой вспучивающегося материала, и промежуточного теплостойкого слоя и выполнен в виде закрепленных в каркасе плоских матов. Способ хранения резервуаров с огнеопасными веществами заключается в монтаже вокруг резервуара разборной конструкции. При этом осуществляют установку продольных и кольцевых элементов несущего каркаса, между которыми размещают плоские маты термостойкого теплоизолирующего слоя, которые фиксируют тросами каркаса, и затем установку поверх несущего каркаса защитно-декоративной облицовки. Термостойкий теплоизолирующий слой выполняют из промежуточного теплостойкого слоя и наружных тканых слоев. На поверхность слоя, обращенного к огневому воздействию, наносят слой вспучивающегося материала, который при огневом воздействии преобразуется в термостойкий низкотеплопроводный пенококс, образующий огнестойкий слой. Между защитно-декоративной облицовкой и термостойким теплоизолирующим слоем оставляют зазор, величину которого в зависимости от вида вспучивающегося материала определяют исходя из обеспечения полного заполнения указанного зазора образующимся в нем огнестойким слоем без образования полостей. Технический результат заключается в обеспечении быстроты сборки и разборки, а также высокой надежности и долговечности. 2 н. и 5 з.п. ф-лы, 9 ил.
Изобретение относится к огнезащитным противопожарным средствам и может быть использовано для резервуаров хранения горючих газов и жидкостей при избыточном внутреннем давлении, сжиженных газов при криогенных температурах, установленных на открытой площадке под навесом или в помещении.
Известны различные способы и конструкции для наземного хранения огнеопасных жидкостей. Одной из таких систем является принятая в качестве ближайшего аналога конструкция по пат. US 5564588 от 15.10.1996, в которой внутренняя оболочка резервуара, имеющего цилиндрическую форму, окружается внешней оболочкой, при этом между двумя оболочками размещен огнеупорный защитный материал. При этом в одном из вариантов реализации известное устройство выполняется в виде трех оболочек. Основным недостатком подобных конструкций является отсутствие возможности демонтажа защитной оболочки и, следовательно, дополнительные затраты на транспортировку громоздкой конструкции в случае необходимости ее доставки в отдаленные районы. Известны огнезащитные конструкции, выполненные в виде большого контейнера, в который помещают резервуар с огнеопасным веществом, при этом сверху контейнер закрывается съемной крышкой (пат. US 5884709, от 23.03.1999). Транспортировка таких контейнеров также трудоемка.
Кроме того, известны различные варианты выполнения разборных теплозащитных конструкций, которые предназначены главным образом для судоходной транспортировки резервуаров с веществами, температура которых значительно отличается от температуры окружающей среды. Такие конструкции выполняются, например, в виде теплозащитных панелей, монтируемых посредством продольных и поперечных элементов вокруг резервуара и покрытых внешней облицовочной оболочкой (см. например US 3800970, от 02.04.1974 и US 4050609, от 27.09.1977). Однако такие устройства не предназначены для наземного хранения резервуаров с огнеопасными веществами, и поэтому не содержат огнезащитные слои.
Задачей, положенной в основу предложенного технического решения, является создание огнезащитной разборной конструкции и способа хранения резервуаров с огнеопасными веществами, обеспечивающих быстроту сборки и разборки, и при этом обладающих высокой надежностью и долговечностью.
Поставленная задача решается в предложенной разборной защитной конструкции для хранения резервуаров с огнеопасными веществами, содержащей несущий каркас, термостойкий теплоизолирующий слой и защитно-декоративную облицовку, при этом несущий каркас состоит из продольных и кольцевых элементов, и замыкается тросами, соединенными с полюсными кольцами, причем каждый кольцевой элемент состоит из верхней и нижней полок, нижняя из которых представляет собой два соединенные между собой полукольца, а верхняя – выполнена из двух стальных полос, концентрически установленных на полукольцах нижней полки посредством шпилек для образования единого двутаврового полукольца, а термостойкий теплоизолирующий слой состоит из наружных тканых слоев, на поверхности одного из которых, обращенного к огневому воздействию, нанесен слой вспучивающегося материала, и промежуточного теплостойкого слоя и выполнен в виде закрепленных в каркасе плоских матов.
Целесообразно чтобы плоские маты упирались кромками в шпильки с гарантированным поджатием, которое достигается за счет выбора ширины элементов термостойкого теплоизолирующего слоя, и были зафиксированы тросами несущего каркаса.
Предпочтительно плоские маты имеют на двух противоположных кромках уменьшающуюся толщину, которая образована участками, имеющими в сечении клинообразную форму, причем у одного конца мата толщина уменьшается от внутренней поверхности к наружной, а у противоположного – от наружной поверхности к внутренней, таким образом, что кромки соседних матов расположены внахлест в местах установки продольных элементов каркаса.
Шпильки предпочтительно установлены с наклоном относительно радиуса полуколец кольцевого элемента.
В верхней полке полукольца кольцевого элемента могут быть выполнены четыре углубления с двумя пазами для установки продольных элементов, причем каждый продольный элемент выполнен в виде волнообразного гнутого профиля и имеет в сечении два выступа, соответствующие указанным пазам углубления.
Листы защитно-декоративной облицовки и маты термостойкого теплоизолирующего слоя имеют вырезы под выступающие элементы резервуара.
Поставленная задача также решается в предлагаемом способе хранения резервуаров с огнеопасными веществами, заключающемся в монтаже вокруг резервуара разборной конструкции, при котором осуществляют установку продольных и кольцевых элементов несущего каркаса, между которыми размещают плоские маты термостойкого теплоизолирующего слоя, которые фиксируют тросами каркаса, и затем установку поверх несущего каркаса защитно-декоративной облицовки, причем термостойкий теплоизолирующий слой выполняют из промежуточного теплостойкого слоя и наружных тканых слоев, на поверхность одного из которых, обращенного к огневому воздействию, наносят слой вспучивающегося материала, который при огневом воздействии преобразуется в термостойкий низкотеплопроводный пенококс, образующий огнестойкий слой, при этом между защитно-декоративной облицовкой и термостойким теплоизолирующим слоем оставляют зазор, величину которого в зависимости от вида вспучивающегося материала определяют исходя из обеспечения полного заполнения указанного зазора образующимся в нем огнестойким слоем без образования полостей.
Сущность изобретения поясняется чертежами, на которых представлено:
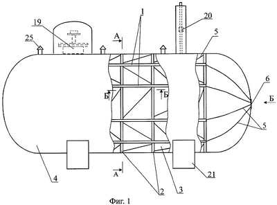
на фиг.1 и 2 – общий вид разборной защитной конструкции для хранения резервуаров; на фиг.3 – форма поперечного сечения продольных элементов несущего каркаса; на фиг.4 и 6 – конструкция кольцевых элементов несущего каркаса; на фиг.5 – способ крепления тросов, фиксирующих термостойкий теплоизолирующий слой днищ; на фиг.7 – сечение стенки резервуара с защитной конструкцией по образующей обечайки в исходном состоянии; на фиг.8 – сечение стенки резервуара с защитной конструкцией по образующей обечайки при огневом воздействии на наружную поверхность защитно-декоративной облицовки; на фиг.9 – оформление отверстия в защитно-декоративной облицовке.
Ниже приводится более подробное описание сущности изобретения со ссылками на позиции чертежей.
Основными элементами разборной защитной конструкции для хранения резервуаров являются:
а) термостойкий теплоизолирующий слой 3 со вспучивающимся (терморасширяющимся) покрытием 22;
б) несущий каркас 2;
в) защитно-декоративная облицовка 4.
Защитно-декоративная облицовка 4 имеет следующие функции:
а) защиты волокнистых материалов термостойкого теплоизолирующего слоя 3 от атмосферных осадков (проникновения воды);
б) отражения солнечной радиации и теплового излучения пламени;
в) защиты термостойкого теплоизолирующего слоя от механических повреждений;
г) защиты пенококса 23, образующегося при тепловом воздействии на вспучивающееся покрытие термостойкого теплоизолирующего слоя от эрозионного разрушения под действием ветра, конвективных потоков или турбулентных вихрей, возникающих в пламени;
д) придания конструкции надлежащего внешнего вида.
В предложенной защитной конструкции применен несущий каркас замкнутого типа, состоящий из продольных элементов 1; кольцевых элементов 2, тросов 5 и полюсных колец 6.
Кольцевые элементы 2 образованы двумя полукольцами двутаврового поперечного сечения. Нижняя полка 11 кольцевого элемента согнута из стальной полосы с размерами сечения 2×20 мм в виде полукольца с радиусом, соответствующим наружной поверхности обечайки резервуара. Верхняя полка 9 кольцевого элемента изготавливается из стальной полосы с размерами поперечного сечения 0,8×80 мм. Верхняя полка установлена концентрически на нижней с равномерным зазором, равным проектной толщине термостойкого теплоизолирующего слоя. Соединение нижней и верхней полок кольцевого элемента между собой и, таким образом, формирование единого двутаврового полукольца осуществляется при помощи шпилек 10 диаметром 03 мм. Шпильки 10 ориентированы с наклоном относительно радиуса кольцевого элемента. В верхней полке полукольца кольцевого элемента имеются четыре углубления с двумя пазами для установки и закрепления продольных элементов. Величина углубления 10 мм, что исключает возвышение поверхности продольного элемента над наружным габаритом кольцевого элемента. Шпильки установлены попарно в области углублений под продольные элементы с зеркальной ориентацией, что обеспечивает жесткость кольцевого элемента при сдвиге в тангенциальном направлении. Кроме того, имеются две шпильки, расположенные в зонах соединения полуколец (у обоих концов верхней полки), расположение которых также зеркальное.
Кольцевые элементы устанавливаются на поверхности обечайки с шагом 400…800 мм. Соединение двух полуколец в единый кольцевой элемент, установленный на поверхности обечайки, осуществляется посредством двух болтов 7 и гаек 8, стягивающих нижние полки 11 за свободные края.
Продольные элементы представляют собой рейки с габаритными размерами поперечного сечения шириной 10×100 мм. Они изготавливаются из стального листа толщиной 0,5-1 мм в виде волнообразного гнутого профиля и имеют в сечении два выступа, соответствующие указанным пазам углубления.
Форма поперечного сечения продольного элемента приведена на фиг.3.
Продольные элементы устанавливаются вдоль образующей обечайки в углублениях в верхних полках кольцевых элементов и закрепляются с помощью винтов с гайками или саморезов. В варианте крепления продольных элементов к кольцевым элементам при помощи винтов и гаек в обоих конструктивных элементах несущего каркаса предусматриваются отверстия в виде пазов. Расположение пазов в продольных элементах – продольное, а в кольцевых элементах – перпендикулярное им, что облегчает собираемость данной конструкции.
Продольные элементы располагаются в осевом направлении с шагом близким к равномерному, величина которого находится в пределах 400-800 мм.
Замыкается каркас на поверхности термостойкого теплоизолирующего слоя днищ при помощи стальных тросов 5 диаметром 1-4 мм. В качестве замыкающих элементов каркаса применены кольца 6, которые вместе с тросами 5 фиксируют термостойкий теплоизолирующий слой днищ. Полюсные кольца могут изготавливаться из стального прутка диаметром 5-8 мм или из стального троса диаметром 2-5 мм, концы которого скрепляются при помощи зажима 12. Крепление тросов осуществляется при помощи петли, охватывающей шпильку или пропущенной через отверстие в полюсном кольце с применением винтовых зажимов 12 по ГОСТ 13186-67 или аналогичных других стандартов (180, АК81, ВТК).
В термостойком теплоизолирующем слое обечайки и днищ на наружном слое, обращенном к огневому воздействию, используется вспучивающееся (терморасширяющееся) покрытие, нанесенное на стеклоткань.
Термостойкий теплоизолирующий слой обечайки выполнен из плоских матов с вырезами под выступающие элементы резервуара, такие как патрубки 20, люк-лаз 19, опоры 21. Они устанавливаются между кольцевыми элементами. Их края упираются в шпильки 10 с гарантированным поджатием, а свободные концы соединяются с нахлестом на длине 150-250 мм. Гарантированное поджатие краев к шпилькам достигается выбором ширины элементов термостойкого теплоизолирующего слоя обечайки, величина которой превышает расстояние между кольцевыми элементами на 5-10%. В зависимости от величины наружного диаметра обечайки между двумя кольцевыми элементами могут устанавливаться один или два мата. В зоне нахлестов концы матов скрепляются между собой. Для их скрепления служат кремнеземные ленты, установленные на поверхности мата со стороны защищаемого объекта. Ленты, расположенные на противоположных концах, соединяются методом завязывания либо посредством устанавливаемых на них замков типа карабина с петлей (предварительная фиксация).
В нахлестах толщина и структура мата такая же, как и на непрерывных участках. Это достигается тем, что по обоим концам мата, установленного на обечайке, на расстоянии 150-250 мм толщина линейно сходит на нет. Причем у одного конца уменьшение толщины происходит от внутренней поверхности к наружной, а у противоположного – от наружной поверхности к внутренней.
Окончательная фиксация всех установленных на обечайке матов осуществляется при помощи стального троса 5. Данный трос устанавливается методом шнуровки, огибая диагонально расположенные (со смещением на шаг продольных элементов) шпильки соседних кольцевых элементов, таким образом, что реактивные усилия в местах контакта троса со шпильками, вызванные силой натяжения первого, направлены в сторону поверхности обечайки, и таким образом усилие вызывает дополнительное поджатие матов к поверхности обечайки.
Форма матов, устанавливаемых на днищах резервуара, соответствует форме защищаемой поверхности, и при установке они не образуют закрытых полостей.
Установленные на днищах резервуара маты закрепляются при помощи полюсного кольца 6 и отходящих от нее стальных тросов 5.
Элементы термостойкого теплоизолирующего слоя огнезащиты обечайки и днищ (маты) состоят из наружных тканых слоев 17, 18, на поверхность одного из которых, ближайшему к огневому воздействию 24, нанесен слой вспучивающегося состава 22 и промежуточного теплостойкого слоя 16.
Наружные слои выполнены из стеклоткани с поверхностной плотностью 200-600 г/м, а промежуточный теплостойкий – из прошивного материала на основе базальтовых волокон диаметром 5-25 мкм и плотностью 80-120 кг/м3. Толщина слоя вспучивающегося покрытия составляет 1-2 мм.
Слои скреплены между собой сквозной точечной поперечной простежкой, выполненной стеклянными или кремнеземными нитками.
При огневом воздействии вспучивающееся покрытие 22 преобразуется в термостойкий низкотеплопроводный пенококс 23, образующий огнестойкий слой, толщина которого может превышать толщину исходного покрытия в 20-50 раз и регулируется расстоянием до защитно-декоративной облицовки 4.
Толщина теплостойкого слоя находится в пределах 20-60 мм, а огнестойкого – 15-50 мм.
Величина зазора между поверхностью вспучивающегося покрытия и защитно-декоративной облицовкой определяется расстоянием между полками 9 и 11 кольцевого элемента 2 и толщиной матов в исходном состоянии.
Для формирования защитно-декоративной облицовки 4, защищающей термостойкий теплоизолирующий слой обечайки и днищ от атмосферных осадков и механических повреждений, применяются стальные оцинкованные листы толщиной 0,5-0,8 мм. Из листов выкраивают элементы 14, имеющие требуемые габаритные размеры и вырезы под патрубки, люк-лаз, опоры и т.п. Кроме того, в верхней части облицовки предусмотрены отверстия, соединяющие полость, ограниченную поверхностями вспучивающегося покрытия и защитно-декоративной облицовки, с атмосферой. Отверстия защищены от попадания атмосферных осадков (фиг.9).
Элементы защитно-декоративной облицовки обечайки и днищ крепят к верхней полке кольцевых элементов при помощи самонарезающих винтов 13.
Соседние элементы устанавливаются с нахлестом. Для устранения щелей в местах нахлестов применяется герметик 15. Форма элементов атмосферостойкого слоя днищ может быть как плоской, так и соответствовать форме защищаемой поверхности. В том случае, когда защитно-декоративная облицовка днищ имеет плоскую форму, образовавшаяся полость между ней и поверхностью термостойкого теплоизолирующего слоя заполняется супертонким базальтовым волокном.
Форма элементов защитно-декоративной облицовки днищ может быть как плоской, так и соответствовать форме защищаемой поверхности. Между поверхностью вспучивающегося покрытия и облицовкой выдерживается зазор, минимальная величина которого (при плоском варианте исполнения) соответствует разнице расстояния между полками кольцевых элементов и толщиной матов, устанавливаемых на днище.
Формула изобретения
1. Разборная защитная конструкция для хранения резервуаров с огнеопасными веществами, содержащая несущий каркас, термостойкий теплоизолирующий слой и защитно-декоративную облицовку, при этом несущий каркас состоит из продольных и кольцевых элементов и замыкается тросами, соединенными с полюсными кольцами, причем каждый кольцевой элемент состоит из верхней и нижней полок, нижняя из которых представляет собой два соединенные между собой полукольца, а верхняя выполнена из двух стальных полос, концентрически установленных на полукольцах нижней полки посредством шпилек для образования единого двутаврового полукольца, а термостойкий теплоизолирующий слой состоит из наружных тканых слоев, на поверхности одного из которых, обращенного к огневому воздействию, нанесен слой вспучивающегося материала и промежуточного теплостойкого слоя и выполнен в виде закрепленных в каркасе плоских матов.
2. Конструкция по п.1, в которой плоские маты упираются кромками в шпильки с гарантированным поджатием, которое достигается за счет выбора ширины элементов термостойкого теплоизолирующего слоя, и зафиксированы тросами несущего каркаса.
3. Конструкция по п.1, в которой плоские маты имеют на двух противоположных кромках уменьшающуюся толщину, которая образована участками, имеющими в сечении клинообразную форму, причем у одного конца мата толщина уменьшается от внутренней поверхности к наружной, а у противоположного – от наружной поверхности к внутренней, таким образом что кромки соседних матов расположены внахлест в местах установки продольных элементов каркаса.
4. Конструкция по п.1, в которой шпильки установлены с наклоном относительно радиуса полуколец кольцевого элемента.
5. Конструкция по п.1, в которой в верхней полке полукольца кольцевого элемента выполнены четыре углубления с двумя пазами для установки продольных элементов, причем каждый продольный элемент выполнен в виде волнообразного гнутого профиля и имеет в сечении два выступа, соответствующие указанным пазам углубления.
6. Конструкция по п.1, в которой листы защитно-декоративной облицовки и маты термостойкого теплоизолирующего слоя имеют вырезы под выступающие элементы резервуара.
7. Способ хранения резервуаров с огнеопасными веществами, заключающийся в монтаже вокруг резервуара разборной конструкции, при котором осуществляют установку продольных и кольцевых элементов несущего каркаса, между которыми размещают плоские маты термостойкого теплоизолирующего слоя, которые фиксируют тросами каркаса, и затем установку поверх несущего каркаса защитно-декоративной облицовки, причем термостойкий теплоизолирующий слой выполняют из промежуточного теплостойкого слоя и наружных тканых слоев, на поверхность одного из которых, обращенного к огневому воздействию, наносят слой вспучивающегося материала, который при огневом воздействии преобразуется в термостойкий низкотеплопроводный пенококс, образующий огнестойкий слой, при этом между защитно-декоративной облицовкой и термостойким теплоизолирующим слоем оставляют зазор, величину которого в зависимости от вида вспучивающегося материала определяют исходя из обеспечения полного заполнения указанного зазора образующимся в нем огнестойким слоем без образования полостей.
РИСУНКИ
|
|