|
|
(21), (22) Заявка: 2005112177/12, 22.04.2005
(24) Дата начала отсчета срока действия патента:
22.04.2005
(43) Дата публикации заявки: 27.10.2006
(46) Опубликовано: 20.03.2007
(56) Список документов, цитированных в отчете о поиске:
JP 2002012193 А, 15.01.2002. RU 2194552 С2, 20.12.2002. RU 2114655 С1, 10.07.1998. US 6003513 A, 21.12.1999. WO 99/07442 А2, 18.02.1999.
Адрес для переписки:
190008, Санкт-Петербург, ул. Лоцманская, 3, СПбГМТУ, патентный отдел, Г.А. Косовцевой
|
(72) Автор(ы):
Волошин Сергей Борисович (RU), Занин Владислав Юрьевич (RU), Каганский Владимир Яковлевич (RU), Кожемякин Игорь Владиленович (RU), Поспелкин Виталий Анатольевич (RU)
(73) Патентообладатель(и):
Закрытое акционерное общество “Научно-производственное предприятие “БЕРИЛЛ” (RU)
|
(54) РЕГЕНЕРАТИВНЫЙ ПАТРОН ВОДОЛАЗНОГО ДЫХАТЕЛЬНОГО АППАРАТА
(57) Реферат:
Изобретение относится к области водолазной техники и предназначено для использования в водолазных дыхательных аппаратах регенеративного типа. Регенеративный патрон водолазного дыхательного аппарата содержит корпус с полостью, заполненной регенерирующим веществом, входной патрубок для поступления в патрон выдыхаемой водолазом газовой смеси и выходной патрубок, соединенный с выходом полости. Перед упомянутой полостью размещена камера, соединенная с одной стороны с входным патрубком, а с другой стороны через канал с упомянутой полостью. Наружная стенка камеры выполнена из материала с высокой теплопроводностью, при этом упомянутый канал расположен в среднем сечении камеры таким образом, чтобы во время эксплуатации патрона вода из камеры через канал не попадала в полость с регенерирующим веществом, а камера снабжена устройством удаления воды. Технический результат заключается в том, что конденсат, выделенный из выдыхаемой водолазом газовой смеси, остается в камере и не попадает в полость с регенерирующим веществом, тем самым достигается эффект осушения газовой смеси, что повышает регенерирующую способность патрона при эксплуатации. 5 з.п. ф-лы, 3 ил.
Изобретение относится к области водолазной техники и предназначено для использования в водолазных дыхательных аппаратах регенеративного типа, обеспечивающих очистку дыхательной смеси.
Известен регенеративный патрон водолазного дыхательного аппарата, содержащий полость с регенерирующим веществом, связанную с подводом выдыхаемой водолазом газовой смеси, и полость, в которую поступает газовая смесь после химической очистки, связанная с трубкой вдоха водолазного дыхательного аппарата (патент RU 2194552, МПК А 62 В 19/02, В 63 С 11/28, опубл. 20.12.2002).
Известен также патент US 3767367, МПК В 01 J 7/00, опубл.23.10.73, в котором описана конструкция патрона для регенерации выдыхаемой водолазом газовой смеси.
Наиболее близким по технической сущности и достигаемому результату является регенеративный патрон водолазного дыхательного аппарата по патенту JP 2002-012193, МПК В 63 С 11/22, дата публикации 15.01.02. Конструкция содержит корпус в виде внешнего и внутреннего цилиндров, причем внутренний цилиндр выполнен пористым и заполнен регенерирующим веществом, входной патрубок для поступления в патрон выдыхаемой водолазом газовой смеси и выходной патрубок, соединенный с выходом полости.
Известная конструкция патрона не позволяет осушать выдыхаемую водолазом газовую смесь перед поступлением в полость, заполненную регенерирующим веществом. Поэтому эффективность регенерации снижается, так как часть регенерирующего вещества взаимодействует с влагой, содержащейся в выдыхаемой смеси, и его способность к регенерации снижается.
Заявляемое изобретение позволяет снизить поступление влаги в полость с регенерирующим веществом, что повышает регенерирующую способность патрона во время всего периода его эксплуатации.
Регенеративный патрон водолазного дыхательного аппарата содержит корпус с полостью, заполненную регенерирующим веществом, входной патрубок для поступления в патрон выдыхаемой водолазом газовой смеси и выходной патрубок, соединенный с выходом полости. Перед полостью размещена камера, соединенная с одной стороны с входным патрубком, а с другой стороны через канал с полостью. Наружная стенка камеры выполнена из материала с высокой теплопроводностью. Канал расположен таким образом, чтобы во время эксплуатации патрона вода из камеры через канал не попадала в полость с регенерирующим веществом.
Камера со стенкой, выполненной из материала с высокой теплопроводностью, во время работы патрона контактирует с внешней средой, водой, и работает как теплообменник. Наружная стенка камеры охлаждается и на ее внутренней поверхности конденсируется влага, выдыхаемая водолазом (аквалангистом), т.к. выдыхаемая газовая смесь имеет температуру более высокую, чем температура окружающей воды. Конденсат остается в камере и не попадает в полость с регенерирующим веществом, чем и достигается заявленный технический результат. В частности, для того чтобы конденсированная жидкость не попадала в полость, канал может быть расположен в среднем сечении камеры.
Значение камеры не сводится только к конденсации воды из газовой смеси. В камере, благодаря каналу и его соответствующему расположению, задерживается также вода, которая из внешней среды может попасть в дыхательную систему водолаза.
Для эффективной конденсации жидкости наружная стенка камеры может быть выполнена из металла. Для этой же цели поверхность стенки камеры, обращенная к окружающей среде, может быть выполнена с развитой поверхностью, в частности ребристой.
Канал, соединяющий упомянутую камеру с полостью, и входной патрубок могут быть расположены относительно друг друга с возможность обеспечения прохождения выдыхаемой водолазом газовой смеси в камере преимущественно у стенки. В этом случае увеличивается время контакта выдыхаемой газовой смеси с холодной стенкой и повышается эффективность теплообмена и конденсации.
Для более надежной работы патрона камера может быть снабжена устройством удаления воды. Устройство удаления воды в частном случае может быть выполнено в виде водоотливного клапана и расположено в нижней части камеры. В сочетании всех этих факторов и возникает эффект осушения газовой смеси.
Изобретение поясняется чертежами.
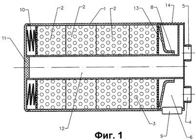
На фиг.1 представлено осевое сечение патрона; на фиг.2 – вид с торца со стороны патрубков; на фиг.3 – показана схема прохождения газовой смеси в патроне.
Регенеративный патрон (Фиг.1, Фиг.2) состоит из корпуса 1, полости 2, заполненной регенерирующим веществом 3, центрального канала 12. Полость 2 разделена проницаемыми перегородками на несколько модулей, подпружиненных пружинами 10 относительно герметичной крышки 11. С противоположной стороны в патроне герметично установлен отформованный патрубок 13, образующий с центральным каналом 12 дополнительный канал 8 для прохода газовой смеси в регенерирующую полость 2. Перед патрубком 13 выполнена камера 6 с входным патрубком 4. Камера 6 снабжена устройством удаления воды 9. Выходной патрубок 5 связан с полостью 2 через центральный канал 12.
Регенеративный патрон работает следующим образом.
При выдохе водолаза газовая смесь поступает через входной патрубок 4 в камеру 6 (Фиг.1, Фиг.3). Благодаря несимметричной форме камеры 6 газовая смесь циркулирует в камере 6 и проходит у стенки камеры 14, которая выполнена ребристой и из материала с высокой теплопроводностью. Так как эта стенка 14 контактирует с водной средой, внутри камеры 6 газовая смесь охлаждается, и влага, содержащаяся в газовой смеси, конденсируется. Влага, выделившаяся из газовой смеси, а также попавшая в дыхательный тракт из внешней среды, скапливается на дне камеры 6, откуда посредством устройства удаления воды 9 удаляется. Жидкость из камеры 6 не может попасть в полость 2 с регенерирующим веществом 3, потому что канал 8, соединяющий камеру 6 и полость 2, расположен ближе к центральной оси патрона и образован отформованным патрубком 13 и центральным каналом 12. Через канал 8 газовая смесь попадает в полость 2, где происходит ее регенерация. Далее газовая смесь, обогащенная кислородом, поступает в центральный канал 12 и далее через выходной патрубок 5 выходит из патрона.
Формула изобретения
1. Регенеративный патрон водолазного дыхательного аппарата, содержащий корпус с полостью, заполненной регенерирующим веществом, входной патрубок для поступления в патрон выдыхаемой водолазом газовой смеси и выходной патрубок, соединенный с выходом полости, отличающийся тем, что перед упомянутой полостью размещена камера, соединенная с одной стороны с входным патрубком, а с другой стороны через канал с упомянутой полостью, наружная стенка камеры выполнена из материала с высокой теплопроводностью, при этом упомянутый канал расположен в среднем сечении камеры таким образом, чтобы во время эксплуатации патрона вода из камеры через канал не попадала в полость с регенерирующим веществом, а камера снабжена устройством удаления воды.
2. Регенеративный патрон по п.1, отличающийся тем, что канал, соединяющий упомянутую камеру с полостью, и входной патрубок расположены относительно друг друга с возможностью обеспечения прохождения выдыхаемой водолазом газовой смеси в камере, преимущественно у стенки.
3. Регенеративный патрон по п.1, отличающийся тем, что наружная стенка упомянутой камеры выполнена из металла.
4. Регенеративный патрон по п.1, отличающийся тем, что поверхность стенки, обращенная к окружающей среде, упомянутой камеры выполнена с развитой поверхностью, в частности ребристой.
5. Регенеративный патрон по п.1, отличающийся тем, что устройство удаления воды выполнено в виде водоотливного клапана.
6. Регенеративный патрон по п.1, отличающийся тем, что устройство удаления воды расположено в нижней части камеры.
РИСУНКИ
|
|