|
(21), (22) Заявка: 2003124635/14, 31.12.2001
(24) Дата начала отсчета срока действия патента:
31.12.2001
(30) Конвенционный приоритет:
03.01.2001 US 09/752,530
(43) Дата публикации заявки: 27.01.2005
(46) Опубликовано: 20.03.2007
(56) Список документов, цитированных в отчете о поиске:
US 5507790 А, 16.04.1996. US 6071239 А, 06.06.2000. WO 99/39677 A1, 12.08.1999. US 5948011 А, 07.09.1999. US 5419761 А, 30.05.1995. US 4886491 А, 12.12.1989. US 5111822 А, 12.05.1992. RU 2125863 С1, 10.02.1999. RU 2113237 С1, 20.06.1998.
(85) Дата перевода заявки PCT на национальную фазу:
04.08.2003
(86) Заявка PCT:
IL 01/01220 (31.12.2001)
(87) Публикация PCT:
WO 02/054018 (11.07.2002)
Адрес для переписки:
191002, Санкт-Петербург, а/я 5, ООО “Ляпунов и партнеры”, пат.пов. А.С.Пантелееву, рег.№ 1071
|
(72) Автор(ы):
ЭШЕЛЬ Йорам (IL), ВИТ-СНУДЕЛЬ Илья (IL)
(73) Патентообладатель(и):
УЛЬТРАШЕЙП ИНК. (IL)
|
(54) УЛЬТРАЗВУКОВАЯ КОРРЕКЦИЯ ФОРМЫ ТЕЛА БЕЗ ХИРУРГИЧЕСКОГО ВМЕШАТЕЛЬСТВА
(57) Реферат:
Изобретение относится к медицине, а именно к способам и устройствам для расщепления жировой ткани посредством направления ультразвукового излучения в целевые области. Способы расщепления жировой ткани и устройства для их осуществления состоят в том, что ультразвуковое излучение посредством направляющего устройства направляют внутрь зоны, целевые области которой содержат жировую ткань, с тем, чтобы выборочно расщепить жировую ткань в целевых областях и не расщеплять в общем случае не жировые ткани в целевых областях, при компьютерном отслеживании целевых областей, несмотря на движение тела. 8 н. и 101 з.п. ф-лы, 8 ил., 2 табл.
Область изобретения
Настоящее изобретение связано с липолизом в целом и, в частности, с ультразвуковым липолизом.
Ссылки на поданные заявки
Заявители настоящей заявки испрашивают приоритет на основе заявки США №09/752,530, от 3 января 2001, названной «Способ и устройство для коррекции формы тела без хирургического вмешательства посредством расщепления жировой ткани» и заявки США №N/A от 29 октября 2001, названной «Ультразвуковая коррекция формы тела без хирургического вмешательства».
Уровень техники
Следующие патенты США представляют предыдущий уровень техники: 4,986,275; 5,143,063; 5,143,073; 5,209,221; 5,301,660; 5,431,621; 5,507,790; 5,526,815; 5,884,631; 6,039,048; 6,071,239; 6,113,558; 6,206,873.
Сущность изобретения
В настоящем изобретении предложены усовершенствованное устройство и способ ультразвукового липолиза.
Таким образом, в соответствии с предпочтительным вариантом выполнения настоящего изобретения предложен способ расщепления жировой ткани, включающий следующие операции:
направление сфокусированного ультразвукового излучения в целевую область в район тела, содержащий жировую ткань; и
модуляция сфокусированного ультразвукового излучения таким образом, чтобы выборочно расщепить жировую ткань в целевой области, и в общем случае, не расщеплять нежировые ткани в целевой области.
Дополнительно в соответствии с предпочтительным вариантом выполнения настоящего изобретения предложен способ расщепления жировой ткани, включающий следующие операции:
генерирование, с помощью источника за пределами тела, ультразвукового излучения, которое выборочно расщепляет жировую ткань и в общем случае не расщепляет нежировые ткани; и
направление ультразвукового излучения из источника за пределами тела в целевую область тела, содержащую жировую ткань.
Дополнительно, в соответствии с предпочтительным вариантом выполнения настоящего изобретения предложен способ расщепления жировой ткани, включающий следующие операции:
определение зоны тела, по меньшей мере частично, путем определения пространственных характеристик тела; и
направление ультразвукового излучения во множество целевых областей внутри зоны, целевые области которой содержат жировую ткань, для того чтобы выборочно расщепить жировую ткань в целевых областях и в общем случае не расщеплять нежировые ткани в целевых областях.
Дополнительно в соответствии с предпочтительным вариантом выполнения настоящего изобретения, предложен способ расщепления жировой ткани, включающий следующие операции:
направление ультразвукового излучения во множество целевых областей внутри зоны, целевые области которой содержат жировую ткань, для того чтобы выборочно расщепить жировую ткань в целевых областях и в общем случае не расщеплять нежировые ткани в целевых областях; и
компьютерное отслеживание множества целевых областей, несмотря на движение тела.
Также дополнительно, в соответствии с предпочтительным вариантом выполнения настоящего изобретения предложено устройство для расщепления жировой ткани, содержащее:
направляющее устройство сфокусированного ультразвукового излучения, направляющее сфокусированное ультразвуковое излучение в целевую область внутри зоны тела, содержащей жировую ткань; и
модулятор, работающий совместно с направляющим устройством ультразвукового излучения, для того чтобы создавать сфокусированное ультразвуковое излучение, для того чтобы выборочно расщеплять жировую ткань в целевой области и в общем случае не расщеплять нежировые ткани в целевой области.
Далее, в соответствии с предпочтительным вариантом выполнения настоящего изобретения предложено устройство для расщепления жировой ткани, содержащее:
источник, расположенный за пределами тела, генерирующий ультразвуковое излучение;
направляющее устройство ультразвукового излучения, использующее ультразвуковое излучение для выборочного расщепления жировой ткани в целевой области, без расщепления в общем случае нежировых тканей в целевой области тела, содержащей жировую ткань.
Дополнительно, в соответствии с предпочтительным вариантом выполнения настоящего изобретения предложено устройство для расщепления жировой ткани, содержащее:
определитель зоны, определяющий зону тела, по меньшей мере частично, путем определения пространственных характеристик тела; и
направляющее устройство, направляющее ультразвуковое излучение во множество целевых областей внутри зоны, целевые области которой содержат жировую ткань, для того чтобы выборочно расщепить жировую ткань в целевых областях, не расщепляя при этом нежировые ткани в целевых областях.
Дополнительно, в соответствии с предпочтительным вариантом выполнения настоящего изобретения предложено устройство для расщепления жировой ткани, содержащее:
направляющее устройство, направляющее ультразвуковое излучение во множество целевых областей внутри зоны, целевые области которой содержат жировую ткань, для того чтобы выборочно расщепить жировую ткань в целевых областях, не расщепляя при этом нежировые ткани в целевых областях; и
модуль компьютерного отслеживания, обеспечивающий компьютерное отслеживание множества целевых областей, несмотря на движение тела.
Направление сфокусированного ультразвукового излучения в общем случае предотвращает расщепление ткани за пределами целевой области.
В соответствии с предпочтительным вариантом выполнения настоящего изобретения, способ также включает ультразвуковое формирование изображения зоны, по меньшей мере частично, одновременно с направлением сфокусированного ультразвукового излучения в целевую область.
Операция направления ультразвукового излучения включает расположение по меньшей мере одного ультразвукового преобразователя относительно тела, для того чтобы направить сфокусированное ультразвуковое излучение в целевую область.
Операция направления может также включать изменение фокуса, по меньшей мере одного, ультразвукового преобразователя, для того чтобы направить сфокусированное ультразвуковое излучение в целевую область. Изменение фокуса может менять объем целевой области и/или расстояние до целевой области от, по меньшей мере одного, ультразвукового преобразователя.
Операция направления может также включать расположение, по меньшей мере одного, ультразвукового преобразователя относительно тела, для того чтобы направить сфокусированное ультразвуковое излучение в целевую область.
Способ также включает отслеживание ультразвукового излучения на внешней поверхности тела, смежной с целевой областью.
Дополнительно способ включает отслеживание образования пустот в целевой области.
Направление производится из ультразвукового преобразователя, расположенного за пределами тела.
В соответствии с предпочтительным вариантом выполнения настоящего изобретения ультразвуковое излучение имеет частоту в диапазоне 50-1000 КГц, более предпочтительно в диапазоне 100-500 КГц и наиболее предпочтительно в диапазоне 150-300 КГц.
Предпочтительно, модуляция обеспечивает рабочий цикл с соотношением от 1:2 до 1:250, более предпочтительно – от 1:5 до 1:30 и наиболее предпочтительно от 1:10 до 1:20.
В соответствии с предпочтительным вариантом выполнения настоящего изобретения модуляция обеспечивает от 2 до 1000 последовательных циклов, по амплитуде превышающих порог образования пустот, более предпочтительно от 25 до 500 последовательных циклов, по амплитуде превышающих порог образования пустот, и наиболее предпочтительно от 100 до 300 последовательных циклов, по амплитуде превышающих порог образования пустот.
Предпочтительно модуляцию выполняют в виде амплитудной модуляции ультразвукового излучения по времени.
Операция направления включает направление сфокусированного ультразвукового излучения во множество целевых областей во временной последовательности.
В соответствии с предпочтительным вариантом выполнения настоящего изобретения операция направления включает направление сфокусированного ультразвукового излучения в несколько областей из множества целевых областей в периоды времени, которые, по меньшей мере частично, пересекаются.
Предпочтительно, чтобы хотя бы некоторые из множества целевых областей, по меньшей мере частично, пересекались в пространстве.
В соответствии с предпочтительным вариантом выполнения настоящего изобретения способ включает определение зоны тела путем маркировки, по меньшей мере одного участка, поверхности тела. Способ может также включать определение зоны путем выбора по меньшей мере одной глубины в теле, и/или путем выявления жировой ткани в теле, и/или путем выявления нерасщепленной жировой ткани.
Предпочтительно, операция направления также включает определение целевых областей как узлов с нерасщепленной жировой тканью в пределах зоны.
В соответствии с предпочтительным вариантом выполнения настоящего изобретения модуляцию ультразвукового излучения для выборочного расщепления жировой ткани во множестве целевых областей выполняют во временной последовательности, причем выборочное расщепление жировой ткани в каждой целевой области выполняют только после обнаружения нерасщепленной жировой ткани в данной области.
Предпочтительно, способ также включает компьютерное отслеживание целевых областей, несмотря на движение тела.
Предпочтительно, компьютерное отслеживание включает обнаружение изменений в положении маркировок на теле и использование обнаруженных изменений для отслеживания расположения целевых областей в теле.
Предпочтительно, модуляцию выполняют в виде модуляции с уменьшающейся амплитудой во времени, с амплитудой, превышающей порог образования пустот.
Согласно одному из вариантов изобретения способ расщепления жировой ткани характеризуется тем, что направление излучения включает изменение фокуса, по меньшей мере одного, ультразвукового преобразователя для направления сфокусированного ультразвукового излучения в целевую область.
Согласно одному из вариантов изобретения способ расщепления жировой ткани характеризуется тем, что изменение фокуса приводит к изменению объема целевой области.
Согласно одному из вариантов изобретения способ расщепления жировой ткани характеризуется тем, что изменение фокуса приводит к изменению расстояния между целевой областью и, по меньшей мере одним, ультразвуковым преобразователем.
Согласно одному из вариантов изобретения способ расщепления жировой ткани дополнительно включает отслеживание ультразвукового излучения на внешней поверхности тела, смежной с целевой областью.
Согласно одному из вариантов изобретения способ расщепления жировой ткани характеризуется тем, что направление излучения включает изменение фокуса, по меньшей мере одного, ультразвукового преобразователя, для того чтобы направить сфокусированное ультразвуковое излучение в целевую область.
Согласно одному из вариантов изобретения способ расщепления жировой ткани характеризуется тем, что изменение фокуса приводит к изменению объема указанной целевой области.
Согласно одному из вариантов изобретения способ расщепления жировой ткани характеризуется тем, что изменение фокуса приводит к изменению расстояния между целевой областью и, по меньшей мере одним, ультразвуковым преобразователем.
Согласно одному из вариантов изобретения способ расщепления жировой ткани дополнительно включает отслеживание ультразвукового излучения на внешней поверхности тела, смежной с целевой областью.
Согласно одному из вариантов изобретения устройство для расщепления жировой ткани характеризуется тем, что указанное направляющее устройство выполнено с возможностью изменения фокуса, по меньшей мере одного, ультразвукового преобразователя для направления сфокусированного ультразвукового излучения в целевую область.
Согласно одному из вариантов изобретения устройство для расщепления жировой ткани характеризуется тем, что изменение фокуса приводит к изменению объема указанной целевой области.
Согласно одному из вариантов изобретения устройство для расщепления жировой ткани характеризуется тем, что изменение фокуса приводит к изменению расстояния между указанной целевой областью и указанным, по меньшей мере одним, ультразвуковым преобразователем.
Согласно одному из вариантов изобретения устройство для расщепления жировой ткани характеризуется тем, что дополнительно содержит датчик, отслеживающий образование пустот в целевой области.
Согласно одному из вариантов изобретения устройство для расщепления жировой ткани характеризуется тем, что указанное направляющее выполнено с возможностью изменять фокус, по меньшей мере одного, ультразвукового преобразователя для направления ультразвукового излучения в целевую область.
Согласно одному из вариантов изобретения устройство для расщепления жировой ткани характеризуется тем, что изменение фокуса приводит к изменению объема целевой области.
Согласно одному из вариантов изобретения устройство для расщепления жировой ткани характеризуется тем, что изменение фокуса приводит к изменению расстояния между целевой областью и, по меньшей мере одним, ультразвуковым преобразователем.
Согласно одному из вариантов изобретения устройство для расщепления жировой ткани характеризуется тем, что содержит датчик, отслеживающий ультразвуковое излучение на внешней поверхности тела, смежной с целевой областью.
Согласно одному из вариантов изобретения устройство для расщепления жировой ткани характеризуется тем, что оно выполнено с возможностью генерировать ультразвуковое излучение с частотами в диапазоне 50 КГц-1000 КГц.
Краткое описание чертежей и приложения
Настоящее изобретение может быть более полно оценено при рассмотрении подробного описания изобретения совместно с прилагаемыми чертежами и приложением, где:
на фиг.1 изображена в упрощенном виде общая конструкция и принцип работы устройства для ультразвукового липолиза, выполненного и работающего в соответствии с предпочтительным вариантом выполнения настоящего изобретения;
на фиг.2 изображена упрощенная блок-схема предпочтительного источника питания и модулятора, демонстрирующая характер изменения ультразвукового давления во времени, в соответствии с предпочтительным вариантом выполнения настоящего изобретения;
на фиг.3А и 3В изображен в упрощенном виде внешний вид дисплея с интерфейсом оператора в процессе нормального функционирования и при отклонениях от нормального функционирования соответственно;
на фиг.4 изображена упрощенная блок-схема устройства ультразвукового липолиза, выполненного и функционирующего в соответствии с предпочтительным вариантом выполнения настоящего изобретения; и
фиг.5А, 5В и 5С вместе представляют собой упрощенную блок-схему, иллюстрирующую шаги оператора при выполнении процедуры липолиза в соответствии с предпочтительным вариантом выполнения настоящего изобретения.
Краткое описание приложения
Приложение содержит компьютерные распечатки, которые вместе представляют компьютерный модуль отслеживания, в соответствии с предпочтительным вариантом выполнения программного обеспечения настоящего изобретения.
Подробное описание предпочтительного варианта выполнения
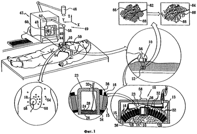
На фиг.1 изображена в упрощенном виде схема общей конструкция и принцип работы устройства ультразвукового липолиза, выполненного в соответствии с предпочтительным вариантом выполнения настоящего изобретения. Как показано на фиг.1, генератор и направляющее устройство ультразвукового излучения, например, преобразователь 10, расположенный за пределами тела, генерирует ультразвуковое излучение, которое, благодаря правильному расположению преобразователя 10 относительно тела, направляется в целевую область 12 в пределах тела и воздействует таким образом, что позволяет выборочно расщепить жировую ткань в целевой области и в общем случае не расщеплять нежировые ткани в целевой области.
В предпочтительном варианте выполнения генератор и направляющее устройство ультразвукового излучения, используемые в настоящем изобретении, содержат ультразвуковой терапевтический преобразователь 13, содержащий криволинейный фазированный массив 14 пьезоэлектрических элементов 15, обычно выполненный в форме участка сферы или цилиндра и имеющий токопроводящие покрытия 16 на своих противоположных поверхностях. Пьезоэлектрические элементы 15 могут быть выполнены любой подходящей конфигурации, формы и могут быть распределены любым подходящим образом. Промежуточный элемент 18, выполненный из материала, например из полиуретана, имеющего акустическое сопротивление, такое же, как у мягких тканей млекопитающих, обычно заполняет вогнутую полость, образованную фазированным массивом 14, и образует контактную поверхность 20 для соприкосновения с телом, обычно через подходящий соединительный гель (не показан). Контактная поверхность 20 может быть плоской, но не обязательно.
Подходящим образом модулированный переменный ток подают через проводники 22 на проводящие покрытия 16, для того чтобы пьезоэлектрические элементы 15 создали необходимый выходной поток сфокусированного акустического излучения.
В соответствии с предпочтительным вариантом выполнения настоящего изобретения формирующий изображения узел 23 ультразвукового преобразователя встроен в преобразователь 10 и обычно содержит пьезоэлектрический элемент 24, имеющий проводящие поверхности 26, связанные с противоположными поверхностями указанного элемента 24. Подходящим образом модулированный переменный ток подается через проводники 32 к проводящим поверхностям 26, для того чтобы пьезоэлектрический элемент 24 создал необходимый выходной поток акустического излучения. Проводники 32, соединенные с поверхностями 26, также обеспечивают передачу выходного потока информации, относящейся к изображению, от узла 23 формирования изображения ультразвукового преобразователя.
Следует отметить, что может быть использован любой серийно выпускаемый ультразвуковой преобразователь или, в альтернативном варианте, узел 23 формирования изображения ультразвукового преобразователя может быть исключен из конструкции.
Также следует отметить, что могут быть использованы различные типы ультразвуковых преобразователей 10. Например, такие преобразователи могут содержать множество пьезоэлектрических элементов, многослойные пьезоэлектрические элементы и пьезоэлектрические элементы различных форм и размеров, установленные в фазированном массиве.
В предпочтительном варианте настоящего изобретения, показанном на фиг.1, генератор и направляющее устройство ультразвукового излучения объединены в преобразователь 10. В альтернативном варианте функции генерирования и фокусирования этого излучения могут выполняться отдельными устройствами.
В соответствии с предпочтительным вариантом выполнения настоящего изобретения датчик 34 температуры кожи, например инфракрасный датчик, может быть установлен рядом с узлом 23 формирования изображения ультразвукового преобразователя. Дополнительно, в соответствии с предпочтительным вариантом выполнения настоящего изобретения рядом с узлом 23 формирования изображения ультразвукового преобразователя может быть также установлен датчик 36 температуры преобразователя, например термопара.
Ультразвуковой преобразователь 10 получает подходящим образом модулированный переменный ток от узла 40 источника питания и модулятора, образующего часть управляющей подсистемы 42. Управляющая подсистема 42 также обычно содержит компьютер 44 управления липолизом, соединенный также с камерой 46, например видеокамерой, и дисплеем 48. Узел 40 источника питания и модулятора, выполненный по предпочтительному варианту, изображен на фиг.2 и описан ниже. Ультразвуковой преобразователь 10 позиционируется автоматически или полуавтоматически с помощью устройства 49 позиционирования по осям X-Y-Z. В альтернативном варианте ультразвуковой преобразователь 10 может быть установлен в нужное положение оператором.
В соответствии с предпочтительным вариантом выполнения настоящего изобретения камера 46 предназначена для получения изображения части тела, на которой должен производиться липолиз. Изображение части тела пациента, полученное от камеры, предпочтительно отображается в реальном времени на дисплее 48.
Оператор может обозначить контуры зоны, содержащей жировую ткань. В соответствии с предпочтительным вариантом выполнения настоящего изобретения обозначение данной зоны производится путем маркирования оператором кожи пациента контурной линией 50, изображение которой передается камерой 46, отображается на дисплее 48, а также используется компьютером 44 управления липолизом для управления подачей ультразвукового излучения в различные точки внутри указанной зоны. Контур также может быть рассчитан компьютером и отображен на дисплее 48, как это обозначено ссылкой 52. В альтернативном варианте оператор может произвести виртуальное маркирование кожи, например, используя цифровой преобразователь (не показано), который также может создать контур 52, рассчитанный компьютером и представленный на дисплее 48.
В дополнение к представлению контура 52, при работе устройства, выполненного согласно настоящему изобретению, также используют маркеры 54, которые обычно расположены за пределами зоны, содержащей жировую ткань, хотя могут быть расположены и внутри зоны, обведенной контуром 50. Маркеры 54 являются оптически различимыми маркерами, которые могут быть отчетливо видны камерой 46, которая снимает их и отображает на дисплее 48. Маркеры 54 могут быть естественными анатомическими маркерами, например некоторые части тела, или, в альтернативном варианте, искусственные маркеры, например цветные наклейки. Эти маркеры предназначены для коррекции в работе устройства при деформации зоны, номинально обозначенной контурной линией 50, вследствие движения и переориентации тела. Предпочтительно, преобразователь 10 также содержит визуальный маркер 56, который также может быть снят камерой 46 и отображен на дисплее 48. Маркеры 54 и 56 обычно обрабатываются компьютером 44 и могут быть отображены на дисплее 48 как соответствующие компьютерные представления 58 и 60 маркеров на дисплее 48.
На фиг.1 изображен преобразователь 10, расположенный на теле в зоне, содержащей жировую ткань. Прямоугольники, обозначенные номерами 62 и 64, показывают типичные участки зоны, содержащей жировую ткань, до и после липолиза соответственно, в соответствии с предпочтительным вариантом выполнения настоящего изобретения. При сравнении прямоугольников 62 и 64 заметно, что в соответствии с предпочтительным вариантом выполнения настоящего изобретения внутри зоны, содержащей жировую ткань, жировая ткань, обозначенная номером 66, расщеплена, в то время как нежировая ткань, например соединительная ткань, обозначенная номером 68, не расщеплена.
На фиг.2 изображена упрощенная блок-схема узла 40 источника питания и модулятора (фиг.1), выполненного по предпочтительному варианту, показывающая характер изменения ультразвукового давления во времени, в соответствии с предпочтительным вариантом выполнения настоящего изобретения. Как показано на фиг.2, узел 40 источника питания и модулятора содержит генератор 100 сигнала, который генерирует изменяющийся во времени сигнал, модулированный таким образом, чтобы получить серию волновых пакетов 102 с колебаниями относительно высокой амплитуды, разделенных во времени серией волновых пакетов 104 с относительно низкой амплитудой колебаний. Каждый волновой пакет 102 с относительно высокой амплитудой соответствует периоду образования пустот и предпочтительно имеет уменьшающуюся во времени амплитуду.
Предпочтительно, соотношение между длительностью во времени пакета 102 и 104 таково, чтобы создать рабочий цикл с соотношением от 1:2 до 1:250, более предпочтительно от 1:5 до 1:30 и наиболее предпочтительно от 1:10 до 1:20.
Предпочтительно, выходной сигнал генератора 100 имеет частоту в диапазоне 50-1000 кГц, более предпочтительно – в диапазоне 100-500 кГц и наиболее предпочтительно в диапазоне 150-300 кГц.
Выходной сигнал генератора 100 подают к подходящему усилителю мощности 106, который подает выходной сигнал через согласующую схему 108 на вход ультразвукового преобразователя 10 (фиг.1), который преобразует полученный электрический сигнал в соответствующее выходное ультразвуковое излучение. Как показано на фиг.2, выходное ультразвуковое излучение содержит изменяющийся во времени сигнал, который модулируется в соответствии с выходным сигналом генератора 100 таким образом, чтобы получить серии колебаний относительно большой амплитуды, обозначенные номером 112 и соответствующие волновым пакетам 102, разделенные во времени сериями колебаний обычно относительно малой амплитуды, обозначенными номером 114 и соответствующими волновым пакетам 104.
Каждая серия 112 колебаний относительно большой амплитуды соответствует периоду образования пустот и имеет амплитуду в целевой области 12 (фиг.1) тела, которая превышает порог 120 протекания процесса образования пустот и предпочтительно имеет уменьшающуюся со временем амплитуду. По меньшей мере исходный импульс каждой серии 112 колебаний относительно большой амплитуды имеет амплитуду в целевой области 12, которая также превышает порог 122 запуска процесса образования пустот.
Серии 114 колебаний относительно малой амплитуды имеют амплитуду ниже обоих пороговых значений, 120 до 122 соответственно.
Предпочтительно, соотношение между продолжительностями по времени частей 112 до 114 таково, чтобы создать рабочий цикл с соотношениями от 1:2 до 1:250, более предпочтительно от 1:5 до 1:30 и наиболее предпочтительно от 1:10 до 1:20.
Предпочтительно, выходной ультразвуковой сигнал ультразвукового преобразователя 10 имеет частоту в диапазоне 50-1000 кГц, более предпочтительно – в диапазоне 100-500 кГц и наиболее предпочтительно в диапазоне 150-300 кГц.
Предпочтительно, каждая серия 112 колебаний с высокой амплитудой содержит от 2 до 1000 последовательных циклов, по амплитуде превосходящих порог 120 протекания процесса образования пустот, более предпочтительно – от 25 до 500 последовательных циклов, по амплитуде превосходящих порог 120 протекания процесса образования пустот и наиболее предпочтительно – от 100 до 300 последовательных циклов, по амплитуде превосходящих порог 120 протекания процесса образования пустот.
На фиг.3А и 3В в упрощенном виде показан внешний вид дисплея с операторским интерфейсом в процессе нормального протекания процесса и при отклонениях от нормального протекания процесса соответственно. Как показано на фиг.3А, в процессе нормального протекания процесса дисплей 48 обычно отображает целевые области 12 (фиг.1) внутри рассчитанной целевой зоны 200, обычно ограниченной экранным представлением контурной линии 52 (фиг.1). Дополнительно, дисплей 48 отображает одно или большее количество запрограммированных сообщений 202 о ходе процесса и статусных сообщений 203.
Как показано, различные целевые области 12 отображены с помощью различных заливок таким образом, что каждый тип заливки отражает текущее состояние процессов в данной области. Например, целевые области без заливки, обозначенные номерами 204, уже прошли процесс липолиза. Затемненная целевая область 12, обозначенная номером 205, является следующей в очереди прохождения липолиза. Частично затемненная целевая область 206 обычно представляет целевую область, которая была недостаточно обработана, для того чтобы достичь полного расщепления жировой ткани, обычно в связи с недостаточной длительностью обработки.
Другие типы целевых областей, например, не обработанные в связи с недостаточным количеством жировой ткани в данной области или по другим причинам, могут быть обозначены заливкой подходящим цветом или другими способами и показаны на фиг.3А под номерами 208 и 210.
Типичные сообщения 202 о ходе процесса могут быть таковы: «Идет создание пустот» и «Жир расщеплен в данной области». Обычные статусные сообщения 203 могут содержать информацию о мощности излучения, рабочей частоте, количестве целевых областей 12 внутри определенной целевой зоны и количестве оставшихся целевых областей 12, подлежащих липолизу.
Дисплей 48 также содержит графическое изображение 212 сечения, полученного от ультразвуковой визуализации, созданное формирующим изображения узлом 23 (фиг.1) ультразвукового преобразователя. Изображение 212 отображает различные ткани тела в поперечном сечении и показывает относительное расположение целевых областей 12. В соответствии с предпочтительным вариантом выполнения настоящего изобретения изображение 212 может также показывать визуально различимое изображение процесса образования пустот в пределах целевой области 12.
На фиг.3В видно, что в процессе протекания процесса с отклонениями от нормы дисплей 48 отображает запрограммированные сообщения об ошибке 214.
Обычные сообщения об ошибке могут быть таковы: «Плохой акустический контакт», «Слишком высокая температура». Сообщение «Слишком высокая температура» обычно относится к температуре кожной ткани, хотя оно может в альтернативном варианте или дополнительно относиться к другой ткани внутри или за пределами целевой области, или к температуре преобразователя 10 (фиг.1).
На фиг.4 изображена упрощенная блок-схема устройства ультразвукового липолиза, выполненного в соответствии с предпочтительным вариантом выполнения настоящего изобретения. Как показано выше со ссылкой на фиг.1 и как показано на фиг.4, устройство ультразвукового липолиза содержит компьютер 44 управления липолизом, информация от которого выводится на дисплей 48. Компьютер 44 управления липолизом получает входные данные от видеокамеры 46 (фиг.1) и от блока 300 измерения температуры, который получает информацию о заданном пороговом значении температуры, а также информацию от датчика 34 температуры кожи (фиг.1) и датчика 36 температуры преобразователя (фиг.1). Блок 300 измерения температуры сравнивает выходные сигналы от обоих датчиков 34 и 36 с соответствующими заданными пороговыми значениями и передает данные о превышении любого из порогов компьютеру 44 управления липолизом. Компьютер 44 управления липолизом также получает входную информацию от датчика 302, отслеживающего ультразвуковое излучение. Согласно некоторым вариантам изобретения вместо указанного датчика 302, отслеживающего ультразвуковое излучение, можно использовать блок 302 мониторинга акустического контакта, получающий информацию от блока 304 измерения электрических характеристик преобразователя (показано на чертежах). Блок 304 измерения электрических характеристик преобразователя отслеживает выходной сигнал, идущий от модуля 40 источника питания и модулятора (фиг.1) к ультразвуковому терапевтическому преобразователю 13.
Выходной сигнал блока 304 измерения электрических характеристик преобразователя также подается на ваттметр 306, который подает выходной сигнал на компьютер 44 управления липолизом и сигнал обратной связи к модулю 40 источника питания и модулятора (фиг.1).
Компьютер 44 управления липолизом также получает входную информацию от датчика 308, отслеживающего образование пустот, модуля 310 идентификации слоев ткани и модуля 312 идентификации расщепленной жировой ткани, каждый из которых получает входную информацию от модуля 314 анализа ультразвукового отражения. Модуль 314 анализа ультразвукового отражения получает входную ультразвуковую информацию от ультразвуковой моделирующей изображения подсистемы 316, которая управляет формирующим изображения узлом 23 (фиг.1) ультразвукового преобразователя. В некоторых вариантах изобретения вместо датчика 308, отслеживающего образование пустот, можно использовать модуль 308 обнаружения пустот (показано на чертежах).
Компьютер 44 управления липолизом передает выходные данные к модулю 40 источника питания и модулятора для управления ультразвуковым терапевтическим преобразователем 13 и к ультразвуковой моделирующей изображения подсистеме 316 для управления ультразвуковым формирующим изображения узлом 23 преобразователя. Модуль 318 контроля позиционирования также получает выходную информацию от компьютера 44 управления липолизом для управления устройством 49 позиционирования по осям X-Y-Z (фиг.1), для того чтобы правильно расположить преобразователь 10, содержащий ультразвуковой терапевтический преобразователь 13 и ультразвуковой формирующий изображения узел 23 преобразователя.
На фиг.5А, 5В и 5С вместе представлена упрощенная блок-схема, показывающая действия оператора при выполнении процедуры липолиза в соответствии с предпочтительным вариантом выполнения настоящего изобретения. Как показано на Фиг.5А, первоначально оператор проводит контурную линию 50 (фиг.1) на теле пациента. Предпочтительно, оператор также помещает на теле пациента стереотаксические маркеры 54 (фиг.1) и располагает преобразователь 10, содержащий маркер 56, в необходимом положении внутри контура 50.
Камера 46 (фиг.1) захватывает изображение контурной линии 50 и маркеров 54 и 56. Предпочтительно, контурная линия 50 и маркеры 54 и 56 отображаются на дисплее 48 в режиме реального времени. Выходной сигнал от камеры 46 также передается в память, связанную с компьютером 44 управления липолизом (фиг.1).
Модуль компьютерного отслеживания, выполненный в компьютере 44 управления липолизом, использует выходной сигнал камеры 46 для расчета компьютерного представления контурной линии 52, которое может быть отображено для информации оператора на дисплее 48. Модуль компьютерного отслеживания также рассчитывает координаты целевых областей для проведения липолиза, а также добавляет объем целевых областей к суммарному объему ткани, требующей липолиза.
Предпочтительно, оператор подтверждает расположение маркеров 54 и 56 на дисплее 48, и модуль компьютерного отслеживания рассчитывает соответствующие экранные представления маркеров 58 и 60.
В соответствии с предпочтительным вариантом выполнения настоящего изобретения модуль компьютерного отслеживания использует маркеры 54 и экранные представления маркеров 58 для обеспечения непрерывной регистрации контурной линии 50 относительно экранного представления контурной линии 52 и, таким образом, контроля целевых областей 12 относительно тела пациента, несмотря на движение тела пациента во время процедуры, например, связанное с дыханием или любыми другими движениями, например, когда пациент отлучается и возвращается к месту проведения процедуры.
Модуль компьютерного отслеживания выбирает первоначальную целевую область для обработки, а модуль 318 контроля позиционирования (фиг.4) рассчитывает необходимое изменение расположения преобразователя 10. Устройство 49 позиционирования по осям X-Y-Z меняет расположение преобразователя 10 так, чтобы расположить его над выбранной целевой областью.
Как показано на фиг.5В, при последующем изменении расположения преобразователя 10, компьютер 44 управления липолизом подтверждает точное расположение преобразователя 10 по отношению к выбранной целевой области. Моделирующая изображения подсистема 316 (фиг.4) активизирует ультразвуковой формирующий изображения узел 23 преобразователя, вызывая включение в работу модуля 314 анализа ультразвукового отражения для анализа.
На основе выходного сигнала от модуля 314 анализа ультразвукового отражения определяется толщина различных слоев ткани тела пациента. По получении информации о толщине слоев ткани оператор может подтвердить выбор целевой области и активизировать модуль 40 источника питания и модулятора (фиг.1).
Как показано на Фиг.5С, имеются следующие модули:
Блок 304 измерения электрических характеристик преобразователя подает выходной сигнал к блоку 302 мониторинга акустического контакта, который определяет, является ли установленный акустический контакт с телом пациента достаточным, предпочтительно путем анализа силы тока и напряжения на терапевтическом преобразователе 13. Блок 304 измерения электрических характеристик преобразователя также подает выходной сигнал к ваттметру 306, который рассчитывает среднюю электрическую мощность, получаемую терапевтическим преобразователем 13. Если средняя электрическая мощность, получаемая терапевтическим преобразователем 13, превышает установленный порог, работа модуля 40 источника питания и модулятора может быть автоматически прекращена.
Датчик 34 температуры кожи измеряет текущую температуру кожи в районе преобразователя 10 и передает эту информацию к блоку 300 измерения температуры, который сравнивает температуру кожи с пороговым значением. Аналогично, датчик 36 температуры преобразователя измеряет текущую температуру в преобразователе 10 и передает эту информацию к блоку 300 измерения температуры, который сравнивает температуру в преобразователе с пороговым значением. Выходные данные от блока 300 измерения температуры передаются на компьютер 44 управления липолизом.
Моделирующая изображения подсистема 316 управляет ультразвуковым формирующим изображения узлом 23 преобразователя и получает выходной сигнал-изображение, которое анализируется с помощью модуля 314 анализа ультразвукового отражения. Результат анализа используется для обнаружения пустот, а результат обнаружения пустот передается компьютеру 44 управления липолизом.
В случае выявления любого из следующих четырех условий модуль 40 источника питания и модулятора автоматически прекращает работу терапевтического преобразователя 13. В случае, если выполнение ни одного из следующих четырех условий не выявлено, автоматическая работа модуля 40 источника питания и модулятора 40 продолжается:
1. Акустический контакт является недостаточным.
2. Температура кожи превышает пороговое значение
3. Температура в преобразователе 13 превышает пороговое значение.
4. Не выявлено образования пустот.
Как показано на фиг.5В, во время автоматической работы модуля 40 источника питания и модулятора видеокамера 46 предпочтительно записывает изображение целевой зоны и отмечает, остается ли преобразователь 10 неподвижным в течение всей продолжительности процесса обработки выбранной целевой области 12. Если преобразователь был неподвижен и если ни одно из вышеупомянутых четырех условий не было выполнено, компьютер 44 управления липолизом подтверждает, что выбранная целевая область обработана. Затем модуль компьютерного отслеживания компьютера 44 управления липолизом предлагает к обработке следующую целевую область 12.
Если, однако, выявлено, что преобразователь 10 не оставался неподвижным в течение достаточно длительного времени, выбранная целевая область отмечается компьютером 44 управления липолизом как область, прошедшая недостаточную обработку.
Следует отметить, что благодаря использованию нескольких преобразователей может быть обработано множество целевых областей по различным временным схемам, например, с использованием последовательных или частично перекрывающихся отрезков времени.
Также следует отметить, что несколько целевых областей могут быть частично или полностью перекрывающимися в пространстве.
Пример реализации заявленного способа, проведенного в отношении самки свиньи, изложен ниже. Способ содержит несколько этапов подготовки и этапы анализа.
Подготовка жировой ткани
У самки свиньи, вес которой составлял около 100 кг, жировую и накрывающую ткани рассекли до мышечных фасций. Рассечение осуществляли сразу же после умерщвления животного. Глубина разреза составила приблизительно 2 см. Позднее кожу и жир удерживали при температуре 4°С не дольше 12 часов. Непосредственно после применения ультразвука от животного отделили цилиндрический сегмент (диаметром 1 см и высотой 2 см), содержащий кожу, жир и мышечную ткань. Полученный образец удерживали в буферном формальдегидном растворе в течение 48 часов (компания Bio-Lab, Израиль).
Гистопатология
Для подготовки образца применяли стандартные гистологические методы. Компания Path-Lab Ltd (Израиль) осуществляла заключение ткани, а также ее секционирование и обработку Гематоксилином и Эозином. Для исследования результатов воздействия ультразвука вдоль оси обработки, каждый образец был вырезан продольно.
Микроскопический анализ
Микроскопический анализ проводили с использованием светового микроскопа (Лейка) при увеличении 50, 100 и 400. Для записи изображений к микроскопу подключили видеокамеру, управляемую компьютерной программой для захвата изображений (CMS-1, A.M.S Ltd., Израиль). При каждом сканировании, которое осуществляли для каждого коэффициента увеличения, проверяли пять зон. Степень повреждения ткани определяли по появлению «теней» клеток, разрыву оболочек и образованию кисты, разных по размеру и объему. Увеличение 400 использовали для наблюдения тонких деталей вероятного повреждения в пределах исследуемой зоны. Результаты исследований анализировались патологами и учеными независимо друг от друга.
Для описания, оценки и анализа данных использовали две шкалы.
(1) Шкала расщепления жира:
Повреждение жировых клеток исследовали при увеличении 50 (для обеспечения максимального размера зоны) и классифицировали на 4 степени:
Степень 0 – повреждений нет; неповрежденная, нетронутая ткань; выглядит обычным образом (до 10% повреждения может носить технический характер и поэтому классифицируется как степень 0).
Степень 1 – минимальное повреждение; «тени» клеток, микрокиста размером 2-3 клетки, 10-25% повреждения.
Степень 2 – значительное повреждение; «тени» клеток, крупная микрокиста размером 5 клеток 26-50%.
Степень 3 – очень большое повреждение; «тени» клеток, крупная микрокиста и более крупные формы кисты 51-100%, или общая деструкция ткани, разрушенные клетки с разрушенной оболочкой.
(2) Шкала неспецифичного повреждения
Степень 0 – повреждений нет; неповрежденная, нетронутая ткань.
Степень 1 – повреждения есть; описание повреждения будет добавлено.
Эти шкалы выбраны потому, что требуемое ультразвуковое воздействие абсолютно не должно причинять вред другим тканям, отличным от жировых. Возможные повреждения соединительных тканей, нервных окончаний и кровеносных сосудов (артерии и вены, а также микрососуды) в пределах жировой ткани или прилегающих тканей (кожа и мышцы) исследуют при увеличениях 50, 100 и 400. Большие коэффициенты увеличения используются для различения минимальных изменений (иллюстрации не приведены). В процессе исследований были получены следующие результаты и соответствующие им выводы.
Оптимизация импульсных параметров
Для установления терапевтического индекса необходимо определить соотношения между импульсными характеристиками. Были изучены четыре характеристики: длина импульса, период повторяемости импульсов, общее время обработки ультразвуком и пиковая электрическая мощность ультразвука. Чтобы определить правильные соотношения между указанными четырьмя параметрами для обеспечения превосходного расщепления жировой ткани, были проведены четыре испытания. При каждом испытании изменяли один параметр, другие параметры при этом сохраняли постоянными. Во время первых двух испытаний исследовали частоту повторения импульсов и длину импульсов. Пиковая электрическая мощность сохранялась постоянной на уровне 150 Вт (как раз на уровне образования пустот), общее время обработки ультразвуком поддерживали постоянным и равным 5 с.
В первом эксперименте длину импульсов поддерживали постоянной и равной 1,6 миллисекунд.
Период повторения импульсов увеличивали от 5 до 100 мс (5 мс, 10 мс и далее с шагом 10 мс, n=11).
Во втором эксперименте период повторения импульсов поддерживали постоянным и равным 20 мс. Длину импульса увеличивали от 0,04 мс до 4 мс (0,04, 0,2, 0,4 и далее с шагом 0,4 мс, n=12).
Результаты эффективности расщепления жира представлены в таблице 1.
| Таблица 1 |
| Эксп. |
Длина имп. (мс) |
Период повторения имп. (мс) |
время обработки ультразв. (с) |
Пиковая электр. выходн. мощн. (Вт) |
Шкала расщепл. жира |
Шкала поврежд. |
| 1 |
1,6 |
5 |
5 |
150 |
0 |
0 |
| |
1,6 |
10 |
5 |
150 |
3 |
0 |
| |
1,6 |
20 |
5 |
150 |
3 |
0 |
| |
1,6 |
30 |
5 |
150 |
3 |
0 |
| |
1,6 |
40 |
5 |
150 |
3 |
0 |
| |
1,6 |
50 |
5 |
150 |
3 |
0 |
| |
1,6 |
60 |
5 |
150 |
3 |
0 |
| |
1,6 |
70 |
5 |
150 |
2 |
0 |
| |
1,6 |
80 |
5 |
150 |
1 |
0 |
| |
1,6 |
90 |
5 |
150 |
0 |
0 |
| |
1,6 |
100 |
5 |
150 |
0 |
0 |
| 2 |
0,04 |
20 |
5 |
150 |
0 |
0 |
| |
0,2 |
20 |
5 |
150 |
0 |
0 |
| |
0,4 |
20 |
5 |
150 |
0 |
0 |
| |
0,8 |
20 |
5 |
150 |
1 |
0 |
| |
1,2 |
20 |
5 |
150 |
2 |
0 |
| |
1,6 |
20 |
5 |
150 |
3 |
0 |
| |
2,0 |
20 |
5 |
150 |
3 |
0 |
| |
2,4 |
20 |
5 |
150 |
3 |
0 |
| |
2,8 |
20 |
5 |
150 |
3 |
0 |
| |
3,2 |
20 |
5 |
150 |
3 |
0 |
| |
3,6 |
20 |
5 |
150 |
3 |
0 |
| |
4,0 |
20 |
5 |
150 |
3 |
0 |
Представленные в таблице 1 результаты показывают, что превышение периода повторения импульсов величины в 60 мс приводит к уменьшению эффективности расщепления. До некоторого уровня насыщения, соответствующего длине импульса 1,6 мс, существует прямая взаимосвязь между длиной импульса и эффективностью расщепления, при этом не наблюдается каких-либо повреждений окружающей ткани.
Во время последующего испытания исследовали общее время обработки ультразвуком и подведенную пиковую электрическую мощность. Длина импульсов и частота повторения импульсов оставались постоянными. Длина импульсов сохранялась неизменной и равной 1,6 мс, тогда как период повторения импульсов поддерживали постоянным и равным 20 мс.
Мощность изменяли в сторону увеличения 4 раза от 150 Вт пиковой электрической мощности до 300 Вт с шагом 50 Вт. Общее время обработки ультразвуком изменяли в сторону увеличения 6 раз, на контрольные точки 0,1 с, 0,5 с, 1 с, 2 с, 5 с и 10 с (всего 24 эксперимента).
Результаты эффективности расщепления представлены в таблице 2.
| Таблица 2 |
| Эксп. |
Длина имп. (мс) |
Период повторения имп. (мс) |
время обработки ультразв. (с) |
Пиковая электр. выходн. мощн. (Вт) |
Шкала расщепл. жира |
Шкала поврежд. |
| 3 |
1,6 |
20 |
0,1 |
150 |
0 |
0 |
| |
1,6 |
20 |
0,1 |
200 |
0 |
0 |
| |
1,6 |
20 |
0,1 |
250 |
1 |
0 |
| |
1,6 |
20 |
0,1 |
300 |
2 |
0 |
| |
1,6 |
20 |
0,1 |
350 |
2 |
0 |
| |
1,6 |
20 |
0,5 |
150 |
0 |
0 |
| |
1,6 |
20 |
0,5 |
200 |
1 |
0 |
| |
1,6 |
20 |
0,5 |
250 |
2 |
0 |
| |
1,6 |
20 |
0,5 |
300 |
3 |
0 |
| |
1,6 |
20 |
0,5 |
350 |
3 |
0 |
| |
1,6 |
20 |
1 |
150 |
1 |
0 |
| |
1,6 |
20 |
1 |
200 |
3 |
0 |
| |
1,6 |
20 |
1 |
250 |
3 |
0 |
| |
1,6 |
20 |
1 |
300 |
3 |
0 |
| |
1,6 |
20 |
1 |
350 |
3 |
0 |
| |
1,6 |
20 |
2 |
150 |
1 |
0 |
| |
1,6 |
20 |
2 |
200 |
3 |
0 |
| |
1,6 |
20 |
2 |
250 |
3 |
0 |
| |
1,6 |
20 |
2 |
300 |
3 |
0 |
| |
1,6 |
20 |
2 |
350 |
3 |
0 |
| |
1,6 |
20 |
5 |
150 |
2 |
0 |
| |
1,6 |
20 |
5 |
200 |
3 |
0 |
| |
1,6 |
20 |
5 |
250 |
3 |
0 |
| |
1,6 |
20 |
5 |
300 |
3 |
0 |
| |
1,6 |
20 |
5 |
350 |
3 |
0 |
| |
1,6 |
20 |
10 |
150 |
2 |
0 |
| |
1,6 |
20 |
10 |
200 |
3 |
0 |
| |
1.6 |
20 |
10 |
250 |
3 |
0 |
| |
1,6 |
20 |
10 |
300 |
3 |
0 |
| |
1,6 |
20 |
10 |
350 |
3 |
0 |
Представленные в таблице 2 результаты показывают, что ультразвуковое излучение разрушает только жировую ткань, оставляя нетронутыми окружающую ткань и органы, находящиеся в обрабатываемой зоне. В случае применения ультразвукового излучения слабой мощности (150 Вт) происходит неинтенсивное расщепление. При 150 Вт 10-кратное увеличение времени обработки привело только к двукратному увеличению степени разрушения, что не превышает 50%. Ультразвуковое излучение мощностью 200 Вт и более приводит к максимально эффективному расщеплению жира даже при таком коротком времени обработки как 0,1 с. Ультразвуковое излучение мощностью 350 Вт, если время обработки составляет 0,5 с, приводит к максимально эффективному расщеплению жира, оставляя нетронутой прилегающую ткань.
Далее описано приложение, которое содержит программный объектный код модуля компьютерного отслеживания и включает следующие шаги:
1. Обеспечить наличие компьютера типа PC, например, Pentium III с частотой 800 МГц на базе Intel, с операционной системой Microsoft Windows 2000, с жестким диском объемом по меньшей мере 10 Гб, одним свободным PCI слотом и 17” монитором.
2. Установить и сконфигурировать Matrox Orion Frame Grabber Hardware:
a) Удалить/отключить плату VGA, имеющуюся на компьютере PC.
b) Установить плату Matrox Orion Frame Grabber, поставляемую фирмой Matrox (1055 boul. St-Regis, Dorval, Quebec Canada H9P 2T4) в имеющийся PCI слот компьютера PC.
c) Под управлением Microsoft Windows 2000 при загрузке компьютера встроенная система Plug-and-Play обнаружит новое мультимедийное видеоустройство и запросит установку драйвера. На этом шаге нажать «Отмена».
d) Установить камеру JAI CV-S3200 DSP Surveillance Color CCD, поставляемую фирмой JAI America Inc., Avenida de la Carlota, Suite 450, Laguna Hills, CA 92653 United States, и подключить ее к Matrox Orion Framer Grabber.
e) Поставить переключатели импеданса монитора компьютера в положение 75 Ом для красного, зеленого и синего цветов.
f) Установить входы синхронизации монитора на высокий импеданс и режим внешней синхронизации.
g) Подсоединить монитор к выходному 15-штырьковому VGA разъему платы Matrox Orion (DB-15).
3. Установка программного обеспечения Matrox MIL-Lite (версия 6.1.):
a) Запустить файл setup.exe программы Matrox MIL-Lite и следовать сообщениям установки по умолчанию.
b) Запустить Matrix Expansion Pack (версия 1.0).
c) Выбрать «PAL-YC mode of grabbing» при появлении соответствующего сообщения.
d) Установить последовательное соединение формата RS-232 между компьютером и камерой JAI путем регистрации и установки программы «JAI camera ActiveX object».
4. Установка отслеживающего программного обеспечения Track Software:
а) Создать соответственно следующие каталоги
(1).– корневой каталог для проекта Track
(2).
(3).
(4).
(5).
(6).
b) Создать файл TRACKOBJ.HEX на основании Приложения и поместить его во временный каталог.
c) Преобразовать из шестнадцатеричной системы в десятеричную содержимое файла TRACKOBJ.HEX, используя программу HEX IT верс.1.8 или выше, поставляемую John Augustine, 3129 Earl St., Laureldale Pa 19605, создать файл TRACKOBJ.ZIP.
d) Распаковать файл TRACKOBJ.ZIP, используя WINZIP верс.6.2. или выше, помещая распакованные файлы во временный каталог. Оказываются распакованными следующие файлы:
1). CAMERADLG.OBJ
2). DISPLAYFUNCS.OBJ
3). IMAGEPROC.OBJ
4). INTERIORREGION.OBJ
5). MARKERS.OBJ
6). NODES.OBJ
7). PARAMETERSDLG.OBJ
8). STDAFX.OBJ
9). TRACK.OBJ
10). TRACK.RES
11). TRACKDLG.OBJ
12). TRANSDUCER.OBJ
13). UTILS.OBJ
14). VIDEOMATROX.OBJ
e) Скомпилировать объектный код, хранящийся во временном каталоге, созданном на этапе 4d, используя компилятор Microsoft Visual C++ версии 6.0. В результате будет создано конечное приложение TRACK.EXE.
f) Чтобы запустить программное обеспечение Track, необходимо запустить файл TRACK.EXE и следовать он-лайн подсказкам по работе с программой.
Следует отметить, что компоненты программного обеспечения настоящего изобретения при необходимости могут быть зашиты в ПЗУ (постоянное запоминающее устройство). Компоненты программного обеспечения могут быть, в общем случае, встроены в аппаратную часть, если необходимо, с использованием обычных технологий.
Следует также отметить, что конкретный вариант реализации, представленный в Приложении, имеет целью только предоставить исключительно подробное описание настоящего изобретения и не является ограничивающим описанием.
Следует также отметить, что настоящее изобретение не ограничено тем, что было показано и описано выше. Более точно, объем настоящего изобретения включает в себя различные сочетания и варианты сочетаний различных признаков, описанных выше, равно как и их вариации и модификации, которые будут очевидно понятны для специалистов при чтении описания и которые не известны из предыдущего уровня техники.






































































Формула изобретения
1. Способ расщепления жировой ткани, включающий следующие операции: направление сфокусированного ультразвукового излучения в целевую область в зону тела, содержащую жировую ткань, и модуляция указанного сфокусированного ультразвукового излучения таким образом, чтобы выборочно расщеплять жировую ткань и в общем случае не расщеплять не жировые ткани в целевой области.
2. Способ расщепления жировой ткани по п.1, отличающийся тем, что направление сфокусированного ультразвукового излучения в общем случае предотвращает расщепление ткани за пределами целевой области.
3. Способ расщепления жировой ткани по любому из пп.1 и 2, отличающийся тем, что дополнительно включает операцию ультразвукового формирования изображения указанной зоны, по меньшей мере частично, одновременно с направлением ультразвукового излучения в указанную целевую область.
4. Способ расщепления жировой ткани по п.1, отличающийся тем, что указанное направление излучения включает расположение, по меньшей мере, одного ультразвукового преобразователя относительно тела, для того чтобы направить сфокусированное ультразвуковое излучение в целевую область.
5. Способ расщепления жировой ткани по п.1, отличающийся тем, что направление излучения включает изменение фокуса, по меньшей мере, одного ультразвукового преобразователя, для направления сфокусированного ультразвукового излучения в целевую область.
6. Способ расщепления жировой ткани по п.5, отличающийся тем, что изменение фокуса приводит к изменению объема целевой области.
7. Способ расщепления жировой ткани по п.5, отличающийся тем, что изменение фокуса приводит к изменению расстояния между целевой областью и, по меньшей мере, одним ультразвуковым преобразователем.
8. Способ расщепления жировой ткани по п.1, отличающийся тем, что дополнительно включает отслеживание ультразвукового излучения на внешней поверхности тела, смежной с целевой областью.
9. Способ расщепления жировой ткани по п.1, отличающийся тем, что дополнительно включает отслеживание образования пустот в целевой области.
10. Способ расщепления жировой ткани по п.1, отличающийся тем, что указанное направление излучения производят из ультразвукового преобразователя, расположенного за пределами тела.
11. Способ расщепления жировой ткани по п.1, отличающийся тем, что ультразвуковое излучение имеет частоту в диапазоне 50 – 1000 кГц.
12. Способ расщепления жировой ткани по п.1, отличающийся тем, что ультразвуковое излучение имеет частоту в диапазоне 100 – 500 кГц.
13. Способ расщепления жировой ткани по п.1, отличающийся тем, что ультразвуковое излучение имеет частоту в диапазоне 150 – 300 кГц.
14. Способ расщепления жировой ткани по п.1, отличающийся тем, что указанная модуляция обеспечивает получение рабочего цикла с соотношением от 1:2 до 1:250.
15. Способ расщепления жировой ткани по п.1, отличающийся тем, что указанная модуляция обеспечивает получение рабочего цикла с соотношением от 1:5 до 1:30.
16. Способ расщепления жировой ткани по п.1, отличающийся тем, что указанная модуляция обеспечивает получение рабочего цикла с соотношением от 1:10 до 1:20.
17. Способ расщепления жировой ткани по п.1, отличающийся тем, что указанная модуляция обеспечивает получение от 2 до 1000 последовательных циклов, по амплитуде превосходящих порог образования пустот.
18. Способ расщепления жировой ткани по п.1, отличающийся тем, что указанная модуляция обеспечивает получение от 25 до 500 последовательных циклов, по амплитуде превосходящих порог образования пустот.
19. Способ расщепления жировой ткани по п.1, отличающийся тем, что указанная модуляция обеспечивает получение от 100 до 300 последовательных циклов, по амплитуде превосходящих порог образования пустот.
20. Способ расщепления жировой ткани по п.1, отличающийся тем, что указанная модуляция включает амплитудную модуляцию ультразвукового излучения по времени.
21. Способ расщепления жировой ткани, включающий генерирование с помощью источника за пределами тела ультразвукового излучения, которое выборочно расщепляет жировую ткань и в общем случае не расщепляет не жировые ткани, и направление указанного ультразвукового излучения из указанного источника за пределами тела в целевую область тела, содержащую жировую ткань.
22. Способ расщепления жировой ткани по п.21, отличающийся тем, что направление ультразвукового излучения в общем случае предотвращает расщепление ткани за пределами указанной целевой области.
23. Способ расщепления жировой ткани по любому из пп.21 и 22, отличающийся тем, что дополнительно включает ультразвуковое формирование изображения указанной зоны, по меньшей мере частично, одновременно с направлением ультразвукового излучения в целевую область.
24. Способ расщепления жировой ткани по п.21, отличающийся тем, что направление излучения включает расположение, по меньшей мере, одного ультразвукового преобразователя относительно указанного тела, для того чтобы направлять ультразвуковое излучение в целевую область.
25. Способ расщепления жировой ткани по п.21, отличающийся тем, что направление излучения включает изменение фокуса, по меньшей мере, одного ультразвукового преобразователя, для того чтобы направить сфокусированное ультразвуковое излучение в целевую область.
26. Способ расщепления жировой ткани по п.25, отличающийся тем, что изменение фокуса приводит к изменению объема указанной целевой области.
27. Способ расщепления жировой ткани по п.25, отличающийся тем, что изменение фокуса приводит к изменению расстояния между целевой областью и, по меньшей мере, одним ультразвуковым преобразователем.
28. Способ расщепления жировой ткани по п.21, отличающийся тем, что дополнительно включает отслеживание ультразвукового излучения на внешней поверхности тела, смежной с целевой областью.
29. Способ расщепления жировой ткани по п.21, отличающийся тем, что дополнительно включает отслеживание образования пустот в целевой области.
30. Способ расщепления жировой ткани по п.21, отличающийся тем, что ультразвуковое излучение имеет частоту в диапазоне 50 – 1000 кГц.
31. Способ расщепления жировой ткани по п.21, отличающийся тем, что ультразвуковое излучение имеет частоту в диапазоне 100 – 500 кГц.
32. Способ расщепления жировой ткани по п.21, отличающийся тем, что ультразвуковое излучение имеет частоту в диапазоне 150 – 300 кГц.
33. Способ расщепления жировой ткани по п.21, дополнительно включающий модуляцию ультразвукового излучения, отличающийся тем, что модуляция обеспечивает получение рабочего цикла с соотношением от 1:2 до 1:250.
34. Способ расщепления жировой ткани по п.21, дополнительно включающий модуляцию ультразвукового излучения, отличающийся тем, что модуляция обеспечивает получение рабочего цикла с соотношением от 1:5 до 1:30.
35. Способ расщепления жировой ткани по п.21, дополнительно включающий модуляцию ультразвукового излучения, отличающийся тем, что модуляция обеспечивает получение рабочего цикла с соотношением от 1:10 до 1:20.
36. Способ расщепления жировой ткани по п.33, отличающийся тем, что указанная модуляция обеспечивает получение от 2 до 1000 последовательных циклов, по амплитуде превосходящих порог образования пустот.
37. Способ расщепления жировой ткани по п.33, отличающийся тем, что указанная модуляция обеспечивает получение от 25 до 500 последовательных циклов, по амплитуде превосходящих порог образования пустот.
38. Способ расщепления жировой ткани по п.33, отличающийся тем, что указанная модуляция обеспечивает получение от 100 до 300 последовательных циклов, по амплитуде превосходящих порог образования пустот.
39. Способ расщепления жировой ткани по п.33, отличающийся тем, что указанная модуляция выполнена в виде амплитудной модуляции ультразвукового излучения по времени.
40. Способ расщепления жировой ткани, включающий определение зоны тела, по меньшей мере частично, путем определения пространственных характеристик тела, направление ультразвукового излучения во множество целевых областей внутри указанной зоны, целевые области которой содержат жировую ткань, для того чтобы выборочно расщепить жировую ткань в указанных целевых областях и в общем случае не расщеплять не жировые ткани в целевых областях.
41. Способ расщепления жировой ткани по п.40, отличающийся тем, что направление излучения включает направление сфокусированного ультразвукового излучения во множество целевых областей последовательно во времени.
42. Способ расщепления жировой ткани по п.40, отличающийся тем, что указанное направление излучения включает направление сфокусированного ультразвукового излучения в несколько областей из множество целевых областей в периоды времени, которые, по меньшей мере, частично перекрываются.
43. Способ расщепления жировой ткани по любому из пп.40 и 41, отличающийся тем, что, по меньшей мере, некоторые из указанных целевых областей, по меньшей мере, частично перекрываются в пространстве.
44. Способ расщепления жировой ткани по п.40, отличающийся тем, что дополнительно включает определение зоны путем маркировки, по меньшей мере, одного участка поверхности указанного тела.
45. Способ расщепления жировой ткани по п.44, отличающийся тем, что дополнительно включает определение указанной зоны путем выбора, по меньшей мере, одной глубины в указанном теле.
46. Способ расщепления жировой ткани по п.44, отличающийся тем, что дополнительно включает определение указанной зоны путем выявления жировой ткани в указанном теле.
47. Способ расщепления жировой ткани по п.46, отличающийся тем, что дополнительно включает определение указанной зоны путем выявления нерасщепленной жировой ткани.
48. Способ расщепления жировой ткани по п.47, отличающийся тем, что указанное направление излучения дополнительно включает определение целевых областей как узлов с нерасщепленной жировой тканью в пределах указанной зоны.
49. Способ расщепления жировой ткани по п.48, дополнительно включающий модуляцию ультразвукового излучения, для выборочного расщепления жировой ткани во множестве целевых областей, выполняемого последовательно во времени, причем выборочное расщепление жировой ткани в каждой целевой области выполняют только после обнаружения нерасщепленной жировой ткани в данной области.
50. Способ расщепления жировой ткани по п.46, отличающийся тем, что указанное направление излучения дополнительно включает определение целевых областей в виде узлов жировой ткани внутри указанной зоны.
51. Способ расщепления жировой ткани по п.50, отличающийся тем, что дополнительно включает модуляцию указанного ультразвукового излучения, для выборочного расщепления жировой ткани во множестве целевых областях, последовательно во времени, причем выборочное расщепление жировой ткани в каждой целевой области выполняют только после обнаружения жировой ткани в данной области.
52. Способ расщепления жировой ткани по п.40, отличающийся тем, что дополнительно включает операцию компьютерного отслеживания указанных целевых областей, несмотря на движение тела.
53. Способ расщепления жировой ткани по п.52, отличающийся тем, что указанное компьютерное отслеживание включает обнаружение изменений в расположении маркировок на теле и использование обнаруженных изменений для отслеживания расположения целевых областей в теле.
54. Способ расщепления жировой ткани, включающий направление ультразвукового излучения на множество целевых областей, содержащих жировую ткань, внутри зоны, обозначенной контуром, с возможностью выборочного расщепления жировой ткани в целевых областях, и компьютерное отслеживание целевых областей посредством отслеживания изменений в положении маркеров на теле.
55. Устройство для расщепления жировой ткани, содержащее направляющее устройство сфокусированного ультразвукового излучения, направляющее сфокусированное ультразвуковое излучение в целевую область внутри зоны тела, содержащей жировую ткань, и модулятор, работающий совместно с указанным направляющим устройством, для того чтобы создавать сфокусированное ультразвуковое излучение, для того чтобы выборочно расщеплять жировые ткани в целевой области и в общем случае не расщеплять не жировые ткани в целевой области.
56. Устройство для расщепления жировой ткани по п.55, отличающееся тем, что указанное направляющее устройство в общем случае выполнено с возможностью предотвращать расщепление ткани за пределами указанной целевой области.
57. Устройство для расщепления жировой ткани по любому из пп.55 и 56, отличающееся тем, что дополнительно содержит ультразвуковой формирующий изображения узел, формирующий изображение указанной зоны, по меньшей мере частично, одновременно с направлением сфокусированного ультразвукового излучения в указанную целевую область.
58. Устройство для расщепления жировой ткани по п.55, отличающееся тем, что указанное направляющее устройство содержит устройство позиционирования, позиционирующее, по меньшей мере, один ультразвуковой преобразователь относительно тела, для направления сфокусированного ультразвукового излучения в целевую область.
59. Устройство для расщепления жировой ткани по п.55, отличающееся тем, что указанное направляющее устройство выполнено с возможностью изменения фокуса, по меньшей мере, одного ультразвукового преобразователя, для направления сфокусированного ультразвукового излучения в целевую область.
60. Устройство для расщепления жировой ткани по п.59, отличающееся тем, что изменение фокуса приводит к изменению объема указанной целевой области.
61. Устройство для расщепления жировой ткани по п.59, отличающееся тем, что изменение фокуса приводит к изменению расстояния между указанной целевой областью и указанным, по меньшей мере, одним ультразвуковым преобразователем.
62. Устройство для расщепления жировой ткани по п.55, отличающееся тем, что дополнительно содержит датчик, отслеживающий ультразвуковое излучение на внешней поверхности тела, смежной с целевой областью.
63. Устройство для расщепления жировой ткани по п.55, отличающееся тем, что дополнительно содержит датчик, отслеживающий образование пустот в целевой области.
64. Устройство для расщепления жировой ткани по п.55, отличающееся тем, что указанное направляющее устройство содержит ультразвуковой преобразователь, расположенный за пределами тела.
65. Устройство для расщепления жировой ткани по п.55, отличающееся тем, что оно выполнено с возможностью генерировать ультразвуковое излучение с частотами в диапазоне 50 – 1000 кГц.
66. Устройство для расщепления жировой ткани по п.55, отличающееся тем, что оно выполнено с возможностью генерировать ультразвуковое излучение с частотами в диапазоне 100 – 500 кГц.
67. Устройство для расщепления жировой ткани по п.55, отличающееся тем, что оно выполнено с возможностью генерировать ультразвуковое излучение с частотами в диапазоне 150 – 300 кГц.
68. Устройство для расщепления жировой ткани по п.55, отличающееся тем, что указанный модулятор выполнен с возможностью выработки рабочего цикла с соотношением от 1:2 до 1:250.
69. Устройство для расщепления жировой ткани по п.55, отличающееся тем, что указанный модулятор выполнен с возможностью выработки рабочего цикла с соотношением от 1:5 до 1:30.
70. Устройство для расщепления жировой ткани по п.55, отличающееся тем, что указанный модулятор выполнен с возможностью выработки рабочего цикла с соотношением от 1:10 до 1:20.
71. Устройство для расщепления жировой ткани по п.55, отличающееся тем, что указанный модулятор выполнен с возможностью выработки от 2 до 1000 последовательных циклов, по амплитуде превосходящих порог образования пустот.
72. Устройство для расщепления жировой ткани по п.55, отличающееся тем, что указанный модулятор выполнен с возможностью выработки от 25 до 500 последовательных циклов, по амплитуде превосходящих порог образования пустот.
73. Устройство для расщепления жировой ткани по п.55, отличающееся тем, что указанный модулятор выполнен с возможностью выработки от 100 до 300 последовательных циклов, по амплитуде превосходящих порог образования пустот.
74. Устройство для расщепления жировой ткани по п.55, содержащее модулятор, отличающееся тем, что указанный модулятор выполнен с возможностью получения амплитудной модуляции ультразвукового излучения во времени.
75. Устройство для расщепления жировой ткани, содержащее источник за пределами тела, генерирующий ультразвуковое излучение, направляющее устройство ультразвукового излучения, использующее указанное ультразвуковое излучение, для того чтобы выборочного расщеплять жировую ткань и в общем случае не расщеплять не жировую ткань в целевой области тела, содержащей жировую ткань.
76. Устройство для расщепления жировой ткани по п.75, отличающееся тем, что указанное направляющее устройство выполнено с возможностью в общем случае предотвращать расщепление ткани за пределами указанной целевой области.
77. Устройство для расщепления жировой ткани по любому из пп.75 и 76, отличающееся тем, что дополнительно содержит ультразвуковой формирователь изображения, формирующий изображение указанной зоны, по меньшей мере частично, одновременно с направлением ультразвукового излучения в целевую область.
78. Устройство для расщепления жировой ткани по п.75, отличающееся тем, что направляющее устройство содержит устройство позиционирования, позиционирующее, по меньшей мере, один ультразвуковой преобразователь относительно тела, для направления сфокусированного ультразвукового излучения в целевую область.
79. Устройство для расщепления жировой ткани по п.75, отличающееся тем, что указанное направляющее выполнено с возможностью изменять фокус, по меньшей мере, одного ультразвукового преобразователя для направления ультразвукового излучения в целевую область.
80. Устройство для расщепления жировой ткани по п.79, отличающееся тем, что изменение фокуса приводит к изменению объема целевой области.
81. Устройство для расщепления жировой ткани по п.79, отличающееся тем, что изменение фокуса приводит к изменению расстояния между целевой областью и, по меньшей мере, одним ультразвуковым преобразователем.
82. Устройство для расщепления жировой ткани по п.75, отличающееся тем, что содержит датчик, отслеживающий ультразвуковое излучение на внешней поверхности тела, смежной с целевой областью.
83. Устройство для расщепления жировой ткани по п.75, отличающееся тем, что дополнительно содержит датчик, отслеживающий образование пустот в целевой области.
84. Устройство для расщепления жировой ткани по п.75, отличающееся тем, что оно выполнено с возможностью генерировать ультразвуковое излучение с частотами в диапазоне 50 – 1000 кГц.
85. Устройство для расщепления жировой ткани по п.75, отличающееся тем, что оно выполнено с возможностью генерировать ультразвуковое излучение с частотами в диапазоне 100 – 500 кГц.
86. Устройство для расщепления жировой ткани по п.75, отличающееся тем, что оно выполнено с возможностью генерировать ультразвуковое излучение с частотами в диапазоне 150 – 300 кГц.
87. Устройство для расщепления жировой ткани по п.75, дополнительно содержащее модулятор, отличающееся тем, что указанный модулятор выполнен с возможностью выработки рабочего цикла с соотношением от 1:2 до 1:250.
88. Устройство для расщепления жировой ткани по п.75, дополнительно содержащее модулятор, отличающееся тем, что указанный модулятор выполнен с возможностью выработки рабочего цикла с соотношением от 1:5 до 1:30.
89. Устройство для расщепления жировой ткани по п.75, дополнительно содержащее модулятор, отличающееся тем, что указанный модулятор выполнен с возможностью выработки рабочего цикла с соотношением от 1:10 до 1:20.
90. Устройство для расщепления жировой ткани по п.87, отличающееся тем, что указанный модулятор выполнен с возможностью выработки от 2 до 1000 последовательных циклов, по амплитуде превосходящих порог образования пустот.
91. Устройство для расщепления жировой ткани по п.87, отличающееся тем, что указанный модулятор выполнен с возможностью выработки от 25 до 500 последовательных циклов, по амплитуде превосходящих порог образования пустот.
92. Устройство для расщепления жировой ткани по п.87, отличающееся тем, что указанный модулятор выполнен с возможностью выработки от 100 до 300 последовательных циклов, по амплитуде превосходящих порог образования пустот.
93. Устройство для расщепления жировой ткани по п.87, отличающееся тем, что указанный модулятор выполнен с возможностью получения амплитудной модуляции ультразвукового излучения во времени.
94. Устройство для расщепления жировой ткани, содержащее определитель зоны, определяющий зону тела, по меньшей мере частично, путем определения пространственных характеристик тела, и направляющее устройство, направляющее ультразвуковое излучение во множество целевых областей внутри зоны, целевые области которой содержат жировую ткань, для того чтобы выборочно расщепить жировую ткань в указанных целевых областях и в общем случае не расщеплять не жировые ткани в указанных целевых областях.
95. Устройство для расщепления жировой ткани по п.94, отличающееся тем, что указанное направляющее устройство выполнено с возможностью направлять сфокусированное ультразвуковое излучение во множество целевых областей во временной последовательности.
96. Устройство для расщепления жировой ткани по п.94, отличающееся тем, что указанное направляющее устройство выполнено с возможностью направлять сфокусированное ультразвуковое излучение в несколько областей из множество указанных целевых областей в периоды времени, которые, по меньшей мере, частично перекрываются.
97. Устройство для расщепления жировой ткани по любому из пп.94-96, отличающееся тем, что, по меньшей мере, некоторые из множества целевых областей, по меньшей мере, частично перекрываются в пространстве.
98. Устройство для расщепления жировой ткани по п.94, отличающееся тем, что указанный определитель зоны выполнен с возможностью использовать маркировку, по меньшей мере, одной поверхности указанного тела.
99. Устройство для расщепления жировой ткани по п.98, отличающееся тем, что указанный определитель зоны выполнен с возможностью дополнительно использовать выбор, по меньшей мере, одной глубины в указанном теле.
100. Устройство для расщепления жировой ткани по п.98, отличающееся тем, что указанный определитель зоны выполнен с возможностью обнаруживать жировую ткань в указанном теле.
101. Устройство для расщепления жировой ткани по п.100, отличающееся тем, что указанный определитель зоны выполнен с возможностью определять указанную зону, по меньшей мере частично, путем обнаружения нерасщепленной жировой ткани.
102. Устройство для расщепления жировой ткани по п.101, отличающееся тем, что указанное направляющее устройство дополнительно выполнено с возможностью определять указанные целевые области как узлы с нерасщепленной жировой тканью внутри указанной зоны.
103. Устройство для расщепления жировой ткани по п.102, отличающееся тем, что указанное направляющее устройство выполнено с возможностью выполнения последовательных действий во времени таким образом, чтобы выборочное расщепление жировой ткани в каждой целевой области происходило только после обнаружения в ней нерасщепленной жировой ткани.
104. Устройство для расщепления жировой ткани по п.100, отличающееся тем, что указанное направляющее устройство дополнительно выполнено с возможностью определения целевых областей как узлов жировой ткани внутри указанной зоны.
105. Устройство для расщепления жировой ткани по п.104, отличающееся тем, что указанное направляющее устройство выполнено с возможностью выполнения последовательных действий во времени таким образом, чтобы выборочное расщепление жировой ткани в каждой целевой области происходило только после обнаружения в ней жировой ткани.
106. Устройство для расщепления жировой ткани по п.94, дополнительно содержащее модуль компьютерного отслеживания, обеспечивающий компьютерное отслеживание указанных целевых областей, несмотря на движение указанного тела.
107. Устройство для расщепления жировой ткани по п.106, отличающееся тем, что указанный модуль компьютерного отслеживания выполнен с возможностью обнаружения изменений в положении маркировок на теле и с возможностью использования обнаруженных изменений для отслеживания положения целевых областей в теле.
108. Устройство для расщепления жировой ткани, содержащее направляющее устройство, направляющее ультразвуковое излучение во множество целевых областей внутри зоны, целевые области которой содержат жировую ткань, для того чтобы выборочно расщеплять указанную жировую ткань в целевых областях и в общем случае не расщеплять не жировые ткани в целевых областях, и модуль компьютерного отслеживания, выполняющий компьютерное отслеживание указанных целевых областей, несмотря на движение указанного тела.
109. Устройство для расщепления жировой ткани по п.108, отличающееся тем, что указанный модуль компьютерного отслеживания выполнен с возможностью обнаружения изменений в положении маркировок на указанном теле и с возможностью использования обнаруженных изменений для отслеживания положения указанных целевых областей в теле.
РИСУНКИ
PC4A – Регистрация договора об уступке патента СССР или патента Российской Федерации на изобретение
Прежний патентообладатель:
УЛЬТРАШЕЙП ИНК. (IL)
(73) Патентообладатель:
УЛЬТРАШЕЙП ЛТД. (IL)
Договор № РД0062060 зарегистрирован 18.03.2010
Извещение опубликовано: 27.04.2010 БИ: 12/2010
|