|
|
(21), (22) Заявка: 2006104350/14, 15.02.2006
(24) Дата начала отсчета срока действия патента:
15.02.2006
(46) Опубликовано: 20.03.2007
(56) Список документов, цитированных в отчете о поиске:
ЦИМБАЛИСТОВ А.В. и др. Комплексный подход к лечению больных с дисфункцией височно-челюстных суставов. Материалы 1-го международного симпозиума Клиническая постурология, поза и прикус. СПб, 2004, 26-29. RU 2218868 С1, 20.12.2003. RU 2165734 С2, 27.04.2001. OBERG U et all. Validity and Reliability of a New Assesment of Lower-Extremity Dysfunction.
Адрес для переписки:
127473, Москва, ул. Делегатская, 20/1, ГОУ ВПО “Московский государственный медико-стоматологический университет ФА по ЗД и СР”, патентный отдел
|
(72) Автор(ы):
Бугровецкая Ольга Григорьевна (RU), Василенко Алексей Михайлович (RU), Юров Виталий Викторович (RU), Стецюра Олеся Александровна (RU)
(73) Патентообладатель(и):
ГОУ ВПО “Московский государственный медико-стоматологический университет Федерального агентства по здравоохранению и социальному развитию” (RU)
|
(54) СПОСОБ ПРОГНОЗИРОВАНИЯ ЭФФЕКТИВНОСТИ МАНУАЛЬНОЙ ТЕРАПИИ ПРИ ЛЕЧЕНИИ ДИСФУНКЦИИ ВИСОЧНО-НИЖНЕЧЕЛЮСТНОГО СУСТАВА
(57) Реферат:
Изобретение относится к медицине и предназначено для определения эффективности мануальной терапии при лечении дисфункции височно-нижнечелюстного сустава при помощи тензоалгометрии. Сущность: перед проведением мануальной терапии измеряют порог боли тензоалгометром в проекции краниальных швов, а именно симметрично слева и справа: в проекции венечного (лобно-теменного) шва, в месте изменения направления скосов лобной и теменной кости; в проекции клиновидно-чешуйчатого шва, над скуловым отростком височной кости, где меняется направление скоса шва; в проекции чешуйчатого (теменно-височного) шва, над верхушкой уха; в проекции теменно-сосцевидного шва, где меняется направление его скоса; в проекции затылочно-сосцевидного шва, в месте изменения его скоса; в проекции лямбдовидного (теменно-затылочного) шва, где меняется направление его скоса; в проекции середины скуло-верхнечелюстного шва; а также в точках: в проекции вентральной части сагиттального шва, на 2 см кзади от венечного шва; в проекции дорсальной части сагиттального шва, на 2 см кпереди от лямбдовидного шва. Проводят мануальную терапию и повторно исследуют порог боли тензоалгометром в вышеуказанных точках. Сравнивают результаты измерений до и после проведения терапии и по повышению порога боли определяют эффективности мануальной терапии при лечении дисфункции височно-нижнечелюстного сустава. Способ позволяет объективизировать результаты проводимого лечения, а также определить места измерения порогов боли, с учетом этиологии и патогенеза развития патологического процесса. 5 табл., 2 ил.
(56) (продолжение):
CLASS=”b560m”Physical Therapy, 1994, v.74, № 9, p.861-871. JANAL M.N. On the adsent of correlation between responses to noxions heat, cold, electrical and ishemic stimulation, Pain, 58, 1994, 403-413.
Изобретение относится к медицине и предназначено для прогнозирования эффективности мануальной терапии при лечении дисфункции височно-нижнечелюстного сустава при помощи тензоалгометрии.
При анализе литературы, посвященной данной проблеме, в частности, на основании наших предыдущих работ, было установлено [1, 2, 3, 4], что синдром дисфункции ВНЧС сопровождается значительными патобиомеханическими нарушениями в опорно-двигательном аппарате, а также выраженным напряжением и болезненностью мягких тканей в проекции краниальных швов. Нами доказано наличие фиксаций структурных элементов головы у пациентов с дисфункцией височно-нижнечелюстного сустава. По нашему мнению длительное существование дисфункции ВНЧС, приводит к выраженным нарушениям регуляции тонуса жевательных мышц, что в свою очередь вызывает компенсаторную перестройку в мышцах имеющих точки прикрепления на черепе (т.е. трапециевидная, ременная, длиннейшая, остистая мышца головы, группа подзатылочных мышц, грудино-ключично-сосцевидная, надподъязычные мышцы, предпозвоночная группа). Затем формируется болезненное напряжение в мягких тканях, фасциях в области краниальных швов, нарушение взаиморасположения фиброзных и костных структур свода и основания черепа. Впоследствии данные нарушения выражаются в асимметрии лицевого и мозгового черепа, разностоянии сосцевидных отростков, болезненном напряжении тканей в области краниальных швов, а также выраженными функциональными изменениями в опорно-двигательном аппарате. Данные представления подтверждаются успешным лечением пациентов с дисфункцией ВНЧС, в комплексном лечении которых были использованы краниальные техники МТ, направленные на устранение фиксаций структурных элементов головы.
На основании вышеизложенного мы предприняли поиск средств для объективизации данных пальпаторного исследования болевого порога мягких тканей в проекции краниальных швов и оценки эффективности методов мануальной терапии в лечении данной патологии. С нашей точки зрения, наиболее оправданным является применение тензоалгометрии.
Тензоалгометрия относится к группе методов, основанных на тестировании порогов боли (ПБ). Порог боли определяется как «минимальное болевое ощущение, которое субъект в состоянии распознать», оно возникает в тот момент, когда сила давления достигает значений, достаточных для возбуждения А- -механорецепторов и С-полимодальных ноцицепторов.
Изменения порогов боли (ПБ) успешно используются для доказательства эффективности мануальной терапии (МТ) и определения целесообразности использования ее различных приемов в конкретных клинических ситуациях (A.M.Василенко с соавт. 1998). Такие работы проводились и в отношении дисфункции височно-нижнечелюстного сустава (ВНЧС). R.M.Malow и R.E.Olson в своей работе указывают на снижение ПБ в области капсулы суставов у больных, страдающих дисфункцией ВНЧС. Однако F.Boureau и соавторы не обнаружили достоверных различий порогов боли в области капсулы суставов у пациентов с дисфункцией ВНЧС и здоровых людей. Как известно, порог боли существенно зависит от места измерения и стадии патологического процесса.
Наиболее близким техническим решением, по нашему мнению, является методика прогнозирования эффективности мануальной терапии при лечении дисфункции височно-нижнечелюстного сустава, основанная на комплексном обследовании больных с дисфункцией ВНЧС [5], включающая пальпацию мышечно-фасциальных структур с целью оценки их болезненности.
Недостатками данного способа является то, что в нем отсутствует количественная оценка порогов боли при дисфункции ВНЧС и, как следствие, объективизация результатов проводимого лечения. Кроме того, в нем отсутствуют места измерения порогов боли, с учетом этиологии и патогенеза развития патологического процесса.
Цель работы. Прогнозирование эффективности мануальной терапии при лечении дисфункции височно-нижнечелюстного сустава при помощи тензоалгометрии.
Задачи:
1. Сравнить результаты пальпаторного исследования и тензоалгометрии мягких тканей в проекции краниальных швов.
2. Изучить распределение порогов боли при дисфункции ВНЧС.
3. Оценить эффективность мануальной терапии при дисфункции ВНЧС на основании динамики порогов боли в проекции краниальных швов.
Материал и методы исследования. Под наблюдением находилось 104 больных с дисфункцией ВНЧС в возрасте от 14 до 65 лет (77 женщин и 27 мужчин). Анамнез заболевания составлял от 2 месяцев до 8 лет. В качестве контрольной группы было обследовано 30 здоровых испытуемых (без клинических признаков дисфункции ВНЧС), сопоставимых по полу и возрасту с пациентами основной группы.
Диагноз дисфункции ВНЧС ставился на основании жалоб, анамнестических данных, клинического неврологического и ортопедического обследования с применением методов мануальной диагностики. Диагноз верифицирован с помощью аксиографии, а также магнитно-резонансной томографии (МРТ) ВНЧС. Оценка интенсивности боли производилась по визуальной аналоговой шкале (ВАШ). Результаты обследования заносились в специальную карту.
Измерение порога боли с помощью тензоалгометра проводил независимый исследователь, не посвященный в результаты пальпаторного обследования. ПБ измеряли при помощи тензоалгометра в проекции швов черепа (табл.1) до лечения, через 60 мин (обусловлено длительностью процедуры) и через 2.5 мес (обусловлено длительностью курса лечения).
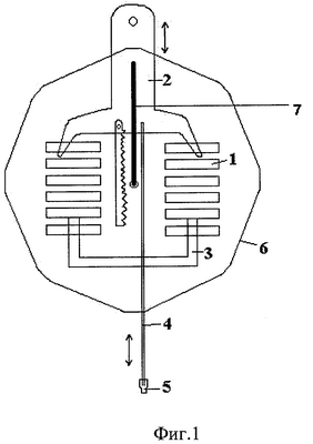
Тензоалгометрия проводилась при помощи тензоалгометра, содержащего корпус и контактный элемент, размещены в едином корпусе, в котором установлен пружинный механизм, включающий две пружины, каждая из которых прикреплена одним концом к подвижному элементу, а другим концом соединена с зафиксированной в корпусе пластиной, подвижный элемент соединен с зубчатой рейкой, взаимодействующей с шестерней, на оси которой установлен стрелочный указатель, причем к подвижному элементу прикреплен одним концом контактный элемент в виде измеряющего щупа, другой конец которого выступает из корпуса через отверстие в нем (фиг.1) (RU 49703 U1, 10.12.2005).
При тензоалгометрии значение ПБ выражается в единицах силы давления (в кг.), отнесенной к единице площади (в см2).
Точки измерения выбирались в соответствии с краниальной концепцией Сазерленда о биомеханике костей черепа [6, 7]. Результаты измерений заносились в отдельную карту.
Положение точек для измерения поясняется на фигуре 2.
Результаты исследования: У больных нами были выявлены следующие клинические проявления дисфункции ВНЧС: боль (43%), щелканье (89%) в области сустава, дискоординацию движений обеих сторон и связанную с ней девиацию нижней челюсти при открывании рта (100%), напряжение мышц и переартикулярных тканей (78%), бруксизм (43%), снижение слуха (23%). Больные также предъявляли жалобы на периодические боли в разных отделах опорно-двигательного аппарата (74%), головную боль (62%), периодическое головокружения системного (23%) и несистемного (47%) характера, ощущение неустойчивости при ходьбе (58%).
У всех обследованных пациентов при мануальном обследовании отмечена асимметрия лицевого и мозгового черепа, разностояние сосцевидных отростков, болезненное напряжение тканей в области краниальных швов, особенно чешуйчатого, височно-основного и затылочно-сосцевидного. Также были выявлены выраженные нарушения функционального состояния опорно-двигательного аппарата. Особенно следует отметить наличие дисфункций в “ключевых зонах” изменения кривизны позвоночного столба: на уровне атланто-затылочного (100%), шейно-грудного (100%), торако-люмбального (100%), пояснично-крестцового (68%) переходов, а также позвоночно-двигательных сегментах С1-С2, С3-С4 (75%), Th4-Th5 (82%), L3-L4 (86%) и крестцово-подвздошных суставах (100%). Данные патобиомеханические нарушения указывают на необходимость использования методов мануальной терапии в лечении синдрома дисфункции ВНЧС.
Анализ результатов регистрации суставного пути с помощью аксиографии свидетельствует о значительных нарушениях функции ВНЧС.
Данные МРТ указывают на то, что в большинстве случаев при синдроме дисфункции ВНЧС наблюдается ограничение подвижности мыщелка с одной стороны и его гипермобильность с другой. При этом на стороне ограниченной подвижности отмечается наибольшая болезненность и ригидность тканей в области крылонебной ямки при ее пальпации. По нашему мнению, это обусловлено перенапряжением латеральной крылонебной мышцы.
Средний уровень самооценки боли по ВАШ составил 7,6 баллов.
Средние показатели болевого порога в проекции краниальных швов у пациентов с дисфункцией ВНЧС на стороне наибольшей болезненности и ригидности мягких тканей в проекции крылонебной ямки (А) и на противоположной (Б) сторонах в сравнении с контрольной группой (здоровой) представлены в таблице 2.
При анализе таблицы №2 очевидно, что при дисфункции ВНЧС выявлено снижение порога боли мягких тканей в проекции краниальных швов, с преобладанием на стороне наибольшей болезненности и ригидности мягких тканей крылонебной ямки (табл.2). Асимметрия средних показателей порога боли у пациентов с дисфункцией ВНЧС составила 24±8%, тогда как в контрольной группе всего лишь 6±4%. Результаты тензоалгометрии в 98% случаев совпадали с данными пальпаторного исследования мягких тканей в проекции краниальных швов, что можно объяснить воздействием на одни и те же рецепторы – механорецепторы.
Всем больным с дисфункцией ВНЧС проводился курс МТ, направленный на устранение выявленных патобиомеханических нарушений в опорно-двигательном аппарате в целом. Применялись мобилизационные и манипуляционные техники на суставах позвоночника, в том числе мышечно-энергетические, мышечно-фасциальные техники, релиз субокципитальной области. Использовались техники краниальной мануальной терапии (остеопатической коррекции по W.Sutherland) для коррекции дисфункций в сфеноокципитальном синхондрозе, височной кости, техники релиза мягких тканей крылонебной ямки и гармонизации ВНЧС.
Курс МТ продолжался от 1,5 до 2,5 месяцев, сеансы проводились с интервалом 1-2 раза в неделю, затем раз в семь дней. В результате лечения исчезала болезненность мягких тканей головы и, как следствие, напряжение тканей в области швов мозгового и лицевого черепа. По данным повторного мануального обследования значительно уменьшалась выраженность патобиомеханических нарушений в опорно-двигательном аппарате, что приводило к оптимизации двигательного стереотипа в целом.
Результаты аксиографии свидетельствуют об улучшении функции ВНЧС.
Повторная МРТ ВНЧС указывает на нормализацию подвижности мыщелков, что более очевидно проявляется в уменьшении гипермобильности.
Еще в середине курса лечения отмечалось снижение уровня самооценки боли до 3,4 балов по ВАШ, к окончанию курса лечения болевой синдром, независимо от локализации, полностью регрессировал в 89%, а в остальных случаях составлял в среднем 2,1 бала.
Динамика средних показателей порогов боли мягких тканей в проекции швов черепа у испытуемых контрольной группы (без клинических признаков дисфункции ВНЧС) представлена в таблице 3. Из таблиц 3 и 5 следует, что показатели болевого порога и асимметрии в проекции краниальных швов на этапах наблюдения существенно не изменились.
В таблице 4 представлена динамика результатов исследования порогов болевой чувствительности мягких тканей в проекции швов черепа в основной группе на этапах лечения. Из таблиц 4 и 5 следует, что уже после первой процедуры мануальной терапии отмечалось повышение порогов боли и уменьшение асимметрии справа и слева. По нашему мнению, данный феномен может служить положительным прогностическим признаком в лечении пациентов с дисфункцией ВНЧС, так как к окончанию курса лечения показатели порогов боли приблизились к таковым в контрольной группе.
Таким образом, исследование порогов боли мягких тканей в проекции краниальных швов с помощью тензоалгометра позволяет объективизировать данные пальпаторного исследования.
1. Показатели ПБ в проекции швов черепа в группе больных с дисфункцией ВНЧС достоверно ниже по сравнению с контрольной группой.
2. Применение методов МТ с использованием краниальных техник в лечении синдрома дисфункции ВНЧС является оправданным, что объективно подтверждается нормализацией суставного пути, повышением ПБ и уменьшением асимметрии в проекции швов черепа.
3. Изменения ПБ после первой процедуры мануальной терапии может служить прогностическим критерием.
Таблица 1 Локализация точек измерения порогов боли |
| № |
Локализация |
| А. Парные точки |
| 1 |
В проекции венечного (лобно-теменного) шва, в месте изменения направления скосов лобной и теменной кости. |
| 2 |
В проекции клиновидно-чешуйчатого шва, над скуловым отростком височной кости, где меняется направление скоса шва. |
| 3 |
В проекции чешуйчатого (теменно-височного) шва, над верхушкой уха. |
| 4 |
В проекции теменно-сосцевидного шва, где меняется направление его скоса. |
| 5 |
В проекции затылочно-сосцевидного шва, в месте изменения его скоса. |
| 6 |
В проекции лямбдовидного (теменно-затылочного) шва, где меняется направление его скоса. |
| 7 |
В проекции середины скуло-верхнечелюстного шва. |
| В. Непарные точки |
| 8 |
В проекции вентральной части сагиттального шва, на 2 см кзади от венечного шва. |
| 9 |
В проекции дорсальной части сагиттального шва, на 2 см кпереди от лямбдовидного шва. |
Таблица 2 Показатели ПБ мягких тканей в проекции краниальных швов в основной и контрольной группах (кг/см2). (А – сторона наибольшей болезненности и ригидности мягких тканей; Б – контралатеральная сторона) |
| Исследуемые точки |
Основная группа |
Контрольная группа |
| № |
Локализация |
А |
Б |
Справа |
Слева |
| 1 |
В проекции венечного (лобно-теменного) шва, в месте изменения направления скосов лобной и теменной кости. |
1.12±0,32 |
2.8±0,34 |
3.78±0,36 |
3.91±0,38 |
| 2 |
В проекции клиновидно-чешуйчатого шва, над скуловым отростком височной кости, где меняется направление скоса шва. |
1.46±0,38 |
2.86±0,36 |
3.82±0,34 |
3.75±0,36 |
| 3 |
В проекции чешуйчатого (теменно-височного) шва, над верхушкой уха. |
1.03±0,32 |
2.65±0,34 |
3.59±0,38 |
3.68±0,36 |
| 4 |
В проекции теменно-сосцевидного шва, где меняется направление его скоса. |
1.14±0,36 |
2.74±0,36 |
3.84±0,34 |
3.67±0,38 |
| 5 |
В проекции затылочно-сосцевидного шва, в месте изменения его скоса. |
1.5±0,34 |
2.74±0,36 |
3.51±0,38 |
3.58±0,36 |
| 6 |
В проекции лямбдовидного (теменно-затылочного) шва, где меняется направление его скоса. |
1.45±0,38 |
2.95±0,34 |
3.9±0,36 |
3.81±0,38 |
| 7 |
В проекции середины скуло-верхнечелюстного шва. |
1.13±0,32 |
2.59±0,38 |
3.88±0,36 |
3.7±0,38 |
| 8 |
В проекции вентральной части сагиттального шва, на 2 см кзади от венечного шва. |
1.34±0,31 |
2.6±0,36 |
3.48±0,38 |
3.64±0,36 |
| 9 |
В проекции дорсальной части сагиттального шва, на 2 см кпереди от лямбдовидного шва. |
1.26±0,32 |
2.62±0,32 |
3.52±0,36 |
3.72±0,34 |
Таблица 3 Показатели порогов болевой чувствительности мягких тканей в проекции краниальных швов в контрольной группе (кг/см2) |
| № |
Локализация исследуемых точек |
Исходные значения |
Через 60 минут |
Через 2,5 месяца |
| Справа |
Слева |
Справа |
Слева |
Справа |
Слева |
| 1 |
В проекции венечного (лобно-теменного) шва, в месте изменения направления скосов лобной и теменной кости. |
3.78±0,36 |
3.91±0,38 |
3.76±0,36 |
3.88±0,38 |
3.64±0,32 |
3.68±0,32 |
| 2 |
В проекции клиновидно-чешуйчатого шва, над скуловым отростком височной кости, где меняется направление скоса шва. |
3.82±0,34 |
3.75±0,36 |
3.84±0,34 |
3.64±0,34 |
3.54±0,38 |
3.62±0,34 |
| 3 |
В проекции чешуйчатого (теменно-височного) шва, над верхушкой уха. |
3.59±0,38 |
3.68±0,36 |
3.62±0,38 |
3.62±0,36 |
3.42±0,36 |
3.52±0,36 |
| 4 |
В проекции теменно-сосцевидного шва, где меняется направление его скоса. |
3.84±0,34 |
3.67±0,38 |
3.8±0,36 |
3.68±0,34 |
3.62±0,34 |
3.46±0,38 |
| 5 |
В проекции затылочно-сосцевидного шва, в месте изменения его скоса. |
3.51±0,38 |
3.58±0,36 |
3.54±0,34 |
3.62±0,34 |
3.46±0,36 |
3.58±0,36 |
| 6 |
В проекции лямбдовидного (теменно-затылочного) шва, где меняется направление его скоса. |
3.9±0,36 |
3.81±0,38 |
3.84±0,36 |
3.76±0,38 |
3.68±0,32 |
3.48±0,38 |
| 7 |
В проекции середины скуло-верхнечелюстного шва. |
3.88±0,36 |
3.7±0,38 |
3.79±0,34 |
3.74±0,36 |
3.66±0,32 |
3.62±0,32 |
| 8 |
В проекции вентральной части сагиттального шва, на 2 см кзади от венечного шва. |
3.48±0,38 |
3.64±0,36 |
3.48±0,38 |
3.54±0,34 |
3.64±0,32 |
3.54±0,34 |
| 9 |
В проекции дорсальной части сагиттального шва, на 2 см кпереди от лямбдовидного шва. |
3.52±0,36 |
3.72±0,34 |
3.56±0,36 |
3.66±0,38 |
3.42±0,36 |
3.52±0,38 |
Таблица 4 Динамика результатов исследования порогов болевой чувствительности мягких тканей в проекции швов черепа на этапах лечения в основной группе (кг/см2) (А – сторона наибольшей болезненности и ригидности мягких тканей; Б – контралатеральная сторона) |
| Исследованные точки |
Исходные показатели |
Через 60 минут |
Через 2,5 месяца |
| А |
Б |
А |
Б |
А |
Б |
| 1 |
1.12±0,32 |
2.8±0,34 |
2.01±0,3 |
2.84±0,32 |
3.18±0,32 |
3.26±0,34 |
| 2 |
1.46±0,38 |
2.86±0,36 |
2.12±0,36 |
2.92±0,34 |
3.04±0,34 |
3.21±0,34 |
| 3 |
1.03±0,32 |
2.65±0,34 |
1.98±0,34 |
2.72±0,34 |
3.12±0,32 |
3.16±0,32 |
| 4 |
1.14±0,36 |
2.74±0,36 |
2.1±0,32 |
2.86±0,32 |
2.9±0,36 |
3.12±0,34 |
| 5 |
1.5±0,34 |
2.74±0,36 |
2.42±0,32 |
2.88±0,32 |
3.02±0,32 |
3.42±0,36 |
| 6 |
1.45±0,38 |
2.95±0,34 |
2.38±0,36 |
2.98±0,36 |
3.22±0,34 |
3.3±0,32 |
| 7 |
1.13±0,32 |
2.59±0,38 |
2.18±0,34 |
2.68±0,34 |
3.12±0,36 |
3.52±0,34 |
| 8 |
1.34±0,31 |
2.6±0,36 |
2.24±0,32 |
2.82±0,32 |
3.14±0,34 |
3.54±0,32 |
| 9 |
1.26±0,32 |
2.62±0,32 |
2.12±0,31 |
2.72±0,32 |
3.16±0,32 |
3.4±0,34 |
Таблица 5 Изменение средних показателей асимметрии в парных точках (%) |
| Группа |
Исходные показатели |
Через 60 мин |
Через 2.5 мес |
| Контрольная |
6,4% |
6,4% |
6,2% |
| Основная |
23,8% |
18,4% |
8,2% |
Источники информации
5. Цимбалистов А.В. и др. Комплексный подход к лечению больных с дисфункцией височно-челюстных суставов, Мат-лы I международного симпозиума “Клиническая постурология, поза и прикуса”, СПб, 2004, с.26-29.
6. Magoun H.I. “Osteopathy in the cranial field”, USA, The cranial academy, 3 edition, 1976.
7. Gehin A., 1985. Atlas of Manipulative Techniques for the Cranium and Face. Seattle: Eastland.
Формула изобретения
Способ определения эффективности мануальной терапии при лечении дисфункции височно-нижнечелюстного сустава, включающий оценку болевой чувствительности и проведение мануальной терапии, отличающийся тем, что перед проведением мануальной терапии измеряют порог боли тензоалгометром в проекции краниальных швов, а именно, симметрично слева и справа: в проекции венечного (лобно-теменного) шва, в месте изменения направления скосов лобной и теменной кости; в проекции клиновидно-чешуйчатого шва, над скуловым отростком височной кости, где меняется направление скоса шва; в проекции чешуйчатого (теменно-височного) шва, над верхушкой уха; в проекции теменно-сосцевидного шва, где меняется направление его скоса; в проекции затылочно-сосцевидного шва, в месте изменения его скоса; в проекции лямбдовидного (теменно-затылочного) шва, где меняется направление его скоса; в проекции середины скуло-верхнечелюстного шва; а также в точках: в проекции вентральной части сагиттального шва, на 2 см кзади от венечного шва; в проекции дорсальной части сагиттального шва, на 2 см кпереди от лямбдовидного шва, затем проводят мануальную терапию, повторно исследуют порог боли тензоалгометром в вышеуказанных точках, сравнивают результаты измерений до и после проведения терапии и по повышению порога боли определяют эффективность мануальной терапии при лечении дисфункции височно-нижнечелюстного сустава.
РИСУНКИ
MM4A – Досрочное прекращение действия патента СССР или патента Российской Федерации на изобретение из-за неуплаты в установленный срок пошлины за поддержание патента в силе
Дата прекращения действия патента: 16.02.2008
Извещение опубликовано: 10.12.2009 БИ: 34/2009
|
|